Performance of a Drip Irrigation System under the Co-Application of Water, Fertilizer, and Air
Abstract
:1. Introduction
2. Materials and Methods
2.1. Selection of Drip Irrigation Belts
- qe—flow rate of the drip irrigation emitter, L/h;
- p—working pressure, kPa;
- k—flow coefficient;
- m—flow state index.
- —standard deviation of the observed values of all sampling points;
- —average flow rate of the drip irrigation emitter sample, L/h.
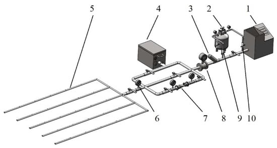
2.2. Test Setup
2.3. Test Methods
- C—concentration of fertilizer solution, g/mL;
- EC—conductivity of the fertilizer solution, ms/cm;
- a, b, c—regression coefficients.
| Process | a | b | c | R2 | EC |
|---|---|---|---|---|---|
| 1 | 0.000005 | 0.0008 | −0.002 | 0.994 | 0.4 |
| 2 | 0.000009 | 0.0007 | −0.0016 | 0.994 | 4.6 |
| 3 | 0.000005 | 0.0008 | −0.0021 | 0.996 | 9.1 |
| 4 | 0.00001 | 0.0007 | −0.0017 | 0.997 | 13.6 |
| 5 | 0.000003 | 0.0009 | −0.0021 | 0.994 | 17.1 |
| 6 | 0.000009 | 0.0007 | −0.0016 | 0.995 | 20.6 |
| 7 | 0.000003 | 0.0009 | −0.0023 | 0.995 | 24.8 |
| 8 | 0.000005 | 0.0008 | −0.002 | 0.998 | 28.2 |
| 9 | 0.000003 | 0.0009 | −0.0023 | 0.997 | 32.1 |
| 10 | 0.00001 | 0.0007 | −0.0017 | 0.996 | 35.4 |
| 11 | 0.000004 | 0.0009 | −0.0023 | 0.994 | 38.6 |
| 12 | 0.000009 | 0.0005 | −0.0016 | 0.994 | 41.5 |
2.4. Uniformity Evaluation
- xi—the observed values of the irrigation amount, fertilization amount, and dissolved oxygen content of the drip irrigation emitter at the i-th sampling point;
- x—mean value of the sample;
- N—number of sampling points.
- —the mean of the 1/4 observed value with the smallest value among all sampling points;
- —the meaning is the same as in Formula (4).
3. Results and Analysis
3.1. Spatial Distribution Characteristics of Water, Fertilizer, and Air
3.1.1. Spatial Distribution of the Emitter Flow Rate
3.1.2. Spatial Distribution of the Total Fertilization Amount
3.1.3. Spatial Distribution of the Dissolved Oxygen Content
3.2. Significance Analysis of the Spatial Distribution of Water, Fertilizer, and Air
3.3. Calculation and Evaluation of System Uniformity
4. Discussion
4.1. Effect of the Co-Application of Water, Fertilizer, and Air on the Flow Rate of Emitters in Drip Irrigation Systems
4.2. Effect of the Co-Application of Water, Fertilizer, and Air on Fertilization in Drip Irrigation Systems
4.3. Characteristics of Air Transport in Drip Irrigation Systems under the Co-Application of Water, Fertilizer, and Air
5. Conclusions
Author Contributions
Funding
Data Availability Statement
Conflicts of Interest
References
- Kang, S.; Huo, Z.; Li, W. Research status and prospect of agricultural efficient water use and eco-environmental effects in arid regions. Sci. Found. China 2016, 30, 208–212. [Google Scholar]
- Lei, H.; Xiao, Z.; Zhang, Z.; Yang, H.; Liu, X.; Pan, H. Improving soil aeration and water and nitrogen utilization of tomato in greenhouse by coupled drip irrigation. J. Irrig. Drain. 2019, 39, 8–16. [Google Scholar]
- Zan, O.; Tian, J.; Deng, H.; Yan, X. Effects of different aeration methods on dissolved oxygen in brackish water and medium water. J. Drain. Irrig. Mach. Eng. 2019, 37, 806–814. [Google Scholar]
- Zhu, Y.; Cai, H.; Song, L.; Chen, H. Aerated Irrigation Promotes Soil Respiration and Microorganism Abundance around Tomato Rhizosphere. Soil Sci. Soc. Am. J. 2019, 83, 1343–1355. [Google Scholar] [CrossRef]
- Ben-Noah, I.; Friedman, S. Aeration of clayey soils by injecting air through subsurface drippers: Lysimetric and field experiments. Agric. Water Manag. 2016, 176, 222–233. [Google Scholar] [CrossRef]
- Zhou, Y.; Zhou, B.; Xu, F.; Muhammad, T.; Li, Y. Appropriate dissolved oxygen concentration and application stage of micro-nano bubble water oxygation in greenhouse crop plantation. Agric. Water Manag. 2019, 223, 105713. [Google Scholar] [CrossRef]
- Wu, Y.; Lyu, T.; Yue, B.; Tonoli, E.; Verderio, E.A.; Ma, Y.; Pan, G. Enhancement of Tomato Plant Growth and Productivity in Organic Farming by Agri-Nanotechnology Using Nanobubble Oxygation. J. Agric. Food Chem. 2019, 67, 10823–10831. [Google Scholar] [CrossRef]
- Pendergast, L.; Bhattarai, S.; Midmore, D. Evaluation of aerated subsurface drip irrigation on yield, dry weight partitioning and water use efficiency of a broad-acre chickpea (Cicer arietinum, L.) in a vertosol. Agric. Water Manag. 2019, 217, 38–46. [Google Scholar] [CrossRef]
- Wang, D.; Li, A.; Li, L. Research on cucumber subsurface aerated drip irrigation technology in greenhouse in North China. Agric. Mech. Res. 2019, 42, 43–47. [Google Scholar]
- Ben-Noah, I.; Nitsan, I.; Cohen, B.; Kaplan, G.; Friedman, S.P. Soil aeration using air injection in a citrus orchard with shallow groundwater. Agric. Water Manag. 2021, 245, 106664. [Google Scholar] [CrossRef]
- Zhang, Q.; Zeng, J.; Zhang, Z.; Lei, H.; Zhang, P.; Liu, D. Study on growth characteristics and yield of tomato in greenhouse under subsurface aeration drip irrigation. Trans. Chin. Soc. Agric. Mach. 2022, 53, 365–377. [Google Scholar]
- Li, P.; Li, H.; Li, J.; Huang, X.; Liu, Y.; Jiang, Y. Effect of Aeration on Blockage Regularity and Microbial Diversity of Blockage Substance in Drip Irrigation Emitter. Agriculture 2022, 12, 1941. [Google Scholar] [CrossRef]
- Li, H.; Li, H.; Han, Q.; Huang, X.; Jiang, Y.; Sun, H.; Li, H. Influence of micro/nanobubbles on clogging in drip irrigation systems. RSC Adv. 2020, 64, 38912–38922. [Google Scholar] [CrossRef]
- Li, Y.; Zhou, B.; Yang, P. Research progress on clogging mechanism and control methods of irrigators in drip irrigation system. J. Hydraul. Eng. 2018, 49, 103–114. [Google Scholar]
- GB/T 19812.3-2017; Plastic Water-Saving Irrigation Equipment—Part 3: Inlaid Drip Irrigation Pipes and Belts, National Technical Committee for Standardization of Plastic Products (SAC/TC 48). General Administration of Quality Supervision, Inspection and Quarantine of the People’s Republic of China; Standardization Administration of China: Beijing, China, 2017.
- EP405.1; Design and Installation of Microirrigation Systems. ASAE Standards; ASAE: St. Joseph, MI, USA, 2003.
- Lamm, F.; Storlie, C.; Pitts, D. Revision of EP-458: Field evaluation of microirrigation systems. Pap. Am. Soc. Agric. Eng. Pap. 1997, 972070, 20. [Google Scholar]
- Dai, J.; Fan, X.; Liang, Y.; Sun, L. Study on calibration of standard curve for determination of concentration of fertilizer solution by conductivity method. Phosphate Compd. Fertil. 2005, 15–17. [Google Scholar]
- Li, J.; Du, Z.; Li, Y. Field trial evaluation of fertilization and irrigation uniformity in subsurface drip irrigation system. Trans. Chin. Soc. Agric. Eng. 2008, 83–87. [Google Scholar]
- Fan, J.; Zhang, F.; Wu, L.; Yan, S.; Xiang, Y. Comprehensive evaluation of irrigation and fertilizer uniformity in drip irrigation and differential pressure fertilization system. Trans. Chin. Soc. Agric. Eng. 2016, 32, 96–101. [Google Scholar]
- Zhai, Y.J.; Wu, W.Y.; Wang, Z.H.; Hu, Y.Q.; Hu, X.U. Research on Hydraulic characteristics and anti-clogging performance of pressure on flow channel unit of irrigator based on Ansys Fluent. Water Sav. Irrig. 2022, 47–53+59. [Google Scholar]
- Li, Y.; Yang, P.; Xu, T.; Ren, S.; Lin, X.; Wei, R.; Xu, H. CFD and digital particle tracking to assess flow characteristics in the labyrinth flow path of a drip irrigation emitter. Irrig. Sci. 2008, 26, 427–438. [Google Scholar] [CrossRef]
- Hu, X.; Yan, H.; Chen, X. Uniform fertilization method based on differential pressure fertilization tank. Trans. Chin. Soc. Agric. Eng. 2019, 36, 119–127. [Google Scholar]
- Tian, Z.; Cheng, Y.; Wang, L.; Li, X. Effect of temperature and pressure on bubble formation at orifice in viscous fluid. J. Chem. Eng. Univ. 2020, 34, 34–43. [Google Scholar]
- Wu, H.; Wu, W.; Chen, K. Research progress of bubble drag reduction in ships. Shipbuild. China 2019, 60, 212–227. [Google Scholar]
- Zhao, X.; Zong, Z.; Jiang, Y. Numerical Analysis of drag reduction of flat Microbubbles based on OpenFOAM. J. Ship Mech. 2020, 24, 989–996. [Google Scholar]
- Reinders, F.B.; Niekerk, A.S.V. Technology Smart Approach to Keep Drip Irrigation Systems Functional. Irrig. Drain. 2018, 67, 82–88. [Google Scholar] [CrossRef]
- Rognes, T.; Flouri, T.; Nichols, B.; Quince, C.; Mahé, F. VSEARCH: A versatile open source tool for metagenomics. PeerJ 2016, 4, e2584. [Google Scholar] [CrossRef] [PubMed]
- Zhou, Z.; Fu, Z.; Wang, X.; Qi, L. Irrigation and fertilization uniformity test of drip irrigation fertilizer applicator. Trans. Chin. Soc. Agric. Eng. 2009, 25, 7–13. [Google Scholar]
- Han, Q. Study on the Change of Fertilizer Concentration and Its Effect on Water and Fertilizer Distribution in Drip Irrigation with Differential Pressure Fertilization. Ph.D. Thesis, Yangzhou University, Yangzhou, China, 2019. [Google Scholar]
- Li, H.; Tang, P.; Chen, C.; Zhang, Z.; Xia, H. Research status and development trend of integrated water-fertilizer fertilization equipment in China. J. Drain. Irrig. Mach. Eng. 2021, 39, 200–209. [Google Scholar]
- Caporaso, J.G.; Kuczynski, J.; Stombaugh, J.; Bittinger, K.; Bushman, F.D.; Costello, E.K.; Fierer, N.; Peña, A.G.; Goodrich, J.K.; Gordon, J.I.; et al. QIIME allows analysis of high-throughput community sequencing data. Nat. Methods 2010, 7, 335–336. [Google Scholar] [CrossRef]
- Liu, Y.; Zhou, Y.; Wang, T.; Pan, J.; Zhou, B.; Muhammad, T.; Zhou, C.; Li, Y. Micro-nano bubble water oxygation: Synergistically improving irrigation water use efficiency, crop yield and quality. J. Clean. Prod. 2019, 222, 835–843. [Google Scholar] [CrossRef]
- Atkinson, A.J.; Apul, O.G.; Schneider, O.; Garcia-Segura, S.; Westerhoff, P. Nanobubble Technologies Offer Opportunities To Improve Water Treatment. Acc. Chem. Res. 2019, 52, 1196–1205. [Google Scholar] [CrossRef] [PubMed]
- Wang, T.; Sun, T.; Wang, C.; Xu, C.; Wei, Y. Large Eddy Simulation of Microbubble Drag Reduction in Fully Developed Turbulent Boundary Layers. J. Mar. Sci. Eng. 2020, 8, 524. [Google Scholar] [CrossRef]
- Sun, Y.; Wang, S.; Niu, J. Microbial community evolution of black and stinking rivers during in situ remediation through micro-nano bubble and submerged resin floating bed technology. Bioresour. Technol. 2018, 258, 187–194. [Google Scholar] [CrossRef] [PubMed]
- Zhou, B.; Li, Y.; Pei, Y.; Liu, Y.; Zhang, Z.; Jiang, Y. Quantitative relationship between biofilms components and emitter clogging under reclaimed water drip irrigation. Irrig. Sci. 2013, 31, 1251–1263. [Google Scholar] [CrossRef]
- Mach, J.; Wiens, J.; Adjaye, J.; Donaldson, A.A.; Macchi, A. Effect of pressure on the drag coefficient of individual bubbles in a contaminated polydisperse swarm. Chem. Eng. Sci. 2020, 223, 115728. [Google Scholar] [CrossRef]
- Zhang, H.; Wang, T. Research on the generality of CFD-PBM coupling model to simulate gas-liquid bubble bed. Acta Chemologica Sin. 2019, 70, 487–495. [Google Scholar]















| Emitters | Rated Flow Rate (L/h) | Spacing (m) | Connection Method | Compensation Function | Discharge Coefficient k | Flow Index m | Coefficient of Variation Cv (%) |
|---|---|---|---|---|---|---|---|
![]() | 1.42 | 0.3 | Inlaid with patch | Non pressure compensation | 0.259 | 0.45 | 2.28 |
| Aeration Method | Pipe Network Pressure (MPa) | Pressure Difference of Fertilizer Tank (MPa) |
|---|---|---|
| Nonaeration Micro-nano aeration Venturi aeration | 0.05 | 0.05 0.1 0.15 0.2 0.25 |
| 0.1 |
| Process | Inlet Pressure P1 (MPa) | Outlet Pressure P2 (MPa) | Pressure Difference ΔP (MPa) | Fertilization Time (min) |
|---|---|---|---|---|
| 1 | 0.15 | 0.1 | 0.05 | 6.5 |
| 2 | 0.2 | 0.1 | 0.1 | 5.5 |
| 3 | 0.25 | 0.1 | 0.15 | 5 |
| 4 | 0.3 | 0.1 | 0.2 | 5 |
| 5 | 0.35 | 0.1 | 0.25 | 5 |
| 6 | 0.1 | 0.05 | 0.05 | 8.5 |
| 7 | 0.15 | 0.05 | 0.1 | 8.5 |
| 8 | 0.2 | 0.05 | 0.15 | 8 |
| 9 | 0.25 | 0.05 | 0.2 | 7.5 |
| 10 | 0.3 | 0.05 | 0.25 | 7.5 |
| Aeration Method | Difference in Average Value | Standard Error | Significance | 95% Confidence Interval | ||
|---|---|---|---|---|---|---|
| Lower Limit | Upper Limit | |||||
| Non-aeration | Micro-nano aeration | 0.0425737 * | 0.00411370 | 0.000 | 0.0344946 | 0.0506528 |
| Venturi aeration | 0.0014126 | 0.00411370 | 0.731 | −0.0066664 | 0.0094917 | |
| Micro-nano aeration | Non-aeration | −0.0425737 * | 0.00411370 | 0.000 | −0.0506528 | −0.0344946 |
| Venturi aeration | −0.0411611 * | 0.00411370 | 0.000 | −0.0492402 | −0.0330820 | |
| Venturi aeration | Non-aeration | −0.0014126 | 0.00411370 | 0.731 | −0.0094917 | 0.0066664 |
| Micro-nano aeration | 0.0411611 * | 0.00411370 | 0.000 | 0.0330820 | 0.0492402 | |
| System Performance | Operation Parameters | Sum of Squares for Class III | Degree of Freedom | Mean Square | F Value | p-Value |
|---|---|---|---|---|---|---|
| Flow rate of the irrigation system | Operating pressure | 22.822 | 1 | 22.822 | 9543.228 | 0.000 |
| Aeration methods | 0.008 | 2 | 0.004 | 0.095 | 0.910 | |
| Pressure difference between the inlet and outlet of the fertilizer tank | 0.008 | 4 | 0.002 | 0.048 | 0.996 | |
| Total amount of fertilization | Operating pressure | 0.018 | 1 | 0.018 | 8.731 | 0.003 |
| Aeration methods | 0.234 | 2 | 0.117 | 69.114 | 0.000 | |
| Pressure difference between the inlet and outlet of the fertilizer tank | 0.004 | 4 | 0.001 | 0.532 | 0.712 | |
| Dissolved oxygen content | Operating pressure | 1303.524 | 1 | 1303.524 | 2015.639 | 0.000 |
| Aeration methods | 32.678 | 1 | 32.678 | 8.510 | 0.004 | |
| Pressure difference between the inlet and outlet of the fertilizer tank | 7.324 | 4 | 1.831 | 0.466 | 0.761 |
| System Performance | Aeration Methods | Pipeline Network Pressure (MPa) | Cu (%) | DU | Cv | US (%) |
|---|---|---|---|---|---|---|
| Flow rate of the irrigation system | Non-aeration | 0.05 | 96 | 0.94 | 0.05 | 95 |
| 0.1 | 96 | 0.94 | 0.05 | 95 | ||
| Micro-nano | 0.05 | 95 | 0.93 | 0.06 | 94 | |
| 0.1 | 97 | 0.95 | 0.04 | 96 | ||
| Venturi | 0.05 | 95 | 0.92 | 0.06 | 94 | |
| 0.1 | 96 | 0.95 | 0.05 | 95 | ||
| Total amount of fertilization | Non-aeration | 0.05 | 95 | 0.93 | 0.06 | 94 |
| 0.1 | 96 | 0.94 | 0.06 | 94 | ||
| Micro-nano | 0.05 | 95 | 0.92 | 0.07 | 93 | |
| 0.1 | 96 | 0.95 | 0.05 | 95 | ||
| Venturi | 0.05 | 95 | 0.92 | 0.07 | 93 | |
| 0.1 | 96 | 0.94 | 0.06 | 94 | ||
| Dissolved oxygen content | Micro-nano | 0.05 | 95 | 0.93 | 0.06 | 94 |
| 0.1 | 97 | 0.96 | 0.04 | 96 | ||
| Venturi | 0.05 | 96 | 0.93 | 0.05 | 95 | |
| 0.1 | 97 | 0.95 | 0.04 | 96 |
| 100–95 | 90–85 | 80–75 | 70–65 | <60 | |
|---|---|---|---|---|---|
| Rating | Excellent | Good | Middle | Poor | Substandard |
| Aeration Methods | Pipeline Network Pressure | Flow Rate of the Irrigation System | Total Amount of Fertilization | Dissolved Oxygen Content |
|---|---|---|---|---|
| Non-aeration | 0.05 | Excellent | Good–excellent | —— |
| 0.1 | Excellent | Good–excellent | —— | |
| Micro-nano aeration | 0.05 | Good–excellent | Good–excellent | Good–excellent |
| 0.1 | Excellent | Excellent | Excellent | |
| Venturi aeration | 0.05 | Good–excellent | Good–excellent | Excellent |
| 0.1 | Excellent | Good–excellent | Excellent |
Disclaimer/Publisher’s Note: The statements, opinions and data contained in all publications are solely those of the individual author(s) and contributor(s) and not of MDPI and/or the editor(s). MDPI and/or the editor(s) disclaim responsibility for any injury to people or property resulting from any ideas, methods, instructions or products referred to in the content. |
© 2023 by the authors. Licensee MDPI, Basel, Switzerland. This article is an open access article distributed under the terms and conditions of the Creative Commons Attribution (CC BY) license (https://creativecommons.org/licenses/by/4.0/).
Share and Cite
Li, H.; Ma, Z.; Zhang, G.; Chen, J.; Lu, Y.; Li, P. Performance of a Drip Irrigation System under the Co-Application of Water, Fertilizer, and Air. Horticulturae 2024, 10, 6. https://doi.org/10.3390/horticulturae10010006
Li H, Ma Z, Zhang G, Chen J, Lu Y, Li P. Performance of a Drip Irrigation System under the Co-Application of Water, Fertilizer, and Air. Horticulturae. 2024; 10(1):6. https://doi.org/10.3390/horticulturae10010006
Chicago/Turabian StyleLi, Hao, Zhengjun Ma, Guangsong Zhang, Jiayao Chen, Yunchao Lu, and Peng Li. 2024. "Performance of a Drip Irrigation System under the Co-Application of Water, Fertilizer, and Air" Horticulturae 10, no. 1: 6. https://doi.org/10.3390/horticulturae10010006
APA StyleLi, H., Ma, Z., Zhang, G., Chen, J., Lu, Y., & Li, P. (2024). Performance of a Drip Irrigation System under the Co-Application of Water, Fertilizer, and Air. Horticulturae, 10(1), 6. https://doi.org/10.3390/horticulturae10010006


