Next Article in Journal
Application of Meteorological and Hydrological Drought Indices to Establish Drought Classification Maps of the Ba River Basin in Vietnam
Previous Article in Journal
Characterization of Nutrient and Metal Leaching in Roadside Ditches Maintained with Cool and Warm Season Grasses
 
 
Font Type:
Arial Georgia Verdana
Font Size:
Aa Aa Aa
Line Spacing:
Column Width:
Background:
Article

Effectiveness Assessment of a New System of Sediment Trap in the Investigation of Matter Sedimentation in a Reservoir—A Case Study

by
Maksymilian Cieśla
*,
Lilianna Bartoszek
and
Renata Gruca-Rokosz
Department of Environmental and Chemistry Engineering, Faculty of Civil and Environmental Engineering and Architecture, Rzeszow University of Technology, 35-959 Rzeszow, Poland
*
Author to whom correspondence should be addressed.
Hydrology 2019, 6(2), 48; https://doi.org/10.3390/hydrology6020048
Submission received: 10 May 2019 / Revised: 6 June 2019 / Accepted: 6 June 2019 / Published: 7 June 2019

Abstract

This paper presents results of the research on the effectiveness of entrapping sediment matter in newly designed sediment traps. Four traps, characterized by different geometrical and construction parameters, were analyzed. The assessment of the operation of the traps was made on the basis of research work conducted in situ in a small retention reservoir located in Blizne, south-east Poland during summer 2017 and 2018. Under environmental conditions present during the research, trap number 2 emerged as the most effective. It was characterized by a height to diameter ratio equal to 6.06, as well as innovative design thanks to the presence of a dual-chamber cylindrical vessel with a sedimentation funnel ending in a deflector. The proposed construction solution ensured optimal, stable operation of the trap. This trap is more effective in entrapping sediment matter than the simple tools described in the literature so far. In addition, it can be used not only in reservoirs, but also in seas and oceans. Such traps can be used to study the sedimentation rate in various water ecosystems, and also the entrapped sediment can be analysed in a qualitative manner to determine its role in the distribution of pollutants deposited in the sediments of aquatic ecosystems.

1. Introduction

The key functions of small retention reservoirs are flood protection and securing a supply of water [1]. In practice, water retention in reservoirs is also associated with processes of the retention and deposition of suspended substances in water [2,3].
Many factors influence the intensity of the silting process; the most important of these are region (climatic zone and weather conditions), the geotechnical parameters of the given reservoir, the type of outflow device used, and hydrodynamic conditions [4,5,6].
The contribution of distal and proximal sediment sources determines the sediment discharge patterns and ultimately the rate of deposition [7]. Depending on the background conditions of the catchments and alluvial channels, as well as in terms of hydraulic and sediment characteristics, the particulates in water move in practically all possible directions, from straight subsidence to spiral transport of the material to the reservoir bottom [4,7].
The sediment size with regards the fine sediment dynamics and the cohesion or non-cohesion properties (below 65 microns the material is cohesive), as well as the organic conditions of the stream-flows, participate in the silting process [4,7]. Biofilm communities participate in the trapping of fine sediments and they can reduce the proximal sediment availability [7].
Studies on the sedimentation process in Lake Linajärv (Estonia) showed that particulate matter was aggregated during deposition, especially when it came to sedimentary plankton material characterised by a high sorption capacity. Hence, the most intensive sedimentation of suspended particles in water occurs in spring and summer [8]. Moreover, shore erosion and the transport of suspended particulates affect the re-deposition of sediments in a reservoir [9,10,11].
Under certain conditions, soil particles (mainly clays and loam) from shore erosion can combine to form aggregate at a much greater rate of descent than elementary particles. The formation of aggregate is dependent on the physical, chemical and electrochemical conditions characterising liquids, as well as the properties of elementary particles, the content of organic matter and the water flow rate [12,13].
Knowledge of the specificity and deposition rate of suspended particles in water at the reservoir bottom is of great importance to ensure a given reservoir’s proper use. The sediment trap system can deliver in situ information about surficial sediment layers, which are difficult to explore with traditional sampling tools [14].
Over the past few decades, various tools and techniques have been developed to determine the streams of sedimentary particles in water environments. The oldest and simplest method is the sediment trap. However, despite its simplicity, this method poses multiple problems, including methodological problems relating to the interpretation of collected data, design problems with the adaption of geometric parameters to hydrological conditions, and difficulties related to the fixing of the trap in the reservoir.
The sensitivity of sedimentary traps to water turbulence (horizontal and vertical flows) affects the effectiveness with which sediment can be retained and stored. Attempts to improve sediment trap systems by reducing hydrodynamic sensitivity have led to many modifications in trap design. The basic criterion by which to select trap type to maximise effectiveness is shape. In this regard, the three types of traps used most commonly are cylindrical tubes, rectangular vessels and funnel-shaped traps. Funnel traps and rectangular vessels are usually less effective under turbulent flow conditions, while cylindrical reactors are the most preferred shape, and are made use of most frequently [15]. In addition, Larsson et al. [16] pointed to an additional factor exerting major influence over trap effectiveness: The relationship between trap height and diameter (h/d).
The preferred ratio (h/d) was found to be between three and six, depending on water conditions. This ratio is of importance, given the strong influences on the effectiveness with which material collects in a sediment trap system. Where the value for the above parameter is too low, there is a risk of the leaching and resuspension of collected sediment in the water trap [15]. In recent years, studies in inland waters, as well as seas and oceans, have used cylindrical traps of height-to-diameter ratios in the six to nine range, and in some cases even above 10 [11,17,18]. Another no less important element of the proper operation of sediment traps systems is that they must be placed and maintained in a fixed vertical position, independent of currents and other hydrological conditions. It even appears that the effectiveness of identical sediment traps systems may vary on account of the factor of tilting.
Gardner [19] found differences in sediment collection effectiveness when the vertical position of a trap was disturbed. Indeed, tilting a trap by just a few degrees may lead to marked impairment of effectiveness. The presence of strong currents can be an additional difficulty when it comes to keeping traps in a stable vertical position [19,20].
The main aim of the studies it was to propose an optimal shape of the systems of sediment trap. This paper describes assessment of operation of new systems of sediment trap in the investigation of sediment matter in reservoirs. Their effectiveness was compared using in situ studies in the small Blizne Reservoir.

2. Research site and Methods

2.1. Research Site

The designed traps were tested in a small retention reservoir located in Blizne, Podkarpackie Voivodeship in south-eastern Poland (Figure 1). It is industrialised to a limited extent, with the largest industrial plant being the District Dairy Cooperative in Jasienica Rosielna. In addition, there are some small industrial service and wood-processing plants. Agricultural production has a major role to play in the shaping of anthropogenic impact here [21].
The object investigated is part of a system of two reservoirs—upper and lower. Both were constructed in 2001, by partitioning the River Łądzierz with a frontal earth dam. The dam of the lower reservoir, in which the study was conducted, is 140 m long and 4 m high, with a crown width of 3 m. The other basic morphometric and hydrological parameters of the lower reservoir are shown in Table 1. The main function of the lower reservoir is to irrigate grasslands and to provide polder flood protection.
However, the reservoir may also gain use for fish breeding and fishing, and it is also possible for it to be used for bathing [21].
An evaluation of the reservoir’s trophic condition carried out by Miąsik et al. [22] in 2013–2014 revealed a high level of fertility in the water, definable as eutrophication heading in the direction of hypertrophy; therefore, it was assumed that the sedimentation of indigenous matter would be significant.
Excessive nutrient content upsets the balance of organic matter production and decomposition, with possible excessive accumulation of the latter in water and bottom sediments occurring as a result [22].

2.2. Research Methods

The main research work was carried out under in situ conditions over the period from 23.06.2017 to 04.09.2017, and by way of three consecutive research series. Series I lasted 24 days (23.06–17.07, 2017), Series II lasted 24 days (17.07–10.08, 2017), and Series III lasted 25 days (10.08–04.09, 2017). Four sedimentary traps made of plexiglass tubing, deploying different construction solutions, were used in the research (Figure 2). In addition, in 2018, sedimentation rate studies were continued for the two traps which showed best effectiveness in the 2017 research season. The research work was carried out over the period from 08.05.2018 to 09.07.2018, by way of three consecutive research series. Series I lasted 20 days (08.05–28.05, 2018), Series II lasted 21 days (28.05–18.06, 2018), and Series III lasted 21 days (18.06–09.07, 2018).
Each series of study provided simultaneous analysis of the effectiveness of several traps placed side by side to create a single research position. The research position in each series was in the same place (Figure 1).
The traps were fixed to the reservoir bottom in the littoral zone at a distance approximately 3 m from the shoreline and at a depth of 1.6 m. The traps were attached to a steel frame which ensured maintenance of the traps on the reservoir bottom and stabilised the vertical position. The latter was achieved using a specially designed levelling system consisting of a wooden pile with a cross attached to the end of it at right angles.
To positioning the trap vertically, a cross-brace was placed on the upper edge of the trap, and a spirit level and pile above the water level was used to achieve the desired position of the trap.
A comparison sediment accumulation effectiveness between different sediment trap systems was achieved using the combinations presented in Table 2.
In the 2017 season, material collected in the traps was subjected to laboratory determinations relating to sediment volume, air-dry solid mass and hydration. Sediment hydration was determined by relating a determined weight of wet sediment to its room-temperature air-dry solid mass. Hydration expressed differences in mass before and after drying [18].
Atmospheric conditions were observed during trials, at the site of study. For this purpose, reference was made to characteristic weather data recorded at the Brzozów IBRZOZWG3 Meteorological Station located about 1500 m from the research site.
Monitoring of weather conditions took in daily parameters including air temperature; precipitation; and speed, direction and frequency of wind. In addition, the water flow in the reservoir was investigated. A PVM PD laser portable speed meter (Germany) was used for this purpose. The rate of flow of water in the reservoir was determined in a channel below the dam (the measurements being carried out in a cross-section of precisely-determined geometric parameters and height of water filling in the channel). It was on this basis that the value for instantaneous water flow in the reservoir was determined.
In the 2018 season, an air-dry solid mass of sediments collected in traps and an instantaneous water flow in the reservoir were determined.
The sediment accumulation effectiveness between different trap designs was compared in line with an assumption that the smallest amount of dry sediment entrapped in the particular trap represents 100%; this quantity served as a point of reference for the other traps analysed in the particular series. In this case the sediments accumulation effectiveness is identified the ability of the trap to retain sediments (avoiding resuspension)

2.3. Weather and Hydrological Conditions

The observation results for weather conditions during the study in 2017 are summarised in Table 3 and Figure 3. Actual recorded weather conditions were collected using Weather Underground [23].
The average air temperature during the individual study series (determined on the basis of average daily temperatures) was 18.0–21.4 °C.
The highest average precipitation (determined on the basis of maximum daily precipitation) was observed in Series I and was 4.13 mm, while the lowest precipitation was 1.88 mm, recorded in Series II.
With heavy precipitation, the movement of air masses increased. The highest average wind speed (determined on the basis of average daily values) was noted during Series I, when a value of 8.56 km∙h−1, was reached. In the other series of study the average speed was at similar levels, oscillating in the range 5.8–6.42 km∙h−1. It emerged that the dominant winds were southerlies, or more specifically winds from the south, south-west and south-east. Detailed information with regards the variability of daily weather conditions is presented in Figure 3.
Results of the observations of hydrological conditions during the study are presented in Table 4.
In 2017, the average flow of water in the reservoir during the analysed period was 0.01 m3∙s−1, whereas instantaneous flows were in the 0.0044–0.0195 m3∙s−1 range. In 2018, the average flow of water in the reservoir during the analysed period was 0.0314 m3∙s−1, whereas instantaneous flows were in the 0.009–0.0606 m3∙s−1 range. The highest recorded water flow was found to coincide with a period of intense precipitation.

3. Research Results and Discussion

Analysis of the results of laboratory study presented in Table 5 revealed no significant differences in levels of sediment hydration between different trap types, with values consistently in the 90%–95% range. However, where amounts of accumulated sediment are concerned, effectiveness did vary significantly from one design of sediment trap system to another.
The results of comparative analysis are presented in Table 6.
Figure 4 summarises the effectiveness of sediment traps systems expressed in terms of the masses of sediment collected [in g∙m−2]. On the basis of both calculation results regarding percentage effectiveness (Table 6) and collected sediment volumes as shown in Figure 4, trap 2 proved more effective than other traps. In the 2017 season, only in the third series of studies was the effectiveness reduced slightly (by about 11.1%) as compared with trap 3.
In the 2017 research season, where the effectiveness of individual traps is concerned (taking into account the weather conditions), environmental conditions are shown to have an impact upon trap function. As previous studies have already made clear, turbulent flows can prove significant in compromising the effectiveness of sediment traps [19,20]. Observations of environmental conditions show that the highest values for water flow in the reservoir coincided with periods of intense precipitation.
To account for varied trap effectiveness in relation to hydrological conditions, comparisons were made with average precipitation during the given research series. It emerged that traps equipped with the innovative system including a deflector (i.e., traps 1 and 2) were significantly less sensitive to variability in hydrological conditions arising. The effectiveness of trap 1 in two series of studies (Series I and II) remained almost constant (Figure 4a). In season 2017, the difference between the largest amount of collected sediment and the lowest noted for this trap during the series was ΔSM/F = 8.74 g∙m−2, representing a deviation from the minimum value equal to 3.59%. However, amounts of precipitation coinciding with these series varied markedly, with extreme recorded values, given that average precipitation in Series I was 4.13 mm (corresponding to the maximum value), while it was just 1.88 mm in Series II (corresponding with the minimum value). On a similar stable level was trap 2, for which the difference between the highest and lowest amounts of collected sediment over the three series of study was ΔSM/F = 118.5 g∙m−2, representing a deviation of 36.5% from the minimum value.
Whereas, trap No. 3 was characterised by significantly greater sensitivity to changing hydrological conditions than trap 2. The investigated traps differed in that trap 2 consisted of a dual-chamber cylindrical vessel with a sedimentation funnel and deflector, while trap 3 consisted of a simple single-chamber cylindrical vessel in the form of a plexiglass tube. Otherwise, the ratio of height to diameter (h/d) in the two traps was the same, assuming a value of 6.06.
In the case of trap 3, the difference between the largest and smallest amounts of sediment collected across the three series was ΔSM/F = 192.0 g∙m−2, representing a deviation from the minimum value of 72.5%.
Nevertheless, in the case of trap 4, it can be noted that, compared with traps 2 and 3, (operating under the same conditions in Series III), trap 4 had the lowest sediment collection effectiveness of any of the traps studied. By comparing the effectiveness of traps 1 and 2, which differed in terms of h/d ratio, it can be concluded that greater effectiveness was achieved using trap 2, in which had the h/d ratio equaled 6.06. In the 2018 season, the best effectiveness was also achieved using trap 2 (Figure 4b).
The main intent of the research has been realized by determining the optimal construction parameters of the trap. However, for such work, care must be taken when comparing results obtained in different sites and with different samplers. After once an chosen and traps are installed on site and long-term monitoring deposition process, it may be possible comparison with other case-studies. The study results for sedimentation rate presented in this work differ from those obtained in other lakes around the world. The average sedimentation rate over the study period was 14.0 g∙d−1∙m−2, with unit values ranging from 10.1 to 19.7 g∙d−1∙m−2, depending on the type of trap analysed. For example, studies on the sedimentation load of matter in Lake Taihu (China), as conducted in the period August 2012 to September 2013, revealed an average annual sedimentation rate of 377 g∙d−1∙m−2. According to the authors of this study, this value is much higher than those in many other lakes around the world [18]. In turn, studies on the sedimentation of particles in the Río Grande II Lake (Colombia) have shown an average sedimentation rate in the analysed period of 4540 g∙d−1∙m−2, with unit values in the range 229–18,573 g∙d−1∙m−2. In this case, the research was conducted from April to July 2003 [17]. In contrast, similar studies carried out in Europe reveal significant differences in results obtained. The analysis of year-round observations of sedimentation material in Lake Viitna Linajärv (Estonia) showed sedimentation rates in the range 0.23–1.4 g∙d−1∙m−2 [8].
The process of sedimentation is very complex and depends on many factors such as climatic zone, season of research, time of trap exposure, construction parameters of the traps and depth immersion, morphometric and hydrological parameters of the reservoirs, and management in the catchment. Thus, each of these types of research is a kind of case study. Undoubtedly, the results of our research show that the new construction solution of the trap is more effective due to the greater effectiveness of entrapping sediment matter than the simple solutions which were used so far. Such traps are very useful and can be used for study of the sedimentation process in various water ecosystems, not only reservoirs. In addition, entrapped sediment can be analysed qualitatively to determine its role in the distribution of different types of pollutants deposited in sediments of aquatic ecosystems.

4. Conclusions

The results obtained sustain that sediment trap systems differ in terms of sediment accumulation effectiveness, not only in line with their type of construction, but also, to a significant extent, in line with conditions arising during trap exposure in the aquatic environment. Under the environmental conditions described in this work, the most effective trap proved to be trap 2, which had a height-to-diameter ratio equaling 6.06, and was equipped with an innovative design given the presence of a dual-chamber cylindrical vessel with a sedimentation funnel ending in a deflector. The proposed design solution and adopted value for trap height-to-diameter ratio ensured the most optimal, stable and efficient operation. The use of a dual-chamber system with a deflector at the end of the sedimentation funnel served to prevent accumulated sediment from leaching out and re-suspending in water, with the result that a larger amount of sediment accumulated here than in the other traps compared. In total, five of the six series research were characterized by the most sediment collection effectiveness (from 105% to 167%). The new construction solution of the sediment trap system (trap 2) constitutes a significant improvement over the currently used methods (trap 3). Moreover, it could be applicable not only with reservoirs, but also for example, in the exploration of the seas and oceans. It can also be used in the study of the process of lateral channels erosion and their rate of silting.
The presented construction solution for the trap in question is now subject to national patent application No. P.426442 of 25 July 2018 entitled “Sediment trap”.

Author Contributions

Conceptualization, M.C.; data curation, M.C., L.B. and R.G.-R.; formal analysis, M.C., L.B. and R.G.-R.; methodology, M.C., L.B. and R.G.-R.; writing—original draft, M.C.; writing—review and editing, M.C., L.B. and R.G.-R.; funding acquisition, R.G.-R.

Funding

The research was co-financed by Poland’s National Science Centre, under Research Project No. 2017/25/B/ST10/00981.

Conflicts of Interest

The authors declare no conflict of interest. The funders had no role in the design of the study; in the collection, analyses, or interpretation of data; in the writing of the manuscript, or in the decision to publish the results.

References

  1. Michalec, B. Silting forecast and estimation of water resources in small water reservoirs. Water Environ. Rural Areas 2008, 8, 81–96. [Google Scholar]
  2. Bartoszek, L.; Koszelnik, P. The qualitative and quantitative analysis of the coupled C, N, P and Si retention in complex of water reservoirs. Springer Plus 2016, 5, 1157. [Google Scholar] [CrossRef] [PubMed]
  3. Schleiss, A.J.; Franca, M.J.; Juez, C.; De Cesare, G. Reservoir sedimentation. J. Hydraul. Res. 2016, 54, 595–614. [Google Scholar] [CrossRef]
  4. Guidi, L.; Gorsky, G.; Claustre, H.; Miquel, J.C.; Picheral, M.; Stemmann, L. Distribution and fluxes of aggregates>100μm in the upperkilometer of the South-Eastern Pacific. Biogeosciences 2008, 5, 1361–1372. [Google Scholar] [CrossRef]
  5. Bąk, Ł.; Dąbkowski, S.L.; Górski, J. Method of predicting siltation of a water reservoir based on measurements of its capacity. Water Env. Rural Areas 2011, 4, 19–29. [Google Scholar]
  6. Bartoszek, L.; Koszelnik, P.; Gruca-Rokosz, R.; Kida, M. Assessment of agricultural use of the bottom sediments from eutrophic Rzeszów reservoir. Annu. Set Environ. Prot. 2015, 17, 396–409. [Google Scholar]
  7. Juez, C.; Hassan, M.A.; Franca, M.J. The origin of fine sediment determines the observations of suspended sediment fluxes under unsteady flow conditions. Water Resour. Res. 2018, 54, 5654–5669. [Google Scholar] [CrossRef]
  8. Terasmaa, J.; Punning, J.M. Sedimentation dynamics in a small dimictic lake in northern Estonia. Proc. Est. Acad. Sci. Biol. Ecol. 2006, 55, 228–242. [Google Scholar]
  9. Koszelnik, P.; Tomaszek, J.; Gruca-Rokosz, R. Carbon and nitrogen and their elemental and isotopic ratios in the bottom sediment of the Solina-Myczkowce complex of reservoirs. Oceanol. Hydrobiol. Stud. 2008, 37, 71–78. [Google Scholar] [CrossRef]
  10. Koszelnik, P.; Gruca-Rokosz, R.; Bartoszek, L. An isotopic model for the origin of autochthonous organic matter contained in the bottom sediments of a reservoir. Int. J. Sediment. Res. 2018, 33, 285–293. [Google Scholar] [CrossRef]
  11. Stukel, M.R.; Asher, E.; Couto, N.; Schofield, O.; Strebel, S.; Tortell, P.; Ducklow, H.W. The imbalance of new and export production in the Western Antarctic Peninsula, a potentially “leaky” ecosystem. Glob. Biogeochem. Cycles 2015. [Google Scholar] [CrossRef]
  12. Madeyski, M.; Michalec, B.; Tarnawski, M. Siltation of small water reservoirs and the quality of bottom sediments. Pol. Acad. Sci. Ser. Monogr. Infrastruct. Ecol. Rural Areas 2008, 11, 76. [Google Scholar]
  13. Wojtkowska, M.; Bogacki, J.; Witeska, A. Assessment of the hazard posed by metal forms in water and sediments. Sci. Total Environ. 2016, 551, 387–392. [Google Scholar] [CrossRef] [PubMed]
  14. Bilici, C.; Stark, N. Performance of a novel sediment sampler as an add-on unit for portable free-fall penetrometers: Combining in situ geotechnical testing with sediment sampling. Limnol. Oceanogr. Methods 2019, 17, 163–176. [Google Scholar] [CrossRef]
  15. Bloesch, J.; Burns, N.M. A critical reviev of sedimetation Trap technigue. Schweizeritsche Zeitschrift für Hydrologie. Int. J. Sediment Res. 1980, 42, 15–56. [Google Scholar]
  16. Larssonl, U.; Blomqvistln, S.; Abrahamssonl, B. A new sediment trap system. Marine Ecology—Progress Series Mar. Mar. Ecol. Prog. Ser. 1986, 31, 205–207. [Google Scholar] [CrossRef]
  17. Moreno, Y.M.; Ramirez, J.J. Seston fluxes in the dam of a Colombian tropical reservoir. Acta Limnol. Bras. 2010, 22, 325–334. [Google Scholar] [CrossRef]
  18. Zhu, M.; Zhu, G.; Nurminen, L.; Wu, T.; Deng, J.; Zhang, Y.; Qin, B.; Ventelä, A.M. The Influence of Macrophytes on Sediment Resuspension and the Effect of Associated Nutrients in a Shallow and Large Lake (Lake Taihu, China). PLoS ONE 2015, 10, e0127915. [Google Scholar] [CrossRef]
  19. Gardner, W.D. Sediment trap dynamics and calibration: A laboratory evaluation. J. Mar. Res. 1980, 38, 17–39. [Google Scholar]
  20. Håkanson, L. Suspension and calibration of a sediment trap. Schweiz. Z. Für Hydrol. 1984, 46, 171–175. [Google Scholar] [CrossRef]
  21. Czekański, A. Program ochrony środowiska dla gminy Jasienica Rosielna na lata 2006–2013 (Environmental Protection Programme for the Municipality Jasienica Rosielna in Years 2006–2013); Urząd Gminy Jasienica Rosielna (Jasienica Rosielna Municipality Office): Jasienica Rosielna, Poland, 2006; Available online: http://jasienica.bip.krosoft.pl/?mainid=76&jb=391 (accessed on 10 September 2017).
  22. Miąsik, M.; Koszelnik, P.; Bartoszek, L. Trophic water assessment of the small retention reservoirs Blizne and Cierpisz in the Podkarpacie Region (Subcarpathian Province). Limnol. Rev. 2014, 14, 181–186. [Google Scholar] [CrossRef]
  23. Weather Data by Weather Underground Portal. Available online: https://www.wunderground.com/personalweatherstation/dashboard?ID=IBRZOZWG3#history (accessed on 10 September 2017).
Figure 1. Location of research site, Blizne Reservoir.
Figure 1. Location of research site, Blizne Reservoir.
Hydrology 06 00048 g001
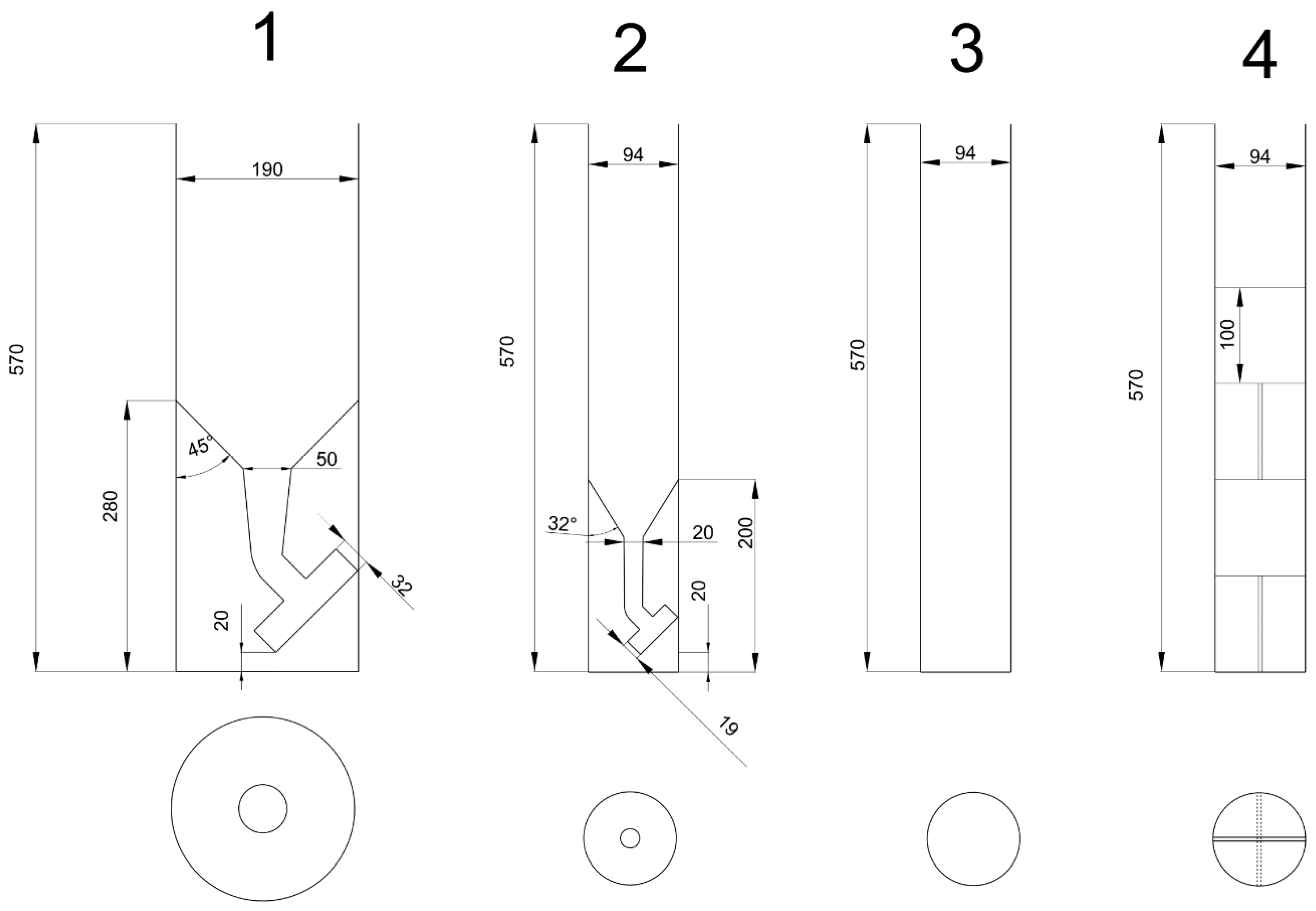
Figure 2. Geometric and structural parameters of sediment traps systems (described dimensions are expressed in millimeters (mm)). Trap No. 1 was an innovative design solution consisting of dual-chamber cylindrical vessel with a sedimentation funnel, at the end of which a deflector was placed at an angle of 45o. The ratio of height to diameter of the trap (h/d) was 3. Trap No. 2 was of an analogous innovative design to trap 1, but with a ratio of height to diameter of the trap (h/d) equal to 6.06. Trap No. 3 was a simple construction consisting of a single-chamber cylindrical vessel, with a ratio of height to diameter of the trap (h/d) equal to 6.06. The design of this trap represented the currently used traps (the reference trap). Trap No. 4 was an innovative design solution consisting of a cylindrical vessel with a trap height to diameter ratio of 6.06. However, inside the trap there were additional vertical barriers made of plexiglass plates, each 100 mm in height. A total of four rows of plates were used, placed in such a way that their projections formed a cross-shaped system.
Figure 2. Geometric and structural parameters of sediment traps systems (described dimensions are expressed in millimeters (mm)). Trap No. 1 was an innovative design solution consisting of dual-chamber cylindrical vessel with a sedimentation funnel, at the end of which a deflector was placed at an angle of 45o. The ratio of height to diameter of the trap (h/d) was 3. Trap No. 2 was of an analogous innovative design to trap 1, but with a ratio of height to diameter of the trap (h/d) equal to 6.06. Trap No. 3 was a simple construction consisting of a single-chamber cylindrical vessel, with a ratio of height to diameter of the trap (h/d) equal to 6.06. The design of this trap represented the currently used traps (the reference trap). Trap No. 4 was an innovative design solution consisting of a cylindrical vessel with a trap height to diameter ratio of 6.06. However, inside the trap there were additional vertical barriers made of plexiglass plates, each 100 mm in height. A total of four rows of plates were used, placed in such a way that their projections formed a cross-shaped system.
Hydrology 06 00048 g002
Figure 3. Variability of atmospheric conditions during the study.
Figure 3. Variability of atmospheric conditions during the study.
Hydrology 06 00048 g003
Figure 4. Effectiveness sediment accumulation in traps systems expressed in terms of the masses of sediment collected (in g∙m−2) – (a) refers to season 2017, (b) refers to season 2018.
Figure 4. Effectiveness sediment accumulation in traps systems expressed in terms of the masses of sediment collected (in g∙m−2) – (a) refers to season 2017, (b) refers to season 2018.
Hydrology 06 00048 g004
Table 1. Basic morphometric and hydrological parameters of the lower Blizne Reservoir.
Table 1. Basic morphometric and hydrological parameters of the lower Blizne Reservoir.
ParameterUnitValue
Drainage areakm218.5
Area of water surfaceha8.66
Functional volume103 m3136.0
Average depthm1.58
Maximum depthm3.9
Retention timed18.0
Table 2. Comparison of used traps in the study.
Table 2. Comparison of used traps in the study.
Study SeriesType of Trap
2017
SERIES I123
SERIES II123
SERIES III234
2018
SERIES I23-
SERIES II23-
SERIES III23-
Table 3. Weather conditions during the study (own elaboration).
Table 3. Weather conditions during the study (own elaboration).
Blizne Weather Conditions, Brzozów IBRZOZWG3 Station
Study SeriesValueAir Temperature [°C]Maximum Daily Precipitation [mm]Wind Rate [km h−1]
Series IAverage daily18.64.138.56
Maximum average daily23.028.019.0
Minimal average daily14.30.03.0
Standard deviation3.07.45.3
Series IIAverage daily21.41.886.42
Maximum average daily26.010.912.0
Minimal average daily14.90.02.0
Standard deviation3.33.52.6
Series IIIAverage daily18.03.325.80
Maximum average daily26.221.612.0
Minimal average daily13.10.02.0
Standard deviation3.66.22.3
Table 4. Hydrological conditions during the study in 2017 and 2018.
Table 4. Hydrological conditions during the study in 2017 and 2018.
DateStudy DayWater Rate Vw [m s−1]Water Flow in Reservoir Q [m3 s−1]
24.07.20177 (SII)0.0760.0195
10.08.201724 (SII)0.0260.0044
29.08.201719 (SIII)0.0270.0049
04.09.201725 (SIII)0.0270.0113
AVERAGE0.0390.0100
08.05.20180 (SI)0.1490.0404
21.05.201812 (SI)0.2130.0528
28.05.201820 (SI)0.1370.0238
07.06.201810 (SII)0.0710.0090
18.06.201821 (SII)0.1430.0213
28.06.201810 (SIII)0.2440.0606
09.07.201821 (SIII)0.0810.0117
AVERAGE0.1480.0314
Table 5. Comparison of the study results characterizing retained matter and sedimentation parameters.
Table 5. Comparison of the study results characterizing retained matter and sedimentation parameters.
Study SeriesType of TrapTrap SurfaceVolume of SedimentsSediment HydrationAmount of Dry Sediment in Trap (SM)Exposure TimeSedimentation Rate
FVos.UwSMSM/FTVs
m2cm3%gG m−2dG d−1 m−2
2017
SERIES I10.028479.090.346.9030243.062410.13
20.006938.091.022.8069406.802416.95
30.006939.093.212.0699299.992412.50
SERIES II10.028478.090.067.1511251.802410.49
20.006935.093.562.2371324.222413.51
30.006933.094.251.8259264.622411.03
SERIES III20.006938.094.643.0545442.682517.71
30.006937.090.553.3945491.962519.68
40.006929.091.332.4551355.812514.23
2018
SERIES I20.0069--1.7342251.332012.57
30.0069--1.5514224.842011.24
SERIES II20.0069--2.4710358.122117.05
30.0069--2.2614327.742115.61
SERIES III20.0069--2.8760416.812119.85
30.0069--2.7357396.482118.88
Table 6. Percentage effectiveness of used sedimentary traps systems.
Table 6. Percentage effectiveness of used sedimentary traps systems.
Effectiveness Sediment Accumulation in Traps (%)
Study SeriesType of Trap
1234
2017
SERIES I100167123-
SERIES II100129105-
SERIES III-124138100
2018
SERIES I-112100-
SERIES II-109100-
SERIES III-105100-

Share and Cite

MDPI and ACS Style

Cieśla, M.; Bartoszek, L.; Gruca-Rokosz, R. Effectiveness Assessment of a New System of Sediment Trap in the Investigation of Matter Sedimentation in a Reservoir—A Case Study. Hydrology 2019, 6, 48. https://doi.org/10.3390/hydrology6020048

AMA Style

Cieśla M, Bartoszek L, Gruca-Rokosz R. Effectiveness Assessment of a New System of Sediment Trap in the Investigation of Matter Sedimentation in a Reservoir—A Case Study. Hydrology. 2019; 6(2):48. https://doi.org/10.3390/hydrology6020048

Chicago/Turabian Style

Cieśla, Maksymilian, Lilianna Bartoszek, and Renata Gruca-Rokosz. 2019. "Effectiveness Assessment of a New System of Sediment Trap in the Investigation of Matter Sedimentation in a Reservoir—A Case Study" Hydrology 6, no. 2: 48. https://doi.org/10.3390/hydrology6020048

APA Style

Cieśla, M., Bartoszek, L., & Gruca-Rokosz, R. (2019). Effectiveness Assessment of a New System of Sediment Trap in the Investigation of Matter Sedimentation in a Reservoir—A Case Study. Hydrology, 6(2), 48. https://doi.org/10.3390/hydrology6020048

Note that from the first issue of 2016, this journal uses article numbers instead of page numbers. See further details here.

Article Metrics

Back to TopTop