Generation of Controlled Liquid–Liquid Slug Flow by Interlocking Two Diaphragm Pumps
Abstract
1. Introduction
2. Materials and Methods
2.1. Concept of Slug Flow Generation
2.2. Slug Flow Generator
2.3. Experimental Operation for Slug Flow Generation
2.4. Reagents
3. Results and Discussion
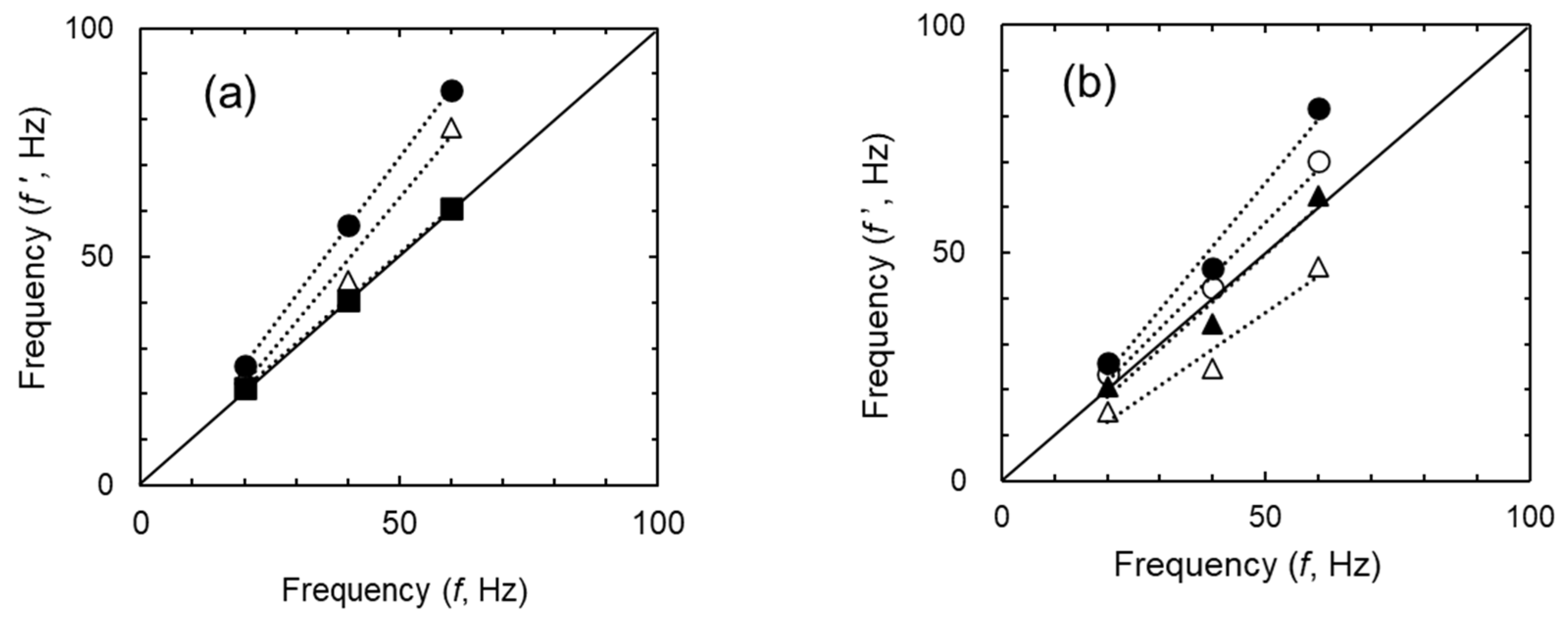
3.1. Construction and Validation of Model for Slug Length Calculation
3.1.1. Model Based on the Additivity of the Liquid Discharged in One Stroke of a PMP Diaphragm
3.1.2. Effect of Various Conditions on Slug Length
3.2. Extraction Experiment
4. Conclusions
Author Contributions
Funding
Institutional Review Board Statement
Informed Consent Statement
Data Availability Statement
Acknowledgments
Conflicts of Interest
Nomenclature
| A | the integration constant |
| α | proportional constant [-] (=) |
| α′ | proportional constant [-] (=) |
| C | the lithium-ion concentration in the aqueous phase at a given time [mol/L] |
| C0 | the initial concentration of lithium-ion in the aqueous phase [mol/L] |
| C* | the lithium-ion concentration in the aqueous phase at equilibrium [mol/L] |
| d | the inner diameter of the pipe [mm] |
| E | the extraction rate (=100 × (C0 − C)/C0 [%]) |
| E* | the extraction rate at equilibrium [%] (=100 × (C0 − C*)/C0 [%]) |
| f | set frequency of the device [Hz] |
| f′ | effective frequency [Hz] |
| KLa | the overall mass transfer capacity coefficient [1/s] |
| slug length [mm] | |
| N | mass transfer rate [mol/(L·s)] |
| Re | Reynolds number [-] |
| proportional constant [-] (=f′/f) | |
| S | cross-sectional pipe area [mm2] |
| t | extraction time [s] |
| U | linear flow velocity [m/s] |
| ui | linear flow velocity [m/s] |
| volumetric flow rate [mL/s] | |
| denotes the volume per piece of slug [mL] | |
| ν | kinetic viscosity [mm2/s] |
| ρ | density [g/mL] |
| subfix | |
| i | either a (aqueous phase) or o (oil phase) |
| L | liquid |
| 0 | initial condition |
References
- Angeli, P.; Ortega, E.G.; Tsaoulidis, D.; Earle, M. Intensified liquid–liquid extraction technologies in small channels: A review. Johns. Matthey Technol. Rev. 2019, 63, 299–310. [Google Scholar] [CrossRef]
- Bae, H.; Kim, Y. Technologies of lithium recycling from waste lithium ion batteries: A review. Mater. Adv. 2021, 2, 3234–3250. [Google Scholar] [CrossRef]
- Pinto, G.A.; Durão, F.O.; Fiúza, A.M.A.; Guimarães, M.M.B.L.; Novais Madureira, C.M. Design optimisation study of solvent extraction: Chemical reaction, mass transfer and mixer-settler hydrodynamics. Hydrometallurgy 2004, 74, 131–147. [Google Scholar] [CrossRef]
- Dummann, G.; Quittmann, U.; Gröschel, L.; Agar, D.W.; Wörz, O.; Morgenschweis, K. The capillary-microreactor: A new reactor concept for the intensification of heat and mass transfer in liquid–liquid reactions. Catal. Today 2003, 79–80, 433–439. [Google Scholar] [CrossRef]
- Hessel, V.; Löwe, H.; Schönfeld, F. Micromixers—A review on passive and active mixing principles. Chem. Eng. Sci. 2005, 60, 2479–2501. [Google Scholar] [CrossRef]
- Mills, P.L.; Quiram, D.J.; Ryley, J.F. Microreactor technology and process miniaturization for catalytic reactions—A perspective on recent developments and emerging technologies. Chem. Eng. Sci. 2007, 62, 6992–7010. [Google Scholar] [CrossRef]
- Wong, S.; Ward, M.; Wharton, C. Micro T-mixer as a rapid mixing micromixer. Sens. Actuators B 2004, 100, 359–379. [Google Scholar] [CrossRef]
- Antony, R.; Giri Nandagopal, M.S.; Sreekumar, N.; Rangabhashiyam, S.; Selvaraju, N. Liquid–liquid slug flow in a microchannel reactor and its mass transfer properties—A review. Bull. Chem. React. Eng. Catal. 2014, 9, 207–223. [Google Scholar] [CrossRef]
- Sotowa, K. Fluid behavior and mass transport characteristics of gas–liquid and liquid–liquid flows in microchannels. J. Chem. Eng. Jpn. 2014, 47, 213–224. [Google Scholar] [CrossRef]
- Ramji, S.; Rakesh, A.; Pushpavanam, S. Modelling mass transfer in liquid-liquid slug flow in a microchannel. Chem. Eng. J. 2019, 364, 280–291. [Google Scholar] [CrossRef]
- Tiwari, A.; Rajesh, V.M.; Yadav, S. Biodiesel production in micro-reactors: A review. Energy Sustain. Dev. 2018, 43, 143–161. [Google Scholar] [CrossRef]
- Vandermeersch, T.; Gevers, L.; De Malsche, W. A robust multistage mesoflow reactor for liquid–liquid extraction for the separation of Co/Ni with Cyanex 272. Sep. Purif. Technol. 2016, 168, 32–38. [Google Scholar] [CrossRef]
- He, Y.; Guo, S.; Chen, K.; Li, S.; Zhang, L.; Yin, S. Sustainable green production: A review of recent development on rare earths extraction and separation using microreactors. ACS Sustain. Chem. Eng. 2019, 7, 17616–17626. [Google Scholar] [CrossRef]
- Dessimoz, A.-L.; Cavin, L.; Renken, A.; Kiwi-Minsker, L. Liquid–liquid two-phase flow patterns and mass transfer characteristics in rectangular glass microreactors. Chem. Eng. Sci. 2008, 63, 4035–4044. [Google Scholar] [CrossRef]
- Kashid, M.N.; Harshe, Y.M.; Agar, D.W. Liquid–liquid slug flow in a capillary: an alternative to suspended drop or film contactors. Ind. Eng. Chem. Res. 2007, 46, 8420–8430. [Google Scholar] [CrossRef]
- Miki, Y.; Matsumoto, S.; Takada, N.; Kaneko, A.; Abe, Y. Effects of flow rate on formation behavior of two-phase slug flow in a microchannel T-junction. Jpn. J. Multiph. Flow 2014, 27, 591–598. [Google Scholar] [CrossRef][Green Version]
- Qian, J.; Li, X.; Wu, Z.; Jin, Z.; Sunden, B. A comprehensive review on liquid–liquid two-phase flow in microchannel: Flow pattern and mass transfer. In Microfluidics and Nanofluidics, 5th ed.; Perry, R.H., Chilton, C.H., Eds.; McGraw-Hill Chemical Engineering Series; McGraw-Hill: New York, NY, USA, 2019; Volume 23, p. 20. [Google Scholar] [CrossRef]
- Takada, N.; Matsumoto, J.; Matsumoto, S. Prediction of two-phase slug flow patterns in microchannel with T-junction. Jpn. J. Multiph. Flow 2014, 28, 32–38. [Google Scholar] [CrossRef][Green Version]
- Thorsen, T.; Roberts, R.W.; Arnold, F.H.; Quake, S.R. Dynamic pattern formation in a vesicle-generating microfluidic device. Phys. Rev. Lett. 2001, 86, 4163–4166. [Google Scholar] [CrossRef] [PubMed]
- Perry, R.H.; Chilton, C.H. (Eds.) Chemical Engineers’ Handbook, 5th ed.; McGraw-Hill Chemical Engineering Series; McGraw-Hill: New York, NY, USA, 1973. [Google Scholar]
- Yao, C.; Liu, Y.; Xu, C.; Zhao, S.; Chen, G. Formation of liquid-liquid slug flow in a microfluidic T-junction: Effects of fluid properties and leakage flow. AIChE J. 2018, 64, 346–357. [Google Scholar] [CrossRef]
- Hirayama, Y.; Hinoue, M.; Tokumoto, H.; Matsuoka, A.; Noishiki, K.; Muto, A. Liquid–Liquid Extraction and Separation of Cobalt and Lithium Ions Using a Slug Flow Microreactor. J. Chem. Eng. Jpn. 2018, 51, 222–228. [Google Scholar] [CrossRef]









| No. | Solution | Viscosity [mP·s] | Density [g·cm−3] | Kinetic Viscosity [mm2·s−1] |
|---|---|---|---|---|
| A0 | Pure water | 0.89 | 1.00 | 0.89 |
| A1 | 1 mM LiCl | 0.90 | 1.00 | 0.90 |
| A2 | 15 wt.% H2SO4 | 1.83 | 1.10 | 1.66 |
| A3 | 30 wt.% H2SO4 | 3.42 | 1.22 | 2.80 |
| O1 | 40 mM D2EHPA | 0.75 | 0.79 | 0.95 |
| O2 | 400 mM D2EHPA | 1.14 | 0.91 | 1.26 |
| O3 | 900 mM D2EHPA | 1.46 | 1.07 | 1.37 |
| O4 | 1200 mM D2EHPA | 2.26 | 1.17 | 1.94 |
Publisher’s Note: MDPI stays neutral with regard to jurisdictional claims in published maps and institutional affiliations. |
© 2022 by the authors. Licensee MDPI, Basel, Switzerland. This article is an open access article distributed under the terms and conditions of the Creative Commons Attribution (CC BY) license (https://creativecommons.org/licenses/by/4.0/).
Share and Cite
Muto, A.; Abe, H.; Kanki, K.; Fukuda, T.; Kawasaki, S.-i. Generation of Controlled Liquid–Liquid Slug Flow by Interlocking Two Diaphragm Pumps. Separations 2022, 9, 97. https://doi.org/10.3390/separations9040097
Muto A, Abe H, Kanki K, Fukuda T, Kawasaki S-i. Generation of Controlled Liquid–Liquid Slug Flow by Interlocking Two Diaphragm Pumps. Separations. 2022; 9(4):97. https://doi.org/10.3390/separations9040097
Chicago/Turabian StyleMuto, Akinori, Hidetaka Abe, Keita Kanki, Takashi Fukuda, and Shin-ichiro Kawasaki. 2022. "Generation of Controlled Liquid–Liquid Slug Flow by Interlocking Two Diaphragm Pumps" Separations 9, no. 4: 97. https://doi.org/10.3390/separations9040097
APA StyleMuto, A., Abe, H., Kanki, K., Fukuda, T., & Kawasaki, S.-i. (2022). Generation of Controlled Liquid–Liquid Slug Flow by Interlocking Two Diaphragm Pumps. Separations, 9(4), 97. https://doi.org/10.3390/separations9040097

