Impact of Various Vacuum Impregnation Methods on Viability of Cereal Grains
Abstract
:1. Introduction
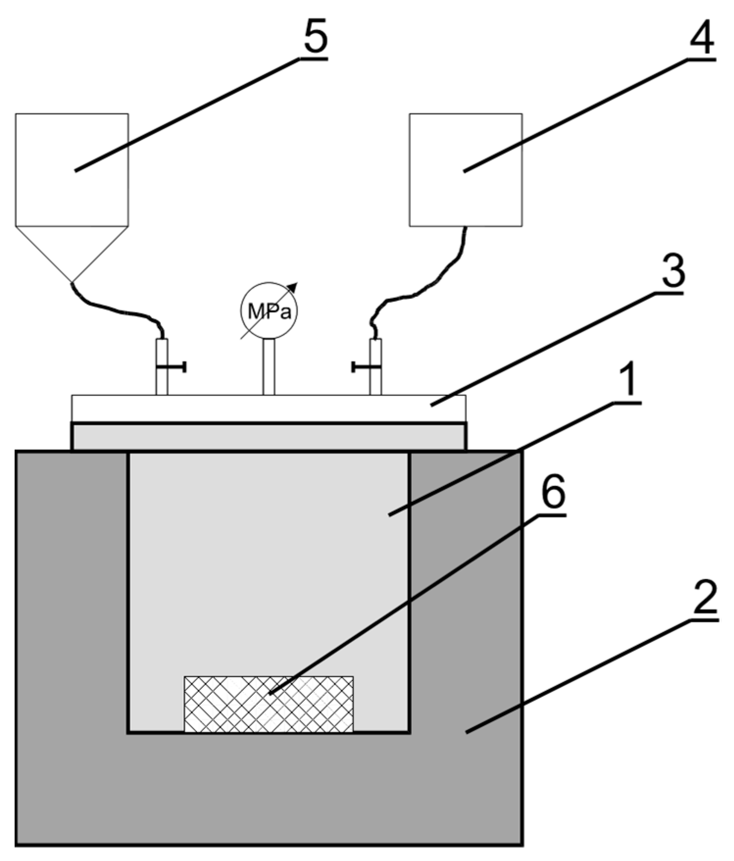
2. Materials and Methods
3. Results
4. Discussion
5. Conclusions
Author Contributions
Funding
Institutional Review Board Statement
Informed Consent Statement
Data Availability Statement
Conflicts of Interest
References
- Kretova, Y.I. Modern Aspects of Technological Processes Modeling to Meet the Challenges of Increasing Energy and Resource Efficiency of Food Production. Procedia Eng. 2015, 129, 294–299. [Google Scholar] [CrossRef]
- Glenk, K.; Hall, C.; Liebe, U.; Meyerhoff, J. Preferences of Scotch malt whisky consumers for changes in pesticide use and origin of barley. Food Policy 2012, 37, 719–731. [Google Scholar] [CrossRef]
- Albanese, L.; Ciriminna, R.; Meneguzzo, F.; Pagliaro, M. Innovative beer-brewing of typical, old and healthy wheat varieties to boost their spreading. J. Clean. Prod. 2018, 171, 297–311. [Google Scholar] [CrossRef]
- Windes, S.; Carrijo, D.; Curwen-McAdams, C.; Hayes, P. Improving the Sustainability of Malting Barley Production: Prospects for Perennial and Annual Growth Habit Varieties. Crop Sci. 2019, 59, 2289–2296. [Google Scholar] [CrossRef]
- Brennan, G.; Tennant, M. Sustainable value and trade-offs: Exploring situational logics and power relations in a UK brewery’s malt supply network business model. Bus. Strategy Environ. 2018, 27, 621–630. [Google Scholar] [CrossRef]
- Sustainability. Available online: https://www.vikingmalt.com/how-we-do-it/sustainability/ (accessed on 21 May 2021).
- Sustainability. Available online: https://www.muntons.com/sustainability/ (accessed on 21 May 2021).
- Sustainability. Available online: https://www.hollandmalt.com/sustainability/ (accessed on 21 May 2021).
- Contreras, C.; Martin, M.E.; Martinez-Navarrete, N.; Chiralt, A. Effect of vacuum impregnation and microwave application on structural changes which occurred during air-drying of apple. LWT Food Sci. Technol. 2005, 38, 471–477. [Google Scholar] [CrossRef]
- Fito, P.; Chiralt, A. Food Matrix Engineering: The Use of the water-structure-functionality ensemble in dried food product development. Food Sci. Technol. Int. 2003, 9, 151–156. [Google Scholar] [CrossRef]
- Guillemin, A.; Degraeve, P.; Noel, C.; Saurel, R. Influence on impregnation solution viscosity and osmolarity on solute uptake during vacuum impregnation of apple cubes (var. Granny Smith). J. Food Eng. 2008, 86, 475–483. [Google Scholar] [CrossRef]
- Vargas, M.; Chiralt, A.; Albors, A.; Gonzalez-Martinez, C. Effect of chitosan-based edible coatings applied by vacuum impregnation on quality preservation of fresh-cut carrot. Postharvest Biol. Technol. 2009, 51, 263–271. [Google Scholar] [CrossRef]
- Shantz, T.; Versmold, R. Types of Vacuum Impregnation Processes. Die Casting Engineer 2013. Available online: www.diecasting.org/dce (accessed on 15 January 2020).
- Barat, J.M.; Chiralt, A.; Fito, P. Equilibrium in cellular food osmotic solution systems as related to structure. J. Food Sci. 1998, 63, 836–840. [Google Scholar]
- Fito, P. Modelling of vacuum osmotic dehydration of foods. J. Food Eng. 1994, 22, 313–318. [Google Scholar] [CrossRef]
- Fito, P.; Chiralt, A.; Betoret, M.; Gras, M.C.; Martinez-Monzo, J.; Andres, A.; Vidal, D. Vacuum impregnation and osmotic dehydration in matrix engineering. Application in functional fresh food development. J. Food Eng. 2001, 49, 175–183. [Google Scholar] [CrossRef]
- Derossi, A.; De Pilli, T.; Severini, C. The application of vacuum impregnation techniques in food industry. In Scientific, Health and Social Aspects of the Food Industry; IntechOpen Ltd.: London, UK, 2012. [Google Scholar]
- Andres, I.; Salvatori, D.; Chiralt, A.; Fito, P. Vacuum impregnation viability of some fruits and vegetables. In Osmotic Dehydration and Vacuum Impregnation; CRC Press: New York, NY, USA, 2001. [Google Scholar]
- Barat, J.M.; Fito, P.; Chiralt, A. Modeling of simultaneous mass transfer and structural changes in fruit tissues. J. Food Eng. 2001, 49, 77–85. [Google Scholar] [CrossRef]
- Corzo, O.; Brancho, N.; Rodriguez, J.; Gonzales, M. Predicting the moisture and salt contents of sardine sheets during vacuum pulse osmotic dehydration. J. Food Eng. 2007, 80, 781–790. [Google Scholar] [CrossRef]
- Derossi, A.; De Pilli, T.; Severini, C. Reduction in the pH of vegetables by vacuum impregnation: A study on pepper. J. Food Eng. 2010, 99, 9–15. [Google Scholar] [CrossRef]
- Derossi, A.; De Pilli, T.; La Penna, M.P.; Severini, C. pH reduction and vegetable tissue structure changes of zucchini slices during pulsed vacuum acidification. Food Sci. Technol. 2011, 44, 1901–1907. [Google Scholar] [CrossRef]
- Giraldo, G.; Talens, P.; Fito, P.; Chiralt, A. Influence of sucrose solution concentration on kinetics and yield during osmotic dehydration of mango. J. Food Eng. 2003, 58, 33–43. [Google Scholar] [CrossRef]
- Hofmeister, L.C.; Souza, J.A.R.; Laurindo, J.B. Use of dye solutions to visualize different aspect of vacuum impregnation of Minas Cheese. LWT Food Sci. Technol. 2005, 38, 379–386. [Google Scholar] [CrossRef]
- Mujica-Paz, H.; Valdez-Fragoso, A.; Lopez-Malo, A.; Palou, E.; Welti-Chanes, J. Impregnation properties of some frutis at vacuum pressure. J. Food Eng. 2003, 56, 307–314. [Google Scholar] [CrossRef]
- Zhao, Y.; Xie, J. Practical applications of vacuum impregnation in fruit and vegetable processing. Trends Food Sci. Technol. 2004, 15, 434–451. [Google Scholar] [CrossRef]
- Chiralt, A.; Fito, P.; Andres, A.; Barat, J.M.; Martinez-Monzo, J.; Martinez-Navarrete, N. Vacuum impregnation: A tool in minimally processing of foods. In Processing of Foods: Quality Optimization and Process Assessment; Oliveira, F.A.R., Oliveira, J.C., Eds.; CRC Press: Boca Raton, FL, USA, 1999; pp. 341–356. ISBN 9780367455699. [Google Scholar]
- Chiralt, A.; Fito, P.; Barat, J.M.; Andres, A.; Gonzales-Martinez, C.; Escriche, I.; Camacho, M.M. Use of vacuum impregnation in food salting process. J. Food Eng. 2001, 49, 141–151. [Google Scholar] [CrossRef]
- Hironaka, K.; Kikuchi, M.; Koaze, H.; Sato, T.; Kojima, M.; Yaamamoto, K.; Yasuda, K.; Mori, M.; Tsuda, M. Ascorbic acid enrichment of whole potato tuber by vacuum impregnation. Food Chem. 2011, 127, 1114–1118. [Google Scholar] [CrossRef] [PubMed]
- Chiralt, A.; Fito, P. Transport mechanisms in osmotic dehydration: The role of the structure. Food Sci. Technol. Int. 2003, 9, 179–186. [Google Scholar] [CrossRef]
- Gras, M.L.; Vidal, D.; Betoret, N.; Chiralt, A.; Fito, P. Calcium fortification of vegetables by vacuum impregnation. Intercations with cellular matrix. J. Food Eng. 2003, 56, 279–284. [Google Scholar] [CrossRef]
- Betoret, E.; Betoret, N.; Arilla, A.; Bennar, M.; Barrera, C.; Codoner, P.; Fito, P. No invasive methodology to produce a probiotic low humid apple snack with potential effect against Helicobacter pylori. J. Food Eng. 2012, 110, 289–293. [Google Scholar] [CrossRef]
- Gonzalez-Martinez, C.; Chafer, M.; Fito, P.; Chiralt, A. Development of salt profiles on Manchego type cheese during brining. Influence of vacuum pressure. J. Food Eng. 2002, 53, 67–73. [Google Scholar] [CrossRef]
- Cruz, R.M.S.; Vieira, M.C.; Silva, C.L.M. The response of watercress (Nasturtium officinale) to vacuum impregnation: Effect of and antifreeze protein type I. J. Food Eng. 2009, 95, 339–345. [Google Scholar] [CrossRef]
- Igual, M.; Castello, M.L.; Ortola, M.D.; Andres, A. Influence of vacuum impregnation on respiration rate, mechanical and optical properties of cut persimmon. J. Food Eng. 2008, 86, 315–323. [Google Scholar] [CrossRef]
- Aguilera, J.M. Why food microstructure? J. Food Eng. 2005, 67, 3–11. [Google Scholar] [CrossRef]
- Mebatsion, H.K.; Verboven, P.; Ho, Q.T.; Verlinden, B.E.; Nicolai, B.M. Modelling fruit (micro)structures, why and how? Trends Food Sci. Technol. 2008, 19, 59–66. [Google Scholar] [CrossRef]
- Ramírez, E.; Troncoso, J.; Muñoz, J.M. Aguilera Microstructure analysis on pre-treated apple slices and its effect on water release during air drying. J. Food Eng. 2011, 106, 253–261. [Google Scholar] [CrossRef]
- Derossi, T.; De Pilli, C.; Severini, C. Application of pulsed vacuum acidification for the pH reduction of mushrooms. LWT Food Sci. Technol. 2013, 54, 585–591. [Google Scholar] [CrossRef]
- Schulze, B.; Peth, S.; Hubbermann, E.M.; Schwarz, K. The influence of vacuum impregnation on the fortification of apple parenchyma with quercetin derivatives in combination with pore structures X-ray analysis. J. Food Eng. 2012, 109, 380–387. [Google Scholar] [CrossRef]
- Chafer, M.; Gonzalez-Martinez, C.; Femandez, B.; Perez, L.; Chiralt, A. Effect of blanching and vacuum pulse application on osmotic dehydration of pear. Food Sci. Technol. Int. 2003, 9, 321–328. [Google Scholar] [CrossRef]
- Occhino, E.; Hernando, I.; Llorca, E.; Neri, L.; Pittia, P. Effect of vacuum impregnation treatments to improve quality and texture of zucchini (Cucurbita pepo, L.). Procedia Food Sci. 2011, 6, 829–835. [Google Scholar] [CrossRef] [Green Version]






| Factor | Value | Rye | Barley | Wheat var. Sukces | Wheat var. Rywalka |
|---|---|---|---|---|---|
| Treatment variant | WVI | 97 a | 97.1 a | 98 a | 97 a |
| WVI 3 | 93.3 a | 91.7 a | 98.3 a | 97 a | |
| WVI 5 | 95 a | 93.9 a | 96.7 a | 94.7 a | |
| WVI 10 | 93.7 a | 92.2 a | 95 a | 96.3 a | |
| Pressure (kPa) | 5 | 94 a | 94.8 a | 97.2 a | 96.9 a |
| 100 | 91 b | 92.5 a | 94.3 a | 92.3 a |
Publisher’s Note: MDPI stays neutral with regard to jurisdictional claims in published maps and institutional affiliations. |
© 2021 by the authors. Licensee MDPI, Basel, Switzerland. This article is an open access article distributed under the terms and conditions of the Creative Commons Attribution (CC BY) license (https://creativecommons.org/licenses/by/4.0/).
Share and Cite
Kobus, Z.; Rydzak, L.; Guz, T.; Domin, M.; Nadulski, R.; Osmólska, E. Impact of Various Vacuum Impregnation Methods on Viability of Cereal Grains. Processes 2021, 9, 1368. https://doi.org/10.3390/pr9081368
Kobus Z, Rydzak L, Guz T, Domin M, Nadulski R, Osmólska E. Impact of Various Vacuum Impregnation Methods on Viability of Cereal Grains. Processes. 2021; 9(8):1368. https://doi.org/10.3390/pr9081368
Chicago/Turabian StyleKobus, Zbigniew, Leszek Rydzak, Tomasz Guz, Marek Domin, Rafał Nadulski, and Emilia Osmólska. 2021. "Impact of Various Vacuum Impregnation Methods on Viability of Cereal Grains" Processes 9, no. 8: 1368. https://doi.org/10.3390/pr9081368
APA StyleKobus, Z., Rydzak, L., Guz, T., Domin, M., Nadulski, R., & Osmólska, E. (2021). Impact of Various Vacuum Impregnation Methods on Viability of Cereal Grains. Processes, 9(8), 1368. https://doi.org/10.3390/pr9081368

