A Closed-Loop Optimized System with CFD Data for Liquid Maldistribution Model
Abstract
1. Introduction
2. SVR Modeling Hybrid PSO Based on CFD Simulation
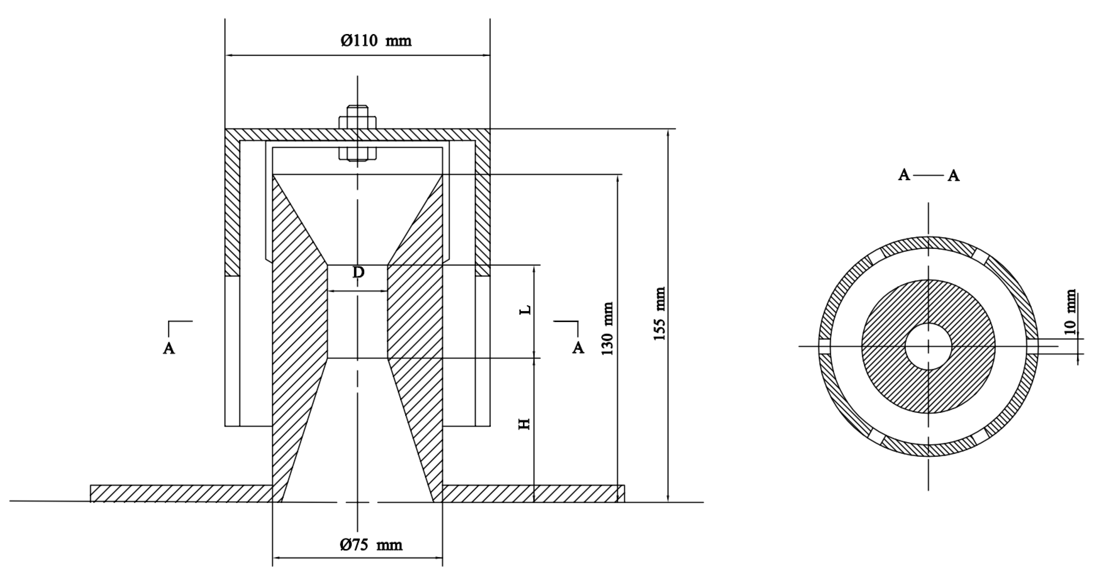
2.1. Data from CFD Simulations
2.2. Support Vector Regression and Particle Swarm Optimization
2.3. Evaluation Index
3. Optimal Structure Obtained from RSM Based on the PSO-SVR Model
4. Results and Discussion
4.1. Effectiveness Evaluation of the PSO-SVR Model
4.1.1. Comparison and Discussion on the Precision of PSO-SVR Model
4.1.2. Comparison and Discussion on the Rapidity of PSO-SVR Model
4.2. Verification of the Optimal Structure
5. Conclusions
- (1)
- SVR was used with limited CFD simulation data to overcome the high computational load issue of CFD and achieve an accurate mathematical model.
- (2)
- The PSO algorithm was employed to determine an optimal set of parameters of the SVR model and speed up modeling.
- (3)
- The optimal structure of gas-liquid distributor was obtained from the combination of PSO-SVR and RSM.
- (4)
- RSM was applied to clarify the influence of structural parameters of the gas-liquid distributor on the liquid maldistribution.
- (5)
- A closed-loop optimized system was designed beginning from collecting CFD data, modeling with PSO-SVR, optimizing by RSM, and ending with CFD validation.
Author Contributions
Funding
Conflicts of Interest
References
- Atta, A.; Roy, S.; Nigam, K.D.P. Investigation of liquid maldistribution in trickle-bed reactors using porous media concept in CFD. Chem. Eng. Sci. 2007, 62, 7033–7044. [Google Scholar] [CrossRef]
- Marcandelli, C.; Lamine, A.S.; Bernard, J.R.; Wild, G. Liquid Distribution in Trickle-Bed Reactor. Oil Gas. Sci. Technol. 2000, 55, 407–415. [Google Scholar] [CrossRef]
- Kundu, A.; Saroha, A.K.; Nigam, K.D.P. Liquid distribution studies in trickle-bed reactors. Chem. Eng. Sci. 2001, 56, 5963–5967. [Google Scholar] [CrossRef]
- Li, M.; Iida, N.; Yasuda, K.; Bando, Y.; Nakamura, M. Effect of orientation of packing structure on liquid flow distribution in trickle bed. J. Chem. Eng. Jpn. 2000, 33, 811–814. [Google Scholar] [CrossRef]
- Zalucky, J.; Wagner, M.; Schubert, M.; Lange, R.; Hampel, U. Hydrodynamics of descending gas-liquid flows in solid foams: Liquid holdup, multiphase pressure drop and radial dispersion. Chem. Eng. Sci. 2017, 168, 480–494. [Google Scholar] [CrossRef]
- Roy, S.; Kamalanathan, P.; Al-Dahhan, M. Integration of phase distribution from gamma-ray tomography technique with monolith reactor scale modeling. Chem. Eng. Sci. 2019, 200, 27–37. [Google Scholar] [CrossRef]
- Wu, H.; Buschle, B.; Yang, Y.; Tan, C.; Dong, F.; Jia, J.; Lucquiaud, M. Liquid distribution and hold-up measurement in counter current flow packed column by electrical capacitance tomography. Chem. Eng. J. 2018, 353, 519–532. [Google Scholar] [CrossRef]
- Singh, B.K.; Jain, E.; Buwa, V.V. Feasibility of Electrical Resistance Tomography for measurements of liquid holdup distribution in a trickle bed reactor. Chem. Eng. J. 2019, 358, 564–579. [Google Scholar] [CrossRef]
- Lovreglio, P.; Das, S.; Buist, K.A.; Peters, E.A.J.F.; Pel, L.; Kuipers, J.A.M. Experimental and numerical investigation of structure and hydrodynamics in packed beds of spherical particles. AIChE J. 2018, 64, 1896–1907. [Google Scholar] [CrossRef]
- Uribe, S.; Cordero, M.E.; Reyes, E.P.; Regalado-Méndez, A.; Zárate, L.G. Multiscale CFD modelling and analysis of TBR behavior for an HDS process: Deviations from ideal behaviors. Fuel 2019, 239, 1162–1172. [Google Scholar] [CrossRef]
- He, G.; Mo, H.; Zhang, R.; Jin, H.; Du, W. Study of the effects of walls on vortex formation and liquid maldistribution with two-phase flow around a spherical particle via numerical simulation. Powder Technol. 2019, 354, 125–135. [Google Scholar] [CrossRef]
- Shah, M.T.; Utikar, R.P.; Pareek, V.K. Effect of column inclination and oscillation on liquid spreading in a trickle bed. Chem. Eng. Res. Des. 2019, 152, 165–179. [Google Scholar] [CrossRef]
- Klenov, O.P.; Noskov, A.S. Influence of input conditions on the flow distribution in trickle bed reactors. Chem. Eng. J. 2020, 382. [Google Scholar] [CrossRef]
- Dhanraj, D.I.A.; Buwa, V.V. Effect of capillary pressure force on local liquid distribution in a trickle bed. Chem. Eng. Sci. 2018, 191, 115–133. [Google Scholar] [CrossRef]
- Mehmani, A.; Chowdhury, S.; Meinrenken, C.; Messac, A. Concurrent surrogate model selection (COSMOS): Optimizing model type, kernel function, and hyper-parameters. Struct. Multidiscip. Optim. 2018, 57, 1093–1114. [Google Scholar] [CrossRef]
- Cheng, K.; Lu, Z. Adaptive sparse polynomial chaos expansions for global sensitivity analysis based on support vector regression. Comput. Struct. 2018, 194, 86–96. [Google Scholar] [CrossRef]
- Xiang, H.; Li, Y.; Liao, H.; Li, C. An adaptive surrogate model based on support vector regression and its application to the optimization of railway wind barriers. Struct. Multidiscip. Optim. 2017, 55, 701–713. [Google Scholar] [CrossRef]
- Zhang, W.; Zhang, L.; Yang, J.; Hao, X.; Guan, G.; Gao, Z. An experimental modeling of cyclone separator efficiency with PCA-PSO-SVR algorithm. Powder Technol. 2019, 347, 114–124. [Google Scholar] [CrossRef]
- Bansal, S.; Roy, S.; Larachi, F. Support vector regression models for trickle bed reactors. Chem. Eng. J. 2012, 207–208, 822–831. [Google Scholar] [CrossRef]
- Jalalifar, S.; Masoudi, M.; Abbassi, R.; Garaniya, V.; Ghiji, M.; Salehi, F. A hybrid SVR-PSO model to predict a CFD-based optimised bubbling fluidised bed pyrolysis reactor. Energy 2020, 191. [Google Scholar] [CrossRef]
- Zaidi, S. Development of support vector regression (SVR)-based model for prediction of circulation rate in a vertical tube thermosiphon reboiler. Chem. Eng. Sci. 2012, 69, 514–521. [Google Scholar] [CrossRef]
- Zhao, F. Study on Fluid Flow Characteristics and Lumped Reaction Kinetics in Hydrogenation Reactor; China University of Petroleum: Beijing, China, 2016. [Google Scholar]
- Tabari, M.M.R.; Sanayei, H.R.Z. Prediction of the intermediate block displacement of the dam crest using artificial neural network and support vector regression models. Soft Comput. 2019, 23, 9629–9645. [Google Scholar] [CrossRef]
- Yang, H.; Nikafshan Rad, H.; Hasanipanah, M.; Bakhshandeh Amnieh, H.; Nekouie, A. Prediction of Vibration Velocity Generated in Mine Blasting Using Support Vector Regression Improved by Optimization Algorithms. Nat. Resour. Res. 2020, 29, 807–830. [Google Scholar] [CrossRef]
- Hasanipanah, M.; Shahnazar, A.; Bakhshandeh Amnieh, H.; Jahed Armaghani, D. Prediction of air-overpressure caused by mine blasting using a new hybrid PSO–SVR model. Eng. Comput. 2017, 33, 23–31. [Google Scholar] [CrossRef]
- Akinpelu, A.A.; Ali, M.E.; Owolabi, T.O.; Johan, M.R.; Saidur, R.; Olatunji, S.O.; Chowdbury, Z. A support vector regression model for the prediction of total polyaromatic hydrocarbons in soil: An artificial intelligent system for mapping environmental pollution. Neural Comput. Appl. 2020, 3. [Google Scholar] [CrossRef]
- Zuo, Q.; Zhu, X.; Liu, Z.; Zhang, J.; Wu, G.; Li, Y. Prediction of the performance and emissions of a spark ignition engine fueled with butanol-gasoline blends based on support vector regression. Environ. Prog. Sustain. Energy 2019, 38, 1–9. [Google Scholar] [CrossRef]
- Chen, H.; Liu, C.; Xu, X.; Zhang, L. A new model for predicting sulfur solubility in sour gases based on hybrid intelligent algorithm. Fuel 2020, 262, 116550. [Google Scholar] [CrossRef]
- Keshtegar, B.; Heddam, S.; Sebbar, A.; Zhu, S.P.; Trung, N.T. SVR-RSM: A hybrid heuristic method for modeling monthly pan evaporation. Environ. Sci. Pollut. Res. 2019, 26, 35807–35826. [Google Scholar] [CrossRef]





| Input Variables | Output Variables | ||||
|---|---|---|---|---|---|
| D (mm) | H (mm) | L (mm) | R (mm) | ||
| 40 | 75 | 15 | 90 | 0.05168 | 0.307 |
| 60 | 75 | 15 | 0 | 0.78804 | 0.281 |
| 20 | 75 | 15 | 50 | 0.68672 | 0.187 |
| 50 | 100 | 15 | 70 | 0.15530 | 0.276 |
| 30 | 50 | 0 | 0 | 0.89510 | 0.283 |
| 30 | 25 | 15 | 50 | 0.59876 | 0.253 |
| 30 | 75 | 15 | 0 | 0.95211 | 0.239 |
| 50 | 75 | 15 | 110 | 0.05073 | 0.270 |
| 30 | 50 | 5 | 110 | 0.02788 | 0.301 |
| 30 | 50 | 20 | 30 | 0.62597 | 0.295 |
| Operating Parameters/Physical Parameter | Value |
|---|---|
| Pressure, MPa | 5 |
| Hydrogen−oil ratio, Nm3 · m−3 | 706 |
| Operating temperature, °C | 350 |
| Liquid density, kg · m−3 | 694 |
| Liquid viscosity, kg · m−1 · s−1 | 0.00038 |
| Liquid phase velocity, m · s−1 | 0.23 |
| Gas phase density, kg · m−3 | 30.6 |
| Gas phase viscosity, kg · m−1 · s−1 | 0.000015 |
| Vapor velocity, m · s−1 | 0.24 |
| Sample No. | Throat Diameter, D | Throat Height, H | Throat Length, L | |
|---|---|---|---|---|
| 1 | 40 | 100 | 20 | 0.3767 |
| 2 | 20 | 100 | 10 | 0.2729 |
| 3 | 40 | 62.5 | 15 | 0.2502 |
| 4 | 60 | 25 | 20 | 0.3629 |
| 5 | 50 | 43.75 | 15 | 0.2499 |
| 6 | 30 | 81.25 | 5 | 0.3113 |
| 7 | 20 | 62.5 | 0 | 0.2621 |
| ⋮ | ||||
| 49 | 40 | 25 | 0 | 0.3082 |
| 50 | 60 | 62.5 | 10 | 0.3656 |
| 51 | 50 | 43.75 | 10 | 0.3376 |
| 52 | 30 | 62.5 | 15 | 0.2355 |
| 53 | 20 | 100 | 20 | 0.2663 |
| Source | Sum of Squares | df | Mean Square | F Value | p-Value Prob > F |
|---|---|---|---|---|---|
| Model | 0.17 | 20 | 8.482 × 10−3 | 43.41 | <0.0001 |
| D | 0.019 | 1 | 0.019 | 98.37 | <0.0001 |
| H | 0.012 | 1 | 0.012 | 60.36 | <0.0001 |
| L | 0.049 | 1 | 0.049 | 250.70 | <0.0001 |
| D × H | 4.524 × 10−3 | 1 | 4.524 × 10−3 | 23.15 | <0.0001 |
| D × L | 5.073 × 10−3 | 1 | 5.073 × 10−3 | 25.96 | <0.0001 |
| H × L | 1.341 × 10−3 | 1 | 1.341 × 10−3 | 6.86 | 0.0133 |
| L2 | 4.157 × 10−3 | 1 | 4.157 × 10−3 | 21.28 | <0.0001 |
| D2 × H | 0.014 | 1 | 0.014 | 73.31 | <0.0001 |
| D2 × L | 9.267 × 10−4 | 1 | 9.267 × 10−4 | 4.74 | 0.0369 |
| D × H2 | 5.669 × 10−3 | 1 | 5.669 × 10−3 | 29.01 | <0.0001 |
| D3 | 1.549 × 10-3 | 1 | 1.549 × 10−3 | 7.93 | 0.0083 |
| H3 | 2.348 × 10−3 | 1 | 2.348 × 10−3 | 12.01 | 0.0015 |
| L3 | 0.035 | 1 | 0.035 | 180.89 | <0.0001 |
| D2 × L2 | 1.281 × 10−3 | 1 | 1.281 × 10−3 | 6.55 | 0.0154 |
| D3 × H | 2.071 × 10−3 | 1 | 2.071 × 10−3 | 10.60 | 0.0027 |
| D3 × L | 4.035 × 10−3 | 1 | 4.035 × 10−3 | 20.65 | <0.0001 |
| H3 × L | 9.451 × 10−4 | 1 | 9.451 × 10−4 | 4.84 | 0.0352 |
| D4 | 1.013 × 10−3 | 1 | 1.013 × 10−3 | 5.19 | 0.0296 |
| Statistics Project | Value |
|---|---|
| Std. Dev. | 0.014 |
| Mean | 0.33 |
| CV % | 4.22 |
| PRESS | 0.018 |
| R-Squared | 0.9644 |
| Adj R-Squared | 0.9422 |
| Pred R-Squared | 0.8981 |
| Adeq Precision | 27.651 |
| {C, g, ε} | MSE | R2 | CPU Time | |
|---|---|---|---|---|
| PSO-SVR | {C = 163, g = 0.737, ε = 0.241} | 5.391 × 10−4 | 0.985 | 36.15 s |
| SVR | {C = 5.6569, g = 1.071, ε = 0.01} | 1.314 × 10−3 | 0.976 | 1047 s |
Publisher’s Note: MDPI stays neutral with regard to jurisdictional claims in published maps and institutional affiliations. |
© 2020 by the authors. Licensee MDPI, Basel, Switzerland. This article is an open access article distributed under the terms and conditions of the Creative Commons Attribution (CC BY) license (http://creativecommons.org/licenses/by/4.0/).
Share and Cite
Zhang, W.; Li, L.; Zhang, B.; Xu, X.; Zhai, J.; Wang, J. A Closed-Loop Optimized System with CFD Data for Liquid Maldistribution Model. Processes 2020, 8, 1332. https://doi.org/10.3390/pr8111332
Zhang W, Li L, Zhang B, Xu X, Zhai J, Wang J. A Closed-Loop Optimized System with CFD Data for Liquid Maldistribution Model. Processes. 2020; 8(11):1332. https://doi.org/10.3390/pr8111332
Chicago/Turabian StyleZhang, Wei, Liyi Li, Baoping Zhang, Xin Xu, Jian Zhai, and Junwen Wang. 2020. "A Closed-Loop Optimized System with CFD Data for Liquid Maldistribution Model" Processes 8, no. 11: 1332. https://doi.org/10.3390/pr8111332
APA StyleZhang, W., Li, L., Zhang, B., Xu, X., Zhai, J., & Wang, J. (2020). A Closed-Loop Optimized System with CFD Data for Liquid Maldistribution Model. Processes, 8(11), 1332. https://doi.org/10.3390/pr8111332
