Next Article in Journal
Analysis and Optimization Research on the Failure Mechanism of the Sealing Structure of the High-Pressure Casing Hanger
Previous Article in Journal
A Closed-Loop PX–ISO Framework for Staged Day-Ahead Energy and Ancillary Clearing in Power Markets
 
 
Font Type:
Arial Georgia Verdana
Font Size:
Aa Aa Aa
Line Spacing:
Column Width:
Background:
Article

Mechanistic Analysis of In Situ Hydrogen Production During Heavy Oil Gasification Based on Numerical Simulations

1
Engineering Technology Management Department, Sinopec Henan Oilfield Company, Nanyang 637001, China
2
Petroleum Engineering Technology Research Institute, Sinopec Henan Oilfield Company, Nanyang 637001, China
3
School of Petroleum and Natural Gas Engineering, Southwest Petroleum University, Chengdu 610500, China
4
Downhole Engineering Technology Company, Qinghai Oilfield Company, Mangya 817400, China
*
Author to whom correspondence should be addressed.
Processes 2026, 14(6), 1026; https://doi.org/10.3390/pr14061026
Submission received: 8 February 2026 / Revised: 19 March 2026 / Accepted: 20 March 2026 / Published: 23 March 2026
(This article belongs to the Topic Enhanced Oil Recovery Technologies, 4th Edition)

Abstract

In situ hydrogen generation can extend in situ combustion (ISC) by converting part of the heavy oil in place into H2-containing gas while allowing part of the carbonaceous products to remain in the reservoir. To clarify how operating conditions affect hydrogen behavior, this study recalibrated key Arrhenius parameters in a pseudo-component kinetic network through least-squares-guided manual history matching against high-temperature/high-pressure (HTHP) reactor data obtained under three gas atmospheres (air, N2, and CO2). Model performance was evaluated through a direct comparison between raw simulator predictions and measured gas compositions using parity plots with a 1:1 reference line and residual-based statistics calculated from the simulated values rather than from regression-fitted values. The calibrated model was then used to compare hydrogen responses over 150–425 °C, 4–8 MPa, and 0.25–10 days. Within the tested range, three temperature regimes were identified: initiation (150–250 °C), pyrolysis-controlled (250–325 °C), and high-yield (325–425 °C). Oxygen and CO2 generally reduced net hydrogen accumulation through competing pathways, whereas an inert N2 background produced the highest H2 fraction, reaching 28.6 vol% at 425 °C and 6 MPa after 10 days. These results provide a reactor-scale basis for selecting favorable operating windows and for subsequent reservoir-scale evaluation of in situ hydrogen generation under ISC conditions.

1. Introduction

Heavy and extra-heavy oils remain a substantial part of global hydrocarbon resources, yet their development is increasingly constrained by high energy demand and carbon emissions. Thermal recovery methods such as cyclic steam stimulation, steam-assisted gravity drainage, and ISC can mobilize viscous oil effectively, but they typically require large surface fuel input and generate significant CO2 per produced barrel [1]. At the same time, hydrogen is gaining attention as an energy carrier and industrial feedstock in decarbonization pathways. For hydrogen-related projects, the carbon intensity of production routes is becoming as important as cost, which motivates concepts that couple subsurface thermal processes with in-reservoir hydrogen generation and potential carbon retention.
Among the proposed concepts, in situ hydrogen generation treats the heated reservoir as a reactive environment in which cracking, oxidation, coke formation, and gasification occur in sequence. Compared with surface upgrading or reforming [2], subsurface conversion could reduce surface infrastructure and avoid transporting high-viscosity crude oil, while the formation itself provides confinement that can retain a portion of generated CO2. However, the underlying chemistry is multistage and depends strongly on temperature, pressure, water availability, local gas composition, and mineral surfaces. As a consequence, the net hydrogen outcome results from a competition between hydrogen-forming reactions and hydrogen-consuming reactions.
Recent experimental and modeling studies have shown that hydrogen can be generated during aquathermolysis and in situ combustion gasification of heavy oils under high-temperature/high-pressure conditions [3,4,5]. These studies further suggest that gasification can simultaneously modify gas composition and improve oil mobility or quality, supporting the concept of combined gas production and in situ upgrading.
From a modeling perspective, the reaction set encompasses oil-phase cracking, aquathermolysis, low- and high-temperature oxidation (LTO and HTO), coke formation and gasification, and gas phase reactions including the water–gas shift (WGS) and methanation. Pseudo-component kinetic descriptions for heavy oil conversion and gas lumping have been developed in prior experimental and simulation studies [6,7,8,9,10]. Building on these frameworks, subsequent numerical and molecular-level studies have examined the effects of temperature, pressure, oxygen enrichment, water availability, and atmosphere composition on gas yields and hydrogen fractions [11,12,13].
For ISC-relevant conditions, the reservoir environment is strongly zoned. Oxygen is concentrated near the combustion front, while the upstream steam, thermal cracking, and coke gasification zones are largely oxygen-depleted (Figure 1). Therefore, results obtained under oxygen-rich conditions may not represent the dominant chemistry in oxygen-poor regions, where the residence time at an elevated temperature can be much longer. In addition, laboratory experiments and corresponding simulations often focus on short durations (hours), whereas the reservoir can experience sustained heating over days to weeks. This longer exposure allows slower pathways and secondary consumption routes to become important, which can alter net hydrogen generation and gas composition.
In this work, reactor-scale history matching is coupled with a comparative numerical study. The contribution is not merely parameter replacement; it is the construction of atmosphere-specific effective kinetic descriptions anchored to a common HTHP reactor dataset and evaluated through direct simulator-to-measurement comparison. The pseudo-component kinetic network was recalibrated to reproduce gas compositions under air, N2, and CO2, after which the calibrated models were used to compare hydrogen volume fractions and specific hydrogen yields. This study focuses on three questions: how atmosphere-specific fitting alters the effective kinetics, how the hydrogen response can be organized into practical temperature regimes, and how the hydrogen fraction may diverge from the net hydrogen yield under identical operating conditions. All results are interpreted as reactor-scale screening trends rather than direct field-scale predictions.

2. Materials and Methods

2.1. Reaction Network and Kinetic Formulation

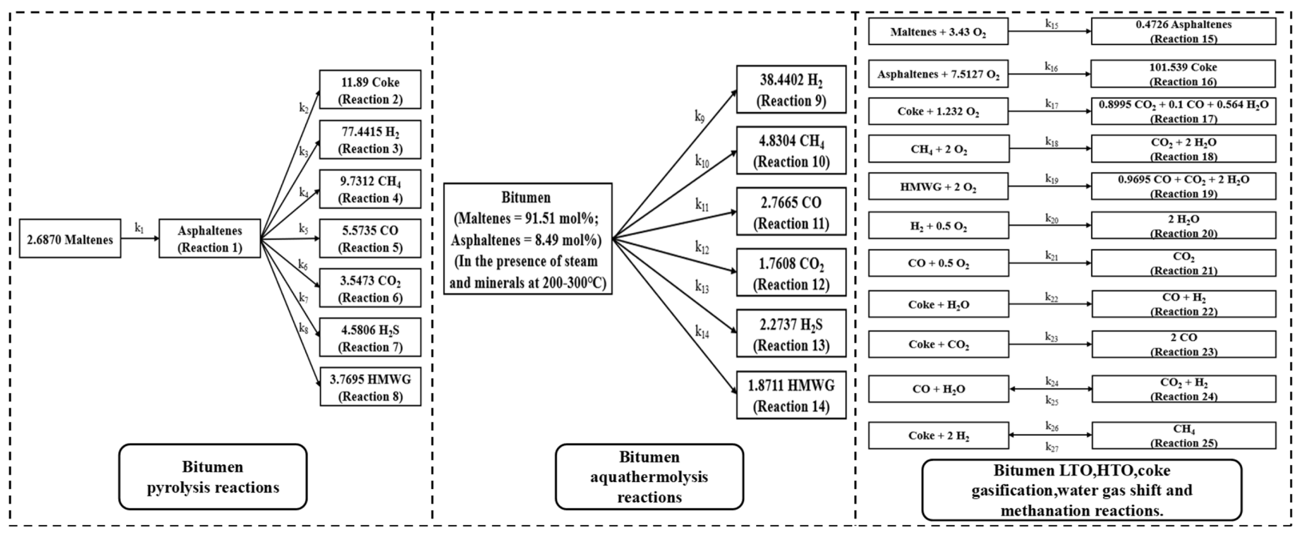
Heavy oil gasification chemistry involves many parallel and consecutive reactions in both condensed and gas phases. To retain the major conversion routes while keeping the model calibratable, we adopt the reaction network proposed by Kapadia et al. [10] as the baseline (Figure 2). The network links thermal cracking/pyrolysis, aquathermolysis, LTO and HTO, coke formation, and secondary reactions of cracking products with gas phase processes such as coke gasification, WGS, and methanation.
Because the feed and products comprise numerous molecular species, a lumped (pseudo-component) representation is used. Bitumen is divided into maltenes and asphaltenes, which show different behavior during cracking and oxidation. Asphaltenes can follow competing pathways that generate lighter oils, gases, and solid coke. In the gas phase, H2, CH4, CO, CO2, and H2S are tracked explicitly, while combustible C2+ species are grouped into HMWG [5,8,9,10]. This reduced description captures the dominant mass-transfer coupling between phases while remaining practical for reservoir simulators.
Each lumped reaction is described by an Arrhenius-type rate constant, k = Aexp(−E/RT), where A is the pre-exponential factor, E is the activation energy, R is the universal gas constant, and T is the absolute temperature. For higher-order reactions, CMG-STARS internally applies the appropriate concentration terms; accordingly, the reported Arrhenius parameters should be interpreted as effective kinetic coefficients within the simulator formulation. During recalibration, Reactions 1–14 and 22–27 were treated as adjustable, whereas Reactions 15–21 retained the baseline oxygen reaction settings and remained inactive in the N2 and CO2 cases. The calibrated parameters therefore represent effective kinetics specific to the present reactor system rather than universal intrinsic constants.

2.2. Reactor-Scale Numerical Model and Boundary Conditions

A numerical HTHP reactor model was built in CMG-STARS, version 2021 (Computer Modelling Group Ltd., Calgary, AB, Canada) to mirror the boundary conditions of the laboratory tests (Figure 3). The computational domain used a 10 × 1 × 1 Cartesian grid with porosity set to 1.0 to represent a well-mixed reactor volume. Initial phase saturations were 0.015 oil, 0.015 water, and 0.97 gas, consistent with a gas-dominant headspace. Calibration runs were treated as isothermal at 200, 250, and 300 °C and simulated for 6 h at 4 MPa to match the experimental protocol. The main reactor model input parameters are summarized in Table 1.
Pressure control and gas collection were implemented through pressure-constrained injection/production controls in CMG-STARS, which maintained the target system pressure while retaining produced gases in the reactor gas phase for composition accounting. The initial atmosphere was set to air, N2, or CO2, representing oxygen-containing conditions near a combustion front, oxygen-depleted inert conditions in upstream cracking zones, and CO2-rich conditions that may develop under flue-gas injection or local CO2 accumulation, respectively. Rock powder (sandstone core powder) was present in the experiments and can provide mineral surfaces that influence apparent reaction rates; in the present model, this effect is absorbed into the fitted effective kinetic parameters rather than treated through an explicit surface-reaction module.
The reactor-scale simulations are not intended to reproduce reservoir-scale transport or spatial gradients; rather, they serve to calibrate kinetics under controlled conditions and support a consistent comparison of operating-condition effects on gas composition and hydrogen behavior. All yield comparisons employ the same simulator gas-volume reporting basis and the same initial oil charge within this fixed reactor configuration; accordingly, the yield metric is used primarily for relative comparison among cases rather than for direct scale-up.

2.3. Parameter Recalibration and History Matching

The crude oil sample and experimental configuration differ from those used in the original Kapadia model development. In addition, the inclusion of rock powder introduces catalytic and buffering effects that may alter apparent activation energies and the balance between hydrogen-forming and hydrogen-consuming pathways. Therefore, directly using Arrhenius parameters from the literature can lead to a systematic mismatch in the predicted gas composition, especially for H2 and sulfur species.
History matching was performed by directly comparing simulator outputs with the measured gas compositions obtained from the HTHP reactor tests at 200, 250, and 300 °C under air, N2, and CO2 (4 MPa, 6 h). No secondary linear fit was applied before evaluating model performance. The least-squares objective and the species-wise evaluation metrics were defined as follows:
J = j k = 1 n j ( y j , k s i m y j , k e x p ) 2
R M S E j = [ 1 n j k = 1 n j ( y j , k s i m y j , k e x p ) 2 ] 1 2
M A E j = 1 n j k | y j , k s i m y j , k e x p |
R 2 = 1 k = 1 n j ( y j , k e x p y j , k s i m ) 2 k = 1 n j ( y j , k e x p y ¯ j , k e x p ) 2
In Equations (1)–(4), y j , k s i m and y j , k e x p denote the raw simulated and measured gas composition values, respectively, for species j at data point k, and nj is the number of data points for species j. y ¯ j e x p denotes the mean of the measured values for species j. All quantities were calculated directly from the raw simulated and measured values.
For each atmosphere, the evaluation dataset contained 12 gas composition points (H2, CH4, H2S, and HMWG at 200, 250, and 300 °C). Because replicate information was not available for all conditions, the comparison is interpreted here as a deterministic model performance check rather than a full uncertainty-qualified validation. Adjustable parameters were restricted to Reactions 1–14 and 22–27 around the Kapadia baseline, whereas Reactions 15–21 retained the baseline oxygen reaction settings and remained inactive in the N2 and CO2 cases. Calibration was stopped when further manual adjustment no longer produced a meaningful reduction in J, and no systematic improvement was observed across the reported species. Figure 4 presents the overall parity plots, whereas Figure 5 shows species-resolved agreement at each calibration temperature. Table 2 summarizes the corresponding species-wise RMSE and MAE values, reported in vol%.
A comparison of the parameter sets in Table 3 shows that the largest atmosphere-dependent shifts occur in Reactions 6, 11–14, 23, 26, and 27, indicating that hydrogen-redistribution steps and selected coke–gas reactions exert the strongest leverage on the fitted response within the present dataset. This comparison does not replace a formal global sensitivity analysis; however, it identifies the reaction subsets most responsive during calibration and therefore most relevant to future targeted experiments.
After history matching, one calibrated parameter set was obtained for each atmosphere (Table 3). The air and N2 cases remain broadly comparable for many shared cracking reactions, whereas the CO2 case requires larger changes in selected effective parameters, especially those associated with hydrogen redistribution, sulfur chemistry, and coke–gas interactions. The atmosphere comparison is therefore semi-empirical: each atmosphere is represented by its own effective kinetic model calibrated to the corresponding experiments. Consequently, the findings substantiate the utility of atmosphere-dependent reactor-scale screening; however, they should not be construed to imply that gas composition alone—in the absence of recalibration—fully accounts for all observed discrepancies.

2.4. Comparative Simulation Plan and Evaluation Metrics

With the calibrated parameter sets, a comparative series of numerical runs was conducted to examine how temperature, reaction time, pressure, gas atmosphere, and oil/water ratio influence hydrogen generation. The temperature was varied from 150 to 425 °C in 25 °C increments. For each temperature, reaction times of 0.25, 0.5, 1, 2, 4, 8, and 10 days were considered to capture both short-term behavior and longer thermal exposure representative of heated reservoir zones. Pressure was compared at 4, 6, and 8 MPa under the same temperature–time combinations. In addition, a supplementary set of runs was performed at 4 MPa after 10 days to compare the oil/water ratios of 1:1, 1:1.5, and 1:2 under the three atmospheres. The three atmospheres were simulated separately using their respective calibrated kinetic parameters. Because the calibration domain is limited to 200–300 °C, 4 MPa, and 6 h, results outside these bounds are treated as controlled extrapolations within the calibrated model framework and are discussed as trend-screening results rather than standalone predictive field-scale forecasts.
Note: Reaction numbers correspond to the pathway labels in Figure 2. Reactions 1–14 and 22–27 were adjustable during recalibration, whereas Reactions 15–21 retained baseline air case settings and were inactive in the N2 and CO2 simulations.
Two metrics were adopted for comparison. The first is the gas phase hydrogen volume fraction (vol%), which is relevant to produced-gas quality and downstream separation. The second is the specific hydrogen yield (m3·kg−1 oil), defined as the cumulative simulator-reported H2 volume on a consistent internal gas volume basis normalized by the initial heavy oil charge in the reactor model. Because both the gas volume basis and oil charge are fixed across all simulations, this metric is intended primarily for relative comparison among cases within the same reactor configuration. Notably, these two metrics can evolve differently: a high H2 fraction may occur when total gas generation is still limited, whereas a high specific yield requires sustained net hydrogen production over time. In the discussion below, both metrics are used to distinguish early transient hydrogen enrichment from longer-term net hydrogen generation.

3. Results and Discussion

3.1. Delineation of Hydrogen Production Stages

Figure 6 summarizes the simulated evolution of the hydrogen volume fraction and specific hydrogen yield as functions of temperature and reaction time under the three atmospheres. Temperature controls which parts of the reaction network become kinetically active, but the net hydrogen response is not monotonic because hydrogen is produced and consumed simultaneously through cracking, oxidation, gasification, and sulfur-related reactions.
Across the investigated ranges, the overall behavior can be described using three temperature regimes. The regime boundaries are not intended as universal kinetic thresholds; rather, they represent approximate transition intervals identified from changes in the simulated H2 fraction/yield trends and from the onset of stronger atmosphere-dependent divergence. This regime-based description therefore serves as an organizing framework for discussion and as a bridge to typical ISC temperature zones.
Stage I—Initiation (150–250 °C): The system is dominated by early volatilization and the onset of low-temperature cracking; a transient H2 maximum appears in all atmospheres. In the model, small amounts of CO and H2 generated from early cracking and oxygenated-group decomposition are redistributed by low-temperature WGS. The peak H2 fraction reaches 5.97% (air, 225 °C, 0.5 d), 4.63% (N2, 225 °C, 1 d), and 8.52% (CO2, 200 °C, 2 d). Although these fractions are moderate, specific hydrogen yield can be relatively favorable because overall conversion is limited and hydrogen-consuming routes remain weak.
Stage II—Pyrolysis-controlled regime (250–325 °C): With increasing temperature, cracking of resins and asphaltenes accelerates, producing a broader gas spectrum consistent with the stronger thermal response reported for heavy oil fractions in this interval [14]. Net hydrogen accumulation nevertheless remains weak as hydrogen-consuming routes become competitive. In air, the oxidation of light intermediates provides an additional H2 sink together with hydrocarbon-radical scavenging, yielding the steepest temporal decline in H2. Under N2, the absence of oxygen suppresses direct oxidative loss, yet radical recombination and sulfur-bearing pathways still restrain net H2 build-up. Under CO2, gas phase dilution and stronger fitted redistribution toward CO/CO2-containing products keep the H2 fraction low, even as conversion continues. Because direct reaction flux outputs are unavailable from the present reactor simulations, these pathway assignments are inferred from the combined trends of H2, CH4, and H2S together with the calibrated reaction network.
Stage III—High-yield (325–425 °C): At higher temperatures, gasification-related steps and high-temperature WGS become increasingly active, and the three atmospheres diverge markedly. In air, oxygen-driven oxidation consumes intermediate gases and hydrogen; consequently, both the H2 fraction and specific yield decrease with extended time. Under N2, hydrogen formation begins to outpace consumption once the temperature exceeds approximately 350 °C, and both metrics increase with time. Under CO2, coke–CO2 reactions and CO formation become prominent; hydrogen yield can increase, yet the gas- phase H2 fraction remains comparatively low because CO2 dilutes the gas phase and contributes to competing pathways.

3.2. Impact of Temperature on Hydrogen Production Efficiency

Initiation regime (150–250 °C): The methane trends in Figure 7 indicate that early CH4 is mainly produced by volatilization and incipient cracking of larger molecules [15]. As temperature and time increase, additional gaseous products form and dilute CH4, causing its volume fraction to fall. H2S shows a temperature window that shifts slightly with time, which is consistent with the gradual liberation of sulfur-bearing fragments during early cracking and aquathermolysis. Across all atmospheres, a clear H2 maximum appears near 225 °C, suggesting that low-temperature WGS provides an efficient route for transient hydrogen enrichment in this window.
Pyrolysis-controlled regime (250–325 °C): In this interval, hydrogen is generated during decomposition of resins/asphaltenes, but the net yield remains modest. Above 250 °C, the H2 fraction drops, which implies that hydrogen-consuming routes become important. This decline is consistent with the increasing importance of hydrogen-consuming secondary reactions, potentially involving radical recombination and sulfur-related pathways [16,17]. The H2S response indicates that this regime corresponds to the main period of H2S generation; accelerated breakdown of sulfur-containing organics increases H2S while drawing down H2. In air, the oxidation of light hydrocarbons becomes increasingly important with time, which further suppresses H2 accumulation.
High-yield regime (325–425 °C): Under N2, an inflection in hydrogen behavior appears near 325 °C (Figure 6); the H2 fraction initially decreases and then increases, reflecting a shift from methane-dominated gas release toward WGS-related hydrogen generation. Once the temperature exceeds approximately 350 °C, H2 rises rapidly owing to the activation of high-temperature WGS and secondary gasification steps. Mineral surfaces in the rock powder may have contributed to the apparent enhancement of WGS-related pathways at elevated temperature; however, this possibility was not independently verified in the present study. In contrast, under air, the net hydrogen balance becomes negative at high temperature because oxidation continues to intensify with oxygen availability.
Temperature also affects the relationship between the gas composition and specific yield. A high H2 fraction does not necessarily imply a high yield because total gas generation can vary substantially with temperature and time. Under CO2, for instance, the hydrogen fraction can remain low even as the specific yield increases, because CO2 both dilutes the gas phase and shifts the carbon balance toward CO/CO2. The distinction between gas quality (H2 fraction) and net hydrogen production (specific yield) should be kept in mind when comparing operating conditions. The preference for oxygen-lean, high-temperature conditions is qualitatively consistent with recent heavy oil hydrogen-generation modeling studies that also reported stronger hydrogen accumulation once oxidation losses were suppressed and gasification/WGS pathways became more competitive [18,19]. Direct quantitative comparison across studies should nonetheless be made with caution, because crude composition, mineralogy, reactor configuration, and gas volume reporting bases vary considerably.

3.3. Effect of Pressure on Hydrogen Production Efficiency

Pressure effects were assessed by varying the amount of reaction gas required to reach the target pressure while keeping the oil/water charge unchanged. Figure 8 summarizes the H2 volume fraction and specific H2 yield after 10 days at 4, 6, and 8 MPa. The temperature interval exhibiting the strongest hydrogen response is broadly similar across the three pressures, yet the magnitude of hydrogen accumulation varies with pressure. In the present model, pressure can influence gas partial pressures, dissolution/partitioning behavior, and the residence of gaseous products in the reactor. Because direct phase-equilibrium diagnostics were not extracted, the pressure discussion below is limited to observable model outcomes rather than a full mechanistic decomposition.
In air, increasing pressure increases oxygen availability and intensifies oxidation pathways that consume hydrogen and light hydrocarbons. Consequently, both the H2 fraction and the specific H2 yield decrease as pressure rises. This trend aligns with the practical view that oxygen-rich conditions generally hinder net hydrogen accumulation unless oxygen access is confined to the combustion zone and rapidly depleted upstream; otherwise, any hydrogen formed can be promptly scavenged by oxidative reactions.
Under N2, the pressure dependence is non-monotonic rather than strictly decreasing or increasing. At 425 °C and 6 MPa, the H2 fraction reaches 28.6%—8.9 percentage points above the 19.5% obtained at 4 MPa. The specific yield exhibits the same optimum, peaking at 0.0247 m3·kg−1 at 6 MPa and 425 °C. Under an inert atmosphere, this intermediate-pressure optimum likely reflects the combined influence of gas retention and secondary gas- phase behavior within the reactor model, rather than a change in the calibrated reaction topology itself. At still higher pressure, the gas phase H2 fraction declines, indicating that elevated pressure does not continuously improve net hydrogen enrichment, even in the absence of oxidation.
In CO2, the initiation-stage H2 fraction increases with pressure at first and then decreases, suggesting that moderate CO2 levels may facilitate certain steps, whereas excessive CO2 becomes inhibitive. In the high-yield regime, the H2 fraction remains low (around 0.5%), yet the specific yield rises to 0.0134 m3·kg−1 at 6 MPa and 425 °C. This divergence reflects the dual role of CO2, which can participate in coke-related routes that generate CO and, through the water–gas shift reaction, contribute to net hydrogen formation, while simultaneously diluting the produced gas and competing for reactive intermediates. The combined effect is that CO2-rich conditions may still deliver measurable hydrogen per unit oil even when the produced gas does not appear hydrogen-rich on a volumetric basis.

3.4. Effect of Oil/Water Ratio on Hydrogen Production Efficiency

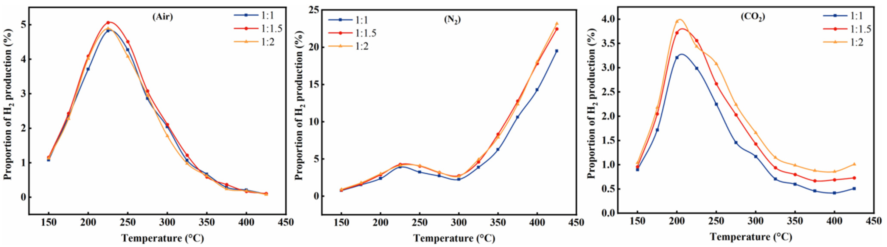
At a fixed pressure of 4 MPa and a reaction time of 10 days, an additional comparison was conducted to evaluate the effect of the oil/water ratio on H2 proportion under the three atmospheres (Figure 9). The results indicate that the influence of the oil/water ratio is clearly atmosphere-dependent and that no single ratio is optimal across all atmospheres. Compared with the oil/water ratio itself, the atmospheric condition exerts stronger control on net hydrogen accumulation.
Under air, all three curves exhibit a bell-shaped temperature dependence with a maximum near 225 °C; the 1:1.5 case yields the highest H2 proportion in the medium-temperature window, suggesting that a moderate increase in water content is beneficial under oxidizing conditions. Under N2, the H2 proportion increases gradually at low temperature, passes through a shallow trough around 250–300 °C, and then rises sharply above 325 °C. In the high-temperature range, the order becomes 1:2 > 1:1.5 > 1:1, indicating that higher water content increasingly favors hydrogen generation in the absence of oxidative loss. Under CO2, the H2 proportion remains lower than under N2 over most of the temperature range; although the 1:2 case still gives the highest values, the curves peak around 200–225 °C before declining continuously. Overall, the preferred oil/water ratio shifts from 1:1.5 under air to 1:2 under N2 and CO2, reinforcing that atmosphere-dependent chemistry dominates the hydrogen response under the present reactor-scale conditions.

3.5. Implications for Reservoir-Scale Implementation and Model Limitations

In a field ISC process, oxygen is typically confined to a narrow region around the combustion front and is rapidly consumed as it migrates upstream. From this perspective, the air cases examined here are most representative of near-front conditions, where oxidation reactions are active, and hydrogen tends to be short-lived. Upstream of the front, the steam and thermal cracking zones are generally oxygen-depleted, and the background gas is closer to N2/CO2/steam mixtures. The comparisons therefore suggest that meaningful hydrogen accumulation is more likely in oxygen-lean regions, provided that temperature is high enough for WGS-related pathways and that water is available to sustain those reactions.
The results also highlight a practical point that is sometimes overlooked when interpreting gas data: the hydrogen volume fraction and specific hydrogen yield can move in different directions. An H2-rich gas stream is attractive for separation and utilization, but a transient increase in the H2 fraction can occur at early times when total gas generation is still limited. Conversely, a CO2-rich environment can deliver a non-negligible hydrogen yield while keeping the gas phase H2 fraction low because CO2 dominates the mixture. In a field setting, the preferred operating window therefore depends on the target (produced-gas quality versus total hydrogen generated), as well as on constraints in gas handling, reinjection, and carbon management.
The present study is deliberately reactor-scale, and several limitations should be noted before extending the trends to reservoir conditions. First, the calibration domain spans only 200–300 °C, 4 MPa, and 6 h; results beyond this window are extrapolations within the calibrated model and should be treated as screening trends rather than standalone predictive forecasts. Second, the calibration dataset is limited to 12 composition points per atmosphere and does not include complete replicate uncertainty information for all conditions. Recent work on gas desorption and pore–fracture connectivity shows that gas occurrence and transport are highly sensitive to microstructural connectivity, laminae architecture, and desorption characteristics—none of which are resolved by the present well-mixed reactor model [20,21,22]. Third, the isothermal, well-mixed simulations do not capture the thermal gradients, evolving oxygen supply, or transport-controlled residence times of a propagating combustion front. Fourth, the pseudo-component framework condenses complex chemistry into lumped reactions with effective Arrhenius parameters that may shift with mineralogy, surface area, brine composition, and phase partitioning. Fifth, separate parameter sets were fitted for air, N2, and CO2, rendering the atmosphere comparison semi-empirical rather than fully mechanistic. Finally, water saturation was not varied explicitly in the full simulation matrix, nor were direct reaction-rate contributions extracted; both gaps warrant dedicated investigation.
A natural next step is embedding the calibrated kinetics into coupled reservoir-scale thermal simulations resolving heat transfer and multiphase flow, followed by testing injection sequences reflecting field practice. Priority should be given to (i) explicit variation in water saturation and steam availability, as both govern WGS-related hydrogen generation; (ii) targeted experiments for reaction subsets most affected by recalibration; and (iii) broader calibration data enabling automated optimization, formal sensitivity analysis, and probabilistic uncertainty evaluation. Such extensions would permit a more quantitative assessment of hydrogen producibility, produced-gas composition along the wellbore, and the extent to which CO2 can be retained underground at the field scale.

4. Conclusions

(1)
Reactor data obtained under air, N2, and CO2 were used to construct three atmosphere-specific effective kinetic models for heavy oil gasification. The principal methodological contribution lies not only in parameter replacement but also in the constrained recalibration of a common pseudo-component network against a shared HTHP dataset, followed by direct evaluation of raw simulator predictions against measured gas compositions using parity plots and species-wise error metrics.
(2)
Temperature is the dominant control on hydrogen behavior, yet the response is regime-dependent rather than monotonic. Simulated results can be organized into three practical stages: 150–250 °C (initiation), 250–325 °C (pyrolysis-controlled), and 325–425 °C (high-yield). These stages correspond to shifts in the balance among early cracking, hydrogen-consuming secondary reactions, and higher-temperature gasification/WGS-related hydrogen formation.
(3)
Pressure, atmosphere, and oil/water ratio interact strongly with the hydrogen response. Air consistently suppresses net hydrogen accumulation owing to persistent oxidative sinks; under this atmosphere, an intermediate oil/water ratio (1:1.5) is slightly favored near the medium-temperature peak. Under N2 and CO2, the higher-water case (1:2) becomes more advantageous, particularly at elevated temperature, although CO2 still maintains a comparatively low gas phase H2 proportion. Within the tested framework, the highest H2 volume fraction (28.6%) occurs at 425 °C and 6 MPa after 10 days, revealing a non-monotonic pressure effect under inert conditions.
(4)
These results should be regarded as reactor-scale screening guidance rather than direct field predictions. Meaningful hydrogen accumulation is most probable in oxygen-lean regions sustained at elevated temperature for sufficient duration; however, future work must explicitly address replicate uncertainty, water saturation, transport, non-isothermal effects, and broader calibration/uncertainty analysis before reservoir-scale feasibility can be assessed quantitatively.

Author Contributions

Conceptualization, W.W.; Methodology, W.M.; Software, W.W.; Validation, W.W.; Formal Analysis, C.Y.; Resources, Y.L.; Data Curation, Y.L.; Writing—Original Draft, W.M.; Writing—Review and Editing, C.Y. and Y.L.; Visualization, H.W.; Supervision, H.W.; Project Administration, H.W. All authors have read and agreed to the published version of the manuscript.

Funding

This research received no external funding.

Data Availability Statement

The original contributions presented in this study are included in the article. Further inquiries can be directed to the corresponding author.

Conflicts of Interest

Authors Weidong Meng and Haijuan Wang were employed by Sinopec Henan Oilfield Company, and Wenqing Wang was employed by Qinghai Oilfield Company. The re-maining authors declare that the research was conducted in the absence of any commercial or financial relationships that could be construed as a potential conflict of interest.

References

  1. Jiang, Q.; You, H.J.; Pan, J.J.; Wang, Z.Y.; Gai, P.Y.; Gates, I.; Liu, J. Preliminary Discussion on Current Status and Development Direction of Heavy Oil Recovery Technology. Spec. Oil Gas Reserv. 2020, 27, 30–39. [Google Scholar]
  2. Meloni, E.; Martino, M.; Palma, V. Microwave assisted steam reforming in a high efficiency catalytic reactor. Renew. Energy 2022, 197, 893–901. [Google Scholar] [CrossRef]
  3. Tang, X.; Pu, W.; Chen, Q.; Liu, R.; Yang, Y. A comprehensive study on kinetics for hydrogen generation from aquathermolysis gasification of heavy crude oil. Int. J. Hydrogen Energy 2023, 48, 39780–39790. [Google Scholar] [CrossRef]
  4. Liu, Y.; Yu, C.; Jiang, Q.; Liu, Y.; Fan, Z.; Deng, H.; Li, M.; Liu, Y.; Xiong, M. Kinetic modeling of in-situ hydrogen generation from bitumen and its influencing factors and mechanisms study. Fuel 2025, 385, 134155. [Google Scholar] [CrossRef]
  5. Ifticene, M.A.; Yan, K.; Yuan, Q. Governing chemical reactions and mechanisms of hydrogen generation during in-situ combustion gasification of heavy oil. Int. J. Hydrogen Energy 2024, 92, 37–46. [Google Scholar] [CrossRef]
  6. Ifticene, M.A.; Yuan, Q. Numerical modeling of in-situ hydrogen production via cyclic air-steam injection in heavy oil reservoirs. Int. J. Hydrogen Energy 2025, 129, 172–183. [Google Scholar] [CrossRef]
  7. Belgrave, J.D.M.; Moore, R.G.; Ursenbach, M.G. Comprehensive kinetic models for the aquathermolysis of heavy oils. J. Can. Pet. Technol. 1997, 36, 38–44. [Google Scholar] [CrossRef]
  8. Yang, X.; Gates, I.D. Combustion kinetics of Athabasca bitumen from 1D combustion tube experiments. Nat. Resour. Res. 2009, 18, 193–211. [Google Scholar] [CrossRef]
  9. Yang, X.; Gates, I.D. Design of hybrid steam-in situ combustion bitumen recovery processes. Nat. Resour. Res. 2010, 18, 213–233. [Google Scholar] [CrossRef]
  10. Kapadia, P.R.; Wang, J.; Kallos, M.S.; Gates, I.D. Practical process design for in situ gasification of bitumen. Appl. Energy 2013, 107, 281–296. [Google Scholar] [CrossRef]
  11. Chen, L.; Chen, L.; Tang, X.; Wu, Z.; Liu, R. Study on the process and influencing factors of in-situ gasification for hydrogen production from Hongqian heavy oil in Xinjiang Oilfield. Spec. Petrochem. 2024, 41, 46–50. [Google Scholar]
  12. Song, P.; Li, Y.; Yin, Z.; Ifticene, M.A.; Yuan, Q. Simulation of hydrogen generation via in-situ combustion gasification of heavy oil. Int. J. Hydrogen Energy 2024, 49, 925–936. [Google Scholar] [CrossRef]
  13. Chen, Q.; Tang, X.; Pu, W.; Wang, D.; Liu, R. ReaxFF molecular dynamics study on hydrogen generation from heavy oil in-situ combustion gasification. Geoenergy Sci. Eng. 2025, 249, 213786. [Google Scholar] [CrossRef]
  14. Zhao, S.; Pu, W.; Sun, B.; Gu, F.; Wang, L. Comparative evaluation on the thermal behaviors and kinetics of combustion of heavy crude oil and its SARA fractions. Fuel 2019, 239, 117–125. [Google Scholar] [CrossRef]
  15. Jiménez Padilla, P.A.; Djimasbe, R.; Zairov, R.; Yuan, C.; Al-Muntaser, A.A.; Stepanov, A.; Nizameeva, G.; Dovzhenko, A.; Suwaid, M.A.; Varfolomeev, M.A. Use of nickel oxide catalysts (bunsenites) for in-situ hydrothermal upgrading process of heavy oil. Nanomaterials 2023, 13, 1351. [Google Scholar] [CrossRef]
  16. Kwofie, M.; Djimasbe, R.; Varfolomeev, M.A.; Rakhmatullin, I.Z.; Klochkov, V.V.; Zinnatullin, A.L.; Al-Muntaser, A.A.; Suwaid, M.A.; Davletshin, R.R.; Mikhailova, A.N.; et al. Experimental study of hydrogen generation through thermal and hydrothermal upgrading of crude oil in the presence of heterogeneous bimetallic catalyst with support. Geoenergy Sci. Eng. 2026, 258, 214350. [Google Scholar] [CrossRef]
  17. Li, J.; Yang, Z.; Deng, G.; Yang, F.; Wang, S.; Tang, X. In-situ hydrothermal upgrading and mechanism of heavy oil with nano-Fe2O3 in the porous media. J. Anal. Appl. Pyrolysis 2024, 183, 106757. [Google Scholar] [CrossRef]
  18. Okere, C.J.; Sheng, J.J. A new modelling approach for in-situ hydrogen production from heavy oil reservoirs: Sensitivity analysis and process mechanisms. Energy 2024, 302, 131817. [Google Scholar] [CrossRef]
  19. Ifticene, M.A.; Li, Y.; Song, P.; Yuan, Q. Kinetic modeling of hydrogen generation via in situ combustion gasification of heavy oil. Energy Fuels 2024, 38, 19787–19797. [Google Scholar] [CrossRef]
  20. Wu, K.; Li, S.; Zhang, H.; You, B.; Ma, H.; Li, B.; Chen, Y.; Wang, F. Initial Characteristics of Gas Desorption in High-Rank Soft and Hard Coals and the Causes of the Differences. ACS Omega 2025, 10, 33208–33219. [Google Scholar] [CrossRef]
  21. Sun, M.; Duan, X.; Liu, Q.; Blach, T.P.; Ostadhassan, M.; Liu, B.; Ji, Y.; Hu, Q.; Pan, Z. The Importance of Pore-Fracture Connectivity in Overmature Marine Shale for Methane Occurrence and Transportation. Mar. Pet. Geol. 2023, 157, 106495. [Google Scholar] [CrossRef]
  22. Xie, G.; Sun, M.; Ma, Y.; Mohammadian, E.; Ostadhassan, M.; Pan, Z.; Duan, X. Impact of Laminae Characteristics on Pore-Fracture Connectivity in the Wufeng-Longmaxi Shale. Mar. Pet. Geol. 2025, 182, 107562. [Google Scholar] [CrossRef]
Figure 1. Representative temperature profile and zones for in situ combustion.
Figure 1. Representative temperature profile and zones for in situ combustion.
Processes 14 01026 g001
Figure 2. Reaction network for in situ hydrogen generation from heavy oil (after [5]).
Figure 2. Reaction network for in situ hydrogen generation from heavy oil (after [5]).
Processes 14 01026 g002
Figure 3. Reactor model used in CMG-STARS: (a) gas saturation, (b) pressure (kPa).
Figure 3. Reactor model used in CMG-STARS: (a) gas saturation, (b) pressure (kPa).
Processes 14 01026 g003
Figure 4. Comparison of simulated and measured gas compositions under air, N2, and CO2. The red line denotes the 1:1 relation (the fitted line and corresponding R2 are included only as descriptive indicators of consistency between the simulated and measured values).
Figure 4. Comparison of simulated and measured gas compositions under air, N2, and CO2. The red line denotes the 1:1 relation (the fitted line and corresponding R2 are included only as descriptive indicators of consistency between the simulated and measured values).
Processes 14 01026 g004
Figure 5. Measured and simulated gas compositions under air, N2, and CO2: (a) H2, (b) CH4, (c) H2S, and (d) HMWG.
Figure 5. Measured and simulated gas compositions under air, N2, and CO2: (a) H2, (b) CH4, (c) H2S, and (d) HMWG.
Processes 14 01026 g005
Figure 6. Predicted hydrogen volume fraction and specific hydrogen yield versus temperature and reaction time under three atmospheres. (a) hydrogen volume fraction in air; (b) specific hydrogen yield in air; (c) hydrogen volume fraction in N2; (d) specific hydrogen yield in N2; (e) hydrogen volume fraction in CO2; (f) specific hydrogen yield in CO2.
Figure 6. Predicted hydrogen volume fraction and specific hydrogen yield versus temperature and reaction time under three atmospheres. (a) hydrogen volume fraction in air; (b) specific hydrogen yield in air; (c) hydrogen volume fraction in N2; (d) specific hydrogen yield in N2; (e) hydrogen volume fraction in CO2; (f) specific hydrogen yield in CO2.
Processes 14 01026 g006
Figure 7. Predicted methane and hydrogen sulfide volume fractions versus temperature and reaction time under three atmospheres. (a) CH4 volume fraction in air; (b) H2S volume fraction in air; (c) CH4 volume fraction in N2; (d) H2S volume fraction in N2; (e) CH4 volume fraction in CO2; and (f) H2S volume fraction in CO2.
Figure 7. Predicted methane and hydrogen sulfide volume fractions versus temperature and reaction time under three atmospheres. (a) CH4 volume fraction in air; (b) H2S volume fraction in air; (c) CH4 volume fraction in N2; (d) H2S volume fraction in N2; (e) CH4 volume fraction in CO2; and (f) H2S volume fraction in CO2.
Processes 14 01026 g007
Figure 8. Predicted H2 volume fraction and specific H2 yield after 10 days as functions of temperature and pressure under three atmospheres. (a) hydrogen volume fraction in air; (b) specific hydrogen yield in air; (c) hydrogen volume fraction in N2; (d) specific hydrogen yield in N2; (e) hydrogen volume fraction in CO2; (f) specific hydrogen yield in CO2.
Figure 8. Predicted H2 volume fraction and specific H2 yield after 10 days as functions of temperature and pressure under three atmospheres. (a) hydrogen volume fraction in air; (b) specific hydrogen yield in air; (c) hydrogen volume fraction in N2; (d) specific hydrogen yield in N2; (e) hydrogen volume fraction in CO2; (f) specific hydrogen yield in CO2.
Processes 14 01026 g008
Figure 9. Effect of the oil/water ratio on H2 proportion under air, N2, and CO2 atmospheres at 4 MPa after 10 days.
Figure 9. Effect of the oil/water ratio on H2 proportion under air, N2, and CO2 atmospheres at 4 MPa after 10 days.
Processes 14 01026 g009
Table 1. Main input parameters used in the reactor-scale hydrogen-generation model.
Table 1. Main input parameters used in the reactor-scale hydrogen-generation model.
ParameterValue
Grid blocks10 (I) × 1 (J) × 1 (K)
Porosity1
Oil saturation0.015
Water saturation0.015
Gas saturation0.97
Water phase thermal conductivity, J m−1 day−1 °C−10.4 × 105
Oil phase thermal conductivity, J m−1 day−1 °C−10.1 × 105
Gas phase thermal conductivity, J m−1 day−1 °C−10.25 × 103
Table 2. Species-wise RMSE and MAE values (vol%) for the simulated-versus-measured comparison under air, N2, and CO2.
Table 2. Species-wise RMSE and MAE values (vol%) for the simulated-versus-measured comparison under air, N2, and CO2.
AtmosphereMetricH2CH4HMWGH2S
AirRMSE0.4989.1291.8700.318
AirMAE0.4278.9171.3630.267
N2RMSE0.3488.6023.2890.319
N2MAE0.3375.7432.4170.257
CO2RMSE0.38210.8121.8550.219
CO2MAE0.3809.4131.5630.190
Table 3. Arrhenius frequency factors (A) and activation energies (E) for Reactions 1–27.
Table 3. Arrhenius frequency factors (A) and activation energies (E) for Reactions 1–27.
ReactionAirN2CO2
A, Day−1E, J·mol−1A, Day−1E, J·mol−1A, Day−1E, J·mol−1
11.17 × 10182.36 × 1051.17 × 10182.36 × 1051.17 × 10182.36 × 105
23.11 × 10151.90 × 1053.11 × 10151.90 × 1053.11 × 10151.90 × 105
32.23 × 1059.96 × 1042.23 × 1059.96 × 1042.23 × 1059.99 × 104
42.57 × 1081.00 × 1052.57 × 1081.02 × 1052.57 × 1081.01 × 105
56.36 × 1016.89 × 1046.36 × 1016.89 × 1046.36 × 1016.89 × 104
61.07 × 1006.81 × 1048.07 × 1013.61 × 1041.07 × 1004.31 × 104
73.39 × 1069.22 × 1044.09 × 1069.22 × 1042.39 × 1069.32 × 104
83.08 × 10131.69 × 1053.18 × 10131.64 × 1051.08 × 10131.68 × 105
93.00 × 1019.02 × 1043.00 × 1018.82 × 1043.00 × 1017.12 × 104
106.80 × 10−21.45 × 1046.80 × 10−21.45 × 1046.80 × 10−21.65 × 104
119.90 × 10−54.17 × 1049.90 × 10−54.17 × 1049.90 × 10−51.17 × 104
123.70 × 10−56.35 × 1033.70 × 10−55.35 × 1033.70 × 10−58.35 × 103
134.20 × 10−14.27 × 1042.50 × 10−15.17 × 1042.50 × 10−14.97 × 104
142.10 × 1058.50 × 1043.10 × 1051.05 × 1053.10 × 1051.32 × 105
157.89 × 1068.67 × 104----
167.16 × 1071.86 × 105----
176.15 × 10−51.21 × 103----
184.79 × 1057.95 × 104----
195.08 × 1032.72 × 105----
208.90 × 1071.25 × 105----
211.12 × 1071.21 × 105----
222.56 × 1071.15 × 1052.12 × 1071.19 × 1052.12 × 1071.15 × 105
232.69 × 1058.10 × 1042.59 × 1057.80 × 1042.59 × 1059.30 × 104
245.57 × 1071.31 × 1055.57 × 1071.23 × 1055.57 × 1071.25 × 105
254.21 × 1091.90 × 1054.21 × 1091.90 × 1054.21 × 1091.90 × 105
263.16 × 1045.54 × 1043.16 × 1046.42 × 1043.16 × 1046.44 × 104
277.11 × 1091.06 × 1057.11 × 1091.06 × 1057.11 × 1091.16 × 105
Disclaimer/Publisher’s Note: The statements, opinions and data contained in all publications are solely those of the individual author(s) and contributor(s) and not of MDPI and/or the editor(s). MDPI and/or the editor(s) disclaim responsibility for any injury to people or property resulting from any ideas, methods, instructions or products referred to in the content.

Share and Cite

MDPI and ACS Style

Meng, W.; Wang, H.; Yu, C.; Liu, Y.; Wang, W. Mechanistic Analysis of In Situ Hydrogen Production During Heavy Oil Gasification Based on Numerical Simulations. Processes 2026, 14, 1026. https://doi.org/10.3390/pr14061026

AMA Style

Meng W, Wang H, Yu C, Liu Y, Wang W. Mechanistic Analysis of In Situ Hydrogen Production During Heavy Oil Gasification Based on Numerical Simulations. Processes. 2026; 14(6):1026. https://doi.org/10.3390/pr14061026

Chicago/Turabian Style

Meng, Weidong, Haijuan Wang, Chunsheng Yu, Yuhang Liu, and Wenqing Wang. 2026. "Mechanistic Analysis of In Situ Hydrogen Production During Heavy Oil Gasification Based on Numerical Simulations" Processes 14, no. 6: 1026. https://doi.org/10.3390/pr14061026

APA Style

Meng, W., Wang, H., Yu, C., Liu, Y., & Wang, W. (2026). Mechanistic Analysis of In Situ Hydrogen Production During Heavy Oil Gasification Based on Numerical Simulations. Processes, 14(6), 1026. https://doi.org/10.3390/pr14061026

Note that from the first issue of 2016, this journal uses article numbers instead of page numbers. See further details here.

Article Metrics

Back to TopTop