Abstract
The cyanidation of precious metals from ores and secondary resources has been classified as a hazardous process due to the release of toxic gases. The use of environmentally friendly and cost-effective processes is a suitable alternative to cyanidation. Thiourea leaching has been shown to be one of the best alternative reagents to cyanide. The present work aims to evaluate the efficiency of the thiourea leaching of gold and silver from pretreated pyrite cinders. The use of pre-chemical activation prior to leaching helped to increase the amount of free gold and silver particles. A preliminary leaching test led to the selection of Fe2(SO4)3 as a suitable oxidizing agent for Au and Ag leaching. To select suitable leaching parameters, the response surface methodology (RSM) was used to optimize some parameters that can considerably affect sulfuric acid–thiourea leaching and identify the greatest interaction between them. The optimized parameters of 30 g/L thiourea, 10% pulp density, pH = 1, and 50 °C over 4 h of leaching time allowed for Au and Ag recoveries of 98.31 and 88.57%, respectively.
1. Introduction
Pyrite cinders are generated during the production of sulfuric acid when roasting pyrite ore (FeS2) at temperatures ranging from 600 to 1000 °C. These cinders pose significant environmental problems due to their strong acidity and their potential to release heavy metals [1,2,3]. On the other hand, this type of end product generally contains precious metals such as gold and silver [4]. The development of recycling processes is therefore an effective way of reducing environmental problems and contributing to the supply of metal.
Due to the special characteristics of pyrite cinder, the gold and silver in it can be locked by other minerals. Therefore, techniques such as activation methods can be applied to expose these metals to a leaching reagent or other process. The activation can be undertaken using mechanical, thermal, biological, ultrasonic, and chemical methods [5,6,7,8,9,10]. Mechanical activation is associated with fine grinding of the initial solid phase. In this case, deformation and partial destruction of the crystalline structure of the solid phase occur, which leads to a decrease in the strength of this phase and, ultimately, to an increase in the rate of its interaction with the solvent. This method is low-yield, energy-intensive, and requires expensive equipment [5,6]. The thermal activation of raw materials is carried out through roasting, which decreases the strength of bonds in chemical compounds, disrupts the crystalline structure, and leads to the emergence of thermal stresses. Temperature changes lead to the formation of simpler compounds, which are active in relation to the solvent. The energy intensity of the method is its main disadvantage [7]. The use of biological activation methods is characterized by seasonality and long process durations, resulting in slow leaching kinetics at low temperatures [5,8,9]. Furthermore, ultrasonic activation has not been applied in production due to its high energy costs and the lack of high-capacity ultrasonic devices in practice [10,11].
In this study, the chemical activation of pyrite cinders using a sodium bicarbonate solution was undertaken, which led to the transformation of the phase composition of the sample [12]. The use of sodium bicarbonate solution for various types of raw materials has been shown to be effective for further hydrometallurgical processing [13].
To date, most research studies on pyrite cinder processing have predominantly concentrated on gravity separation [14]. However, due to the complex mineral/chemical composition and finely dispersed state of pyrite, the application of a physical concentration of this type of sample results in an inefficient extraction of iron and noble metals from enriched products.
Alternatively, pyrometallurgical methods have been used for the complex processing of pyrite cinders, such as low-temperature chlorination [15], or for the preliminary sulfo-agglomeration of cinders followed by agglomerate flotation [16]. According to the method, we obtained copper concentrate with a recovery of Cu at 75.4%, Au at 65.0%, and Ag at 68.3% from the initial content and pyrite concentrate with a recovery of Fe at 59% and S at 48%. In terms of the former approach, a total of 85–90% Cu was extracted, in addition to a significant proportion of noble metals. This process also ensures an almost complete desulfurization of the cinder, which can be used for the production of cast iron. However, these methods have various disadvantages, including the requirement for energy-intensive agglomeration and firing processes.
As an alternative approach, hydrometallurgy has been used to process pyrite cinders. This treatment method includes jet grinding with hot air, subsequent sulfuric acid leaching of the activated product, and sorption cyanidation of the resulting cake, extracting Au and Ag in quantities of 80 and 89%, respectively [4,17]. In addition, the hydrochloric acid leaching of iron and non-ferrous metals from pyrite cinders, followed by sorption cyanidation, led to a Au recovery of 70% [18]. Pyrite cinders have also been processed with additional grinding to a particle size of 95% [19], lime treatment under air, and a subsequent two-stage cyanidation and cementation of precious metals from the obtained solutions. Using this method, Au (61.5%) and Ag (40.5%) were successfully recovered. Moreover, cyanidation has been used for gold recovery from various ores and secondary resources [20,21].
Although cyanidation is a widely used process for gold recovery from ores and concentrates, it has several disadvantages associated with its toxicity and environmental impacts [22,23]. The effectiveness of the cyanide method is limited when treating complex or refractory ores and concentrates, including pyritic ores, resulting in high cyanide consumption or low gold recoveries [21,24,25]. To overcome these disadvantages, different studies have been conducted that offer alternative methods to cyanidation [26,27,28].
In recent years, the thiosulfate leaching of precious metals has received increasing attention globally. This process has been tested on many types of mineral raw materials, including pyrite cinders. The study [29] describes the process of the leaching of precious metals by the thiosulfate method using complex reagents based on sulfur compounds. The recovery of gold was over 90% and silver recovery was about 60% using the reagent with the following composition: Na2S2O3—50 g/L; Na2SO3—100 g/L; CuSO4—2.5 g/L.
Thiourea has been used as an alternative chemical for gold leaching. It is less toxic and has fast initial reaction kinetics for gold leaching when compared to cyanide [30,31]. Different studies have been undertaken to leach gold from primary and secondary resources using thiourea [31]. One study [32] investigated the leaching of gold and silver with thiourea from oxide gold ore with the addition of Na2S2O5 (2 kg/ton) to inhibit the decomposition of thiourea. Gold and silver recoveries reached 94% and 28.3%, respectively. In another study, 92% of gold was leached from its ore with thiourea within 6 h [33]. Recently, Zaikin et al. developed a process for recovery of Au (71.43%) and Ag (32.79%) from pyrite cinders [34].
Although thiourea is used to extract gold and silver, it has limited use in the processing of pyrite cinders. The novelty of the conducted research and the proposed technology for the complex processing of pyrite cinders is the use of preliminary chemical activation in a sodium bicarbonate solution, allowing for a transformation of the difficult-to-discover phase composition, and the use of the response surface methodology to optimize the technological regime for the sulfuric acid–thiourea leaching of precious metals.
2. Materials and Methods
2.1. Pretreatment and Characterization of Sample
The material used for this study was a representative sample of pyrite cinder obtained from sulfuric acid production at the Tselinny mining and chemical combustion facility in the Republic of Kazakhstan. The major oxide composition of the sample was determined with X-ray fluorescence (XRF) using a Venus 200 wave dispersive spectrometer (PANalytical B.V., Almelo, The Netherlands). Quantitative concentrations of Au and Ag in solutions and solid samples were measured using an Optima 8300DV inductively coupled plasma atomic emission spectrometer (PerkinElmer, Inc., Waltham, MA, USA) and an AA-7000 atomic absorption spectrometer (Shimadzu, Kyoto, Japan). X-ray diffraction (XRD) was used for mineralogical analysis using a D8 Advance (Bruker, Billerica, MA, USA) with Cu-Kα radiation at a voltage of 40 kV and a current of 40 mA.
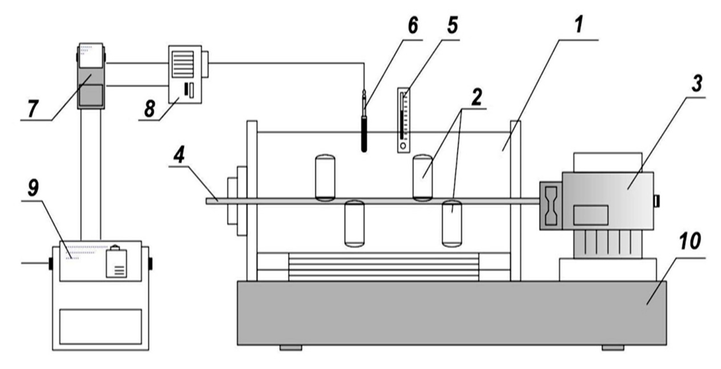
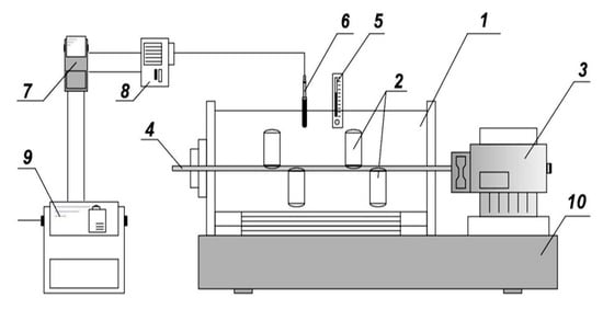
Chemical activation of the sample was carried out under the previous optimum conditions of 120 °C for 60 min in a solution containing 60 g/dm3 NaHCO3 at a liquid/solid (L:S) ratio of 4:1 [35]. This process was performed using a thermostat installation with four rotating autoclaves under a working volume of 0.25 dm3 (Figure 1).
Figure 1.
Thermostat unit with 4 autoclaves of 0.25 dm3 volume. 1: Thermostat; 2: autoclave; 3: electric motor; 4: shaft; 5: control thermometer; 6: thermocouple; 7: temperature sensor; 8: starter; 9: gearbox; and 10: base.
After each activation cycle, the solution was regenerated by purging with CO2 gas at a rate of 3 dm3/min to compensate for the flow rate and ensure the formation of NaHCO3. Sulfuric acid leaching of the activated cinders was carried out in a solution containing 15% H2SO4 at 60 °C for 30 min to remove non-ferrous metals.
The calculation of the thermodynamic functions of chemical reactions was carried out by the HSC Chemistry 10 program.
2.2. Thiourea Leaching Experiment Procedure
The residue from the acid leaching was used for the thiourea leaching of Au and Ag. The first experiments were carried out to evaluate the effect of two oxidizing agents (H2O2 and Fe2(SO4)3) at different concentrations in the range of 0–6 g/L. Conical Erlenmeyer flasks with a capacity of 250 mL were used at a working volume of 100 mL. The parameters were 10% pulp density, 10% of thiourea, and a stirring speed of 400 rpm at pH 1 and 25 °C for 2 h. For each experiment, a fresh leaching solution was prepared using the appropriate chemicals. Subsequently, the pyrite cinder (10 g) was added, and the pH was adjusted using sulfuric acid. A Thermo Scientific Orion DUAL STAR™ pH/ISE benchtop meter (Waltham, MA, USA) was used to monitor the pH of the slurry. The solution was mixed using a Velp AREC Multi Heating magnetic stirrer (Usmate Velate, Italy) and the leaching residue was separated from the solution with filtration through a Waterman filter paper. Finally, the filtrate was diluted using acidified distilled water and subjected to atomic absorption spectroscopy (AAS; AA 200, Agilent Technologies, Santa Clara, CA, USA) for Au and Ag analysis.
After selecting the suitable oxidizing agent at an optimum concentration rate, further experiments were undertaken by applying the design of experiments approach to optimize the thiourea concentration, pH, pulp density, and leaching time.
2.3. Experimental Design
The response surface methodology was used to plan an experiment to determine the optimal conditions for the sulfuric acid–thiourea leaching of precious metals from a sulfuric acid leach cake. The response surface methodology (RSM) and design of experiments (DoE) are considered a powerful combination for evaluating and optimizing hydrometallurgical process parameters. The full design and the central composite face-centered (CCF) method were employed to optimize parameters. The use of the CCF is justified by its ability to accommodate three levels per factor [36] while requiring fewer experimental runs [37]. This mathematical and statistical method was therefore used to construct a second-degree model (Equation (1)) that shows the relationship between the response (metal recovery) and the independent variables (target parameters) [38,39]:
where y is the predicted response value; is a constant factor;, , and are the linearity coefficients, quadratic term, and interaction, respectively; and k is the number of factors.
In this study, a central composite design (CCD) was used to design the experiments with four independent variables (parameters), namely the thiourea concentration, leaching time, pH, and pulp density. The Fe2(SO4)3 concentration was selected from the previous test, while the remainder of the fixed parameters were taken from the literature [32,40]. The number of experiments to be performed in the CCD is given by the relationship N = 2k + 2k + no, where k is the number of target variable parameters (k = 4) and no is the center point. The experimental design consisted of 30 tests with 6 center points at three levels, coded as −1, 0, and +1, representing low, middle, and high levels, respectively (Table 1) [41]. The Au and Ag recoveries (responses) from the experiments were used for the analysis of variance (ANOVA) and process optimization using Design-Expert 7.0 [42]. Table 2 presents the parameters with their intervals.
Table 1.
Parameters for Au and Ag leaching in the DoE protocol.
Table 2.
Phase compositions of the pyrite cinder samples before and after chemical activation under optimal conditions.
3. Results
3.1. Pretreatment and Characterization of Sample Results
The pyrite cinder processing was carried out according to the developed complex technology, which included preliminary chemical activation in a sodium bicarbonate solution. The pretreatment with sulfuric acid solution and the sulfuric acid–thiourea leaching in the presence of an oxidizing agent are shown in Figure 2.
Figure 2.
Technological diagram for complex processing of pyrite cinders.
The chemical composition of the pyrite cinders was (wt.%) Na2O 1.4; MgO 0.74; Al2O3 5.69; SiO2 23.22; P2O5 1.1; SO3 6.24; Cl 0.01; K2O 0.44; CaO 2.52; TiO2 0.32; Fe2O3 52.84; CuO 0.25; ZnO 0.53; As2O3 0.24; SeO2 0.3; BaO 2.4; HgO 0.08; PbO 0.16; and other products 1.82. The pyrite cinders also contained 2.69 and 19.3 g/ton Au and Ag, respectively.
A mineralogical analysis of the initial pyrite cinder showed that in the sample, iron phases, pyrite, and titanomagnetite were often associated with non-metallic materials, thereby leading to processing difficulties when extracting non-ferrous compounds, precious metals, and iron. In the polished briquettes, the iron oxides and hydroxides (hematite, goethite, hydrogoethite, magnetite, and iron sulfide–pyrite) were determined based on their optical constants. As a result of the mineralogical analysis of the initial sample of pyrite cinders, thirteen gold particles were found as follows:
- -
- One particle in free form—7.69%—particle size Au 0.8 × 0.8 µm;
- -
- One particle in conglomerate with hematite—7.69%—particle size Au 0.4 × 0.4 µm;
- -
- Three particles in conglomerate with goethite/hydrogoethite—23.08%—particle size from Au 0.3 to 1.2 µm;
- -
- Eight particles in aggregates with waste rock—61.54%—particle size varies from Au 0.3 to 1.4 µm.
The preliminary chemical activation of pyrite cinder was carried out in a sodium bicarbonate solution under optimal conditions to separate minerals from waste rock according to the known method. The selection of the optimal conditions of chemical activation was carried out based on changed process parameters, with a NaHCO3 concentration of 60–120 g/dm3, temperature of 90–230 °С, duration of 30–300 min, and L/S = 2:10. Full information on studies of determining the optimal conditions of chemical activation is given in [42]. The chemical composition of the pyrite cinders after activation was defined as follows (wt.%): Na2O 1.59; MgO 0.73; Al2O3 5.63; SiO2 22.3; P2O5 0.59; SO3 3.45; Cl 0.01; K2O 0.43; CaO 2.64; TiO2 0.31; Fe2O3 51.89; CuO 0.24; ZnO 0.52; As2O3 0.16; SeO2 0.25; BaO 2.32; HgO 0.09; PbO 0.16; other products 6.69.
The phase composition of the pyrite cinder samples before and after chemical activation is shown in Table 2.
To determine the chemistry of the process of changing the phase composition of pyrite cinders during chemical activation in a sodium bicarbonate solution, thermodynamic calculations were carried out, which confirmed the possibility of reactions:
CaMg(CO3)2 + 4NaHCO3 + → Ca(HCO3)2 + Mg(HCO3)2 + 2Na2CO3 ΔG = –226.0 kJ/mol
SiO2 + 2NaHCO3 → Na2SiO3 + 2CO2 + H2O ΔG = –3151 kJ/mol
Ca(HCO3)2 + Na2SiO3 → CaSiO3 + 2NaHCO3 ΔG = –835.5 kJ/mol
Mg(HCO3)2 + NaAlSi3O8 → MgAlSi3O8 + 2 CO2 + H2O ΔG = –126.1 kJ/mol
Based on comparative physical and chemical studies of the phase composition of the pyrite cinder samples, as well as a certain thermodynamic possibility of reactions at chemical activation, it follows that instead of complex chemically resistant compounds being formed by simpler phases, there is an increase in the degree of recovery of useful components in acid leaching, which is confirmed by the results in the literature. A comparative analysis of the phase composition of the pyrite cinder samples before and after chemical activation is given in Table 1. Following the chemical activation of pyrite cinders in a sodium bicarbonate solution under the optimal conditions defined in the literature [42], several changes were observed in the phase composition. More specifically, trisodium phosphate zinc oxide hydrate and dolomite phases disappeared, the number of sodium thiophosphate and barium ferrite phases increased, and magnesium aluminosilicate and calcium silicate phases appeared.
As a result of a mineralogical study of the pyrite cinders (after activation), we found ultrafine and fine gold particles both in free form and in aggregates with hematite, as well as with waste rock:
- -
- Eight particles in free form—61.54%—particle size from Au 0.6 to 1.2 µm;
- -
- One particle in conglomerate with hematite—7.69%—particle size Au 1.2 × 1.5 µm;
- -
- Four particles in conglomerate with waste rock—30.77%—particle size varies from Au 0.5 to 1.3 µm.
Thus, in the process of chemical activation, the amount of free gold increases, indicating that the surface of minerals is free of the sample. Before the extraction of precious metals (Au and Ag), sulfuric acid leaching was carried out to remove non-ferrous metals, the presence of which is negative. The chemical composition of the pyrite cinder leaching cake (wt.%) was as follows: Na2O 1.49; MgO 0.32; Al2O3 7.5; SiO2 34.48; P2O5 0.026; SO3 1.17; Cl 0.01; K2O 0.45; CaO 0.3; TiO2 0.601; Fe2O3 48.74; CuO 0.087; ZnO 0.18; SeO2 0.26; BaO 3.13; HgO 0.008; PbO 0.19; other products 3.986. According to the developed technology (Figure 2), a sulfuric acid leaching solution was used to obtain a concentrate of non-ferrous metals, iron oxide pigments, and potassium sulfate. The sulfuric acid leaching solution was used to produce base metal concentrate, iron oxide pigments, and potassium sulfate (Figure 2). Full information on the studies of sulfuric acid leaching and obtaining commercial products is given in [43]. After the removal of the non-ferrous metals, the sulfuric acid leaching cake was subjected to sulfuric acid–thiourea leaching in the presence of an oxidizing agent to extract the precious metals. To determine the optimal conditions for the extraction of these metals via this process, optimization of the oxidizing agent was performed, as detailed below.
3.2. Selection of the Oxidizing Agent for Sulfuric Acid–Thiourea Leaching of the Pyrite Cinder Cake
To obtain the optimal extraction conditions for Au and Ag, the effects of two different oxidizing agents (H2O2 and Fe2(SO4)3) were evaluated at a range of concentrations (0–6 g/L) based on previous studies [44,45,46,47].
The reactions involved in Au and Ag leaching in the thiourea system in the presence of H2O2 can be represented by the following equations:
Au + 2CS(NH2)2 + H2O2 → Au[CS(NH2)2]2+ + H2O
Ag + 3CS(NH2)2 + H2O2 → Ag[CS(NH2)2]3+ + H2O
In addition, as previously reported [48], the equations for Au and Ag leaching in the thiourea system in the presence of Fe3+ ions are as follows:
Au + 2CS(NH2)2 + Fe3+ → Au[CS(NH2)2]2+ + Fe2+
Ag + 3CS(NH2)2 + Fe3+ → Ag[CS(NH2)2]3+ + Fe2+
It has been shown that increasing the concentration of Fe3+ ions during thiourea leaching increases the efficiency of Au leaching to a certain point [49,50]. More specifically, ref. [51] found that a concentration of 4 g/L Fe3+ was optimal for extracting Au from roasted ores. In the current study, the optimal results were obtained using 6 g/L Fe2(SO4)3; therefore, this concentration was employed in subsequent experiments.
The obtained results of the sulfuric acid–thiourea leaching of cake depending on the type of oxidizing reaction at a constant thiourea concentration and solution pH are shown in Figure 3.
Figure 3.
Effects of the type and concentration of the oxidizing agent on the degree of Au and Ag extraction: (a) H2O2; (b) Fe2(SO4)3.
As indicated in Figure 3, an increase in the H2O2 concentration while maintaining a constant thiourea concentration and pH led to reduced Au and Ag leaching efficiencies. More specifically, at H2O2 concentrations of 2, 4, and 6 g/L, the recoveries of Au were 22.22, 13.33, and 11.11%, respectively, while those of Ag were 41.32, 40.22, and 10.47%. The decrease in Au and Ag dissolution may be due to the high concentration of H2O2, since an improvement was observed at 2g/L. In contrast, under the same experimental conditions, increasing the concentration of Fe2(SO4)3 increased the recoveries of Au and Ag. Moreover, at concentrations of 2, 4, and 6 g/L, the recoveries of Au were 33.33, 53.33, and 55.56%, respectively, while those of Ag were 45.18, 52.34, and 56.56%. In a recent study by Qin et al. [49] and another by Beck et al. [50], it was shown that increasing Fe3+ ion concentration in thiourea leaching enhances gold (Au) leaching efficiency to a certain point. While Qin et al. [48] found 4 g/L Fe3+ to be the optimum for Au recovery from roasted ore, our study determined that 6 g/L Fe2(SO4)3 yielded the best results.
3.3. Statistical Analysis and Interpretation of Responses
Based on the results of the planned experimental design, key experimental parameters (thiourea concentration, pulp density, pH, and time) were investigated using a CCD method with the Design Expert 7.0 model [38]. Table 3 lists the different conditions used in the 30 experiments and their corresponding responses (Au and Ag recoveries).
Table 3.
CCD matrix for four variables and two responses (Au and Ag).
The results showed that the leaching efficiencies of Au ranged from 1.21 to 94.9%, while those of Ag ranged from 5.33 to 73.03% and maximum recoveries of 94.90% Au and 73.03% Ag were obtained. An analysis of variance (ANOVA) was then used to identify the most influential parameters and their interactions. In addition, a modified quadratic model was formulated to predict the Au and Ag recoveries from the pyrite cinders (Equations (10) and (11), respectively). In the code used to construct these equations, the corresponding parameters were defined as the thiourea concentration (A), pH (B), pulp density (C), and time (D). A second-order regression model was used, with coefficients of R2 = 0.9938 for Au leaching and R2 = 0.9977 for Ag leaching. For Au recovery, the predicted R2 of 0.9840 is in reasonable agreement with the adjusted R2 of 0.9911, whereas for Ag recovery, the predicted R2 of 0.9934 is in reasonable agreement with the adjusted R2 of 0.9964.
Au (%) = +28.43 + 9.67A − 19.52B − 15.85C + 0.8D − 1.52AC + 7.01BC − 3.34BD + 7.62B2 + 3.40D2
Ag(%) = +26.34 + 15.41A − 12.05B − 1.72C + 1.12D − 11.08AB − 3.91BD − 3.91A2 + 13.29B2 − 4.63C2 − 3.39D2
The results presented in Table 4 and Table 5 demonstrate that all four parameters have a significant effect on both the Au and Ag recoveries. This was indicated by a p-value of <0.05, which confirms the significance of the model and its parameters [51,52]. The “lack-of-fit F-values” for Au (2.43) and Ag (0.98) imply that the lack of fit is not significant relative to the pure error. However, the interactions that significantly affected Au recovery involved four parameters, namely the thiourea concentration and pulp density (AC), the pH and pulp density (BC), and the pH and time (BD) (Table 4). For Ag recovery, the interactions involved three parameters, namely the thiourea concentration and pH (AB) and the pH and time (BD) (Table 5).
Table 4.
Analysis of variance table for Au recovery.
Table 5.
Analysis of variance table for Ag recovery.
To improve the accuracy of assessing the adequacy of the quadratic model in approximating experimental data, several key diagnostic plots were developed and analyzed. Figure 4 shows diagnostic graphs for Au recoveries, and Figure 5 shows those for Ag.
Figure 4.
Diagnostic graphs for Au recoveries: (a) a plot of normal probability vs. the internally studentized residuals, (b) internally studentized residuals vs. the predicted responses, (c) internally studentized residuals vs. run number, and (d) predicted responses vs. the actual values.
Figure 5.
Diagnostic graphs for Ag recoveries: (a) a plot of normal probability vs. the internally studentized residuals, (b) internally studentized residuals vs. the predicted responses, (c) internally studentized residuals vs. run number, and (d) predicted responses vs. the actual values.
As can be seen from Figure 4a and Figure 5a, most of the experimental points are located along the diagonal axis, indicating insignificant deviations and high reliability of the data. The normal distribution of model errors is confirmed by the linear relationship of the distribution of residuals.
A closer examination of the random distribution of points along the time axis (between −3.00 and 3.00) and their proximity to zero in Figure 4b,c and Figure 5b,c supports the conclusion that the quadratic model adequately reflects the relationship between the main experimental parameters and leaching rate.
Figure 5d illustrates the correlation between predicted and actual values. It can be seen that the angular coefficient of the regression line tends to unify, and the data points themselves are mostly located along this line. This indicates a high degree of agreement between the calculated and experimental data, which confirms the validity and accuracy of the proposed quadratic model for predicting process parameters.
The obtained result indicates the reliability of the model and its applicability for prediction. The obtained parameter interactions that significantly influenced the responses were then used to plot the three-dimensional (3D) plots shown in Figure 6 and Figure 7 to better evaluate the parameters involved. All fixed parameters were based on the mean point and the relevant interaction parameters versus the response.
Figure 6.
Three-dimensional plots showing the interacting variables for Au leaching: (a) interaction between the thiourea concentration and the pulp density; (b) contour diagram of the effect of thiourea concentration and pulp density on Au extraction (c) interaction between the pulp density and the solution pH; (d) contour diagram of the effect of pH and pulp density on Au extraction (e) interaction between the leaching time and the solution pH (f) contour diagram of the effect of pH and leaching time on Au recovery.
Figure 7.
Three-dimensional plots showing the interacting variables for Ag leaching: (a) interaction between the thiourea concentration and the solution pH; (b) contour diagram of the effect of thiourea concentration and pH on Ag extraction (c) interaction between the leaching time and the solution pH (d) contour diagram of the effect of pH and leaching time on Ag extraction.
Figure 6a reveals that for a fixed pH and leaching time, decreasing the pulp density and increasing the thiourea concentration contributed to an improved Au recovery. Furthermore, for a fixed thiourea concentration and pulp density, decreasing the pH and increasing the leaching time also increased the Au recovery (Figure 6e). These results revealed that the Au recovery was significant at low pH values, low pulp densities, and high thiourea concentrations. Notably, a low pH has previously been shown to contribute to improved Au and Ag leaching efficiencies in thiourea systems by preventing iron precipitation in the solution [42].
Similarly, Figure 7a shows that for a fixed pulp density and leaching time, the Ag recovery increased with a simultaneous decrease in pH and an increase in thiourea concentration. On the other hand, a simultaneous decrease in pH and an increase in leaching time contributed to a high Ag recovery, as depicted in Figure 7c.
3.4. Process Optimization
Subsequently, the DoE parameters and results were employed to determine the optimal responses for process optimization. In line with previous investigations, a range of input variables was entered into the Design Expert program to predict the Au and Ag recoveries (5–30 g/L thiourea; pH = 1–2; 10–20% pulp density; and 1–4 h leaching time). The program generated several potential solutions, one of which was selected based on its desirability value [51,52]. Consequently, the optimal predicted parameters were defined as follows: 30 g/L thiourea; 10% pulp density; pH = 1; and leaching time = 4 h. The corresponding Au and Ag recoveries based on these parameters were 90.46 and 72%, respectively, giving a desirability score of 0.969. Two experimental tests were performed under the specified optimal conditions to validate the predicted responses generated by the program, and the corresponding results are presented in Table 6. It can be seen from the data that the experimental Au recovery was ~1.2% higher than the predicted value, whereas the Ag recovery was ~2.1% lower than the predicted value.
Table 6.
Predicted and experimental results under the optimized conditions.
As reported in previous studies [32,53], the temperature significantly affects the recovery of both Au and Ag from such systems. Therefore, two additional experiments were conducted at 50 and 70 °C using the optimal parameters defined above (Figure 8).
Figure 8.
Effect of temperature on Au and Ag recoveries.
Comparing the results presented in Figure 8 with those listed in Table 6 (i.e., Au and Ag recoveries of 91.57 and 70.51%, respectively, at 25 °C), clear increases in the recoveries were observed for both metals at 50 °C (i.e., Au and Ag recoveries of 98.31 and 88.57%, respectively), while slightly lower recoveries were obtained at 70 °C (i.e., Au and Ag recoveries of 95.66 and 86.86%, respectively). This slight decrease at 70 °C can be attributed to the instability of thiourea at relatively high temperatures [41]. However, in a more recent investigation by Lee et al. [53], it was observed that increasing the temperature from 40 to 60 °C had a significant positive effect on the leaching efficiencies of both Au and Ag, reaching >94% for both metals. These findings are supported by the results presented herein, thereby indicating that a temperature of 50 °C was optimal for this process.
4. Conclusions
The chemical activation of pyrite cinders in a sodium bicarbonate solution led to changes in the phase composition; trisodium phosphate zinc oxide hydrate and dolomite phases disappeared, the number of iron-containing phases and the amount of sodium thiophosphate increased, the number of sodium aluminosilicate phases decreased, and magnesium aluminosilicate, calcium silicate, and sodium thiophosphate phases were formed. A comparative analysis of the influence of oxidizer type on the efficiency of the sulfuric acid–thiourea leaching of Au and Ag demonstrated the advantage of ferrous sulfate. Experimental planning for determining the optimal technological conditions of the sulfuric acid–thiourea leaching of noble metals was carried out using the response surface methodology (RSM). The most influential parameters and their interactions were identified using an analysis of variance (ANOVA). It was found that for Au, recovery is significantly affected by interactions between the following parameters: thiourea concentration and pulp density, pH and pulp density, and pH and time. For Ag, three parameters are involved in the interaction, namely thiourea concentration and pH, as well as pH and time. Validation experiments conducted under optimal conditions confirmed the validity of the proposed model. Significantly, the experimental leaching efficiencies of Au and Ag were determined to be 98.31 and 88.57%, respectively, which closely matched the results predicted by the model.
Author Contributions
Conceptualization, B.K. and A.A.; methodology, Y.A.; software, S.D.; validation, N.B., G.K. and A.K.; formal analysis, Y.A.; investigation, S.D.; resources, A.K.; data curation, N.B.; writing—original draft preparation, Y.A.; writing—review and editing, S.D.; visualization, G.K.; supervision, A.K.; project administration, B.K.; funding acquisition, N.B. All authors have read and agreed to the published version of the manuscript.
Funding
This research has been funded by the Science Committee of the Ministry of Science and Higher Education of the Republic of Kazakhstan No. BR21882140.
Data Availability Statement
The original contributions presented in this study are included in the article. Further inquiries can be directed to the corresponding author.
Acknowledgments
The authors would like to thank the SDU MMR&R group members for their kind technical participation.
Conflicts of Interest
The authors declare no conflicts of interest.
References
- Müller, H. Sulfur dioxide, sulfuric acid and sulfur trioxide. In Ullmann Encyclopedia of Industrial Chemistry; Wiley: Hoboken, NJ, USA, 1994; Volume A25, pp. 569–703. [Google Scholar]
- Kirk-Othmer Encyclopedia of Chemical Technology; Wiley-Interscience: Hoboken, NJ, USA, 1997; Volume 23, pp. 258–278.
- Aksenchik, K.V. Technology of Sulfuric Acid; Chelyabinsk State University: Cherepovets, Russia, 2007; p. 209. [Google Scholar]
- Dementiev, V.; Khmelnitskaya, O.; Mullov, V.; Komlev, M.; Lanchakova, O. The development plant testing of valuable metals recovery technology from pyrite cinders. In Proceedings of the 26th International Mineral Processing Congress, IMPC 2012: Innovative Processing for Sustainable Growth, New Delhi, India, 24–28 September 2012; pp. 2412–2420. [Google Scholar]
- Surimbayev, B.; Akcil, A.; Bolotova, L.S.; Shalgymbayev, S.; Baykonurova, A. Processing of Refractory Gold-Bearing Sulfide Concentrates: A Review. Miner. Process. Extr. Metall. Rev. 2023, 45, 573–591. [Google Scholar] [CrossRef]
- Rintala, L.; Leikola, M.; Sauer, C.; Aromaa, J.; Roth Berghofer, T.; Forsén, O.; Lundström, M. Designing gold extraction processes: Performance study of a case-based reasoning system. Miner. Eng. 2017, 109, 42–53. [Google Scholar] [CrossRef]
- Li, J.; Zhu, T.; Zhang, F. Comparative study on the thiourea leaching of gold and silver from a sulfide concentrate and its calcine. Eng. Chem. Metall. 1992, 14, 311–318. (In Chinese) [Google Scholar]
- Wan, R.Y.; Luinstra, L.; Brierley, J.A. Gold recovery from refractory sulfidic-carbonaceous ore, Part (II): Thiourea leaching following biooxidation-heap pretreatment. In EPD Congress 1995; Warren, G.W., Ed.; The Minerals, Metals and Materials Society: Warrendale, PA, USA; pp. 165–173.
- Swamy, K.M. Application of Ultrasound in Leaching. Miner. Process. Extr. Metall. 1995, 4, 179–192. [Google Scholar] [CrossRef]
- Haque, K.E. Gold leaching from refractory ores—Literature survey. Miner. Process. Extr. Metall. Rev. 1987, 2, 235–253. [Google Scholar] [CrossRef]
- Kenzhaliyev, B.; Surkova, T.; Berkinbayeva, A.; Baltabekova, Z.; Smailov, K.; Abikak, Y.; Saulebekkyzy, S.; Tolegenova, N.; Omirbek, T.; Dosymbaeva, Z. Innovative Methods for Intensifying the Processing of Zinc Clinker: Synergy of Microwave Treatment and Ultrasonic Leaching. Metals 2025, 15, 246. [Google Scholar] [CrossRef]
- Kenzhaliev, B.K.; Dyusenova, S.B.; Abdulvaliev, R.A.; Gladyshev, S.V.; Omarova, S.A.; Manapova, A.I.; Imangalieva, L.M. Method for Obtaining Chromite Concentrate from Poor Chromite-Containing Ores. Republic of Kazakstan Patent No. 33583, 19 July 2019. [Google Scholar]
- Akhmadiyeva, N.K.; Abdulvaliyev, R.A.; Akcil, A.; Manapova, A.I. Preactivation of nepheline before the enrichment. Complex Use Miner. Resour. 2023, 327, 82–89. [Google Scholar]
- Kurganov, K.P. A Method for Extracting Gold and a Device for Enriching Gold-Containing Raw Materials. Russian Federation Patent No 2483807, 2 February 2013. [Google Scholar]
- Bocharov, V.A.; Ignatkina, V.A.; Chanturiya, E.L.; Yushina, T.I.; Khachatryan, L.S.; Dunayeva, V.N. On the choice of possible ways of complex use of technogenic pyrite tailings in connection with their processing. Min. Inf. Anal. Bull. 2005, 10, 92–99. [Google Scholar]
- Bykov, A.A.; Arzhannikov, G.I. Method of Mineral Raw Material Enrichment. Russian Federation Patent No 2149706, 25 May 2000. [Google Scholar]
- Gorlova, O.E.; Shadrunova, I.V.; Zhilina, V.A.; Chekushina, T.V. Increasing the completeness of gold extraction from the lying waste processing of gold-bearing ores. Proc. Tula State Univ. 2020, 1, 193–2101. [Google Scholar]
- Schelkonogov, M.A.; Litvinenko, L.G.; Litvinenko, V.G.; Morozov, A.A. Method of Complex Processing of Pyrite Cinders. Russian Federation Patent No 2623948, 26 June 2017. [Google Scholar]
- Vasilkova, N.A.; Zhuchkov, I.A.; Ignatieva, K.D.; Lodeishchikov, V.V.; Panchenko, A.F.; Stakheev, I.S.; Shubina, O.A. Tekhnika i Tekhnologiya Izvlecheniya Zolota iz Rud za Rubezhom [Machinery and Technology of Gold Extraction from Ores Abroad]; Metallurgy: Moscow, Russia, 1973; 288p. (In Russian) [Google Scholar]
- Otu, E.O.; Wilson, J. Supercritical Carbon Dioxide Elution of Gold—Cyanide Complex from Activated Carbon. Sep. Sci. Technol. 2000, 35, 1879–1886. [Google Scholar] [CrossRef]
- Bidari, E.; Valeh, A. Alkaline leaching pretreatment and cyanidation of arsenical gold ore from the Carlin-type Zarshuran deposit. Can. Metall. Q. 2018, 57, 83–293. [Google Scholar] [CrossRef]
- Akcil, A. A New Global Approach of Cyanide Management: International Cyanide Management Code for the Manufacture, Transport, and Use of Cyanide in the Production of Gold. Miner. Process. Extr. Metall. Rev. 2010, 31, 135–149. [Google Scholar] [CrossRef]
- Martínková, L.; Bojarová, P.; Sedova, A.; Křen, V. Recent trends in the treatment of cyanide-containing effluents: Comparison of different approaches. Crit. Rev. Environ. Sci. Technol. 2023, 53, 416–434. [Google Scholar] [CrossRef]
- Udupa, A.R.; Kawatra, S.K.; Prasad, M.S. Developments in gold leaching: A literature survey. Miner. Process. Extr. Metall. Rev. 1990, 2, 115–135. [Google Scholar] [CrossRef]
- Konyratbekova, S.S.; Baikonurova, A.; Akcil, A. Non-cyanide leaching processes in gold hydrometallurgy and iodine-iodide applications: A review. Miner. Process. Extr. Metall. Rev. 2015, 36, 198–212. [Google Scholar] [CrossRef]
- Arslan, F.; Sayiner, B. Extraction of Gold and Silver from Turkish Gold Ore by Ammoniacal Thiosulphate Leaching. Miner. Process. Extr. Metall. Rev. 2008, 29, 68–82. [Google Scholar] [CrossRef]
- Abbruzzese, C.; Fornari, P.; Massidda, R.; Vegliò, F.; Ubaldini, S. Thiosulfate leaching for gold hydrometallurgy. Hydrometallurgy 1995, 39, 265. [Google Scholar] [CrossRef]
- Zhang, X.; Senanayake, G. A Review of Ammoniacal Thiosulfate Leaching of Gold: An Update Useful for Further Research in Non-cyanide Gold Lixiviants. Miner. Process. Extr. Metall. Rev. 2016, 37, 385–411. [Google Scholar] [CrossRef]
- Kenzhaliyev, B.; Surkova, T.; Yessimova, D.; Abikak, Y.; Mukhanova, A.; Fischer, D. On the question of the complex processing of pyrite cinders. Inorganics 2023, 11, 171. [Google Scholar] [CrossRef]
- Groenewald, T. Determination of gold in solutions of thiourea. Anal. Chem. 1971, 43, 1689–1691. [Google Scholar] [CrossRef]
- Li, J.; Miller, J.D. A Review of Gold Leaching in Acid Thiourea Solutions. Miner. Process. Extr. Metall. Rev. 2006, 27, 177–214. [Google Scholar] [CrossRef]
- Celik, H. Extraction of gold and silver from a Turkish gold ore through thiourea leaching. Min. Metall. Explor. 2004, 21, 144–148. [Google Scholar] [CrossRef]
- Örgül, S.; Atalay, Ü. Gold Extraction from kaymaz gold ore by thiourea leaching. Dev. Miner. Process 2000, 13, C6–C22. [Google Scholar]
- Zaikin, S.Y.; Shvyryaev, A.Y.; Travkina, V.A. Method of Leaching and Extraction of Gold and Silver from Pyrite Cinders. Russian Federation Patent No 2721731, 21 January 2021. [Google Scholar]
- Abikak, Y.B.; Kenzhaliev, B.K. Development of an integrated technology intended to process pyrite slag using chemical pre-activation. News Natl. Acad. Sci. Repub. Kazakhstan Ser. Geol. Tech. Sci. 2022, 3, 32–51. [Google Scholar] [CrossRef]
- Ait-Amir, B.; Pougnet, P.; El Hami, A. Meta-Model Development. In Embedded Mechatronic Systems 2; ISTE: Washington, DC, USA, 2015; pp. 151–179. [Google Scholar]
- Ren, G.; Heo, S.; Kim, T.; Cheong, C. Response surface method-based optimization of the shroud of an axial cooling fan for high performance and low noise. J. Mech. Sci. Technol. 2013, 27, 33–42. [Google Scholar] [CrossRef]
- Dembele, S.; Akcil, A.; Panda, S. Investigation of the characteristics of stibnite (Sb2S3) flotation tailings and extraction of critical metals (Sb and As): Optimization and scale-up. Miner. Eng. 2024, 216, 108883. [Google Scholar] [CrossRef]
- Rana, M.M.; Khan, I.H.; Nshizirungu, T.; Jo, Y.-T.; Park, J.H. Green and sustainable route for the efficient leaching and recovery of valuable metals from spent Ni- Cd batteries. Chem. Eng. J. 2023, 455, 140626. [Google Scholar] [CrossRef]
- Jing-Ying, L.; Xiu-Li, X.; Wen-Quan, L. Thiourea leaching gold and silver from the printed circuit boards of waste mobile phones. Waste Manag. 2012, 32, 1209–1212. [Google Scholar] [CrossRef]
- Heydarian, A.; Mousavi, S.M.; Vakilchap, F.; Baniasadi, M. Application of a mixed culture of adapted acidophilic bacteria in two-step bioleaching of spent lithium-ion laptop batteries. J. Power Sources 2018, 378, 19–30. [Google Scholar] [CrossRef]
- Rezaei, H.; Shafaei, S.Z.; Abdollahi, H.; Shahidi, A.; Ghassa, S. A sustainable method for germanium, vanadium and lithium extraction from coal fly ash: Sodium salts roasting and organic acids leaching. Fuel 2022, 312, 122844. [Google Scholar] [CrossRef]
- Birloaga, I.; Michelis, I.D.; Ferella, F.; Buzatu, M.; Francesco, V. Study on the influence of various factors in the hydrometallurgical processing of printed waste circuit boards for copper and gold recovery. Waste Manag. 2013, 33, 935–941. [Google Scholar] [CrossRef] [PubMed]
- Deschenes, G.; Ghali, E. Leaching of gold from a chalcopyrite concentrate by thiourea. Hydrometallurgy 1988, 20, 179–202. [Google Scholar] [CrossRef]
- Guzman, L.; Segarra, M.; Jimenos, J.M.; Fernandez, M.A.; Espiell, F. Cyanidation of gold using hydrogen peroxide. Hydrometallurgy 1999, 52, 21–35. [Google Scholar] [CrossRef]
- Kotlyar, Y.A.; Meretukov, M.A.; Strizhko, L.S. Metallurgy of Noble Metals; A Manual in 2 Volumes. Tutorial. T. 1.; Ore and Metals: Moscow, Russia, 2005; p. 431. [Google Scholar]
- Ippolito, N.M.; Birloaga, I.; Ferella, F.; Centofanti, M.; Vegliò, F. Preliminary study on gold recovery from high grade e-waste by thiourea leaching and electrowinning. Minerals 2021, 11, 235. [Google Scholar] [CrossRef]
- Qin, H.; Guo, X.; Tian, Q.; Yu, D.; Zhang, L. Recovery of gold from sulfide refractory gold ore: Oxidation roasting pretreatment and gold extraction. Miner. Eng. 2021, 164, 106822. [Google Scholar] [CrossRef]
- Beck, N.; Yu, R.; Zelinsky, A.G.; Weiss, A.A. Laws of anodic behavior of gold in sour thiocarbamide solutions according to cyclic voltammetry and quartz microgravimetry. Electrochemistry 2006, 3, 279–285. [Google Scholar]
- Moutiy, E.H.; Tran, L.H.; Mueller, K.K.; Coudert, L.; Blais, J.F. Optimized indium solubilization from LCD panels using H2SO4 leaching. Was. Manag. 2020, 114, 53–61. [Google Scholar]
- Murugesan, M.; Kannan, K.T.; Selvaganapathy, T. Bioleaching recovery of copper from printed circuit boards and optimization of various parameters using response surface methodology (RSM). Mater. Today Proc. 2020, 26, 2720–2728. [Google Scholar] [CrossRef]
- Zakrzewska-Koltuniewicz, G.; Herdzik-Koniecko, I.; Cojocaru, C.; Chajduk, E. Experimental design and optimization of leaching process for recovery of valuable chemical elements (U, La, V, Mo, Yb and Th) from low-grade uranium ore. J. Hazard. Mater. 2014, 275, 136–145. [Google Scholar] [CrossRef]
- Lee, H.; Molstad, E.; Mishra, B. Recovery of gold and silver from secondary sources of electronic waste processing by thiourea leaching. JOM 2018, 70, 1616–1621. [Google Scholar] [CrossRef]
Disclaimer/Publisher’s Note: The statements, opinions and data contained in all publications are solely those of the individual author(s) and contributor(s) and not of MDPI and/or the editor(s). MDPI and/or the editor(s) disclaim responsibility for any injury to people or property resulting from any ideas, methods, instructions or products referred to in the content. |
© 2025 by the authors. Licensee MDPI, Basel, Switzerland. This article is an open access article distributed under the terms and conditions of the Creative Commons Attribution (CC BY) license (https://creativecommons.org/licenses/by/4.0/).







