Estimating the Lifetime of Rotary Dryer Flights Based on Experimental Data
Abstract
1. Introduction
2. Materials and Methods
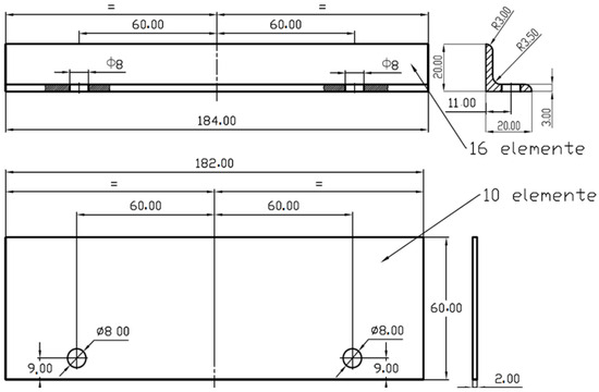
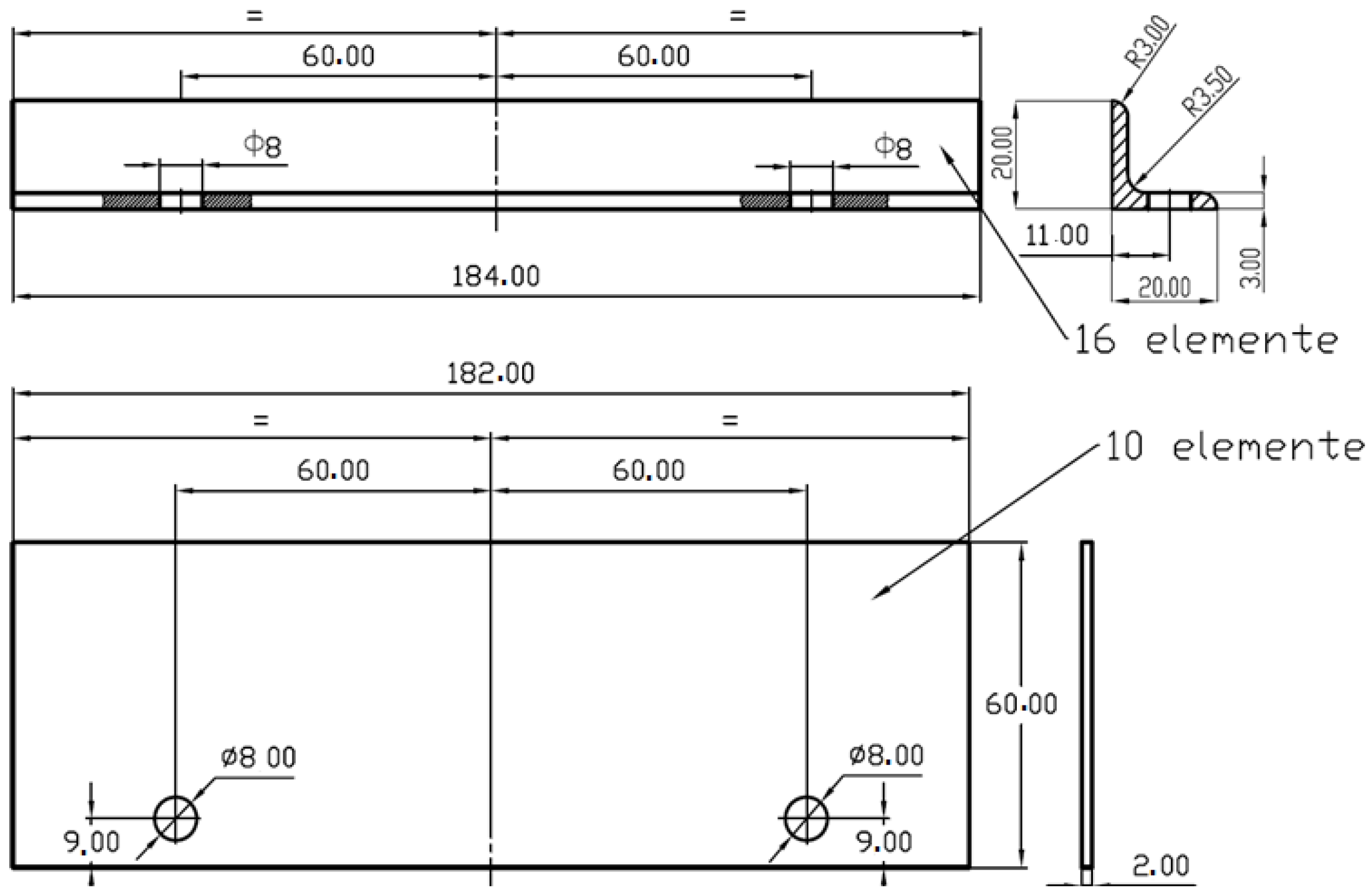
2.1. Laboratory Equipment and Materials Tested
- -
- It was considered that the steel commonly used for such industrial applications is S235;
- -
- Steels that are similar in terms of purchase price were chosen in order to offer cost-effective solutions;
- -
- The selected steels must have good weldability because the assembly procedure in the body of the dryer presupposes the performance of welding operations, among other things.
| Try | Chemical Composition, % | ||||||||||||||
|---|---|---|---|---|---|---|---|---|---|---|---|---|---|---|---|
| C | Si | Mn | P | S | Cr | Mo | Ni | At | Co | Cu | Nb | Ti | V | W | |
| C (AISI 4140 ASTM A29 [30]/42Cr4Mo2 EN 10083 [31]; rolled semi-finished product, thickness s = 4 mm) | 0.289 | 0.252 | 0.468 | 0.011 | 0.003 | 0.340 | 0.020 | 0.030 | 0.035 | 0.007 | 0.026 | 0.040 | 0.110 | 0.058 | 0.020 |
| D (AISI 4140 ASTM A29 [30]/42Cr4Mo2 EN 10083 [31]; rolled semi-finished product, thickness s = 3 mm) 4140 | 0.174 | 0.034 | 1.390 | 0.010 | 0.003 | 0.07 | 0.0017 | 0.06 | 0.021 | - | 0.23 | 0.0004 | 0.14 | 0.09 | - |
| E (S275 EN10025 [32]; laminated semi-finished product, thickness s = 2 mm) | 0.075 | 0.004 | 0.268 | 0.021 | 0.011 | 0.170 | 0.040 | 0.130 | - | 0.100 | - | - | 0.380 | 0.050 | 0.030 |
| F (S185 EN 10025 [32]; laminated semi-finished product, thickness s = 2 mm) | 0.051 | 0.005 | 0.300 | 0.018 | 0.013 | 0.200 | 0.060 | 0.270 | - | 0.340 | - | - | 0.220 | 0.110 | 0.010 |
| S (S235 EN 10025 [32]; rolled semi-finished products, thickness s = 4 mm *) | 0.1710 | 0.0320 | 1.370 | 0.0106 | 0.0032 | 0.0279 | 0.0017 | 0.0.0205 | - | - | - | 0.0005 | - | 0.0029 | - |
| G (S355 JR SR EN 10025 [32] laminated semi-finished product, thickness s = 4 mm *) | 0.090 | 0.040 | 0.760 | 0.014 | 0.011 | 0.130 | 0.040 | 0.140 | 0.015 | 0.100 | 0.100 | 0.010 | 0.050 | 0.100 | 0.010 |
| Steel Type | Hardness Value, HV | Hardness Mean Value, HV, before Testing | Hardness Mean Value, HV, after Testing | |||
|---|---|---|---|---|---|---|
| Sample 1 | Sample 2 | Sample 3 | Sample 4 | |||
| C | 145 | 141 | 146 | 148 | 145 | 160 |
| D | 172 | 184 | 175 | 180 | 178 | 204 |
| E | 127 | 122 | 126 | 125 | 125 | 151 |
| F | 140 | 137 | 137 | 139 | 138 | 178 |
| S | 147 | 149 | 147 | 148 | 148 | 183 |
| G | 155 | 154 | 159 | 157 | 156 | 210 |
2.2. Mass Loss Measurements
3. Results and Discussion
3.1. Determination of Operating Life in Relation to Mass Loss
3.2. Determination of Operating Life in Relation to Mass Loss and Affected Area
4. Conclusions
Author Contributions
Funding
Data Availability Statement
Conflicts of Interest
References
- Arruda, E.B.; Façanha, J.M.F.; Pires, L.N.; Assis, A.J.; Barrozo, M.A.S. Conventional and Modified Rotary Dryer: Comparison of Performance in Fertilizer Drying. Chem. Eng. Process. Process Intensif. 2009, 48, 1414–1418. [Google Scholar] [CrossRef]
- Ghasemi, A.; Hasankhoei, A.; Razi, E.; Parsapour, G.; Banisi, S. Increasing Drying Efficiency by Modifying the Design of Feed Chute of the Gol-e-Gohar Pelletizing Plant Ball Mill. J. Min. Environ. 2018, 10, 213–221. [Google Scholar] [CrossRef]
- Lisboa, M.H.; Vitorino, D.S.; Delaiba, W.B.; Finzer, J.R.D.; Barrozo, M.A.S. A Study of Particle Motion in Rotary Dryer. Braz. J. Chem. Eng. 2007, 24, 365–374. [Google Scholar] [CrossRef]
- Silvério, B.C.; Arruda, E.B.; Duarte, C.R.; Barrozo, M.A.S. A Novel Rotary Dryer for Drying Fertilizer: Comparison of Performance with Conventional Configurations. Powder Technol. 2015, 270, 135–140. [Google Scholar] [CrossRef]
- Niță, A.; Petrescu, M.G.; Dumitru, T.; Burlacu, A.; Tănase, M.; Laudacescu, E.; Ramadan, I. Experimental Research on the Wear Behavior of Materials Used in the Manufacture of Components for Cement Concrete Mixers. Materials 2023, 16, 2326. [Google Scholar] [CrossRef]
- Jungedal, M. Mild Impact Wear in a Concrete Mixer, an Evaluation of Wet Abrasive Wear. Master’s Thesis, Royal Institute of Technology Department of Material Science and Engineering, Stockholm, Sweden, 2012. [Google Scholar]
- Fasano, J.; Janz, E.E.; Myers, K. Design Mixers to Minimize Effects of Erosion and Corrosion Erosion. Int. J. Chem. Eng. 2012, 2012, 1–8. [Google Scholar] [CrossRef][Green Version]
- Khalid, Y.A.; Sapuan, S.M. Wear Analysis of Centrifugal Slurry Pump Impellers. Ind. Lubr. Tribol. 2007, 59, 18–28. [Google Scholar] [CrossRef]
- López, D.; Congote, J.P.; Cano, J.R.; Toro, A.; Tschiptschin, A.P. Effect of Particle Velocity and Impact Angle on the Corrosion–Erosion of AISI 304 and AISI 420 Stainless Steels. Wear 2005, 259, 118–124. [Google Scholar] [CrossRef]
- Sapate, S.G.; RamaRao, A.V. Effect of Erodent Particle Hardness on Velocity Exponent in Erosion of Steels and Cast Irons. Mater. Manuf. Process. 2003, 18, 783–802. [Google Scholar] [CrossRef]
- Data Analysis Using the Method of Least Squares; Springer: Berlin/Heidelberg, Germany, 2006; ISBN 978-3-540-25674-8.
- Kalwa, V.; Ullegaddi, M.M.; Kittali, P.; Thottempudi, B. Ordinary Least Square Regression Technique for Predicting Wear Rate of EN8 Carbon Steel. Mater. Today Proc. 2023, S2214785323014347. [Google Scholar] [CrossRef]
- Blau, P.J.; Bayer, R.G. Wear of Materials. In Wear of Materials: Proceedings of the Fourteenth International Conference on Wear of Materials, Washington, DC, USA, 30 March–3 April 2003; Elsevier Science: Amsterdam, The Netherlands, 2003; ISBN 978-0-08-044301-0. [Google Scholar]
- Machado, Á.R.; Diniz, A.E. Tool Wear Analysis in the Machining of Hardened Steels. Int. J. Adv. Manuf. Technol. 2017, 92, 4095–4109. [Google Scholar] [CrossRef]
- Kumar, S.S.; Hiremath, S.S. A Review on Abrasive Flow Machining (AFM). Procedia Technol. 2016, 25, 1297–1304. [Google Scholar] [CrossRef]
- Jawahir, I.S.; Brinksmeier, E.; M’Saoubi, R.; Aspinwall, D.K.; Outeiro, J.C.; Meyer, D.; Umbrello, D.; Jayal, A.D. Surface Integrity in Material Removal Processes: Recent Advances. CIRP Ann. 2011, 60, 603–626. [Google Scholar] [CrossRef]
- Grasser, D.; Corujeira Gallo, S.; Pereira, M.; Barnett, M. Experimental Investigation of the Effect of Insert Spacing on Abrasion Wear Resistance of a Composite. Wear 2022, 494–495, 204277. [Google Scholar] [CrossRef]
- Zhang, H.; Feng, P.; Ying, W. Abrasive Wear and Optimal Installation Angle of Concrete Double-Horizontal Shaft Mixer Stirring Blades. SN Appl. Sci. 2020, 2, 1067. [Google Scholar] [CrossRef]
- Jensen, L.R.D.; Fundal, E.; Møller, P.; Jespersen, M. Wear Mechanism of Abrasion Resistant Wear Parts in Raw Material Vertical Roller Mills. Wear 2011, 271, 2707–2719. [Google Scholar] [CrossRef]
- Burlacu, A.; Gabriel Petrescu, M.; George Rîpeanu, R.; Dumitru, T.; Victor Laudacescu, E.; Naim Ramadana, I.; Niță, A. Experimental Investigations on Wear Phenomena Specific to Rotary Dryer Flights (Blades). Tribol. Ind. 2024, 46, 56–65. [Google Scholar] [CrossRef]
- Burlacu, A. Research on Increasing the Durability of Drying Installations in Asphalt Mixture Production Stations. Research Report No. 3 in the Doctoral Thesis (Cercetari Privind Cresterea Durabilitatii Instalatiilor de Uscare Din Statiile de Producere a Mixturilor Asfaltice. Raport de Cercetare Nr. 3 La Teza de Doctorat); Petroleum Gas University of Ploiesti: Ploiesti, Romania, 2023. [Google Scholar]
- Revol, D.; Briens, C.L.; Chabagno, J.M. The Design of Flights in Rotary Dryers. Powder Technol. 2001, 121, 230–238. [Google Scholar] [CrossRef]
- Hellou, M.; Lominé, F.; Benhsine, I.; Roques, Y. Theoretical Description of the Motion of a Particle in Rotary Dryer. Can. J. Chem. Eng. 2019, 97, 103–114. [Google Scholar] [CrossRef]
- Mellmann, J. The Transverse Motion of Solids in Rotating Cylinders—Forms of Motion and Transition Behavior. Powder Technol. 2001, 118, 251–270. [Google Scholar] [CrossRef]
- Karali, M.A.; Specht, E.; Herz, F.; Mellmann, J.; Refaey, H.A. Unloading Characteristics of Flights in a Flighted Rotary Drum Operated at Optimum Loading. Powder Technol. 2018, 333, 347–352. [Google Scholar] [CrossRef]
- Karali, M.A.; Sunkara, K.R.; Herz, F.; Specht, E. Experimental Analysis of a Flighted Rotary Drum to Assess the Optimum Loading. Chem. Eng. Sci. 2015, 138, 772–779. [Google Scholar] [CrossRef]
- Nascimento, S.M.; Santos, D.A.; Barrozo, M.A.S.; Duarte, C.R. Solids Holdup in Flighted Rotating Drums: An Experimental and Simulation Study. Powder Technol. 2015, 280, 18–25. [Google Scholar] [CrossRef]
- Katinas, E.; Chotěborský, R.; Linda, M.; Kuře, J. Sensitivity Analysis of the Influence of Particle Dynamic Friction, Rolling Resistance and Volume/Shear Work Ratio on Wear Loss and Friction Force Using DEM Model of Dry Sand Rubber Wheel Test. Tribol. Int. 2021, 156, 106853. [Google Scholar] [CrossRef]
- Niță, A.; Laudacescu, E.; Petrescu, M.G.; Dumitru, T.; Burlacu, A.; Bădoiu, D.G.; Tănase, M. Experimental Research Regarding the Effect of Mineral Aggregates on the Wear of Mixing Blades of Concrete Mixers. Materials 2023, 16, 5047. [Google Scholar] [CrossRef]
- ASTM A29/A29M-23; Standard Specification for General Requirements for Steel Bars, Carbon and Alloy, Hot-Wrought. ASTM: West Conshohocken, PA, USA, 2023.
- EN 10083; Steels for Quenching and Tempering. BSI: London, UK, 2006.
- EN 10025; Hot Rolled Products of Structural Steels. BSI: London, UK, 2019.
- SR EN ISO 6507-1:2018; Metallic Materials. Vickers Hardness Test. Part 1: Test Method. ISO: Geneva, Switzerland, 2018.
- SR EN ISO 6506-1:2015; Metallic Materials. ISO: Geneva, Switzerland, 2015.
- Neacsu, M.; Petrescu, M.G.; Nae, I. Masini Unelte Si Prelucrari Prin Aschiere. Elemente de Teoria Aschierii; Petroleum Gas University: Ploiesti, Romania, 2001; ISBN 973-8150-16-7. [Google Scholar]
- Białobrzeska, B.; Jasiński, R. Correction: Białobrzeska, B.; Jasiński, R. Resistance to Abrasive Wear with Regards to Mechanical Properties Using Low-Alloy Cast Steels Examined with the Use of a Dry Sand/Rubber Wheel Tester. Materials 2023, 16, 3052, Erratum in Materials 2023, 16, 7152. [Google Scholar] [CrossRef]
- Hrusciov, M.M.; Babicev, M. A Resistance to Abrasive Wear of Structurally Inhomogeneous Materials. Frict. Wear Mach. 1958, 12, 5–24. [Google Scholar]












| Position on the Drum | Steel Sample (Sample Thickness) | Acronym | Initial Sample Mass (g) | Duration of Operation (Hours) | |||||
|---|---|---|---|---|---|---|---|---|---|
| 1 | 3 | 7 | 11 | 15 | 20 | ||||
| Sample Mass (g) | |||||||||
| 1 | Steel C (s = 4 mm) | C 1 | 331.65 | 331.64 | 331.59 | 331.58 | 331.42 | 331.37 | 331.07 |
| 5 | C 5 | 332.11 | 332.09 | 332.08 | 332.05 | 331.81 | 331.68 | 331.49 | |
| 9 | C 9 | 331.65 | 331.64 | 331.61 | 331.51 | 331.29 | 331.14 | 330.95 | |
| 13 | C 13 | 332.12 | 332.11 | 332.10 | 332.06 | 331.80 | 331.63 | 331.39 | |
| 3 | Steel D (s = 3 mm) | D 3 | 258.59 | 258.52 | 258.50 | 258.42 | 258.18 | 258.08 | 257.93 |
| 7 | D 7 | 260.15 | 260.09 | 260.07 | 259.93 | 259.70 | 259.61 | 259.46 | |
| 11 | D 11 | 259.26 | 259.20 | 259.19 | 259.04 | 258.89 | 258.79 | 258.61 | |
| 15 | D 15 | 258.48 | 258.43 | 258.41 | 258.25 | 258.11 | 258.02 | 257.89 | |
| 2 | Steel E (s = 2 mm) | E 2 | 171.85 | 171.85 | 171.85 | 171.76 | 171.65 | 171.52 | 171.32 |
| 6 | E 6 | 168.11 | 168.08 | 168.07 | 167.92 | 167.83 | 167.58 | 167.45 | |
| 10 | E 10 | 166.83 | 166.82 | 166.82 | 166.75 | 166.58 | 166.46 | 166.28 | |
| 14 | E 14 | 169.77 | 169.76 | 169.74 | 169.64 | 169.48 | 169.42 | 169.32 | |
| 4 | Steel F (s = 2 mm) | F 4 | 167.35 | 167.32 | 167.30 | 167.21 | 167.02 | 166.87 | 166.72 |
| 8 | F 8 | 162.78 | 162.75 | 162.73 | 162.61 | 162.35 | 162.24 | 162.10 | |
| 12 | F 12 | 165.97 | 165.94 | 165.92 | 165.85 | 165.65 | 165.47 | 165.38 | |
| 16 | F 16 | 160.72 | 160.69 | 160.68 | 160.59 | 160.44 | 160.34 | 160.26 | |
| 2 | Steel S (s = 4 mm) | S 2 | 341.85 | 341.79 | 341.66 | 341.57 | 341.21 | 341.09 | 340.94 |
| 6 | S 6 | 337.23 | 337.19 | 337.13 | 336.97 | 336.71 | 336.63 | 336.44 | |
| 10 | S 10 | 339.55 | 339.54 | 339.52 | 339.39 | 339.25 | 339.17 | 339.01 | |
| 14 | S 14 | 342.16 | 342.14 | 342.13 | 341.96 | 341.85 | 341.74 | 341.60 | |
| 4 | Steel G (s = 4 mm) | G 4 | 344.51 | 344.50 | 344.49 | 344.42 | 344.34 | 344.21 | 343.99 |
| 8 | G 8 | 342.18 | 342.16 | 342.15 | 342.02 | 341.94 | 341.71 | 341.58 | |
| 12 | G 12 | 342.35 | 342.34 | 342.33 | 342.25 | 342.11 | 341.98 | 342.71 | |
| 16 | G 16 | 343.17 | 343.15 | 343.13 | 343.05 | 342.92 | 342.88 | 342.79 | |
| Steel Sample | Acronym | Failure Rate Function | Correlation Ratio |
|---|---|---|---|
| C | C 1 | ||
| C 5 | |||
| C 9 | |||
| C 13 | |||
| C | C | ||
| D | D 3 | ||
| D 7 | |||
| D 11 | |||
| D 15 | |||
| D | |||
| E | E 2 | ||
| E 6 | |||
| E 10 | |||
| E 14 | |||
| E | E | ||
| F | F 4 | ||
| F 8 | |||
| F 12 | |||
| F 16 | |||
| F | F | ||
| S | S 2 | ||
| S 6 | |||
| S 10 | |||
| S 14 | |||
| S | S | ||
| G | G 4 | ||
| G 8 | |||
| G 12 | |||
| G 16 | |||
| G | G |
| Steel Type (Acronym) | C | D | E | F | S | G |
|---|---|---|---|---|---|---|
| Average initial thickness, s(0) (mm) | 3.87 | 3.02 | 1.97 | 1.92 | 3.97 | 4.00 |
| Average initial mass, m0 (g) | 331.88 | 259.12 | 169.14 | 164.21 | 340.19 | 343.05 |
| Steel Type (Acronym) | C | D | E | F | S | G |
|---|---|---|---|---|---|---|
| Duration limit (hours) | 59.8 | 61.2 | 69.9 | 63.5 | 55.3 | 73.8 |
| Steel Type (Acronym) | Percentage Reduction in Mass, % | |||||||||
|---|---|---|---|---|---|---|---|---|---|---|
| 10 | 20 | 30 | 40 | 50 | 60 | 70 | 80 | 90 | 100 | |
| S | 937 | 1875 | 2812 | 3749 | 4686 | 5623 | 6561 | 7498 | 8434 | 9372 |
| G | 1236 | 2470 | 3704 | 4938 | 6172 | 7406 | 8640 | 9874 | 11,108 | 12,342 |
| 0.1 | 0.2 | 0.3 | 0.4 | 0.5 | 0.6 | 0.7 | 0.8 | 0.9 | 1 | ||
|---|---|---|---|---|---|---|---|---|---|---|---|
| Beta, | 0.1 | 0.99 | 1.97 | ||||||||
| 0.2 | 0.49 | 0.99 | 1.48 | 1.97 | |||||||
| 0.3 | 0.33 | 0.66 | 0.99 | 1.31 | 1.64 | 1.97 | |||||
| 0.4 | 0.25 | 0.49 | 0.74 | 0.99 | 1.23 | 1.48 | 1.72 | 1.97 | |||
| 0.5 | 0.20 | 0.39 | 0.59 | 0.79 | 0.99 | 1.18 | 1.38 | 1.58 | 1.77 | 1.97 | |
| 0.6 | 0.16 | 0.33 | 0.49 | 0.66 | 0.82 | 0.99 | 1.15 | 1.31 | 1.48 | 1.64 | |
| 0.7 | 0.14 | 0.28 | 0.42 | 0.56 | 0.70 | 0.84 | 0.99 | 1.13 | 1.27 | 1.41 | |
| 0.8 | 0.12 | 0.25 | 0.37 | 0.49 | 0.62 | 0.74 | 0.86 | 0.99 | 1.11 | 1.23 | |
| 0.9 | 0.11 | 0.22 | 0.33 | 0.44 | 0.55 | 0.66 | 0.77 | 0.88 | 0.99 | 1.10 | |
| 1 | 0.10 | 0.20 | 0.30 | 0.39 | 0.49 | 0.59 | 0.69 | 0.79 | 0.89 | 0.99 | |
| 0.1 | 0.2 | 0.3 | 0.4 | 0.5 | 0.6 | 0.7 | 0.8 | 0.9 | 1 | ||
|---|---|---|---|---|---|---|---|---|---|---|---|
| Beta, | 0.1 | 2.00 | 4.00 | ||||||||
| 0.2 | 1.00 | 2.00 | 3.00 | 4.00 | |||||||
| 0.3 | 0.67 | 1.33 | 2.00 | 2.66 | 3.33 | 4.00 | |||||
| 0.4 | 0.50 | 1.00 | 1.50 | 2.00 | 2.50 | 3.00 | 3.50 | 4.00 | |||
| 0.5 | 0.40 | 0.80 | 1.20 | 1.60 | 2.00 | 2.40 | 2.80 | 3.20 | 3.60 | 4.00 | |
| 0.6 | 0.33 | 0.67 | 1.00 | 1.33 | 1.67 | 2.00 | 2.33 | 2.66 | 3.00 | 3.33 | |
| 0.7 | 0.29 | 0.57 | 0.86 | 1.14 | 1.43 | 1.71 | 2.00 | 2.28 | 2.57 | 2.85 | |
| 0.8 | 0.25 | 0.50 | 0.75 | 1.00 | 1.25 | 1.50 | 1.75 | 2.00 | 2.25 | 2.50 | |
| 0.9 | 0.22 | 0.44 | 0.67 | 0.89 | 1.11 | 1.33 | 1.55 | 1.78 | 2.00 | 2.22 | |
| 1 | 0.20 | 0.40 | 0.60 | 0.80 | 1.00 | 1.20 | 1.40 | 1.60 | 1.80 | 2.00 | |
Disclaimer/Publisher’s Note: The statements, opinions and data contained in all publications are solely those of the individual author(s) and contributor(s) and not of MDPI and/or the editor(s). MDPI and/or the editor(s) disclaim responsibility for any injury to people or property resulting from any ideas, methods, instructions or products referred to in the content. |
© 2024 by the authors. Licensee MDPI, Basel, Switzerland. This article is an open access article distributed under the terms and conditions of the Creative Commons Attribution (CC BY) license (https://creativecommons.org/licenses/by/4.0/).
Share and Cite
Petrescu, M.G.; Burlacu, A.; Isbășoiu, G.D.; Dumitru, T.; Tănase, M. Estimating the Lifetime of Rotary Dryer Flights Based on Experimental Data. Processes 2024, 12, 993. https://doi.org/10.3390/pr12050993
Petrescu MG, Burlacu A, Isbășoiu GD, Dumitru T, Tănase M. Estimating the Lifetime of Rotary Dryer Flights Based on Experimental Data. Processes. 2024; 12(5):993. https://doi.org/10.3390/pr12050993
Chicago/Turabian StylePetrescu, Marius Gabriel, Andrei Burlacu, Gheorghe Dan Isbășoiu, Teodor Dumitru, and Maria Tănase. 2024. "Estimating the Lifetime of Rotary Dryer Flights Based on Experimental Data" Processes 12, no. 5: 993. https://doi.org/10.3390/pr12050993
APA StylePetrescu, M. G., Burlacu, A., Isbășoiu, G. D., Dumitru, T., & Tănase, M. (2024). Estimating the Lifetime of Rotary Dryer Flights Based on Experimental Data. Processes, 12(5), 993. https://doi.org/10.3390/pr12050993

