Numerical Study of Wheat Particle Flow Characteristics in a Horizontal Curved Pipe
Abstract
1. Introduction
2. Experimental Details
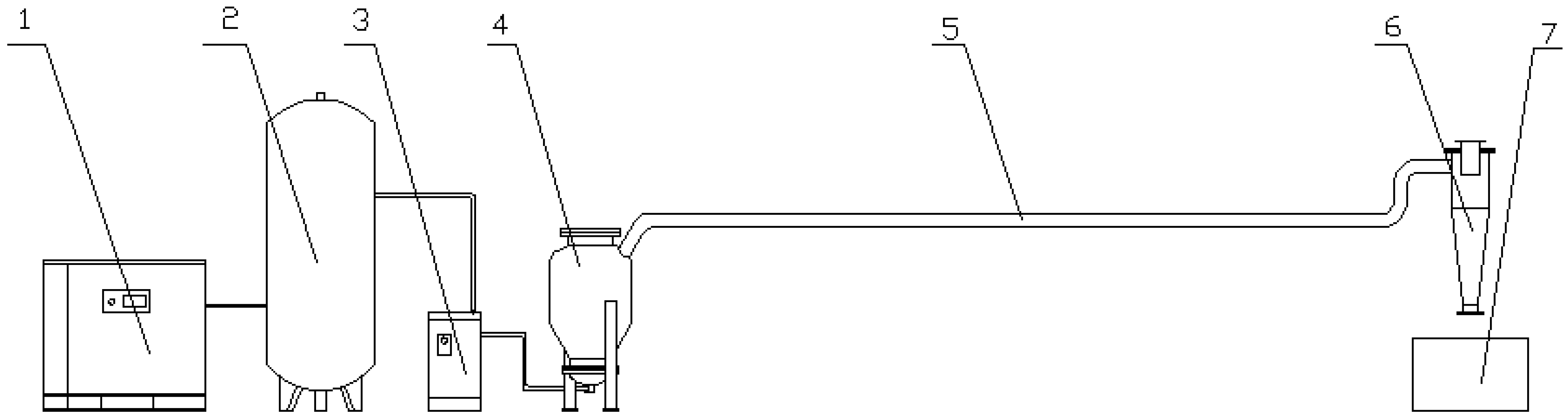
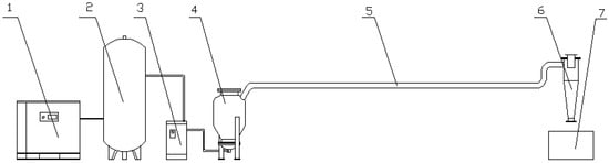
2.1. Pneumatic Conveying Test Device
2.2. Material
2.3. Test Parameters
3. Mathematical Model
3.1. Coupled CFD-DEM Method
3.1.1. Particle-Phase Control Equations
3.1.2. Gas-Phase Control Equation
3.1.3. CFD-DEM Contact Force Model
3.1.4. Particle–Wall Contact Model
3.2. Calculation Conditions
3.2.1. Geometric Model and Meshing
3.2.2. Parameter Calibration
3.2.3. Number of Grids and Grid Independence
3.2.4. Simulation Setup and Test Design
3.2.5. Computational Procedure
4. Results and Discussion
4.1. Model Validation
4.2. Influence of Pipe Bend Ratio on Particle Trajectory
4.3. Influence of Pipe Bend Ratio on Particle Velocity
4.3.1. Particle Velocity at Different Values of Angle around Pipe Bend
4.3.2. Effect of Initial Particle Velocity on Particle Velocity Loss
4.4. Elbow Pressure Drop
4.4.1. Effect of R/D on Pressure Drop in Pipe
4.4.2. Effect of Gas-Phase Velocity on Pressure Drop in Pipe
4.4.3. Pressure Drop of the Pipe Bend under Different Particles Mass Flow Rates
4.5. Shear Force between Particles and Pipe Wall
5. Conclusions
Author Contributions
Funding
Data Availability Statement
Conflicts of Interest
References
- Kuang, S.; Zhou, M.; Yu, A. CFD-DEM modelling and simulation of pneumatic conveying: A review. Powder Technol. 2020, 365, 186–207. [Google Scholar] [CrossRef]
- Li, K.; Kuang, S.; Pan, R.; Yu, A. Numerical study of horizontal pneumatic conveying: Effect of material properties. Powder Technol. 2014, 251, 15–24. [Google Scholar] [CrossRef]
- Wei, J.; Zhang, H.; Wang, Y.; Wen, Z.; Yao, B.; Dong, J. The gas-solid flow characteristics of cyclones. Powder Technol. 2017, 308, 178–192. [Google Scholar] [CrossRef]
- Kuang, S.B.; Yu, A.B.; Zou, Z.S. Computational study of flow regimes in vertical pneumatic conveying. Ind. Eng. Chem. Res. 2009, 48, 6846–6858. [Google Scholar] [CrossRef]
- Levy, A.; Mason, D.J. The effect of a bend on the particle cross-section concentration and segregation in pneumatic systems. Powder Technol. 1998, 98, 95–103. [Google Scholar] [CrossRef]
- Lee, G.S.; Kim, S.D. Bed expansion characteristics and transition velocity in turbulent fluidized beds. Powder Technol. 1990, 62, 207–215. [Google Scholar] [CrossRef]
- Vashisth, S.; Grace, J.R. Simulation of granular transport of Geldart Type-A-B, and -D particles through a 90° bend pipe. Ind. Eng. Chem. Res. 2012, 51, 2030–2047. [Google Scholar] [CrossRef]
- Zhou, J.-W.; Liu, Y.; Liu, S.-Y.; Du, C.-L.; Li, J.-P. Effects of particle shape and swirling intensity on elbow erosion in dilute-phase pneumatic conveying. Wear 2017, 380–381, 66–77. [Google Scholar] [CrossRef]
- Ji, Y.; Liu, S. Effect of secondary flow on gas-solid flow regimes in lifting elbows. Powder Technol. 2019, 352, 397–412. [Google Scholar] [CrossRef]
- Chu, K.W.; Yu, A.B. Numerical simulation of the gas-solid flow in three-dimensional pneumatic conveying bends. Ind. Eng. Chem. Res. 2008, 47, 7058–7071. [Google Scholar] [CrossRef]
- Yang, W.; Kuan, B. Experimental investigation of dilute turbulent particulate flow inside a curved 90 bend. Chem. Eng. Sci. 2006, 61, 3593–3601. [Google Scholar] [CrossRef]
- Zhong, W.; Zhang, M. Pressure fluctuation frequency characteristics in a spout- fluid bed by modern ARM power spectrum analysis. Powder Technol. 2005, 152, 52–61. [Google Scholar] [CrossRef]
- Rinoshika, A.; Zheng, Y.; Yan, F. Wavelet analysis on particle dynamics in a horizontal air-solid two-phase pipe flow at low air velocity. Exp. Fluid 2012, 52, 137–149. [Google Scholar] [CrossRef]
- Zheng, Y.; Rinoshika, A. Multi-scale particle dynamics of low air velocity in a horizontal self-excited gas-solid two-phase pipe flow. Int. J. Multiph. Flow 2013, 53, 114–123. [Google Scholar] [CrossRef]
- Edwards, J.K.; McLaury, B.S.; Shirazi, S.A. Evaluation of alternative pipe bend fittings in erosive service. In Proceedings of the Fluids Engineering Division Summer Meeting, Boston, MA, USA, 11–15 June 2000. [Google Scholar]
- Li, S.Z.; Dong, X.L. Erosion Wear and Fretting Wear of Materials; China Machine Press: Beijing, China, 1987. [Google Scholar]
- Xu, X.; Wang, L.; Zhang, Y.; Li, Y.; Meng, X.; Jiang, P.; Xia, C. Characterization of flow field of swirling flow conveying in bulk grain pipeline based on gas-solid multiphase coupling. J. Food Process Eng. 2022, 46, 10–31. [Google Scholar] [CrossRef]
- Parsi, M.; Najmi, K.; Najafifard, F.; Hassani, S.; McLaury, B.S.; Shirazi, S.A. A comprehensive review of solid particle erosion modeling for oil and gas wells and pipelines applications. J. Nat. Gas Sci. Eng. 2014, 21, 850–873. [Google Scholar] [CrossRef]
- Peng, W.; Cao, X. Numerical prediction of erosion distributions and solid particle trajectories in elbows for gas-solid flow. J. Nat. Gas Sci. Eng. 2016, 30, 455–470. [Google Scholar] [CrossRef]
- Morsi, S.A.; Alexander, A.J. An investigation of particle trajectories in two-phase flow systems. J. Fluid Mech. 1972, 55, 193–208. [Google Scholar] [CrossRef]
- Du, J. Numerical Simulation of Thin Phase Pneumatic Conveying Based on CFD-DEM Method. Ph.D. Thesis, Wuhan University, Wuhan, China, 2015. [Google Scholar]
- Tsuji, Y.; Tanaka, T.; Ishida, T. Lagrangian numerical simulation of plug flow of cohesionless particles in a horizontal pipe. Powder Technol. 1992, 71, 239–250. [Google Scholar] [CrossRef]
- Di Renzo, A.; Di Maio, F.P. Comparison of contact-force models for the simulation of collisions in DEM-based granular flow codes. Chem. Eng. Sci. 2004, 59, 525–541. [Google Scholar] [CrossRef]
- Jia, W.; Yan, J. Pressure drop characteristics and minimum pressure drop velocity for pneumatic conveying of polyacrylamide in a horizontal pipe with bends at both ends-ScienceDirect. Powder Technol. 2020, 372, 192–203. [Google Scholar] [CrossRef]
- Cui, B.; Chen, P.; Zhao, Y.; Chen, P. Numerical simulation of particle erosion in the vertical-upward-horizontal elbow under multiphase bubble flow. Powder Technol. 2022, 404, 117437. [Google Scholar] [CrossRef]
- Kuang, S.B.; Li, K.; Zou, R.P.; Pan, R.; Yu, A. Application of periodic boundary conditions to CFD-DEM simulation of gas–solid flow in pneumatic conveying. Chem. Eng. Sci. 2013, 93, 214–228. [Google Scholar] [CrossRef]
- Ostermeier, P.; DeYoung, S.; Vandersickel, A.; Gleis, S.; Spliethoff, H. Comprehensive in vestigation and comparison of TFM Dense DPM and CFD-DEM for dense fluidized beds. Chem. Eng. Sci. 2019, 196, 291–309. [Google Scholar] [CrossRef]
- Ebrahimi, M.; Crapper, M.; Ooi, J.Y. Numerical and experimental study of horizontal pneumatic transportation of spherical and low-aspect-ratio cylindrical particles. Powder Technol. 2016, 293, 48–59. [Google Scholar] [CrossRef]
- Du, J.; Hu, G.M.; Fang, Z.Q.; Wang, J. Simulation of dilute pneumatic conveying with different types of bends by CFD-DEM. IOP Conf. 2014, 22, 052004. [Google Scholar] [CrossRef]
- Sun, S.; Yuan, Z.; Peng, Z.; Moghtaderi, B.; Doroodchi, E. Computational investigation of particle flow characteristics in pressurised dense phase pneumatic conveying systems. Powder Technol. 2018, 329, 241–251. [Google Scholar] [CrossRef]
- Zhou, F.; Li, J.; Yang, D.; Li, Y.; Luo, J. Experimental study on collision characteristics of large coal particles (7–15mm) in 90° elbows of pneumatic conveying systems. Powder Technol. 2022, 396, 305–315. [Google Scholar] [CrossRef]
- Song, J.; Wang, T.; Hu, G.; Zhang, Z.; Zhao, W.; Wang, Z.; Zhang, Y. Conveying characteristics of shrimp feed pellets in pneumatic conveying system and minimum power consumption dissipation factor. Aquac. Eng. 2023, 102, 102347. [Google Scholar] [CrossRef]





















| Total Number of Grids | Total Number of Nodes |
|---|---|
| 178,421 | 184,359 |
| 273,129 | 284,014 |
| 370,124 | 385,011 |
| Project | Details | Indicators | Numerical Value | |
|---|---|---|---|---|
| CFD | Materials | Air | Density [kg/m3] | 1.225 |
| Viscosity [kg/m2·s] | 1.7894 × 10−5 | |||
| Solid | Density [kg/m3] | 1200 | ||
| Boundary conditions | Velocity inlet | Velocity magnitude [m/s] | 5~25 | |
| Turbulence | Turbulence intensity | 4% | ||
| Hydraulic diameter [mm] | 100 | |||
| Pressure outlet | Pressure | 0 | ||
| Wall | Wall movement | Still wall | ||
| Shear condition | No slip | |||
| Roughness [mm] | 0.0015 | |||
| Roughness constant | 0.5 | |||
| Time step | Fixed time step [s] | 1 × 10−4 | ||
| DEM | Materials | Wheat particle | Poisson’s ratio | 0.29 |
| Shear modulus [Pa] | 5 × 108 | |||
| Density [kg/m3] | 1350 | |||
| Walls | Poisson’s ratio | 0.3 | ||
| Shear modulus [Pa] | 7 × 1010 | |||
| Density [kg/m3] | 1200 | |||
| Contact | Particle–particle | Recovery coefficient | 0.5 | |
| Static friction coefficient | 0.35 | |||
| Rolling friction coefficient | 0.05 | |||
| Interactive contact model | Hertz–Mindlin (no slip) | |||
| Particle–wall | Coefficient of recovery | 0.50 | ||
| Static friction coefficient | 0.30 | |||
| Rolling friction coefficient | 0.05 | |||
| Contact model | Hertz–Mindlin (no slip) | |||
| Particle Factory | Parameter setting | Type of factory | Dynamic/unlimited number | |
| Mass flow [kg/s] | 0.42~2.1 | |||
| Fixed time step [s] | 5 × 10−6 | |||
| Mesh size [mm] | 10 | |||
| Particle equivalent diameter [mm] | 4 |
Disclaimer/Publisher’s Note: The statements, opinions and data contained in all publications are solely those of the individual author(s) and contributor(s) and not of MDPI and/or the editor(s). MDPI and/or the editor(s) disclaim responsibility for any injury to people or property resulting from any ideas, methods, instructions or products referred to in the content. |
© 2024 by the authors. Licensee MDPI, Basel, Switzerland. This article is an open access article distributed under the terms and conditions of the Creative Commons Attribution (CC BY) license (https://creativecommons.org/licenses/by/4.0/).
Share and Cite
Xu, D.; Li, Y.; Xu, X.; Zhang, Y.; Yang, L. Numerical Study of Wheat Particle Flow Characteristics in a Horizontal Curved Pipe. Processes 2024, 12, 900. https://doi.org/10.3390/pr12050900
Xu D, Li Y, Xu X, Zhang Y, Yang L. Numerical Study of Wheat Particle Flow Characteristics in a Horizontal Curved Pipe. Processes. 2024; 12(5):900. https://doi.org/10.3390/pr12050900
Chicago/Turabian StyleXu, Dongming, Yongxiang Li, Xuemeng Xu, Yongyu Zhang, and Lei Yang. 2024. "Numerical Study of Wheat Particle Flow Characteristics in a Horizontal Curved Pipe" Processes 12, no. 5: 900. https://doi.org/10.3390/pr12050900
APA StyleXu, D., Li, Y., Xu, X., Zhang, Y., & Yang, L. (2024). Numerical Study of Wheat Particle Flow Characteristics in a Horizontal Curved Pipe. Processes, 12(5), 900. https://doi.org/10.3390/pr12050900
