Experimental Study on the Vibration Reduction Performance of the Spindle Rotor of a Rubbing Machine Based on Aluminium Foam Material
Abstract
1. Introduction
2. Theoretical Basis
2.1. Modal Theory
2.2. Attenuated Vibration Theory
- where n is called the attenuation coefficient, and the unit is 1/s; is the undamped vibration inherent in the system. The above equations can be written as follows:
3. Materials and Methods
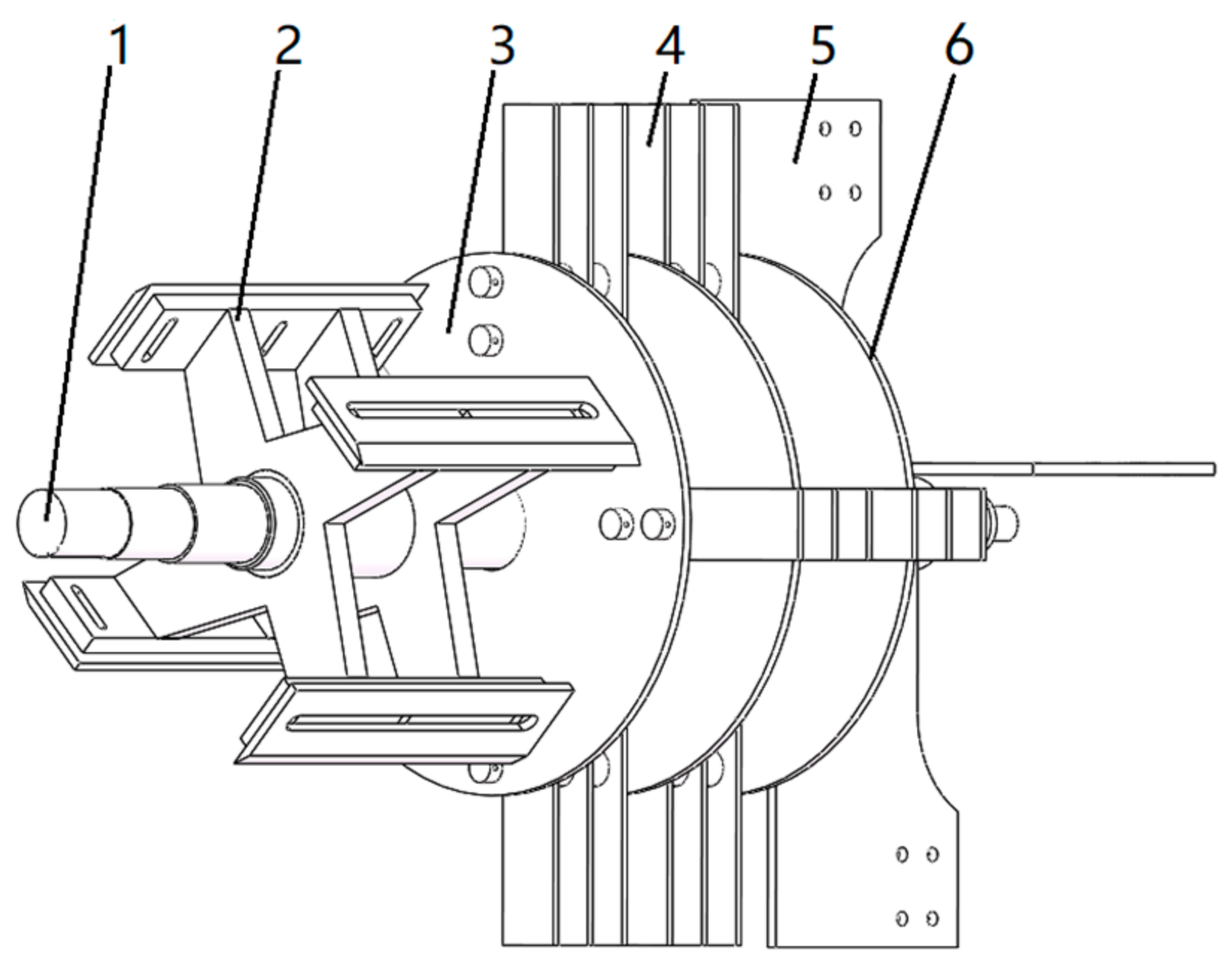
3.1. Modal Test and Finite Element Simulation Analysis of Main Shaft Rotor of Rubbing Machine
3.1.1. Modal Test of Main Shaft Rotor of Rubbing Machine
3.1.2. Finite Element Simulation Analysis of Rubbing Machine Spindle Rotor
3.2. Vibration Reduction Optimisation and Test Verification of the Main Shaft Rotor
4. Results
5. Conclusions
Author Contributions
Funding
Data Availability Statement
Acknowledgments
Conflicts of Interest
References
- Xiao, M.; Zhang, H.; Zhou, S.; Wang, K.; Ling, C. Research progress and trend of agricultural machinery fault diagnosis technology. J. Nanjing Agric. Univ. 2020, 43, 979–987. [Google Scholar]
- Solecki, L. Preliminary recognition of whole body vibration risk in private farmers working environment. Ann. Agric. Environ. Med. 2007, 6, 299–304. [Google Scholar]
- Chu, T.; Yang, Z.; Han, L. Analysis on satisfied degree and advantage degree of agricultural crop straw feed utilization in China. Trans. Chin. Soc. Agric. Eng. 2016, 32, 1–9. [Google Scholar]
- Chen, C.; Yang, Y.; Xie, G. Study of the development of crop straw management policy in China. J. China Agric. Univ. 2016, 21, 1–11. [Google Scholar]
- Yang, L.; Gao, Y. Bottlenecks of efficient utilization of corn straw feed and its solutions. J. Jilin Agric. Univ. 2016, 38, 634–638+644. [Google Scholar]
- Wang, J.; Xu, C.; Xu, Y.; Wang, J.; Zhou, W.; Wang, Q.; Tang, H. Resonance analysis and vibration reduction optimization of agricultural machinery frame—Taking vegetable precision seeder as an example. Processes 2021, 9, 1979. [Google Scholar] [CrossRef]
- Ji, J.; Chen, K.; Jin, X.; Wang, Z.; Dai, B.; Fan, J.; Lin, X. High-efficiency modal analysis and deformation prediction of rice transplanter based on effective independent method. Comput. Electron. Agric. 2020, 168, 105126. [Google Scholar]
- Son, G.; Kim, B.; Cho, S.; Park, Y. Optimization of the housing shape design for radiated noise reduction of an agricultural electric vehicle gearbox. Appl. Sci. 2020, 10, 8414. [Google Scholar] [CrossRef]
- Wang, J. Study on Noise Analysis of Rubbing and Breaking Machine; Inner Mongolia Agricultural University: Hohhot, China, 2010. [Google Scholar]
- Wang, J.; Wang, C.; Han, X.; Zhai, Z. The noise research of 9R-40 rub and breaking machine. J. Agric. Mech. Res. 2010, 32, 212–214+218. [Google Scholar]
- Wang, J.; Wang, C.; Wang, F. Numerical simulation on three-dimensional turbulence air flow of 9R-40 rubbing and breaking machine based on fluent software. Trans. Chin. Soc. Agric. Eng. 2010, 26, 165–169. [Google Scholar]
- Zhai, Z.; Zhang, L.; Liu, C.; Li, H.; Cui, H. Numerical simulation and experimental validation of radiation noise from vibrating shell of stalk impeller blower. Trans. Chin. Soc. Agric. Eng. 2017, 33, 72–79. [Google Scholar]
- Zhai, Z.; Wang, C. Numerical simulation and optimization for air flow in impeller blower. Trans. Chin. Soc. Agric. Mach. 2008, 39, 84–87. [Google Scholar]
- Zhai, Z.; Li, H.; Zhao, Y.; Liang, H. Analysis of stress-strain and structure optimization for impeller blower of the stalk rubbing machine. Mach. Des. Manuf. 2017, 07, 37–40. [Google Scholar]
- Zhai, Z.; Zhao, Y.; Wang, L. Stress-strain analysis of throwing impeller based on ABAQUS. Mach. Des. Manuf. 2015, 10, 42–45. [Google Scholar]
- Zhai, Z.; Zhou, L.; Yang, Z.; Zhao, Y.; Gan, S. Analysis on vibration characteristics of throwing impeller of stalk impeller blower. Trans. Chin. Soc. Agric. Eng. 2015, 31, 17–25. [Google Scholar]
- Wang, J.; Dong, H.; Zhai, Z.; Cheng, H.; Kang, X.; Wu, Y. Modal analysis and structure optimization of the rotors of forage rubbing and breaking machine. Noise Vib. Control 2018, 38, 52–56+61. [Google Scholar]
- Lan, Z.; Zhang, L.; Zhai, Z.; Li, Z.; Li, C. Analysis of the influences of structure parameters on pneumatic noise of the impeller blower of the stalk rubbing machine. J. Agric. Mech. Res. 2020, 42, 34–38+63. [Google Scholar]
- Kováčik, J.; Nosko, M.; Mináriková, N.; Simančík, F.; Jerz, J. Closed-cell powder metallurgical aluminium foams reinforced with 3 vol.% sic and 3 vol.% graphite. Processes 2021, 9, 2031. [Google Scholar] [CrossRef]
- Fiedler, T.; Sulong, M.A.; Mathier, V.; Belova, I.V.; Younger, C.; Murch, G.E. Mechanical properties of aluminium foam derived from infiltration casting of salt dough. Comput. Mater. Sci. 2014, 81, 246–248. [Google Scholar] [CrossRef]
- Belardi, V.G.; Fanelli, P.; Trupiano, S.; Vivio, F. Multiscale analysis and mechanical characterization of open-cell foams by simplified FE modeling. Eur. J. Mech. A: Solids 2021, 89, 104291. [Google Scholar] [CrossRef]
- Norbert, O.; Attila, S.; Alexandra, K.; Domonkos, K. Compressive mechanical properties of low-cost, aluminium matrix syntactic foams. Compos. Part A Appl. Sci. Manuf. 2020, 135, 105923. [Google Scholar]
- Su, L.; Liu, H.; Yao, G.; Zhang, J. Experimental study on the closed-cell aluminum foam shock absorption layer of a high-speed railway tunnel. Soil Dyn. Earthq. Eng. 2019, 119, 331–345. [Google Scholar] [CrossRef]
- Rajak, D.; Mahajan, N.; Selvaraj, S.K. Fabrication and experimental investigation on deformation behaviour of AlSi10Mg foam-filled mild steel tubes. Trans. Indian Inst. Met. 2020, 73, 587–594. [Google Scholar] [CrossRef]
- Fomin, O.; Lovska, A.F.; Skok, P.O.; Rybin, A.V. Feasibility study for using the fillers in the bearing structure components of a gondola car. Nauk. Visnyk Natsionalnoho Hirnychoho Universytetu 2022, 1, 51–56. [Google Scholar] [CrossRef]
- Lu, X.; Sun, W.; Liang, J.; Xie, J.; Lu, Z. Experimental research on exhaust silencer of foamed aluminum alloy. Trans. Chin. Soc. Agric. Mach. 1999, 5, 36–40. [Google Scholar]
- Ashby, M.F.; Evans, A.; Fleck, N.A.; Gibson, L.J.; Hutchinson, J.W.; Wadley, H.N.G. Metal foams: A design guide: Butterworth-Heinemann. Mater. Des. 2002, 23, 119. [Google Scholar] [CrossRef]
- Crupi, V.; Epasto, G.; Guglielmino, E. Impact response of aluminum foam sandwiches for light-weight ship structures. Metals 2011, 1, 98–112. [Google Scholar] [CrossRef]
- Banhart, J. Light-metal foams-history of innovation and technological challenges. Adv. Eng. Mater. 2013, 15, 82–111. [Google Scholar] [CrossRef]
- Jia, R.; Zhao, G. Progress in constitutive behavior of aluminum foam. Chin. J. Theor. Appl. Mech. 2020, 52, 603–622. [Google Scholar]
- Wan, T.; Liu, Y.; Zhou, C.; Chen, X.; Li, Y. Fabrication, properties, and applications of open-cell aluminum foams: A review. J. Mater. Sci. Technol. 2021, 62, 11–24. [Google Scholar] [CrossRef]
- Albertelli, P.; Esposito, S.; Valerio, M.; Massimo, G.; Michele, M. Effect of metal foam on vibration damping and its modelling. Int. J. Adv. Manuf. Technol. 2021, 117, 2349–2358. [Google Scholar] [CrossRef]
- Wang, J.; Xu, H.; Ma, N. Investigation on simulation and response of impact between flexible cantilever and steel ball. Chin. J. Appl. Mech. 2010, 27, 471–475+638. [Google Scholar]
- Bapat, C.; Popplewell, N. Several similar vibroimpact systems. J. Sound Vib. 1987, 113, 17–28. [Google Scholar] [CrossRef]
- Qin, Z.; Lu, Q. Analysis of process model based on restitution coefficient. J. Dyn. Control 2006, 12, 294–297. [Google Scholar]
- Zhu, D.; Xing, Y. Analytical solution of point elastic impact between structures. Chin. J. Theor. Appl. Mech. 1996, 28, 99–103. [Google Scholar]
- Yousuf, L.S. Influence of nonlinear dynamics behavior of the roller follower on the contact stress of polydyne cam profile. Processes 2022, 10, 585. [Google Scholar] [CrossRef]
- Li, W.; Chen, T.; Hu, X.; Huang, X. Computer simulation of vibroimpact absorbers. J. Xi’an Jiaotong Univ. 1998, 32, 32–35. [Google Scholar]
- Xing, Y. Analytical solution of linear elastic collision of beam structure. J. Beijing Univ. Aeronaut. Astronaut. 1998, 24, 633–637. [Google Scholar]
- Li, F. Experiment and Simulation Study of Sub-Impact in Beam Struck by Sphere; Anhui University of Technology: Hefei, China, 2016. [Google Scholar]
- Qi, X.; Yin, X.; Yang, H.; Jin, T. Study of sub-impact in simply supported beam struck by steel sphere. J. Mech. Strength 2015, 37, 45–51. [Google Scholar]
- Wang, P.; Li, G.; Li, X. Vibration characteristics analysis of o-shaped damping ring to balance damping gear transmission system for three-cylinder engine. Processes 2022, 10, 1685. [Google Scholar] [CrossRef]















| Order | Frequency/Hz | Damping/% |
|---|---|---|
| 1 | 113.59 | 0.90 |
| 2 | 138.59 | 0.24 |
| 3 | 143.83 | 0.39 |
| 4 | 154.31 | 2.34 |
| 5 | 233.34 | 5.66 |
| 6 | 262.38 | 3.72 |
| Modal Test Results | Simulation Test Results | Error/% | ||
|---|---|---|---|---|
| Order | Frequency Hz | Order | Frequency/Hz | |
| 1 | 113.59 | 7 | 116.77 | 2.8 |
| 2 | 138.59 | 8 | 139.03 | 0.3 |
| 3 | 143.83 | 9 | 144.54 | 0.5 |
| 4 | 154.31 | 10 | 156.04 | 1.1 |
| 5 | 233.34 | 11 | 223.53 | 4.2 |
| 6 | 262.38 | 12 | 285.22 | 8.7 |
Disclaimer/Publisher’s Note: The statements, opinions and data contained in all publications are solely those of the individual author(s) and contributor(s) and not of MDPI and/or the editor(s). MDPI and/or the editor(s) disclaim responsibility for any injury to people or property resulting from any ideas, methods, instructions or products referred to in the content. |
© 2023 by the authors. Licensee MDPI, Basel, Switzerland. This article is an open access article distributed under the terms and conditions of the Creative Commons Attribution (CC BY) license (https://creativecommons.org/licenses/by/4.0/).
Share and Cite
Yue, Y.; Tian, H.; Li, D.; Liu, F.; Wang, X.; Ren, X.; Zhao, K. Experimental Study on the Vibration Reduction Performance of the Spindle Rotor of a Rubbing Machine Based on Aluminium Foam Material. Processes 2023, 11, 1038. https://doi.org/10.3390/pr11041038
Yue Y, Tian H, Li D, Liu F, Wang X, Ren X, Zhao K. Experimental Study on the Vibration Reduction Performance of the Spindle Rotor of a Rubbing Machine Based on Aluminium Foam Material. Processes. 2023; 11(4):1038. https://doi.org/10.3390/pr11041038
Chicago/Turabian StyleYue, Yao, Haiqing Tian, Dapeng Li, Fei Liu, Xin Wang, Xianguo Ren, and Kai Zhao. 2023. "Experimental Study on the Vibration Reduction Performance of the Spindle Rotor of a Rubbing Machine Based on Aluminium Foam Material" Processes 11, no. 4: 1038. https://doi.org/10.3390/pr11041038
APA StyleYue, Y., Tian, H., Li, D., Liu, F., Wang, X., Ren, X., & Zhao, K. (2023). Experimental Study on the Vibration Reduction Performance of the Spindle Rotor of a Rubbing Machine Based on Aluminium Foam Material. Processes, 11(4), 1038. https://doi.org/10.3390/pr11041038

