Design of an Auxiliary Artificial Lymphatic Vessel in Treatment of Secondary Lymphedema Due to Breast Cancer
Abstract
1. Introduction
Problem Statement
2. Method
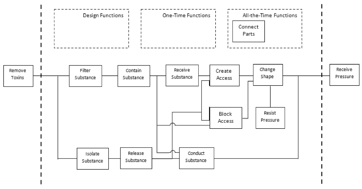
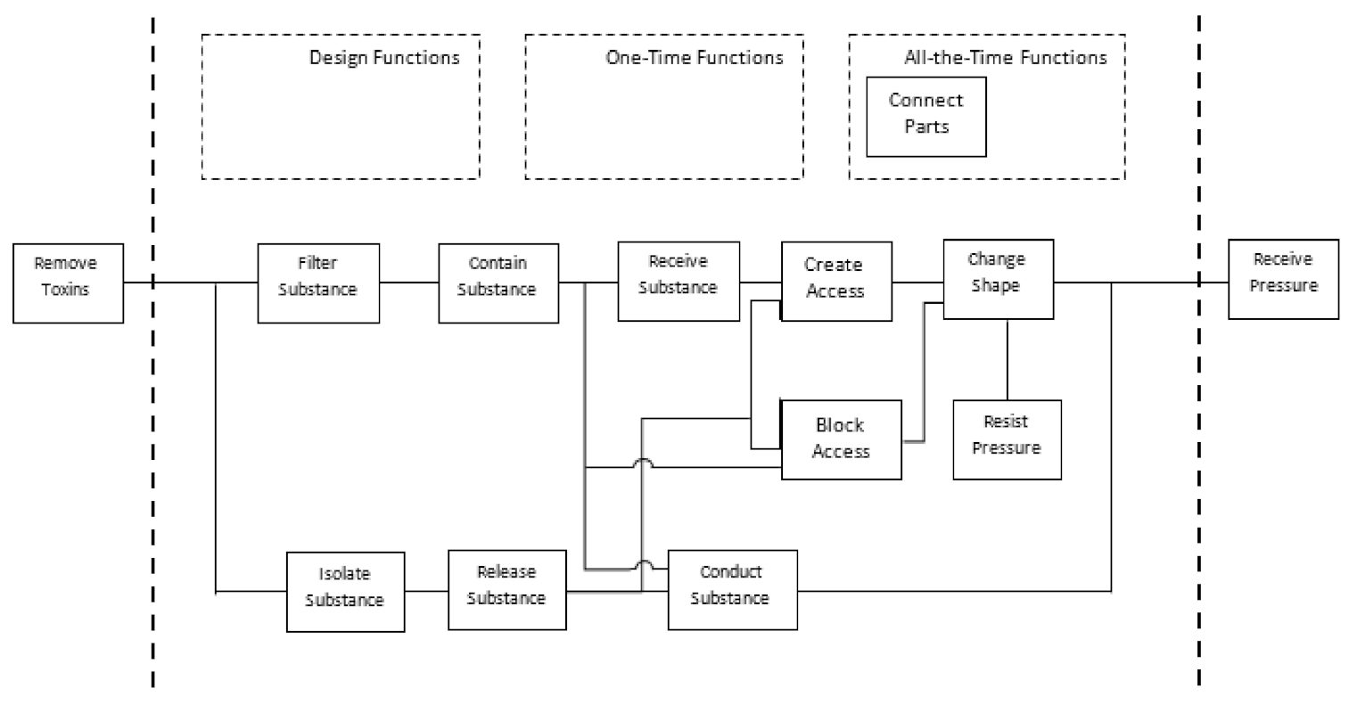
- Find a permanent function: connect parts. When the lymph node is removed, and by cauterization, the union between the lymphatic vessels is interrupted, preventing the flow of the lymph, which causes its accumulation.
- The essential functions, built based on the specific purpose of a lymphatic vessel, are twofold: allow the flow of the lymph and prevent the return of the fluid.
Project
- The stages of lymphedema selected are the most severe, with the lymphatic vessels damaged without possible reconstruction.
- Existing treatments such as anastomosis were analyzed, suggesting a connection to a thicker vein, with a different pressure (−6 to 0 mmHg) than that of a lymphatic vessel (25 and 32 mmHg). Therefore, with time, fibrosis is generated, again preventing the transit of lymph.
- In the case of lymph node transposition surgery, different kinds of interventions are required. One of these surgeries is used to remove lymphatic vessels in an unaffected limb and connect these vessels to the affected limb, causing a possible problem in the lymphatic flow.
- Obtain the lymphatic transit, connecting the lymphatic vessels through one or more artificial devices that allow the same pressure as the original 25 and 32 mmHg.
- The material required for the device must meet the compatibility specifications and not be an allergen for the body.
- The measures proposed for this model are the following: incoming valve >50–75 microns, outgoing valve <100 microns, able to resist a pressure of 25 and 32 mmHg, with an unidirectional flow of the lymphatic vessel of 2000 microns of length with a diameter of 20 microns.
3. Material Selection
Nano Printing
4. Results
4.1. Fluid Simulation Analysis
4.1.1. First Analysis with Version 1.0
4.1.2. Second Analysis with Version 2.0
4.2. Verification
5. Conclusions
6. Patents
Author Contributions
Funding
Institutional Review Board Statement
Informed Consent Statement
Data Availability Statement
Acknowledgments
Conflicts of Interest
Sample Availability
References
- INEGI. Estadísticas A Propósito Del Día Mundial De La Lucha Contra El Cáncer De Mama (19 De Octubre). 18/02/19, de INEGI Sitio Web. 2020. Available online: https://www.inegi.org.mx/contenidos/saladeprensa/aproposito/2020/Cancermama20.pdf (accessed on 26 October 2020).
- Pereira, N.; Koshima, I. Linfedema: Actualización en el diagnóstico y tratamiento quirúrgico. Rev. Chil. Cirugía 2018, 70, 589–597. [Google Scholar] [CrossRef]
- Organización Mundial de la Salud. Cáncer. 20/05/19, de OMS Sitio Web. 2018. Available online: https://www.who.int/es/health-topics/cancer#tab=tab_1 (accessed on 20 June 2019).
- Organización Mundial de la Salud. Cáncer de Mama. Datos y Cifras. 15/07/21, de OMS Sitio Web. 2021. Available online: https://www.who.int/es/news-room/fact-sheets/detail/breast-cancer (accessed on 15 July 2021).
- Enríquez Reyna, M.C.; Vargas Flores, M.D.L.A. Factores personales que afectan la calidad de vida de mujeres con cancer de mama del noreste de Mexico: Personal factors that affect quality of life of women with breast cancer from the northeast of Mexico. Hisp. Health Care Int. 2018, 16, 70–75. [Google Scholar] [CrossRef] [PubMed]
- Sat-Muñoz, D.; Contreras-Hernández, I.; Hernández-Chávez, G.A.; Solano-Murillo, P.; Mariscal-Ramírez, I.; Lomelí-García, M.; Morgan-Villela, G. Calidad de vida en mujeres mexicanas con cáncer de mama en diferentes etapas clínicas y su asociación con características socio-demográficas, estados co-mórbidos y características del proceso de atención en el Instituto Mexicano del Seguro Social. Value Health 2011, 14, S133–S136. [Google Scholar] [CrossRef] [PubMed][Green Version]
- Salvato, I.A.T.; Robles-Vidal, C. Lymphedema. Complications Post-Mastectomy. Rev. Mex. Mastología 2008, 3, 40–43. [Google Scholar]
- Cruz-Ramos, J.A.; Cedeño-Meza, A.; Bernal-Gallardo, J.A.; De La Mora-Jiménez, E.; Cervantes-Cardona, G.A.; Rivas-Rivera, F. Efecto de terapia descongestiva compleja en linfedema secundario al tratamiento quirúrgico y calidad de vida en mujeres con cáncer de mama. Salud Soc. 2018, 9, 088–096. [Google Scholar] [CrossRef]
- Domínguez Gil, M.R.; Acosta Mosquera, M.E.; Méndez Martín, I.; Maestre Ramos, I.; Pedrote Ramírez, C.; Frutos Cantó, M. Evaluación de la Calidad de Vida tras el tratamiento primario del cáncer de mama. Index Enfermería 2009, 18, 246–248. [Google Scholar] [CrossRef]
- American Cancer Society. Linfedema. 19/03/19, de American Cancer Society Sitio Web. 2019. Available online: https://www.cancer.org/es/tratamiento/tratamientos-y-efectos-secundarios/efectos-secundarios-fisicos/linfedema.html (accessed on 23 June 2019).
- Guillén-Paredes, M.P.; Carrasco-González, L.; Aguayo-Albasini, J.L.; Carrillo-Alcaraz, A. Variables relacionadas con la diseminación metastásica axilar en el cáncer de mama con ganglio centinela positivo. Evaluación de modelos predictivos. Revista de Senología y Patología Mamaria 2014, 27, 105–113. [Google Scholar] [CrossRef]
- Ocampo Díaz, E.J. Radioterapia Axilar Y Recurrencia Locorregional en Pacientes con Cáncer de Mama Sometidos a Cirugía de Conservación, Mastectomía y Disección Nodal T1-T2 con 1 A 3 Ganglios Positivos en el Instituto Nacional de Enfermedades Neoplásicas del 2000 al 2005. 2019. Available online: https://hdl.handle.net/20.500.12866/7105 (accessed on 13 March 2019).
- Johansson, K.; Hayes, S. A historical account of the role of exercise in the prevention and treatment of cancer-related lymphedema. Lymphology 2020, 53, 55–62. [Google Scholar] [CrossRef] [PubMed]
- McLaughlin, S.A.; Brunelle, C.L.; Taghian, A. Breast Cancer-Related Lymphedema: Risk Factors, Screening, Management, and the Impact of Locoregional Treatment. J. Clin. Oncol. 2020, 38, 2341–2350. [Google Scholar] [CrossRef] [PubMed]
- Ochalek, K.; Partsch, H.; Gradalski, T.; Szygula, Z. Do Compression Sleeves Reduce the Incidence of Arm Lymphedema and Improve Quality of Life? Two-Year Results from a Prospective Randomized Trial in Breast Cancer Survivors. Lymphat Res. Biol. 2019, 17, 70–77. [Google Scholar] [CrossRef] [PubMed]
- Gómez Guarín, J.C. Sondas Gamma para la Detección del Ganglio Centinela: Una Comparativa de los Impactos Ambientales del Ciclo de Vida. 2019. Available online: https://riunet.upv.es/bitstream/handle/10251/127145/G%C3%B3mez%20-%20SONDAS%20GAMMA%20PARA%20LA%20DETECCI%C3%93N%20DEL%20GANGLIO%20CENTINELA%3A%20UNA%20COMPARATIVA%20DE%20LOS%20IMPACTOS%20AMB....pdf?sequence=1&isAllowed=y (accessed on 12 November 2020).
- Rodríguez Manso, M.; Canosa Hermida, E.; Martín Mourelle, R.; Otero Villaverde, S.; Mora Boga, R.; Balboa Barreiro, V. Terapia descongestiva compleja en grados iniciales de linfedema secundario a cáncer de mama. Fisioterapia 2019, 41, 21–27. [Google Scholar] [CrossRef]
- Jiménez-Pérez, L.M.; Zepeda-Ornelas, E.A.; Laguna-Macías, P.K.; Frías-Terrones, M.G.; Meza-León, B. Linfedema secundario a cáncer de mama: ¿Una posible secuela a considerar? Rev. Salud. Pública Nutr. 2011, 12. Available online: https://www.medigraphic.com/cgi-bin/new/resumen.cgi?IDARTICULO=29823 (accessed on 12 November 2020).
- Millán, C. El linfedema, una Disfunción del Sistema Linfático 30/09/2020, de TOP DOCTORS Sitio Web. 2019. Available online: https://www.topdoctors.es/articulos-medicos/el-linfedema-una-disfuncion-del-sistema-linfatico (accessed on 29 November 2020).
- Pérez, J.A.; Salem, C.; Henning, E.; Uherek, F.; Schultz, C. Linfedema de miembro superior secundario al tratamiento de cáncer de mama. Cuad. Cirugía 2018, 15, 107–115. [Google Scholar] [CrossRef]
- Pereira, N.; Pons, G.; Masià, J. Linfedema asociado al cáncer de mama: Factores de riesgo, diagnóstico y tratamiento quirúrgico. Rev. Chil. Cirugía 2019, 71, 79–87. [Google Scholar]
- Carriquir, Y.C.; Giacher, O.V. Fundamentos, Evaluación, Puesta al día y Perspectivas de la Técnica Después de 25 Años. Available online: https://1library.co/document/zkw4vor8-lipoaspiraci%C3%B3n-fundamentos-evaluaci%C3%B3n-puesta-perspectivas-t%C3%A9cnica-despu%C3%A9s-a%C3%B1os.html (accessed on 12 August 2020).
- Obregón-Palaín, L.; Ruiz-Castilla, M.; Pérez-Sempere, M.; Serracanta-Domènech, J. Técnica de Charles en elefantiasis de extremidad inferior: Caso clínico. Cirugía Plástica Ibero-Latinoam. 2016, 42, 379–384. [Google Scholar]
- UK Design Council. What is the Framework for Innovation? Design Council’s Evolved Double Diamond. 25/11/18, de Design Council Sitio Web. 2015. Available online: https://www.designcouncil.org.uk/news-opinion/what-framework-innovation-design-councils-evolved-double-diamond (accessed on 19 March 2019).
- Bukhman, I. Technology for Innovation: How to Create New Systems, Develop Existing Systems and Solve Related Problems; Springer: Berlin/Heidelberg, Germany, 2021. [Google Scholar]
- Sara Camacho, N. Value engineering: Definition of functions through requirements and specifications on product design. SAVE Intern. Simmit 2021, 1, 289–297. [Google Scholar]
- Desponds, A.; Banyasz, A.; Montagnac, G.; Andraud, C.; Baldeck, P.; Parola, S. Microfabrication by two-photon lithography, and characterization, of SiO2/TiO2 based hybrid and ceramic microstructures. J. Sol-Gel Sci. Technol. 2020, 95, 733–745. [Google Scholar] [CrossRef]

















| Information | Function | ||
|---|---|---|---|
| Area | Requirement | Active Verb | Measurable Noun |
| Geometry | Diameter: 7 mm | Store | Substance |
| Volume: 0.4 mL | Store | Substance | |
| Create | Volume | ||
| Venous Connection | Create | Access | |
| Connect | Parts | ||
| Kinematics | Unidirectional flow | Conduct | Substance |
| Valve opening | Create | Access | |
| Receive | Substance | ||
| Ration | Substance | ||
| Release | Substance | ||
| Block | Access | ||
| Forces | Lymph flow depends on external forces, like muscle contractions and joint pumps | Change | Shape |
| Resist | Pressure | ||
| Material | Medical Grade | Comply | Regulations |
| Resist | Bacteria | ||
| Shore A80 | Change | Shape | |
| Receive | Pressure | ||
| Resist | Pressure | ||
Publisher’s Note: MDPI stays neutral with regard to jurisdictional claims in published maps and institutional affiliations. |
© 2021 by the authors. Licensee MDPI, Basel, Switzerland. This article is an open access article distributed under the terms and conditions of the Creative Commons Attribution (CC BY) license (https://creativecommons.org/licenses/by/4.0/).
Share and Cite
Durán-Aguilar, G.; Rossa-Sierra, A.; Fuentes-Aguilar, R.Q. Design of an Auxiliary Artificial Lymphatic Vessel in Treatment of Secondary Lymphedema Due to Breast Cancer. Healthcare 2022, 10, 68. https://doi.org/10.3390/healthcare10010068
Durán-Aguilar G, Rossa-Sierra A, Fuentes-Aguilar RQ. Design of an Auxiliary Artificial Lymphatic Vessel in Treatment of Secondary Lymphedema Due to Breast Cancer. Healthcare. 2022; 10(1):68. https://doi.org/10.3390/healthcare10010068
Chicago/Turabian StyleDurán-Aguilar, Gabriela, Alberto Rossa-Sierra, and Rita Q. Fuentes-Aguilar. 2022. "Design of an Auxiliary Artificial Lymphatic Vessel in Treatment of Secondary Lymphedema Due to Breast Cancer" Healthcare 10, no. 1: 68. https://doi.org/10.3390/healthcare10010068
APA StyleDurán-Aguilar, G., Rossa-Sierra, A., & Fuentes-Aguilar, R. Q. (2022). Design of an Auxiliary Artificial Lymphatic Vessel in Treatment of Secondary Lymphedema Due to Breast Cancer. Healthcare, 10(1), 68. https://doi.org/10.3390/healthcare10010068

