Computable Reformulation of Data-Driven Distributionally Robust Chance Constraints: Validated by Solution of Capacitated Lot-Sizing Problems
Abstract
1. Introduction
2. Data-Driven Adaptive Confidence Sets with Finite Parameters
2.1. Adaptive Estimation of Probability Density Functions
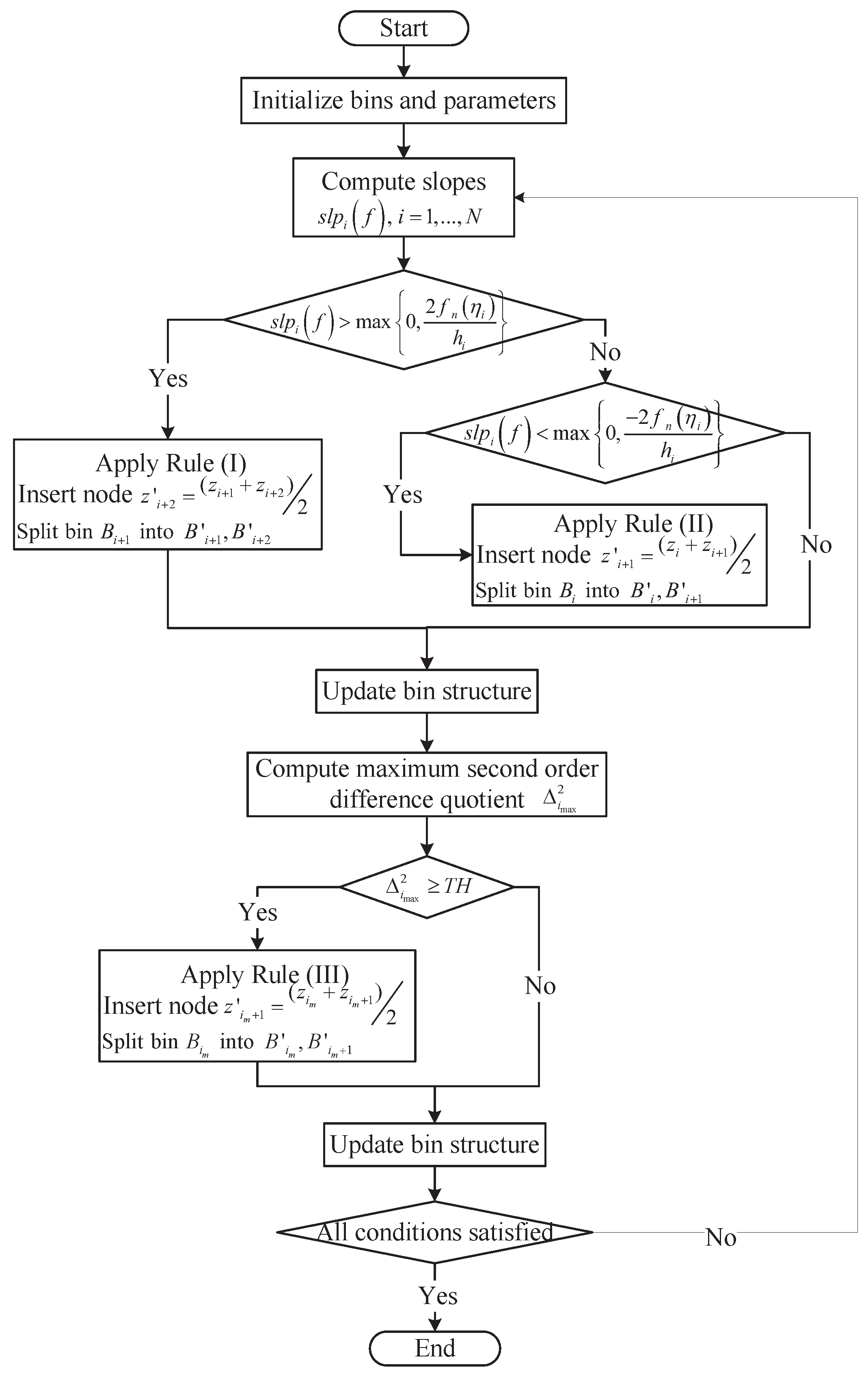
- (I)
- When , a new node is inserted into the -th bin. The original -th bin is split into two new sub-bins: . The midpoints of the new sub-bins and are and , respectively. Apply (3) to obtain the corresponding and for the two new sub-bins. Consequently, the updated midpoints are given by and , respectively. By rearranging the indices of all obtained bins, we insert more nodes till the inequality holds.
- (II)
- When , a new node is inserted into the i-th bin. Split into two sub-bins: . The midpoints of the new sub-bins and are and , respectively. Apply (3) to obtain the corresponding and for the two new sub-bins. Consequently, the updated midpoints are given by and , respectively. By rearranging the indices of all bins, we insert more nodes till holds.
- (III)
- Denote by , , and the three adjacent bins corresponding to this maximum second-order difference quotient, respectively. Let be the given interpolation tolerance. If it is required that the maximum second-order difference quotient , then we select the bin with the maximum frequency in , , and , denoted by . Add its midpoint as the newly inserted interpolator, i.e., . Split into two sub-bins: . The midpoints of the new sub-bins and are and , respectively. The updated midpoints are given by and , respectively. Consequently, among the three bins involved in the maximum second-order difference quotient, only the bin with a larger frequency needs to be further interpolated. With this new interpolator, we calculate the largest second-order difference quotient again and repeat the above interpolation until the inequality is satisfied.
2.2. Construction of Confidence Sets Only with Finitely Many Parameters
3. Reformulation of Data-Driven Distributionally Robust Chance Constraints
3.1. Reformulation of Distributionally Robust Chance Constraints with a Random Variable
- (1) When ,
- (2) When ,
- (3) When and ,
3.2. Extension to Multistage Chance-Constrained Programming
4. Numerical Tests
4.1. Stochastic Multiperiod Capacitated Lot-Sizing Problems
4.2. Reformulation of Models and Development of Algorithms
| Algorithm 1 Alternating DRCCP-LS algorithm |
| Input: Time horizon T; sample sizes: for ; sample data: for ; interpolation tolerance: ; divergence tolerance: , ; risk level with , ; cost parameters: , , , ; capacity parameters: , ; tolerance |
| Output: Optimal production plan and the minimum total cost |
| 1: Apply Rules (I)-(III) to determine the bin parameters , , and reference distributions , , |
| 2: Initialize a production plan, denoted by ; the total cost ; the iteration counter ; the convergence flag |
| 3: while not converged do |
| 4: Initialize robust quantiles of length T |
| 5: for to T do |
| 6: Compute cumulative production |
| 7: Solve the auxiliary problem (27) with . Denote its optimal solution by for |
| 8: With , , define a distribution function , and compute |
| 9: end for |
| 10: With , solve the master problem (28). The optimal solution is referred to as , and set |
| 11: if then |
| 12: |
| 13: else |
| 14: |
| 15: end if |
| 16: end while |
| 17: , , |
| 18: return and |
| Algorithm 2 Reformulated DRCCP-LS algorithm |
| Input: Time horizon T; sample sizes: for ; sample data: for ; interpolation tolerance: ; divergence tolerance: , ; risk parameters: , , ; cost parameters: , , , ; capacity parameters: , |
| Output: Optimal production plan and the minimum total cost |
| 1: Apply Rules (I)-(III) to determine the bin parameters , , and reference distributions , |
| 2: Compute the estimated cumulative distribution functions for , , using the reference distributions |
| 3: for to T do |
| 4: Compute the quantile |
| 5: end for |
| 6: Solve the MILP problem (30) to obtain and |
| 7: return and |
4.3. Numerical Tests
5. Conclusions
Author Contributions
Funding
Data Availability Statement
Conflicts of Interest
References
- Nemirovski, A.; Shapiro, A. Convex approximations of chance constrained programs. SIAM J. Optim. 2007, 17, 969–996. [Google Scholar] [CrossRef]
- Calafiore, G.C.; Ghaoui, L.E. On distributionally robust chance-constrained linear programs. J. Optim. Theory Appl. 2006, 130, 1–22. [Google Scholar] [CrossRef]
- Delage, E.; Ye, Y. Distributionally robust optimization under moment uncertainty with application to data-driven problems. Oper. Res. 2010, 58, 595–612. [Google Scholar] [CrossRef]
- Jiang, N.; Xie, W. ALSO-X#: Better convex approximations for distributionally robust chance constrained programs. Math. Program. 2025, 213, 575–638. [Google Scholar]
- Meng, Q.; Jin, X.; Luo, F.; Wang, Z.; Hussain, S. Distributionally robust scheduling for benefit allocation in regional integrated energy system with multiple stakeholders. J. Mod. Power Syst. Clean Energy 2024, 12, 1631–1642. [Google Scholar] [CrossRef]
- Mohajerin Esfahani, P.; Kuhn, D. Data-driven distributionally robust optimization using the Wasserstein metric: Performance guarantees and tractable reformulations. Math. Program. 2018, 171, 115–166. [Google Scholar] [CrossRef]
- Ning, C.; You, F. Optimization under uncertainty in the era of big data and deep learning: When machine learning meets mathematical programming. Comput. Chem. Eng. 2019, 125, 434–448. [Google Scholar] [CrossRef]
- Jiang, R.; Guan, Y. Data-driven chance constrained stochastic program. Math. Program. 2016, 158, 291–327. [Google Scholar] [CrossRef]
- Zymler, S.; Kuhn, D.; Rustem, B. Distributionally robust joint chance constraints with second-order moment information. Math. Program. 2013, 137, 167–198. [Google Scholar] [CrossRef]
- Shapiro, A.; Zhou, E.; Lin, Y. Bayesian distributionally robust optimization. SIAM J. Optim. 2023, 33, 1279–1304. [Google Scholar] [CrossRef]
- Jiang, Y.; Ren, Z.; Li, W. Committed carbon emission operation region for integrated energy systems: Concepts and analyses. IEEE Trans. Sustain. Energy 2023, 15, 1194–1209. [Google Scholar] [CrossRef]
- Kuhn, D.; Shafiee, S.; Wiesemann, W. Distributionally robust optimization. Acta Numer. 2025, 34, 579–804. [Google Scholar] [CrossRef]
- Nguyen, V.A.; Kuhn, D.; Mohajerin Esfahani, P. Distributionally robust inverse covariance estimation: The Wasserstein shrinkage estimator. Oper. Res. 2022, 70, 490–515. [Google Scholar] [CrossRef]
- Rahimian, H.; Mehrotra, S. Frameworks and results in distributionally robust optimization. Open J. Math. Optim. 2022, 3, 4. [Google Scholar] [CrossRef]
- Chen, Z.; Kuhn, D.; Wiesemann, W. Data-driven chance constrained programs over Wasserstein balls. Oper. Res. 2024, 72, 410–424. [Google Scholar] [CrossRef]
- Zhong, J.; Zhao, Y.; Li, Y.; Yan, M.; Peng, Y.; Cai, Y.; Cao, Y. Synergistic operation framework for the energy hub merging stochastic distributionally robust chance-constrained optimization and Stackelberg game. IEEE Trans. Smart Grid 2024, 16, 1037–1050. [Google Scholar] [CrossRef]
- Küçükyavuz, S.; Jiang, R. Chance-constrained optimization under limited distributional information: A review of reformulations based on sampling and distributional robustness. EURO J. Comput. Optim. 2022, 10, 100030. [Google Scholar] [CrossRef]
- Zhang, B.; Meng, L.L.; Lu, C.; Han, Y.Y.; Sang, H.Y. Automatic design of constructive heuristics for a reconfigurable distributed flowshop group scheduling problem. Comput. Oper. Res. 2024, 161, 106432. [Google Scholar] [CrossRef]
- Pearson, K. Contributions to the mathematical theory of evolution. Philos. Trans. R. Soc. Lond. A 1894, 185, 71–110. [Google Scholar] [CrossRef]
- Scott, D.W. Multivariate Density Estimation: Theory, Practice, and Visualization; John Wiley & Sons: Hoboken, NJ, USA, 2015. [Google Scholar]
- Van Kerm, P. Adaptive kernel density estimation. Stata J. 2003, 3, 148–156. [Google Scholar] [CrossRef]
- Hoeffding, W. Probability Inequalities for Sums of Bounded Random Variables. J. Am. Stat. Assoc. 1963, 58, 13–30. [Google Scholar] [CrossRef]
- Levin, D.A.; Peres, Y. Markov Chains and Mixing Times; American Mathematical Society: Providence, RI, USA, 2017. [Google Scholar]
- Beraldi, P.; Ruszczyński, A. A branch and bound method for stochastic integer problems under probabilistic constraints. Optim. Methods Softw. 2002, 17, 359–382. [Google Scholar] [CrossRef]
- Chen, Y.; Guo, Q.; Sun, H.; Li, Z.; Wu, W.; Li, Z. A distributionally robust optimization model for unit commitment based on Kullback–Leibler divergence. IEEE Trans. Power Syst. 2018, 33, 5147–5160. [Google Scholar] [CrossRef]




| Sample Size | Time (s) | |||||
|---|---|---|---|---|---|---|
| CCC | DRCCP-E | DRCCP-A | DRCCP-AT | DRCCP-KL | ||
| 5000 | 0.42688 | 0.29209 | 13.371 | 17.849 | 51.000 | |
| 0.41052 | 0.28372 | 13.093 | 17.635 | 50.675 | ||
| 0.38937 | 0.27614 | 13.261 | 17.658 | 51.035 | ||
| 50,000 | 0.40226 | 0.25176 | 13.819 | 32.574 | 60.924 | |
| 0.40113 | 0.23571 | 3.7973 | 32.282 | 59.093 | ||
| 0.38458 | 0.25093 | 3.8887 | 32.151 | 59.934 | ||
| Method | Minimized Total Cost | ||||
|---|---|---|---|---|---|
| CCC | 1048 | 1048 | 1048 | 1048 | |
| DRCCP-E | 1336.5 | 1367.5 | 1398.5 | 1514.5 | |
| DRCCP-A | 1367.5 | 1472 | 1615 | 1619 | |
| DRCCP-AT | 1383 | 1526 | 1545.5 | 1657.5 | |
| DRCCP-KL | 1472 | 1418 | 1485 | 1471.5 | |
| CCC | 972.5 | 972.5 | 972.5 | 972.5 | |
| DRCCP-E | 1201 | 1216.5 | 1232 | 1263 | |
| DRCCP-A | 1232 | 1278.5 | 1367.5 | 1441 | |
| DRCCP-AT | 1218.5 | 1278.5 | 1338.5 | 1412 | |
| DRCCP-KL | 1338.5 | 1383 | 1317 | 1303.5 | |
| CCC | 912.5 | 912.5 | 912.5 | 912.5 | |
| DRCCP-E | 988 | 1019 | 1050 | 1112 | |
| DRCCP-A | 1096.5 | 1158.5 | 1216.5 | 1263 | |
| DRCCP-AT | 1112 | 1158.5 | 1218.5 | 1249.5 | |
| DRCCP-KL | 1247.5 | 1425 | 1350 | 1230 | |
| Method | Solution | ||||
|---|---|---|---|---|---|
| CCC | (20,24;1,1) | (20,24;1,1) | (20,24;1,1) | (20,24;1,1) | |
| DRCCP-E | (23,37;1,1) | (23,39;1,1) | (23,41;1,1) | (27,41;1,1) | |
| DRCCP-A | (23,39;1,1) | (25,42;1,1) | (31,40;1,1) | (29,44;1,1) | |
| DRCCP-AT | (23,40;1,1) | (29,38;1,1) | (27,43;1,1) | (33,39;1,1) | |
| DRCCP-KL | (25,42;1,1) | (21,46;1,1) | (34,26;1,1) | (33,27;1,1) | |
| CCC | (19,21;1,1) | (19,21;1,1) | (19,21;1,1) | (19,21;1,1) | |
| DRCCP-E | (21,32;1,1) | (21,33;1,1) | (21,34;1,1) | (21,36;1,1) | |
| DRCCP-A | (21,34;1,1) | (21,37;1,1) | (23,39;1,1) | (25,40;1,1) | |
| DRCCP-AT | (20,35;1,1) | (21,37;1,1) | (22,39;1,1) | (24,40;1,1) | |
| DRCCP-KL | (22,39;1,1) | (23,40;1,1) | (25,32;1,1) | (24,33;1,1) | |
| CCC | (18,19;1,1) | (18,19;1,1) | (18,19;1,1) | (18,19;1,1) | |
| DRCCP-E | (19,22;1,1) | (19,24;1,1) | (19,26;1,1) | (19,30;1,1) | |
| DRCCP-A | (19,29;1,1) | (19,33;1,1) | (21,33;1,1) | (21,36;1,1) | |
| DRCCP-AT | (19,30;1,1) | (19,33;1,1) | (20,35;1,1) | (20,37;1,1) | |
| DRCCP-KL | (21,35;1,1) | (33,24;1,1) | (24,36;1,1) | (22,32;1,1) | |
| Method | Violation Probability | ||||
|---|---|---|---|---|---|
| CCC | 0.047 | 0.047 | 0.047 | 0.047 | |
| DRCCP-E | 0.043 | 0.040 | 0.020 | 0.010 | |
| DRCCP-A | 0.040 | 0.030 | 0.020 | 0.017 | |
| DRCCP-AT | 0.040 | 0.030 | 0.017 | 0.017 | |
| DRCCP-KL | 0.043 | 0.043 | 0.043 | 0.043 | |
| CCC | 0.067 | 0.067 | 0.067 | 0.067 | |
| DRCCP-E | 0.047 | 0.047 | 0.047 | 0.043 | |
| DRCCP-A | 0.047 | 0.043 | 0.043 | 0.040 | |
| DRCCP-AT | 0.047 | 0.047 | 0.043 | 0.040 | |
| DRCCP-KL | 0.047 | 0.043 | 0.043 | 0.043 | |
| CCC | 0.103 | 0.103 | 0.103 | 0.103 | |
| DRCCP-E | 0.050 | 0.050 | 0.047 | 0.047 | |
| DRCCP-A | 0.047 | 0.047 | 0.047 | 0.047 | |
| DRCCP-AT | 0.047 | 0.047 | 0.047 | 0.047 | |
| DRCCP-KL | 0.047 | 0.047 | 0.043 | 0.047 | |
Disclaimer/Publisher’s Note: The statements, opinions and data contained in all publications are solely those of the individual author(s) and contributor(s) and not of MDPI and/or the editor(s). MDPI and/or the editor(s) disclaim responsibility for any injury to people or property resulting from any ideas, methods, instructions or products referred to in the content. |
© 2026 by the authors. Licensee MDPI, Basel, Switzerland. This article is an open access article distributed under the terms and conditions of the Creative Commons Attribution (CC BY) license.
Share and Cite
Deng, H.; Wan, Z. Computable Reformulation of Data-Driven Distributionally Robust Chance Constraints: Validated by Solution of Capacitated Lot-Sizing Problems. Mathematics 2026, 14, 331. https://doi.org/10.3390/math14020331
Deng H, Wan Z. Computable Reformulation of Data-Driven Distributionally Robust Chance Constraints: Validated by Solution of Capacitated Lot-Sizing Problems. Mathematics. 2026; 14(2):331. https://doi.org/10.3390/math14020331
Chicago/Turabian StyleDeng, Hua, and Zhong Wan. 2026. "Computable Reformulation of Data-Driven Distributionally Robust Chance Constraints: Validated by Solution of Capacitated Lot-Sizing Problems" Mathematics 14, no. 2: 331. https://doi.org/10.3390/math14020331
APA StyleDeng, H., & Wan, Z. (2026). Computable Reformulation of Data-Driven Distributionally Robust Chance Constraints: Validated by Solution of Capacitated Lot-Sizing Problems. Mathematics, 14(2), 331. https://doi.org/10.3390/math14020331

