AFSA-FastICA-CEEMD Rolling Bearing Fault Diagnosis Method Based on Acoustic Signals
Abstract
1. Introduction
2. Theoretical Background
2.1. Artificial Fish Swarm Algorithm
2.1.1. Foraging Behavior
2.1.2. Swarming Behavior
2.1.3. Rear-End Collision Behavior
2.1.4. Random Behavior
2.1.5. Billboard
2.2. The Fast Independent Component Analysis (Fast ICA) Algorithm
- The source signal matrix can only contain one source signal with a Gaussian distribution probability density function [23]; if there are multiple such signals, they cannot be separated.
- The components of the source signal matrix must be linearly independent, meaning that the source signal matrix must be of full rank.
- step1
- Collect the corresponding target device signals.
- step2
- Center the collected mixed signals to obtain data with a mean of 0 and a standard deviation of 1, following a standard normal distribution.
- step3
- The whitened mixed signals are processed after centering. Whitening can eliminate the correlation between the mixed signals.
- step4
- The matrix is initialized with random weights [31], and the nonlinear function G is introduced into the algorithm.

2.3. CEEMD Denoising Method
- (1)
- Let the number of ensemble averages be , and the number of signal aggregations be . We add a white-noise time series to the original-signal time series, successfully constructing two entirely new time series:where and are the new signals generated after adding white noise for the time, and is the white noise signal added during the decomposition step of the experiment.
- (2)
- Introduce and into the CEEMD algorithm, perform decompositions, and obtain the components.where and are the two sets of IMF components obtained from the decomposition of the iteration.
- (3)
- Repeat step (2) until is achieved.
- (4)
- Calculate the overall average component value of the component from the CEEMD decomposition in the iteration:
- (5)
- Obtain the overall average value :
2.4. Cross-Correlation Coefficient
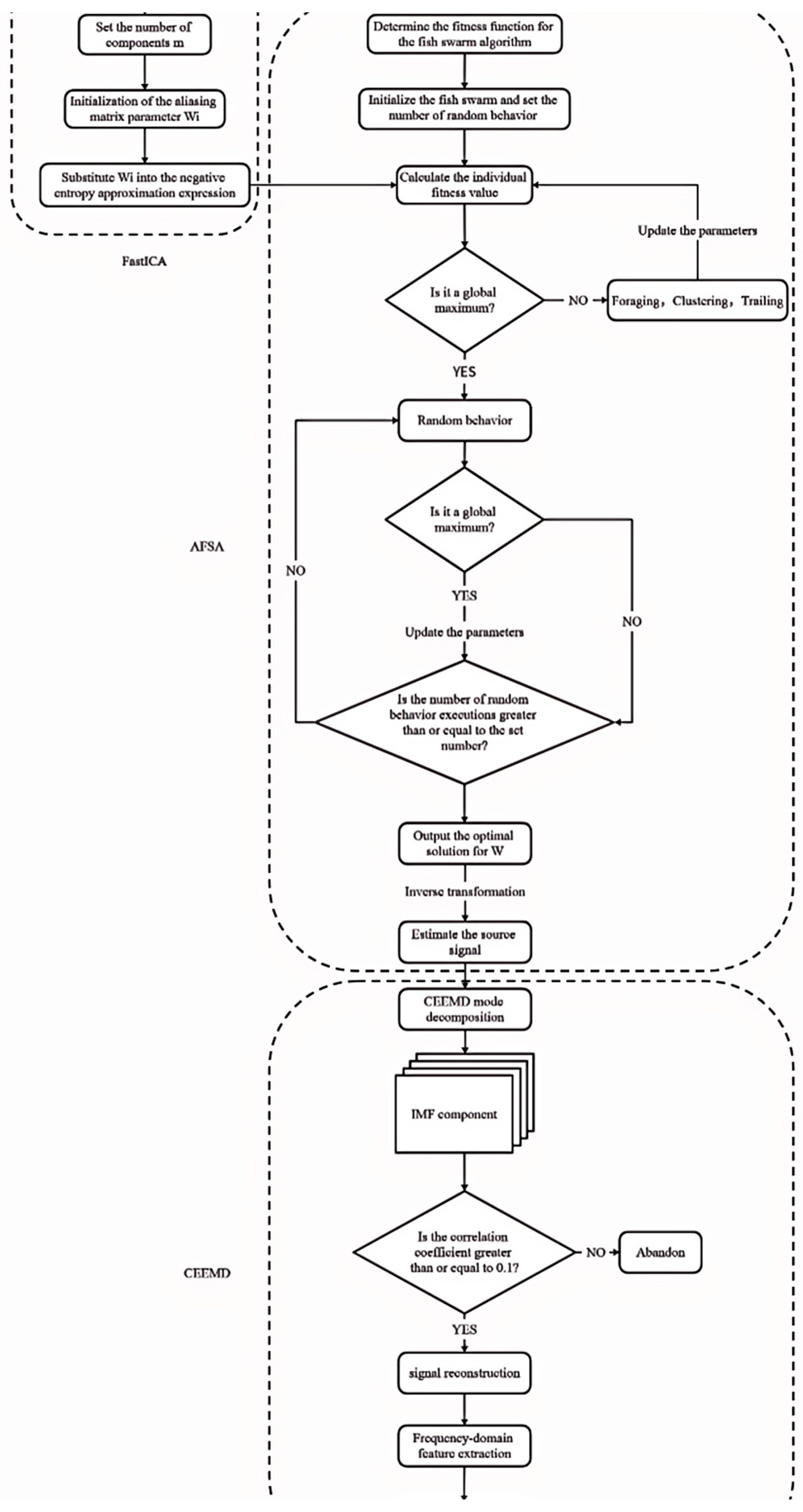
3. The ASFA-FastICA-CEEMD Framework
- (1)
- In the FastICA module, set the number of components and initialize the mixing matrix .
- (2)
- Substitute into the approximate expression of negative entropy to obtain:
- (3)
- (4)
- Initialize the fish swarm and set the number of iterations for the random behavior execution.
- (5)
- Search for the maximum point of .
- (6)
- Obtain the global optimal solution of the matrix, and perform the inverse transformation [39] to obtain the estimated source signal.
- (7)
- Perform CEEMD modal decomposition on the estimated source signal.
- (8)
- (9)
- Perform a Fast Fourier Transform (FFT) on the reconstructed signal to extract frequency-domain features, and use the frequency-domain feature information [41] for fault diagnosis.

- (1)
- Constructing the cost function: AFSA constructs a cost function using condition . This cost function is typically associated with FastICA’s objective function (such as negative entropy or a similar optimization goal). The goal of the cost function is to minimize the system’s energy, thereby optimizing the mixing matrix .
- (2)
- Initializing the fish swarm: In AFSA, a fish swarm is initialized, where each fish represents a potential solution (i.e., a candidate value for the mixing matrix ).
- (3)
- Random behavior and search: Each fish in the swarm performs random movements in the solution space based on its behaviors (such as foraging, following, etc.). Each fish adjusts its position according to the value of the cost function , moving closer to a better solution.
- (4)
- Searching for the maximum point: After several random movements and local searches, the fish swarm gradually concentrates on the maximum point in the solution space, thereby obtaining the global optimal solution for the mixing matrix .
4. Simulation Experiments
4.1. AFSA-FastICA Simulation Experiment
4.2. The CEEMD Denoising Simulation Experiment
5. Experiment
5.1. Experimental Equipment Parameters
5.2. Experimental Procedure
6. Discussion
6.1. In the Signal Separation Comparison Experiment
6.1.1. Signal Without AFSA Algorithm Separation (Figure 15)
6.1.2. Signal Separated Using the AFSA Algorithm
6.1.3. Statistical Analysis of Separation Similarity
6.2. Comparison Experiment Before and After CEEMD Denoising
6.2.1. Signal-to-Noise Ratio (SNR) Improvement
6.2.2. Mean Squared Error (MSE) Reduction
6.2.3. Changes in Spectral Features
6.2.4. Quantitative Analysis Results
7. Conclusions
Author Contributions
Funding
Data Availability Statement
Acknowledgments
Conflicts of Interest
References
- Nandi, S.; Toliyat, H.A.; Li, X. Condition monitoring and fault diagnosis of electrical motors—A review. IEEE Trans. Energy Convers. 2005, 20, 719–729. [Google Scholar] [CrossRef]
- Wang, X.; Zhao, J.; Wu, X. Comprehensive Separation Algorithm for Single-Channel Signals Based on Symplectic Geometry Mode Decomposition. Sensors 2024, 24, 462. [Google Scholar] [CrossRef] [PubMed]
- Li, J.; Meng, Z.; Yin, N.; Pan, Z.; Cao, L.; Fan, F. Multi-source feature extraction of rolling bearing compression measurement signal based on independent component analysis. Measurement 2021, 172, 108908. [Google Scholar] [CrossRef]
- Ding, H.; Wang, Y.; Yang, Z.; Pfeiffer, O. Nonlinear blind source separation and fault feature extraction method for mining machine diagnosis. Appl. Sci. 2019, 9, 1852. [Google Scholar] [CrossRef]
- Wang, M.; Cui, X.; Wang, T.; Jiang, T.; Gao, F.; Cao, J. Eye blink artifact detection based on multi-dimensional EEG feature fusion and optimization. Biomed. Signal Process. Control. 2023, 83, 104657. [Google Scholar] [CrossRef]
- Wang, Q.; Wang, L.; Yu, H.; Wang, D.; Nandi, A.K. Utilizing SVD and VMD for denoising non-stationary signals of roller bearings. Sensors 2022, 22, 195. [Google Scholar] [CrossRef]
- Zhang, S.B.; Lu, S.L.; He, Q.B.; Kong, F. Time-varying singular value decomposition for periodic transient identification in bearing fault diagnosis. J. Sound Vib. 2016, 379, 213–231. [Google Scholar] [CrossRef]
- Zhang, Q.C.; Liu, Y.S.; Yang, W. Underwater Transient Noise Duration Estimation Method Based on the Page Test. In Proceedings of the 2024 OES China Ocean Acoustics (COA), Harbin, China, 29–31 May 2024; IEEE: Piscataway, NJ, USA, 2024; pp. 1–4. [Google Scholar]
- Das, S.; Khatri, S.; Saha, A. Position sensitive detector based non-contact vibration measurement with laser triangulation method utilizing Gabor Transform for noise reduction. J. Vib. Control. 2024, 30, 1984–1994. [Google Scholar] [CrossRef]
- Mao, B.; Yang, H.; Li, W.; Zhu, X.; Zheng, Y. Multi-Frequency Noise Reduction Method for Underwater Radiated Noise of Autonomous Underwater Vehicles. J. Mar. Sci. Eng. 2024, 12, 705. [Google Scholar] [CrossRef]
- Nguyen, C.D.; Kim, C.H.; Kim, J.M. Gearbox Fault Identification Model Using an Adaptive Noise Canceling Technique, Heterogeneous Feature Extraction, and Distance Ratio Principal Component Analysis. Sensors 2022, 22, 4091. [Google Scholar] [CrossRef]
- Saber, T.; Achour, V.; Noura, A. Denoising sensors signals within mechatronic systems using EMD method. In Proceedings of the 2015 World Congress on Information Technology and Computer Applications (WCITCA), Hammamet, Tunisia, 11–13 June 2015. [Google Scholar]
- Ren, G.; Liu, Z. An improved EMD adaptive denoising and feature extraction algorithm. In Proceedings of the 2019 IEEE International Conference on Signal Processing, Communications and Computing (ICSPCC), Dalian, China, 20–22 September 2019. [Google Scholar]
- Wu, Z.; Huang, N.E. Ensemble empirical mode decomposition: A noise-assisted data analysis method. Adv. Adapt. Data Anal. 2009, 1, 1–41. [Google Scholar] [CrossRef]
- Jin, T.; Li, Q.; Mohamed, M.A. A novel adaptive EEMD method for switchgear partial discharge signal denoising. IEEE Access 2019, 7, 58139–58147. [Google Scholar] [CrossRef]
- Salunkhe, V.G.; Khot, S.M.; Desavale, R.G.; Yelve, N.P. Unbalance Bearing Fault Identification Using Highly Accurate Hilbert–Huang Transform Approach. J. Nondestruct. Eval. Diagn. Progn. Eng. Syst. 2023, 6, 031005. [Google Scholar] [CrossRef]
- Neshat, M.; Adeli, A.; Sepidnam, G.; Sargolzaei, M.; Toosi, A.N. A review of artificial fish swarm optimization methods and applications. Int. J. Smart Sens. Intell. Syst. 2012, 5, 108. [Google Scholar] [CrossRef]
- Pourpanah FWang, R.; Lim, C.P.; Wang, X.Z.; Yazdani, D. A review of artificial fish swarm algorithms: Recent advances and applications. Artif. Intell. Rev. 2023, 56, 1867–1903. [Google Scholar] [CrossRef]
- Neshat, M.; Sepidnam, G.; Sargolzaei, M.; Toosi, A.N. Artificial fish swarm algorithm: A survey of the state-of-the-art, hybridization, combinatorial and indicative applications. Artif. Intell. Rev. 2014, 42, 965–997. [Google Scholar] [CrossRef]
- Luan, X.Y.; Li, Z.P.; Liu, T.Z. A novel attribute reduction algorithm based on rough set and improved artificial fish swarm algorithm. Neurocomputing 2016, 174, 522–529. [Google Scholar] [CrossRef]
- Lee, T.W. Independent Component Analysis; Springer: Boston, MA, USA, 1998. [Google Scholar]
- Ablin, P.; Cardoso, J.F.; Gramfort, A. Faster independent component analysis by preconditioning with Hessian approximations. IEEE Trans. Signal Process. 2018, 66, 4040–4049. [Google Scholar] [CrossRef]
- Langlois, D.; Chartier, S.; Gosselin, D. An introduction to independent component analysis: InfoMax and FastICA algorithms. Tutor. Quant. Methods Psychol. 2010, 6, 31–38. [Google Scholar] [CrossRef]
- Miao, F.; Zhao, R.; Jia, L.; Wang, X. Multisource fault signal separation of rotating machinery based on wavelet packet and fast independent component analysis. Int. J. Rotating Mach. 2021, 2021, 9914724. [Google Scholar] [CrossRef]
- Tharwat, A. Independent component analysis: An introduction. Appl. Comput. Inform. 2021, 17, 222–249. [Google Scholar] [CrossRef]
- Erdogmus, D.; Hild, K.E.; Rao, Y.N.; Príncipe, J.C. Minimax mutual information approach for independent component analysis. Neural Comput. 2004, 16, 1235–1252. [Google Scholar] [CrossRef] [PubMed]
- Barhatte, A.S.; Ghongade, R.; Tekale, S.V. Noise analysis of ECG signal using fast ICA. In Proceedings of the 2016 Conference on Advances in Signal Processing (CASP), Pune, India, 9–11 June 2016; IEEE: Piscataway, NJ, USA, 2016; pp. 118–122. [Google Scholar]
- Hyvarinen, A. Fast and robust fixed-point algorithms for independent component analysis. IEEE Trans. Neural Netw. 1999, 10, 626–634. [Google Scholar] [CrossRef]
- Zhang, Z.; Tang, X.; Liu, C.; Li, X.; Ren, S. Multiple ultrasonic partial discharge DOA estimation performance of KPCA Pseudo-Whitening mnc-FastICA. Measurement 2024, 231, 114596. [Google Scholar] [CrossRef]
- Ce, J.; Yang, Y.; Peng, Y. A new FastICA algorithm of Newton’s iteration. In Proceedings of the 2010 2nd International Conference on Education Technology and Computer, Shanghai, China, 22–24 June 2010; IEEE: Piscataway, NJ, USA, 2010; Volume 3, pp. V3-481–V3-484. [Google Scholar]
- Sonfack, G.B.; Ravier, P. Application of Single Channel Blind Source Separation Based-EEMD-PCA and Improved FastICA algorithm on Non-intrusive Appliances Load identification. J. Electr. Electron. Eng. 2022, 10, 114–120. [Google Scholar]
- Gu, J.; Peng, Y. An improved complementary ensemble empirical mode decomposition method and its application in rolling bearing fault diagnosis. Digit. Signal Process. 2021, 113, 103050. [Google Scholar] [CrossRef]
- Huang, S.; Wang, X.; Li, C.; Kang, C. Data decomposition method combining permutation entropy and spectral substitution with ensemble empirical mode decomposition. Measurement 2019, 139, 438–453. [Google Scholar] [CrossRef]
- Pan, Z.; Xu, B.; Chen, W.; Fan, D.; Meng, X.; Peng, M.; Zhou, C. Improved Complete Ensemble Empirical Mode Decomposition with Adaptive Noise and Its Application in Noise Reduction for Fiber Optic Sensing. J. Light. Technol. 2024, 43, 2466–2474. [Google Scholar] [CrossRef]
- Yeh, J.R.; Shieh, J.S.; Huang, N.E. Complementary ensemble empirical mode decomposition: A novel noise enhanced data analysis method. Adv. Adapt. Data Anal. 2010, 2, 135–156. [Google Scholar] [CrossRef]
- Huang, N.E.; Shen, Z.; Long, S.R.; Wu, M.C.; Shih, H.H.; Zheng, Q.; Yen, N.-C.; Tung, C.C.; Liu, H.H. The empirical mode decomposition and the Hilbert spectrum for nonlinear and non-stationary time series analysis. Proc. R. Soc. Lond. Ser. A Math. Phys. Eng. Sci. 1998, 454, 903–995. [Google Scholar] [CrossRef]
- Zheng, H.; Dang, C.; Gu, S.; Peng, D.; Chen, K. A quantified self-adaptive filtering method: Effective IMFs selection based on CEEMD. Meas. Sci. Technol. 2018, 29, 085701. [Google Scholar] [CrossRef]
- Wang, M.; Bai, L.; Luo, L.; Jin, Y.; He, R.; Guo, S. An underdetermined environmental sound source separation algorithm based on improved complete ensemble EMD with adaptive noise and ICA. In Proceedings of the 2021 IEEE 21st International Conference on Communication Technology (ICCT), Tianjin, China, 13–16 October 2021; IEEE: Piscataway, NJ, USA, 2021; pp. 1335–1340. [Google Scholar]
- Sun, H.; Wang, H.; Guo, J. A single-channel blind source separation technique based on AMGMF and AFEEMD for the rotor system. IEEE Access 2018, 6, 50882–50890. [Google Scholar] [CrossRef]
- Yang, J.; Wang, X.; Wu, J.; Fen, Z. A noise reduction method based on CEEMD-RobustICA and its application in pipeline blockage signal. J. Appl. Sci. Eng. 2019, 22, 1–10. [Google Scholar]
- Tao, R.; Zhang, Y.; Wang, L.; Zhao, X. Research of tool state recognition based on CEEMD-WPT. In Proceedings of the Cloud Computing and Security: 4th International Conference, ICCCS 2018, Haikou, China, 8–10 June 2018; Revised Selected Papers, Part II 4. Springer International Publishing: Cham, Switzerland, 2018; pp. 59–70. [Google Scholar]
- Jiang, H.M.; Xie, K.; Wang, Y.F. Optimization of pump parameters for gain flattened Raman fiber amplifiers based on artificial fish school algorithm. Opt. Commun. 2011, 284, 5480–5483. [Google Scholar] [CrossRef]
- Bo, X.; Fengxing, Z.; Kang, Y.B.; Huipeng, L.; Yi, L.; Dan, Y. Least squares mutual information for grid search CEEMD: A suitable vibration signal analysis method. In Proceedings of the 2018 37th Chinese Control Conference (CCC), Wuhan, China, 25–27 July 2018; IEEE: Piscataway, NJ, USA, 2018; pp. 5741–5748. [Google Scholar]
- Hou, S.; Guo, W. Faulty Line Selection Based on Modified CEEMDAN Optimal Denoising Smooth Model and Duffing Oscillator for Un-Effectively Grounded System. Math. Probl. Eng. 2020, 2020, 5761642. [Google Scholar] [CrossRef]
- Hou, S.; Guo, W. Optimal denoising and feature extraction methods using modified CEEMD combined with duffing system and their applications in fault line selection of non-solid-earthed network. Symmetry 2020, 12, 536. [Google Scholar] [CrossRef]
- Zhang, F.; Gao, S.; Zhang, W.; Li, G. Improved EEMD and overlapping group sparse second-order total variation. J. Braz. Soc. Mech. Sci. Eng. 2024, 46, 386. [Google Scholar] [CrossRef]
- Lu, Y.; Xie, R.; Liang, S.Y. CEEMD-assisted bearing degradation assessment using tight clustering. Int. J. Adv. Manuf. Technol. 2019, 104, 1259–1267. [Google Scholar] [CrossRef]
- Zhong, T.; Qin, C.J.; Shi, G.; Zhang, Z.; Tao, J.; Liu, C. A residual denoising and multiscale attention-based weighted domain adaptation network for tunnel boring machine main bearing fault diagnosis. Sci. China Technol. Sci. 2024, 67, 2594–2618. [Google Scholar] [CrossRef]
- Lv, Y.; Zhao, W.; Zhao, Z.; Li, W.; Ng, K.K. Vibration signal-based early fault prognosis: Status quo and applications. Adv. Eng. Inform. 2022, 52, 101609. [Google Scholar] [CrossRef]
- Zuo, L.Q.; Sun, H.M.; Mao, Q.C.; Liu, X.Y.; Jia, R.S. Noise suppression method of microseismic signal based on complementary ensemble empirical mode decomposition and wavelet packet threshold. IEEE Access 2019, 7, 176504–176513. [Google Scholar] [CrossRef]
- Kim, Y.; Ha, J.M.; Na, K.; Park, J.; Youn, B.D. Cepstrum-assisted empirical wavelet transform (CEWT)-based improved demodulation analysis for fault diagnostics of planetary gearboxes. Measurement 2021, 183, 109796. [Google Scholar] [CrossRef]






















| S1 | 99.70% | 99.60% | 99.70% | 99.80% | 99.50% | 99.60% | 99.80% | 99.80% | 99.50% | 99.60% |
| S2 | 98.80% | 99.70% | 99.70% | 99.80% | 99.50% | 99.70% | 99.60% | 99.80% | 99.60% | 99.60% |
| S3 | 99.80% | 99.70% | 99.70% | 99.80% | 99.70% | 99.70% | 99.60% | 99.80% | 99.60% | 99.60% |
| S4 | 98.50% | 98.50% | 98.50% | 98.50% | 98.50% | 98.50% | 98.50% | 98.50% | 98.50% | 98.50% |
| S1 | 98.40% | 99.50% | 98.60% | 99.70% | 98.40% | 98.40% | 98.50% | 98.50% | 99.70% | 99.00% |
| S2 | 98.60% | 99.50% | 99.60% | 99.70% | 99.50% | 99.40% | 99.10% | 99.50% | 98.90% | 98.40% |
| S3 | 99.40% | 96.80% | 96.60% | 90.70% | 90.40% | 95.40% | 95.10% | 95.10% | 94.70% | 99.70% |
| S4 | 99.70% | 96.80% | 96.60% | 98.20% | 98.40% | 98.40% | 97.80% | 97.70% | 98.20% | 97.90% |
| Orthogonality | Completeness | Aliasing | |
|---|---|---|---|
| EMD | 0.085 | 0.0036 | obvious |
| EEMD | 0.072 | 0.0042 | exist |
| CEEMD | 0.034 | 0.0061 | minimum |
| Outer Ring Diameter R/mm | Inner Ring Diameter R/mm | Pitch Diameter D/mm | Ball Diameter D/mm | Number of Rolling Elements Z | Contact Angle α |
|---|---|---|---|---|---|
| 90 | 40 | 65 | 22 | 9 | 0 |
| Bearing Components | Outer Ring | Inner Ring | Rolling Element | Cage |
|---|---|---|---|---|
| Fault frequency |
| Number of Pickups | Pickup Distance m | Sampling Rate KHz | Frequency Range KHz | Maximum Sound Pressure dB | Sensitivity dBFS | Refresh Rate FPS | Distortion Rate % |
|---|---|---|---|---|---|---|---|
| 64 | 50 m | 192 KHz | 20 Hz~96 KHz | 220 dB | −26 dBFS | 25 FPS | THD < 1% |
| IMF1 | IMF2 | IMF3 | IMF4 | IMF5 | IMF6 | IMF7 | |
|---|---|---|---|---|---|---|---|
| Rolling element | 0.96 | 0.21 | 0.15 | 0.16 | 0.17 | 0 | 0 |
| Cage | 0.97 | 0.19 | 0.14 | 0.11 | 0 | 0 | 0 |
| Inner race | 0.98 | 0.16 | 0.18 | 0.12 | 0.07 | 0 | 0 |
| Outer race | 0.08 | 0.33 | 0.17 | 0.10 | 0.02 | 0 | 0 |
Disclaimer/Publisher’s Note: The statements, opinions and data contained in all publications are solely those of the individual author(s) and contributor(s) and not of MDPI and/or the editor(s). MDPI and/or the editor(s) disclaim responsibility for any injury to people or property resulting from any ideas, methods, instructions or products referred to in the content. |
© 2025 by the authors. Licensee MDPI, Basel, Switzerland. This article is an open access article distributed under the terms and conditions of the Creative Commons Attribution (CC BY) license (https://creativecommons.org/licenses/by/4.0/).
Share and Cite
Yan, J.; Zhou, F.; Zhu, X.; Zhang, D. AFSA-FastICA-CEEMD Rolling Bearing Fault Diagnosis Method Based on Acoustic Signals. Mathematics 2025, 13, 884. https://doi.org/10.3390/math13050884
Yan J, Zhou F, Zhu X, Zhang D. AFSA-FastICA-CEEMD Rolling Bearing Fault Diagnosis Method Based on Acoustic Signals. Mathematics. 2025; 13(5):884. https://doi.org/10.3390/math13050884
Chicago/Turabian StyleYan, Jin, Fubing Zhou, Xu Zhu, and Dapeng Zhang. 2025. "AFSA-FastICA-CEEMD Rolling Bearing Fault Diagnosis Method Based on Acoustic Signals" Mathematics 13, no. 5: 884. https://doi.org/10.3390/math13050884
APA StyleYan, J., Zhou, F., Zhu, X., & Zhang, D. (2025). AFSA-FastICA-CEEMD Rolling Bearing Fault Diagnosis Method Based on Acoustic Signals. Mathematics, 13(5), 884. https://doi.org/10.3390/math13050884

