Incentive Scheme for Low-Carbon Travel Based on the Public–Private Partnership
Abstract
1. Introduction
2. Literature Review
2.1. Transit Subsidy Policy to Induce Travel Mode Shifts
2.2. Literature Flow on Public–Private Partnership
2.3. Contributions and Highlights
- First, few studies have introduced the PPP model into the design of low-carbon travel incentive mechanisms. A similar approach was proposed in [37], which suggested a tradable carbon credit mechanism based on public–private partnerships to reduce congestion and carbon emissions. However, they only considered enterprises and homogeneous travelers, whereas this paper further incorporates roles such as banks and financial institutions and considers heterogeneous travelers, which is more in line with reality. Additionally, the government in this paper can choose pollution control strategies in addition to subsidies.
- Second, many studies simply suppose that travelers are homogeneous [9,38,39], which is an idealized assumption. This study examines heterogeneous travelers with different values of time (VOTs) and travel demand at different levels, providing a comprehensive discussion of travel mode choices between the low-carbon group and the high-carbon group and enhancing the alignment with real-world scenarios.
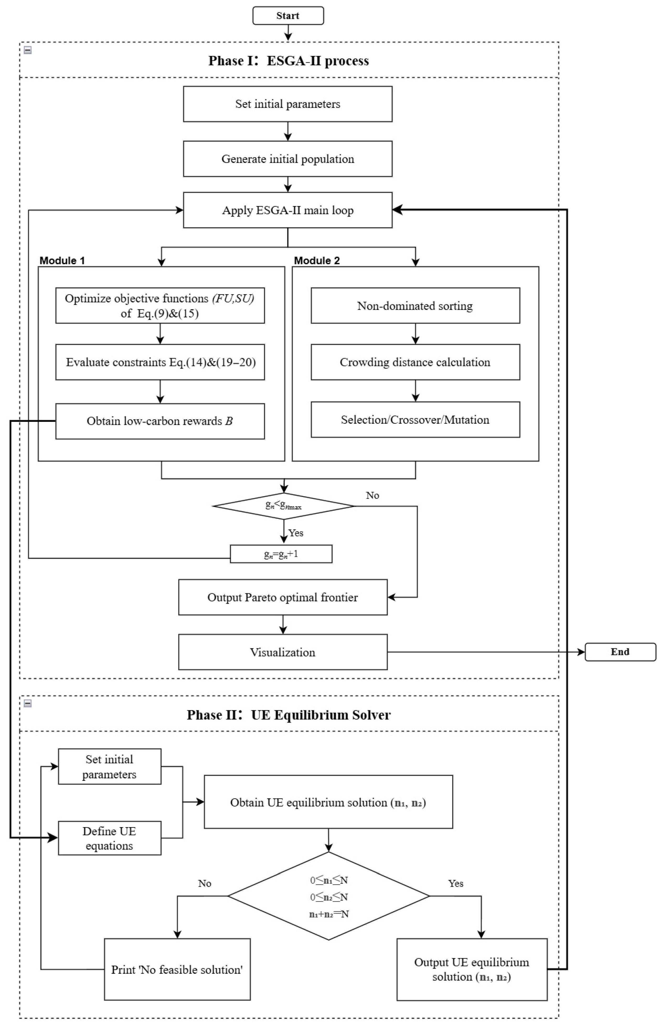
- Third, this paper develops a two-layer optimization algorithm based on the improved NSGA-II heuristic algorithm, with a user equilibrium solver embedded in the lower layer. The algorithm is suitable for solving optimization problems related to the mathematical model of PPP.
3. Model Formulation
3.1. User Equilibrium of Heterogeneous Travelers
3.2. The Utility of the Private Sector
3.3. The Social Cost of the Government
4. Numerical Studies
4.1. Solving Algorithm
4.2. Parameters Setting
4.3. Comparison of Different Schemes
- The benchmark scheme : Neither the government nor the private sector engages in low-carbon incentives. This scenario produces the highest carbon emissions and serves as a reference group for the other three scenarios.
- The government-led scheme : The government directly subsidizes travelers without the participation of travelers.
- The private sector-led scheme : The government is not involved in PPP, i.e., . Instead, the private sector is responsible for distributing carbon reduction rewards B directly to travelers.
- The PPP scheme : Both the government and the private sector participate in low-carbon regulation as prescribed. The government provides subsidies to the private sector, which subsequently provides low-carbon rewards B to travelers. Moreover, the government can allocate budget resources for direct pollution control.
- (1)
- The government-led scheme exhibits the smallest number of low-carbon travelers and the lowest volume of low-carbon rewards b, while requiring the highest level of actual effort for direct pollution control and social cost . It indicates that relying exclusively on government initiatives to promote low-carbon travel imposes a substantial financial burden on the government. Therefore, the government should collaborate with the private sector and leverage the existing resources.
- (2)
- In the private sector-led scheme , there is a significant increase in both the number of low-carbon travelers and the profits of the private sector compared with the government-led scheme . The private sector’s profits are even higher in the PPP scheme . This indicates that the private sector is more willing to collaborate with the government.
- (3)
- Additionally, the PPP scheme achieves emission reduction that exceeds the target () without requiring direct pollution control (). The effect of the emission reduction improves as the travel demand increases. This shows that the PPP scheme is expected to be applied to large cities with high travel demand to reduce costs and increase efficiency.
4.4. Sensitivity Analysis
4.4.1. The Impact of Government Subsidies on the Private Sector and Travelers
4.4.2. The Impact of the Unit Subsidy s on the Private Sector’s Utility and the Government’s Social Costs
4.4.3. The Impact of the Unit Pollution Control Cost on the Government’s Decisions
5. Discussion and Conclusions
Author Contributions
Funding
Data Availability Statement
Conflicts of Interest
References
- Zong, F.; Zeng, M.; Lv, J.; Wang, C. A credit charging scheme incorporating carpool and carbon emissions. Transp. Res. Part D Transp. Environ. 2021, 94, 102711. [Google Scholar] [CrossRef]
- Liu, B.; Li, F.; Hou, Y.; Antonio Biancardo, S.; Ma, X. Unveiling built environment impacts on traffic CO2 emissions using Geo-CNN weighted regression. Transp. Res. Part D Transp. Environ. 2024, 132, 104266. [Google Scholar] [CrossRef]
- Ding, H.; Yang, H.; Qin, X.; Xu, H. Credit charge-cum-reward scheme for green multi-modal mobility. Transp. Res. Part B Methodol. 2023, 178, 102852. [Google Scholar] [CrossRef]
- Sun, Y.; Guo, Q.; Schonfeld, P.; Li, Z. Implications of the cost of public funds in public transit subsidization and regulation. Transp. Res. Part A Policy Pract. 2016, 91, 236–250. [Google Scholar] [CrossRef]
- Najmi, A.; Rashidi, T.H.; Waller, T. A multimodal multi-provider market equilibrium model: A game-theoretic approach. Transp. Res. Part C Emerg. Technol. 2023, 146, 103959. [Google Scholar] [CrossRef]
- Sun, Y.; Schonfeld, P. Optimization Models for Public Transit Operations Under Subsidization and Regulation. Transp. Res. Rec. J. Transp. Res. Board 2015, 2530, 44–54. [Google Scholar] [CrossRef]
- Wang, H.; Xiong, W.; Wu, G.; Zhu, D. Public Private Partnership in Public Administration Discipline: A Literature Review. Public Manag. Rev. 2018, 20, 293–316. [Google Scholar] [CrossRef]
- Tscharaktschiew, S.; Hirte, G. Should subsidies to urban passenger transport be increased? A spatial CGE analysis for a German metropolitan area. Transp. Res. Part A Policy Pract. 2012, 46, 285–309. [Google Scholar] [CrossRef]
- Luo, Q.; Bing, X.; Jia, H.; Song, J. An incentive subsidy mechanism for bus lines based on service level. Transp. Policy 2022, 126, 1–13. [Google Scholar] [CrossRef]
- Li, T.; Chen, P.; Tian, Y. Personalized incentive-based peak avoidance and drivers’ travel time-savings. Transp. Policy 2021, 100, 68–80. [Google Scholar] [CrossRef]
- Sun, J.; Wu, J.; Xiao, F.; Tian, Y.; Xu, X. Managing bottleneck congestion with incentives. Transp. Res. Part B Methodol. 2020, 134, 143–166. [Google Scholar] [CrossRef]
- Yu, M.M.; Chung, Y.S. Performance-based transit subsidy allocation scheme to fulfill multiple policy criteria. Transp. Lett. 2024, 16, 814–828. [Google Scholar] [CrossRef]
- Rodrigues, A.L.; Cipcigan, L.; Potoglou, D.; Dattero, D.; Wells, P.; da Cal Seixas, S.R. Impacts of subsidy efficiency on bus electrification: A participatory system dynamic modeling. Transp. Policy 2025, 167, 210–221. [Google Scholar] [CrossRef]
- Jara-Díaz, S.R.; Gschwender, A. The effect of financial constraints on the optimal design of public transport services. Transportation 2009, 36, 65–75. [Google Scholar] [CrossRef]
- Xu, S.X.; Liu, T.L.; Huang, H.J.; Liu, R. Mode choice and railway subsidy in a congested monocentric city with endogenous population distribution. Transp. Res. Part A Policy Pract. 2018, 116, 413–433. [Google Scholar] [CrossRef]
- Wang, Z.; Yu, J.G.; Chen, A.; Fu, X. Subsidy policies towards zero-emission bus fleets: A systematic technical-economic analysis. Transp. Policy 2024, 150, 1–13. [Google Scholar] [CrossRef]
- Giagnorio, M.; Börjesson, M.; D’Alfonso, T. Introducing electric buses in urban areas: Effects on welfare, pricing, frequency, and public subsidies. Transp. Res. Part A: Policy Pract. 2024, 185, 104103. [Google Scholar] [CrossRef]
- Hu, X.; Chen, X.; Li, L.M. A path-based incentive scheme toward de-carbonized trips in a bi-modal traffic network. Transp. Res. Part D. Transp. Environ. 2023, 122, 103853. [Google Scholar] [CrossRef]
- Liu, Z.; Chen, X.; Hu, J.; Wang, S.; Zhang, K.; Zhang, H. An alternating direction method of multipliers for solving user equilibrium problem. Eur. J. Oper. Res. 2023, 310, 1072–1084. [Google Scholar] [CrossRef]
- Liu, B.; Ma, X.; Liu, W.; Ma, Z. Designing a carbon-trading incentive scheme for mode shifts in multi-modal transport systems. Transp. Res. Part E Logist. Transp. Rev. 2024, 192, 103789. [Google Scholar] [CrossRef]
- Sheng, M.; Sreenivasan, A.V.; Sharp, B.; Wilson, D.; Ranjitkar, P. Economic analysis of dynamic inductive power transfer roadway charging system under public-private partnership–Evidence from New Zealand. Technol. Forecast. Soc. Change 2020, 154, 119958. [Google Scholar] [CrossRef]
- Hou, L.; Yang, F.; Liang, W.; Wu, C.; Song, J. Government subsidy and benefit distribution mechanisms for transportation PPP projects: An evolutionary game perspective. J. Environ. Manag. 2024, 359, 120981. [Google Scholar] [CrossRef] [PubMed]
- Casady, C.B.; Cepparulo, A.; Giuriato, L. Public-private partnerships for low-carbon, climate-resilient infrastructure: Insights from the literature. J. Clean. Prod. 2024, 470, 143338. [Google Scholar] [CrossRef]
- Dong, Z.; Wang, M.; Yang, X. Comparative study of China and USA public private partnerships in public transportation. J. Mod. Transp. 2016, 24, 215–223. [Google Scholar] [CrossRef]
- Lu, Q.; Farooq, M.U.; Ma, X.; Iram, R. Assessing the combining role of public-private investment as a green finance and renewable energy in carbon neutrality target. Renew. Energy 2022, 196, 1357–1365. [Google Scholar] [CrossRef]
- Zhang, S.; Chan, A.P.; Feng, Y.; Duan, H.; Ke, Y. Critical review on PPP Research–A search from the Chinese and International Journals. Int. J. Proj. Manag. 2016, 34, 597–612. [Google Scholar] [CrossRef]
- Shi, G.; Zhang, X. Development of a Regulatory Mechanism for Key Stages in Public–Private Partnerships. J. Infrastruct. Syst. 2022, 28, 04022017. [Google Scholar] [CrossRef]
- Zhang, Y.; Xu, M. Promoting low carbon mobility: A case study of Beijing MaaS. Int. J. Sustain. Transp. 2025, 1–15. [Google Scholar] [CrossRef]
- Xue, Y.; Guan, H.; Corey, J.; Zhang, B.; Yan, H.; Han, Y.; Qin, H. Transport Emissions and Energy Consumption Impacts of Private Capital Investment in Public Transport. Sustainability 2017, 9, 1760. [Google Scholar] [CrossRef]
- Yuan, X. Research on Construction of Public Bicycle System Under the PPP Mode in Weifang. J. Weifang Univ. 2017, 17, 12–15. [Google Scholar]
- Wang, H.; Liu, Y.; Xiong, W.; Zhun, D. Government Support Programs and Private Investments in PPP Markets. Int. Public Manag. J. 2019, 22, 499–523. [Google Scholar] [CrossRef]
- Lv, J.; Ye, G.; Liu, W.; Shen, L.; Wang, H. Alternative Model for Determining the Optimal Concession Period in Managing BOT Transportation Projects. J. Manag. Eng. 2015, 31, 04014066. [Google Scholar] [CrossRef]
- Hörcher, D.; Tirachini, A. A review of public transport economics. Econ. Transp. 2021, 25, 100196. [Google Scholar] [CrossRef]
- Cheng, X.; Cheng, M.; Liu, Y. The behavioral strategies of multiple stakeholders in the NIMBY facility public-private partnership project: A tripartite evolutionary game analysis based on prospect theory. Can. J. Civ. Eng. 2024, 51, 1126–1144. [Google Scholar] [CrossRef]
- Soomro, M.A.; Zhang, X. Roles of Private-Sector Partners in Transportation Public-Private Partnership Failures. J. Manag. Eng. 2015, 31, 04014056. [Google Scholar] [CrossRef]
- Zhang, L.; Long, R.; Huang, Z.; Li, W.; Wei, J. Evolutionary game analysis on the implementation of subsidy policy for sustainable transportation development. J. Clean. Prod. 2020, 267, 122159. [Google Scholar] [CrossRef]
- Jiang, G.; Fan, Q.; Zhang, Y.; Xiao, Y.; Xie, J.; Zhou, S. A tradable carbon credit incentive scheme based on the public-private-partnership. Transp. Res. Part E Logist. Transp. Rev. 2025, 197, 104039. [Google Scholar] [CrossRef]
- Emami, M.; Haghshenas, H.; Talebian, A.; Kermanshahi, S. A game theoretic approach to study the impact of transportation policies on the competition between transit and private car in the urban context. Transp. Res. Part A Policy Pract. 2022, 163, 320–337. [Google Scholar] [CrossRef]
- Yang, H.; Wang, X. Managing network mobility with tradable credits. Transp. Res. Part B Methodol. 2011, 45, 580–594. [Google Scholar] [CrossRef]
- Zha, L.; Yin, Y.; Yang, H. Economic analysis of ride-sourcing markets. Transp. Res. Part C Emerg. Technol. 2016, 71, 249–266. [Google Scholar] [CrossRef]
- Vittorio, V.; Donatella, S. Economic development and population growth: An inverted-U shaped curve? Med. Educ. 1988, 22, 447–454. [Google Scholar]
- Liu, X.; Hu, G.; Ai, B.; Li, X.; Tian, G.; Chen, Y.; Li, S. Simulating urban dynamics in China using a gradient cellular automata model based on S-shaped curve evolution characteristics. Int. J. Geogr. Inf. Sci. 2017, 32, 73–101. [Google Scholar] [CrossRef]
- Smirnov, R.G.; Wang, K. In search of a new economic model determined by logistic growth. Eur. J. Appl. Math. 2020, 31, 339–368. [Google Scholar] [CrossRef]
- Cioffi, D.F. A tool for managing projects: An analytic parameterization of the S-curve. Int. J. Proj. Manag. 2005, 23, 215–222. [Google Scholar] [CrossRef]
- Liu, Y.; Chen, H.; Li, Y.; Gao, J.; Dave, K.; Chen, J.; Li, T.; Tu, R. Exhaust and non-exhaust emissions from conventional and electric vehicles: A comparison of monetary impact values. J. Clean. Prod. 2022, 331, 129965. [Google Scholar] [CrossRef]
- Yang, H.; Liu, J.; Jiang, K.; Meng, J.; Guan, D.; Xu, Y.; Tao, S. Multi-objective analysis of the co-mitigation of CO2 and PM2.5 pollution by China’s iron and steel industry. J. Clean. Prod. 2018, 185, 331–341. [Google Scholar] [CrossRef]
- Yin, Y.; Lawphongpanich, S. Internalizing emission externality on road networks. Transp. Res. Part D Transp. Environ. 2006, 11, 292–301. [Google Scholar] [CrossRef]
- Chen, L.; Yang, H. Managing congestion and emissions in road networks with tolls and rebates. Transp. Res. Part B Methodol. 2012, 46, 933–948. [Google Scholar] [CrossRef]
- Cheng, Y.; Xiaoxia, G.; Qing, L. Quantification Model of Carbon Emission Reduction Benefits Based on Dynamic Carbon Emission Factors in a Subtation Area. Mod. Electr. Power 2025. [Google Scholar]
- Lin, X.; Yin, Y.; He, F. Credit-based mobility management considering travelers’ budgeting behaviors under uncertainty. Transp. Sci. 2021, 55, 297–314. [Google Scholar] [CrossRef]








| Parameters | Symbols | Values | Units |
|---|---|---|---|
| The distance between the O-D pair | l | 15 | km |
| The cost of taking public transit | 6 | RMB | |
| The cost of driving a private car | 15 | RMB | |
| The travel time for public transit | 60 | min | |
| The travel time of the free flow | 30 | min | |
| Parameters of the road resistance function | 0.15, 4 | / | |
| Road capacity | V | 1500 | / |
| Unit benefit of emission reduction | m | RMB/g | |
| Unit subsidy | s | [0, 10] | RMB |
| Unit cost of direct pollution control | RMB/g | ||
| Level of direct pollution control effort | [0, 1] | / | |
| Target of emission reduction | [0, 1] | / |
| B | s | ||
|---|---|---|---|
| : benchmark scheme | =0 | =0 | =0 |
| : government-led scheme | =0 | >0 | >0 |
| : private sector-led scheme | >0 | =0 | =0 |
| : PPP scheme | ≥0 | ≥0 | ≥0 |
| Demand | 1000 | 1500 | 2000 | |||||||||
|---|---|---|---|---|---|---|---|---|---|---|---|---|
| Scheme | ||||||||||||
| 213.74 | 270.65 | 668.60 | 689.49 | 386.05 | 573.30 | 1002.54 | 1110.62 | 656.46 | 970.15 | 1325.02 | 1511.60 | |
| b | - | 0.45 | 3.51 | 3.67 | - | 1.14 | 3.49 | 3.92 | - | 1.77 | 3.39 | 4.15 |
| A | - | - | 2346.80 | 3049.1 | - | - | 3498.86 | 4491.52 | - | - | 4494.67 | 6328.56 |
| p | - | - | 1.00 | 1.00 | - | - | 1.00 | 1.00 | - | - | 1.00 | 1.00 |
| q | - | - | 1.00 | 1.00 | - | - | 1.00 | 1.00 | - | - | 1.00 | 1.00 |
| s | - | 0.45 | 0.00 | 0.85 | - | 1.14 | 0.00 | 2.83 | - | 1.77 | 0.00 | 3.88 |
| - | 46.03% | 0.00% | 0.00% | - | 39.33% | 0.00% | 0.00% | - | 32.5% | 0.00% | 0.00% | |
| - | 0.00 | 15,370.12 | 15,810.52 | - | 0.00 | 23,156.14 | 26,105.52 | - | 0.00 | 30,228.83 | 37,276.21 | |
| 26,220.96 | 25,209.27 | 25,076.76 | 25,069.47 | 39,802.27 | 38,290.07 | 36,906.74 | 36,901.46 | 53,955.17 | 52,349.73 | 49,372.88 | 49,369.35 | |
| - | 3605.12 (50.02%) | 4189.08 (58.12%) | 4379.44 (60.77%) | - | 5235.31 (50.42%) | 5878.75 (56.41%) | 6654.00 (63.85%) | - | 6492.4 (50.1%) | 7047.2 (54.4%) | 8499.23 (65.63%) | |
Disclaimer/Publisher’s Note: The statements, opinions and data contained in all publications are solely those of the individual author(s) and contributor(s) and not of MDPI and/or the editor(s). MDPI and/or the editor(s) disclaim responsibility for any injury to people or property resulting from any ideas, methods, instructions or products referred to in the content. |
© 2025 by the authors. Licensee MDPI, Basel, Switzerland. This article is an open access article distributed under the terms and conditions of the Creative Commons Attribution (CC BY) license (https://creativecommons.org/licenses/by/4.0/).
Share and Cite
Zhang, Y.; Jiang, G.; Chen, A. Incentive Scheme for Low-Carbon Travel Based on the Public–Private Partnership. Mathematics 2025, 13, 2358. https://doi.org/10.3390/math13152358
Zhang Y, Jiang G, Chen A. Incentive Scheme for Low-Carbon Travel Based on the Public–Private Partnership. Mathematics. 2025; 13(15):2358. https://doi.org/10.3390/math13152358
Chicago/Turabian StyleZhang, Yingtian, Gege Jiang, and Anqi Chen. 2025. "Incentive Scheme for Low-Carbon Travel Based on the Public–Private Partnership" Mathematics 13, no. 15: 2358. https://doi.org/10.3390/math13152358
APA StyleZhang, Y., Jiang, G., & Chen, A. (2025). Incentive Scheme for Low-Carbon Travel Based on the Public–Private Partnership. Mathematics, 13(15), 2358. https://doi.org/10.3390/math13152358

