Optimum Scheduling of a Multi-Machine Flexible Manufacturing System Considering Job and Tool Transfer Times without Tool Delay
Abstract
:1. Introduction
Literature Review
2. Materials and Methods
2.1. Problem Description and Model Formulation
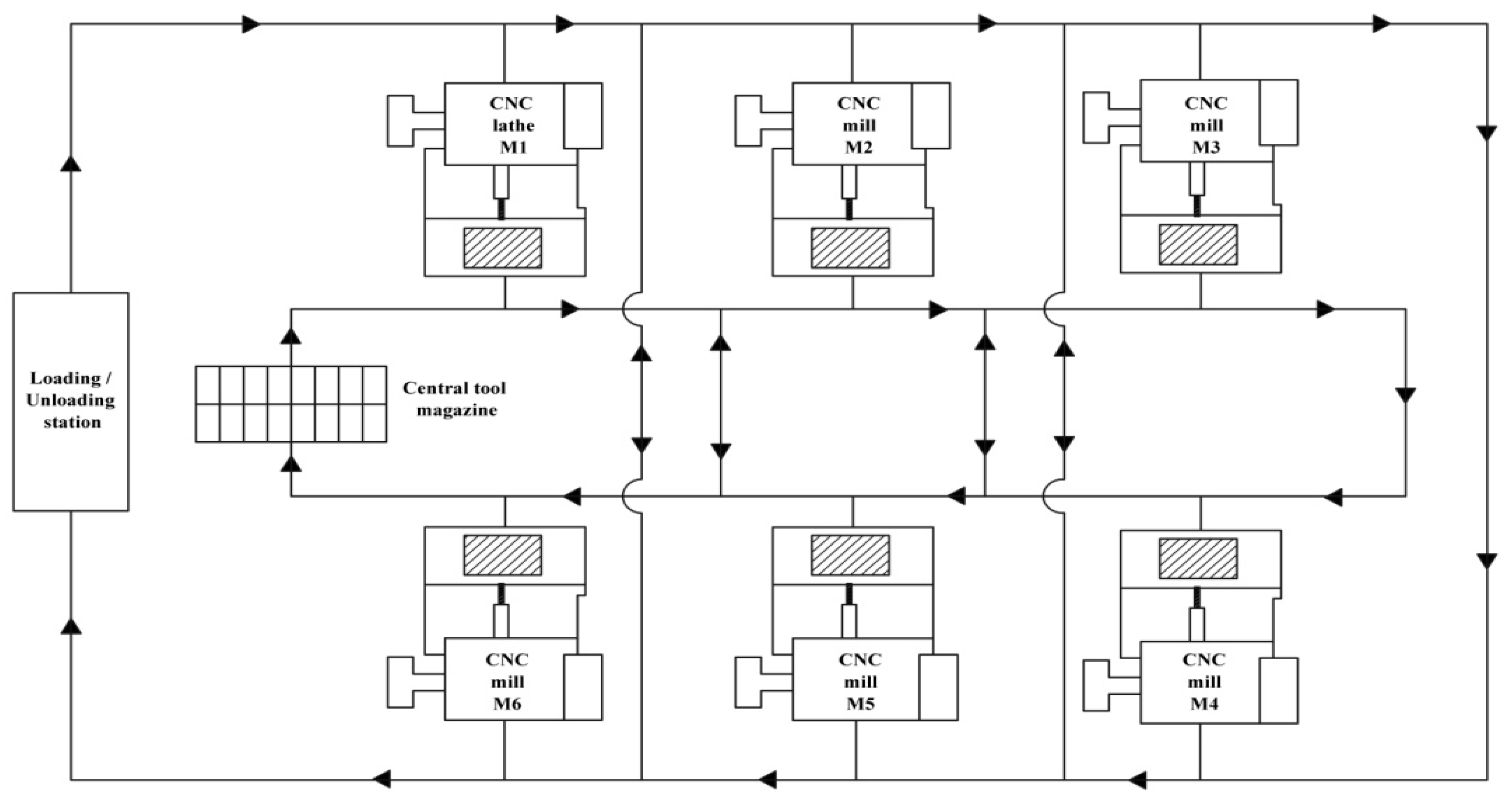
2.1.1. FMS Environment
2.1.2. Problem Definition
2.2. Model Formulation
- Notations
- Subscripts
- Parameters and sets
| J | available job sets for processing |
| operations in job j | |
| operations in a job set | |
| operations indexing set | |
| is | |
| operations’ index set that does not include operation iand subsequent operations in the same job that followoperation i | |
| operations’ index set without operation h and the operations that came before operation i in the same job | |
| operation i processing duration for the given MC | |
| operation i finish time for the given MC | |
| TL | tool types set needed to accomplish the job’s operations |
| TLCopy: | each tool kind’s copies set |
| bkci | time for copy c of tool k to be ready for operation i |
| operation i’s finish time with tool variety k and | |
| u | |
| v | |
| K | the number of AGVs |
| L | total TTs |
| time for job j to be ready | |
| machine’s ready time for operation i | |
| AGV empty trip travel time, starting at the MC performing operation h and ending at the MC performing operation i | |
| AGV loaded trip ‘i’ travel time, including load and unload times for chosen MC | |
| AGV loaded trip i completion time | |
| tttli | The TT loaded flight i trip time includes the time needed for loading and unloading |
| tttdhi | TT empty trip i travel time, beginning at a machine handling operation ‘h’ and concluding at a machine carrying out operation ‘i’ with the requested tool |
| CTTTLi | amount of time necessary to complete a TT loaded flight i |
| MCk | set of CTMs and MCs with copies of tools of type k, |
| CTTTILi,m | Completion time of a hypothetical TT loaded trip for operation i from a MC or CTM that has a tool replica k, |
- Decision variables
Mathematical Model
2.3. Input Data
- (i).
- The travel time matrix of the AGVs can be found in Gündüz et al. [33].
- (ii).
- The travel time matrix of the TT, including the load and unload times of tools for different layouts, as reported in [15], was used in this study. The tool transporter’s flow path was presumed to follow the AGVs for any given arrangement substantially.
- (iii).
- Total jobs, the operations of every job, and the maximum number of operations for each job in the job set (test problem).
- (iv).
- MC needed for every job operation (MC matrix).
- (v).
- The amount of time required to perform every job operation on the various MCs (process time matrix).
- (vi).
- Tool utilized in the execution of each job operation (tool matrix) offered as input.
2.4. Implementation of SOSA
2.4.1. Random Solution Generator (RSG)
2.4.2. Limit and Bound Functions
3. Results and Discussions
3.1. Lower Bound (LB) Calculation Method
3.2. Gantt Chart
3.3. Convergence Characterstics
4. Case Study
- The travel time matrix for AGVs is presented in Table 7.
- The travel time matrix for TT is presented in Table 8.
- The number of components included in the job set in addition to the information obtained from [15], such as:
- In the job set, the number of operations for each part and the maximum number of operations for each part.
- The utilization of an MC is essential to the completion of each part’s operation (MC matrix).
- The amount of time necessary to perform each part’s operation on the MC (process time matrix).
- The utilization of a tool is essential to the completion of each part’s operation (tool matrix).
5. Conclusions
Author Contributions
Funding
Data Availability Statement
Conflicts of Interest
References
- Saravanan, M.; Noorul Haq, A. Evaluation of scatter-search approach for scheduling optimization of flexible manufacturing systems. Int. J. Adv. Manuf. Technol. 2008, 38, 978–986. [Google Scholar] [CrossRef]
- Sampathi, D.J. Scheduling Flexible Manufacturing System Using Petri-Nets and Genetic Algorithm. Project Report Indian Institute of Space Science and Technology, 2012, Thiruvananthapuram. Available online: https://www.academia.edu/3086025/Scheduling_flexible_manufacturing_systems_using_petri_nets_and_genetic_algorithm (accessed on 15 January 2021).
- Eynan, A.; Rosenblatt, M.J. An interleaving policy in automated storage/retrieval systems. Int. J. Prod. Res. 1993, 31, 1–18. [Google Scholar] [CrossRef]
- Lacomme, P.; Larabi, M.; Tchernev, N. Job-shop based framework for simultaneous scheduling of machines and automated guided vehicles. Int. J. Prod. Econ. 2013, 143, 24–34. [Google Scholar] [CrossRef]
- Sivarami Reddy, N.; Ramamurthy, D.V.; Prahlada Rao, K. Simultaneous Scheduling of Machines and AGVs using Crow Search Algorithm. Manuf. Technol. Today 2018, 17, 12–22. [Google Scholar]
- Zhang, X.; Sang, H.; Li, Z.; Zhang, B.; Meng, L. An efficient discrete artificial bee colony algorithm with dynamic calculation method for solving the AGV scheduling problem of delivery and pickup. Complex Intell. Syst. 2023, 1–21. [Google Scholar] [CrossRef]
- Shirazi, R.; Frizelle, G.D.M. Minimizing the number of tool switches on a flexible machine: An empirical study. Int. J. Prod. Res. 2001, 39, 3547–3560. [Google Scholar] [CrossRef]
- Chaithanya, M.; Sivarami Reddy, N.; Ravindranatha Reddy, P. Sequencing and Scheduling of Jobs and Tools in a Flexible Manufacturing System using Jaya Algorithm. Int. J. Res. Appl. Sci. Eng. Technol. 2017, 5, 2461–2469. [Google Scholar] [CrossRef]
- Sivarami Reddy, N.; Ramamurthy, D.V.; Prahlada Rao, K. Simultaneous Scheduling of Machines and Tools to minimize makespan in Multi Machine FMS using new nature inspired algorithms. Manuf. Technol. Today 2017, 16, 19–27. [Google Scholar]
- Beezão, A.C.; Cordeau, J.-F.; Laporte, G.; Yanasse, H.H. Scheduling identical parallel machines with tooling constraints. Eur. J. Oper. Res. 2017, 257, 834. [Google Scholar] [CrossRef]
- Narapureddy, S.R.; Ramamurthy, D.V.; Prahlada Rao, K. Simultaneous scheduling of jobs, machines and tools considering tool transfer times in multi-machine FMS using new nature-inspired algorithms. Int. J. Intell. Syst. Technol. Appl. 2018, 17, 70–88. [Google Scholar]
- Narapureddy, S.R.; Ramamurthy, D.V.; Prahlada Rao, K.; Padma Lalitha, M. Integrated scheduling of machines, AGVs and tools in multi-machine FMS using crow search algorithm. Int. J. Compt. Integr. Manuf. 2019, 32, 1117–1133. [Google Scholar]
- Sivarami Reddy, N.; Ramamurthy, D.V.; Padma Lalitha, M.; Prahlada Rao, K. Minimizing the total completion time on a multi-machine FMS using flower pollination algorithm. Soft Comput. 2021, 26, 1437–1458. [Google Scholar] [CrossRef]
- Sivarami Reddy, N.; Ramamurthy, D.V.; Padma Lalitha, M.; Prahlada Rao, K. Integrated simultaneous scheduling of machines, automated guided vehicles and tools in multi machine flexible manufacturing system using symbiotic organisms search algorithm. J. Ind. Prod. Eng. 2021, 39, 317–339. [Google Scholar]
- Sivarami Reddy, N.; Ramamurthy, D.V.; Prahlada Rao, K.; Padma Lalitha, M. Practical simultaneous scheduling of machines, AGVs, tool transporter and tools in a multi machine FMS using symbiotic organisms search algorithm. Int. J. Compt. Integr. Manuf. 2021, 34, 153–174. [Google Scholar] [CrossRef]
- Mareddy, P.L.; Narapureddy, S.R.; Dwivedula, V.R.; Karanam, P.R. Development of scheduling methodology in a multi-machine flexible manufacturing system without tool delay employing flower pollination algorithm. Eng. Appl. Artif. Intell. 2022, 115, 105275. [Google Scholar] [CrossRef]
- Lenstra, J.K.; Rinnooy Kan, A.H.G. Computational complexity of discrete optimization problems. Ann. Discret. Math. 1979, 4, 121–140. [Google Scholar]
- Lenstra, J.K.; Rinnooy Kan, A.H.G. Complexity of vehicle routing and scheduling problems. Networks 1981, 11, 221–227. [Google Scholar] [CrossRef]
- Cheng, M.Y.; Prayogo, D. Symbiotic organisms search: A new metaheurstic optimization algorithm. Comput. Struct. 2014, 139, 98–112. [Google Scholar] [CrossRef]
- Wu, H.; Zhou, Y.; Luo, Q.; Basset, M.A. Training Feed forward Neural Networks Using Symbiotic Organisms Search Algorithm. Comput. Intell. Neurosci. 2016, 2016, 9063065. [Google Scholar] [CrossRef]
- Narapu Reddy, S.R.; Dwivedula Venkata Ramamurthy, K.; Prahlada Rao, M.; Lalitha, P. A Novel metaheuristic method for simultaneous scheduling of machines and tools in multi machine FMS. In IET Digital Library International Conference on Recent Trends in Engineering, Science & Technology; IET: London, UK, 2016; pp. 1–6. ISBN 978-1-78561-785-0. [Google Scholar] [CrossRef]
- Sonmez, Y.; Kahraman, H.T.; Dosoglu, M.K.; Guvenc, U.; Duman, S. Symbiotic organisms search algorithm for dynamic economic dispatch with valve-point effects. J. Exp. Theor. Artif. Intell. 2017, 29, 495–515. [Google Scholar] [CrossRef]
- Kumar, N.; Pankaj, C.; Joshi, D. Integrated scheduling of part, tool and automated guided vehicles in a flexible manufacturing system using modified genetic algorithm. Int. J. Ind. Syst. 2019, 32, 443–468. [Google Scholar] [CrossRef]
- Mareddy, P.L.; Prayagi, S.; Narapureddy, S.R.; Hemantha Kumar, A.; Lakshmi Narsimhamu, K. Simultaneous scheduling of machines and tools without tool delay using crow search algorithm. In Recent Advances in Material, Manufacturing, and Machine Learning (RAMML-22); Chapter 6, T&F; CRC Press: Boca Raton, FL, USA, 2023; Volume 1. [Google Scholar]
- Narapureddy, S.R.; Mareddy, P.L.; Poli, C.R.; Prayagi, S. Optimal scheduling methodology for machines, tool transporter and tools in a multi-machine flexible manufacturing system without tool delay using flower pollination algorithm. In Recent Advances in Material, Manufacturing, and Machine Learning (RAMML-22); Chapter 5, T&F; CRC Press: Boca Raton, FL, USA, 2023; Volume 1. [Google Scholar]
- Mareddy, P.L.; Narapureddy, S.R.; Dwivedula, V.R.; Prayagi, S.V. Simultaneous scheduling of machines, tool transporter and tools in a multi machine flexible manufacturing system without tool delay using crow search algorithm. Jordan J. Mech. Ind. Eng. 2022, 16, 403–419. [Google Scholar]
- Mareddy, P.L.; Narapureddy, S.R.; Dwivedula, V.R.; Karanam, P.R. Optimum scheduling of machines, automated guided vehicles and tools without tool delay in a multi-machine flexible manufacturing system using symbiotic organisms search algorithm. Concurr. Comput. Pract. Exp. 2022, 34, e6950. [Google Scholar] [CrossRef]
- Narapureddy, S.R.; Mareddy, P.L.; Dwivedula, V.R.; Karanam, P.R. Concurrent Scheduling of Machines and AGVS in Multi-Machine FMS with Alternative Routing Using Symbiotic Organisms Search Algorithm. J. Adv. Manuf. Syst. 2022. [Google Scholar] [CrossRef]
- Narapureddy, S.R.; Mareddy, P.L.; Pandey, S.P.; Venkatesh, G.S. Simultaneous scheduling of machines and tools in a multi machine FMS with alternative routing using symbiotic organisms search algorithm. J. Eng. Res. 2021, 21, 813–836. [Google Scholar] [CrossRef]
- Narapureddy, S.R.; Mareddy, P.L.; Dwivedula, V.R.; Karanam, P.R. Simultaneous Scheduling of Machines and Tools in a Multi-Machine FMS with Alternate Machines Using Crow Search Algorithm. J. Adv. Manuf. Syst. 2022, 21, 813–836. [Google Scholar] [CrossRef]
- Narapureddy, S.R.; Mareddy, P.L.; Dwivedula, V.R.; Karanam, P.R. Parallel Scheduling of Machines, Tool Transporter and Tools in a Multi Machine FMS with Alternative Routing Using Flower Pollination Algorithm. J. Adv. Manuf. Syst. 2022, 21, 1–36. [Google Scholar] [CrossRef]
- Padma Lalitha, M.; Sivarami Reddy, N.; Narasimhamu, K.L.; Suneetha, I. Machines, Tools and Tool Transporter Concurrent Scheduling in a Multi-Machine FMS with Alternative Routing Using Symbiotic Organisms Search Algorithm. Available online: http://hit.alljournals.cn/jhit_cn/ch/reader/view_abstract.aspx?file_no=202301310000001&edit_id=20230131211519001&flag=2 (accessed on 15 January 2021).
- Gündüz, U.; Sivrikaya-Serifoglu, F.; Bilge, U. A genetic algorithm approach to the simultaneous scheduling of machines and automated guided vehicles. Comput. Oper. Res. 1997, 24, 335–351. [Google Scholar]
- Aldrin Raj, J.; Ravindran, D.; Saravanan, M.; Prabaharan, T. Simultaneous scheduling of machines and tools in multimachine flexible manufacturing system using artificial immune system algorithm. Int. J. Compt. Integr. Manuf. 2014, 27, 401–414. [Google Scholar] [CrossRef]
- Lacomme, P.; Moukrim, A.; Tchernev, N. Simultaneous job input sequencing and vehicle dispatching in a single-vehicle automated guided vehicle system: A heuristic branch-and-bound approach coupled with a discrete events simulation model. Int. J. Prod. Res. 2005, 43, 1911–1942. [Google Scholar] [CrossRef]
- Yan, Z.; Xiao, Y.; Seo, Y. A Tabu Search Algorithm for simultaneous Machine/AGV Scheduling Problem. Int. J. Prod. Res. 2014, 52, 5748–5763. [Google Scholar] [CrossRef]







| Job Set No. | Total Operations | Total Jobs | Tools Required | MCs Required | Cmax Obtained by | Computational Time in Seconds | ||
|---|---|---|---|---|---|---|---|---|
| SOSA | BBA | SOSA | BBA | |||||
| 1 | 5 | 2 | 3 | 4 | 62 | 62 | 16.358947 | 4.702481 |
| 2 | 6 | 2 | 3 | 4 | 84 | 84 | 17.405744 | 5.908866 |
| 3 | 6 | 3 | 4 | 4 | 80 | 80 | 17.872965 | 5.908828 |
| 4 | 7 | 2 | 4 | 4 | 96 | 96 | 18.524986 | 7.030890 |
| 5 | 7 | 3 | 3 | 4 | 71 | 71 | 19.874071 | 7.066365 |
| 6 | 7 | 3 | 4 | 4 | 79 | 79 | 21.694214 | 7.058211 |
| 7 | 8 | 2 | 4 | 4 | 113 | 113 | 19.746456 | 8.138442 |
| 8 | 8 | 3 | 4 | 4 | 90 | 90 | 20.635373 | 8.198285 |
| 9 | 8 | 4 | 3 | 4 | 77 | 77 | 23.851701 | 8.416524 |
| 11 | 10 | 4 | 4 | 4 | 94 | 94 | 28.128439 | 10.321755 |
| 12 | 10 | 5 | 3 | 4 | 91 | 91 | 31.818287 | 10.546198 |
| 13 | 11 | 4 | 4 | 4 | 100 | 100 | 29.584719 | 11.455837 |
| 14 | 11 | 5 | 4 | 4 | 96 | 96 | 13.410888 | 11.576262 |
| 15 | 12 | 5 | 3 | 4 | 95 | 95 | 37.272269 | 12.507912 |
| 16 | 13 | 6 | 3 | 4 | 105 | 105 | 42.944576 | 13.867484 |
| 17 | 14 | 4 | 4 | 4 | 116 | 116 | 36.018327 | 14.699546 |
| 18 | 14 | 5 | 4 | 4 | 126 | 126 | 40.006187 | 15.132494 |
| 19 | 15 | 5 | 4 | 4 | 132 | 132 | 41.277400 | 15.565312 |
| 20 | 16 | 5 | 4 | 4 | 136 | 136 | 44.057371 | 16.778185 |
| Job Set Number | Case 1 | |||||||||||
| LYOT 1 | LYOT 2 | |||||||||||
| Best Cmax | Mean | SDVN | Best Cmax | Mean | SDVN | |||||||
| SOSA | FPA | SOSA | FPA | SOSA | FPA | SOSA | FPA | SOSA | FPA | SOSA | FPA | |
| 1 | 118 | 118 | 121.00 | 118.40 | 1.7728 | 0.8944 | 94 | 94 | 95.00 | 94.00 | 1.5119 | 0.0000 |
| 2 | 123 | 123 | 126.63 | 124.80 | 2.5036 | 2.0494 | 95 | 95 | 99.88 | 96.80 | 2.1002 | 1.4832 |
| 3 | 127 | 118 | 130.75 | 123.80 | 2.252 | 3.3466 | 99 | 99 | 101.63 | 100.20 | 0.5175 | 1.0954 |
| 4 | 133 | 133 | 135.375 | 135.20 | 1.5059 | 1.7889 | 104 | 104 | 107.63 | 106.00 | 1.9226 | 1.4142 |
| 5 | 101 | 101 | 103.25 | 102.20 | 1.3887 | 1.3038 | 82 | 82 | 84.00 | 82.40 | 1.7728 | 0.5477 |
| 6 | 127 | 120 | 130.75 | 122.60 | 1.9821 | 2.4083 | 104 | 104 | 108.38 | 105.40 | 2.3867 | 1.5166 |
| 7 | 132 | 132 | 135.50 | 133.80 | 2.0000 | 1.0954 | 96 | 96 | 99.38 | 98.80 | 2.3867 | 1.9235 |
| 8 | 160 | 161 | 163.75 | 162.20 | 2.1876 | 1.3038 | 145 | 141 | 145.00 | 142.40 | 1.8516 | 1.1402 |
| 9 | 137 | 130 | 138.25 | 132.80 | 1.3887 | 2.1679 | 113 | 109 | 115.88 | 111.40 | 1.8077 | 2.6077 |
| 10 | 180 | 176 | 183.00 | 179.00 | 2.2039 | 1.8708 | 158 | 154 | 162.38 | 155.80 | 3.1139 | 1.9235 |
| Job Set Number | LYOT 3 | LYOT 4 | ||||||||||
| Best Cmax | Mean | SDVN | Best Cmax | Mean | SDVN | |||||||
| SOSA | FPA | SOSA | FPA | SOSA | FPA | SOSA | FPA | SOSA | FPA | SOSA | FPA | |
| 1 | 96 | 96 | 97.13 | 98.20 | 0.9910 | 1.3038 | 132 | 132 | 138.13 | 132.80 | 3.6031 | 1.0954 |
| 2 | 105 | 104 | 106.75 | 105.60 | 1.6690 | 1.5166 | 138 | 138 | 140.13 | 141.20 | 2.2321 | 3.0332 |
| 3 | 102 | 102 | 103.88 | 103.00 | 1.1260 | 1.2247 | 139 | 139 | 142.25 | 139.00 | 3.1053 | 0.0000 |
| 4 | 106 | 106 | 109.38 | 108.40 | 1.8468 | 2.7928 | 150 | 151 | 153.38 | 153.60 | 3.3404 | 1.6733 |
| 5 | 86 | 86 | 87.88 | 86.40 | 1.4577 | 0.5477 | 116 | 116 | 118.63 | 116.80 | 2.8754 | 1.7889 |
| 6 | 108 | 108 | 109.50 | 108.60 | 1.1952 | 0.5477 | 128 | 128 | 130.88 | 130.80 | 2.1671 | 2.49 |
| 7 | 109 | 103 | 111.88 | 105.60 | 2.1671 | 2.0736 | 150 | 150 | 153.75 | 152.20 | 2.2520 | 2.8636 |
| 8 | 149 | 143 | 151.50 | 145.80 | 2.3299 | 1.6432 | 180 | 183 | 190.25 | 184.60 | 3.6828 | 1.5166 |
| 9 | 118 | 115 | 121.25 | 116.00 | 2.3146 | 1.2247 | 151 | 143 | 153.25 | 145.20 | 1.8323 | 3.0342 |
| 10 | 168 | 158 | 171.13 | 161.00 | 2.4165 | 2.5495 | 201 | 195 | 206.50 | 198.80 | 3.5456 | 3.0364 |
| Job Set Number | Case 2 | |||||||||||
| LYOT 1 | LYOT 2 | |||||||||||
| Best Cmax | Mean | SDVN | Best Cmax | Mean | SDVN | |||||||
| SOSA | FPA | SOSA | FPA | SOSA | FPA | SOSA | FPA | SOSA | FPA | SOSA | FPA | |
| 1 | 150 | 150 | 150.00 | 150.00 | 0.0000 | 0.0000 | 132 | 132 | 132.00 | 132.00 | 0.0000 | 0.0000 |
| 2 | 167 | 167 | 168.50 | 168.80 | 1.6903 | 1.6432 | 146 | 146 | 149.50 | 148.20 | 3.5040 | 3.3032 |
| 3 | 165 | 165 | 170.25 | 169.20 | 3.0119 | 3.8341 | 155 | 154 | 158.88 | 157.00 | 2.2972 | 2.4495 |
| 4 | 153 | 153 | 156.75 | 153.80 | 2.5495 | 0.4472 | 134 | 134 | 136.00 | 134.60 | 1.7728 | 0.5477 |
| 5 | 133 | 133 | 133.50 | 133.00 | 0.5345 | 0.0000 | 112 | 112 | 113.75 | 112.00 | 1.0351 | 0.0000 |
| 6 | 192 | 192 | 192.00 | 192.00 | 0.0000 | 0.0000 | 183 | 183 | 184.25 | 183.00 | 2.3146 | 0.0000 |
| 7 | 164 | 164 | 167.50 | 164.00 | 3.295 | 0.0000 | 145 | 145 | 148.38 | 149.20 | 1.9955 | 2.7749 |
| 8 | 274 | 274 | 275.00 | 274.00 | 1.4142 | 0.0000 | 288 | 288 | 288.00 | 288.00 | 0.0000 | 0.0000 |
| 9 | 191 | 191 | 194.38 | 191.00 | 1.8468 | 0.0000 | 181 | 181 | 184.50 | 181.00 | 2.3905 | 0.0000 |
| 10 | 265 | 265 | 268.75 | 267.00 | 3.5742 | 2.5100 | 259 | 249 | 262.50 | 252.40 | 3.0708 | 3.2684 |
| Job Set Number | LYOT 3 | LYOT 4 | ||||||||||
| Best Cmax | Mean | SDVN | Best Cmax | Mean | SDVN | |||||||
| SOSA | FPA | SOSA | FPA | SOSA | FPA | SOSA | FPA | SOSA | FPA | SOSA | FPA | |
| 1 | 135 | 135 | 135.00 | 135.00 | 0.0000 | 0.0000 | 168 | 168 | 169.75 | 168.60 | 0.8864 | 1.3416 |
| 2 | 150 | 150 | 153.38 | 153.60 | 3.4701 | 3.4928 | 183 | 183 | 186.63 | 184.40 | 3.7773 | 3.3105 |
| 3 | 154 | 154 | 157.38 | 157.20 | 2.3867 | 3.5673 | 184 | 178 | 188.63 | 181.40 | 3.3780 | 2.5100 |
| 4 | 136 | 136 | 139.25 | 137.40 | 2.8158 | 1.9494 | 169 | 169 | 172.75 | 171.80 | 3.4122 | 1.7889 |
| 5 | 115 | 115 | 115.50 | 115.00 | 1.0690 | 0.0000 | 146 | 146 | 147.13 | 146.00 | 1.2464 | 0.0000 |
| 6 | 186 | 186 | 186.00 | 186.00 | 0.0000 | 0.0000 | 200 | 200 | 200.13 | 200.00 | 0.3536 | 0.0000 |
| 7 | 149 | 149 | 151.38 | 152.40 | 1.8468 | 2.9665 | 172 | 172 | 176.13 | 176.00 | 3.7641 | 2.4495 |
| 8 | 269 | 269 | 269.00 | 269.00 | 0.0000 | 0.0000 | 275 | 275 | 278.63 | 275.20 | 3.0677 | 0.4472 |
| 9 | 182 | 182 | 182.60 | 182.60 | 3.8914 | 0.8944 | 204 | 204 | 205.00 | 204.60 | 1.7728 | 0.5477 |
| 10 | 261 | 249 | 264.63 | 252.20 | 2.4458 | 3.3485 | 286 | 275 | 291.13 | 278.00 | 2.9490 | 3.1833 |
| Job Set Number | Case 3 | - | ||||||||||
| LYOT 4 | - | |||||||||||
| Best Cmax | Mean | SDVN | - | - | - | |||||||
| SOSA | FPA | SOSA | FPA | SOSA | FPA | - | - | - | - | - | - | |
| 2 | 245 | 245 | 247.75 | 246.20 | 2.4349 | 1.6432 | - | - | - | - | - | - |
| 3 | 245 | 245 | 248.50 | 245.20 | 3.7033 | 0.4472 | - | - | - | - | - | - |
| 4 | 213 | 213 | 216.63 | 215.20 | 2.5036 | 2.5884 | - | - | - | - | - | - |
| 5 | 184 | 184 | 185.38 | 184.00 | 1.1877 | 0.0000 | - | - | - | - | - | - |
| 7 | 233 | 233 | 236.50 | 236.20 | 3.2950 | 3.4623 | - | - | - | - | - | - |
| Case 1 | ||||||||||
|---|---|---|---|---|---|---|---|---|---|---|
| Job Set Number | LYOT 1 | |||||||||
| Best Cmax Obtained by SOSA | Minimum Copies of Each Type of Tool for Minimum MSN without Tool Delay | Best Cmax Obtained by FPA | Minimum Copies of Each Type of Tool for Minimum MSN without Tool Delay | |||||||
| T4 | T3 | T2 | T1 | T4 | T3 | T2 | T1 | |||
| 1 | 118 | 2 | 1 | 2 | 2 | 118 | 2 | 1 | 2 | 2 |
| 2 | 123 | 1 | 1 | 2 | 2 | 123 | 2 | 1 | 2 | 2 |
| 3 | 127 | 2 | 2 | 1 | 1 | 118 | 2 | 2 | 1 | 1 |
| 4 | 133 | 1 | 2 | 2 | 2 | 133 | 1 | 2 | 2 | 2 |
| 5 | 101 | 1 | 1 | 1 | 1 | 101 | 1 | 1 | 1 | 1 |
| 6 | 127 | 1 | 1 | 1 | 1 | 120 | 1 | 1 | 1 | 1 |
| 7 | 132 | 1 | 2 | 2 | 1 | 132 | 1 | 1 | 1 | 1 |
| 8 | 160 | 1 | 2 | 2 | 1 | 161 | 1 | 2 | 2 | 1 |
| 9 | 137 | 2 | 1 | 2 | 1 | 130 | 2 | 1 | 2 | 1 |
| 10 | 180 | 1 | 2 | 2 | 2 | 176 | 2 | 2 | 2 | 2 |
| Job Set Number | Case 1 | |||||||||||
| LAOT 1 | LAOT 2 | LAOT 3 | LAOT 4 | |||||||||
| LB | Best Cmax Obtained by SOSA | GAP (%) (B − A)/B | LB | Best Cmax Obtained by SOSA | GAP (%) (B − A)/B | LB | Best Cmax Obtained by SOSA | GAP (%) (B − A)/B | LB | Best Cmax Obtained by SOSA | GAP (%) (B − A)/B | |
| 1 | 76 | 118 | 35.59 | 87 | 94 | 7.45 | 68 | 96 | 29.17 | 73 | 132 | 44.70 |
| 2 | 96 | 123 | 21.95 | 87 | 95 | 8.42 | 86 | 105 | 18.10 | 94 | 138 | 31.88 |
| 3 | 91 | 127 | 28.35 | 88 | 99 | 11.11 | 78 | 102 | 23.53 | 91 | 139 | 34.53 |
| 4 | 82 | 133 | 38.35 | 91 | 104 | 12.50 | 69 | 106 | 34.91 | 82 | 150 | 45.33 |
| 5 | 64 | 101 | 36.63 | 74 | 82 | 9.76 | 59 | 86 | 31.40 | 61 | 116 | 47.41 |
| 6 | 107 | 127 | 15.75 | 100 | 104 | 3.85 | 93 | 108 | 13.89 | 103 | 128 | 19.53 |
| 7 | 82 | 132 | 37.88 | 85 | 96 | 11.46 | 79 | 109 | 27.52 | 82 | 150 | 45.33 |
| 8 | 155 | 160 | 3.13 | 140 | 145 | 3.45 | 148 | 149 | 0.67 | 158 | 180 | 12.22 |
| 9 | 100 | 137 | 27.01 | 108 | 113 | 4.42 | 100 | 118 | 15.25 | 102 | 151 | 32.45 |
| 10 | 130 | 180 | 27.78 | 139 | 158 | 12.03 | 123 | 168 | 26.79 | 126 | 201 | 37.31 |
| Job Set Number | Case 2 | |||||||||||
| LAOT 1 | LAOT 2 | LAOT 3 | LAOT 4 | |||||||||
|---|---|---|---|---|---|---|---|---|---|---|---|---|
| LB | Best Cmax Obtained by SOSA | GAP (%) (B − A)/B | LB | Best Cmax Obtained by SOSA | GAP (%) (B − A)/B | LB | Best Cmax Obtained by SOSA | GAP (%) (B − A)/B | LB | Best Cmax Obtained by SOSA | GAP (%) (B − A)/B | |
| 1 | 133 | 150 | 11.33 | 129 | 132 | 2.27 | 125 | 135 | 7.41 | 131 | 168 | 22.02 |
| 2 | 164 | 167 | 1.80 | 146 | 146 | 0.00 | 150 | 150 | 0.00 | 178 | 183 | 2.73 |
| 3 | 146 | 165 | 11.52 | 150 | 155 | 3.23 | 151 | 154 | 1.95 | 161 | 184 | 12.50 |
| 4 | 118 | 153 | 22.88 | 118 | 134 | 11.94 | 117 | 136 | 13.97 | 124 | 169 | 26.63 |
| 5 | 109 | 133 | 18.05 | 106 | 112 | 5.36 | 102 | 115 | 11.30 | 125 | 146 | 14.38 |
| 6 | 181 | 192 | 5.73 | 183 | 183 | 0.00 | 186 | 186 | 0.00 | 194 | 200 | 3.00 |
| 7 | 146 | 164 | 10.98 | 143 | 145 | 1.38 | 143 | 149 | 4.03 | 148 | 172 | 13.95 |
| 8 | 274 | 274 | 0.00 | 289 | 289 | 0.00 | 292 | 292 | 0.00 | 295 | 295 | 0.00 |
| 9 | 158 | 191 | 17.28 | 181 | 181 | 0.00 | 185 | 185 | 0.00 | 189 | 204 | 7.35 |
| 10 | 222 | 265 | 16.23 | 240 | 259 | 7.34 | 240 | 261 | 8.05 | 246 | 286 | 13.99 |
| Job Set Number | Case 3 | - | - | - | ||||||||
| LAOT 4 | - | - | - | |||||||||
| LB | Best Cmax Obtained by SOSA | GAP (%) (B − A)/B | - | - | - | - | - | - | - | - | - | |
| 2 | 235 | 245 | 4.08 | - | - | - | - | - | - | - | - | - |
| 3 | 213 | 245 | 13.06 | - | - | - | - | - | - | - | - | - |
| 4 | 172 | 213 | 19.25 | - | - | - | - | - | - | - | - | - |
| 5 | 155 | 184 | 15.76 | - | - | - | - | - | - | - | - | - |
| 7 | 214 | 233 | 8.15 | - | - | - | - | - | - | - | - | - |
| Job Operation | 5-1 | 1-1 | 2-1 | 4-1 | 1-2 | 3-1 | 4-2 | 5-2 | 3-2 | 2-2 | 3-3 | 1-3 | 2-3 |
|---|---|---|---|---|---|---|---|---|---|---|---|---|---|
| MC | 3 | 1 | 1 | 4 | 2 | 3 | 2 | 1 | 4 | 3 | 4 | 1 | 2 |
| AGV | 2 | 1 | 1 | 2 | 1 | 1 | 2 | 1 | 1 | 2 | 2 | 1 | 2 |
| Tool copy | 2A | 3A | 2A | 3A | 4A | 1A | 4A | 1B | 4A | 3A | 2A | 1A | 1B |
| Case 1 | ||||||||||||
| Job Set Number | LYOT 1 | LYOT 2 | LYOT 3 | LYOT 4 | ||||||||
| SMATTTWD | SMATWCT | % Reduction | SMATTTWD | SMATWCT | % Reduction | SMATTTWD | SMATWCT | % Reduction | SMATTTWD | SMATWCT | % Reduction | |
| 1 | 118 | 124 | 4.84 | 94 | 105 | 10.48 | 96 | 103 | 6.80 | 132 | 139 | 5.04 |
| 2 | 123 | 129 | 4.65 | 95 | 101 | 5.94 | 105 | 116 | 9.48 | 138 | 149 | 7.38 |
| 3 | 127 | 134 | 5.22 | 99 | 106 | 6.60 | 102 | 115 | 11.30 | 139 | 151 | 7.95 |
| 4 | 133 | 142 | 6.34 | 104 | 120 | 13.33 | 106 | 125 | 15.20 | 150 | 160 | 6.25 |
| 5 | 101 | 102 | 0.98 | 82 | 84 | 2.38 | 86 | 88 | 2.27 | 116 | 116 | 0.00 |
| 6 | 127 | 127 | 0.00 | 104 | 105 | 0.95 | 108 | 108 | 0.00 | 128 | 137 | 6.57 |
| 7 | 132 | 139 | 5.04 | 96 | 111 | 13.51 | 109 | 118 | 7.63 | 150 | 158 | 5.06 |
| 8 | 160 | 173 | 7.51 | 145 | 156 | 7.05 | 149 | 163 | 8.59 | 180 | 191 | 5.76 |
| 9 | 137 | 156 | 12.18 | 113 | 140 | 19.29 | 118 | 144 | 18.06 | 151 | 151 | 0.00 |
| 10 | 180 | 200 | 10.00 | 158 | 176 | 10.23 | 168 | 183 | 8.20 | 201 | 210 | 4.29 |
| Case 2 | ||||||||||||
| Job Set Number | LYOT 1 | LYOT 2 | LYOT 3 | LYOT 4 | ||||||||
| SMATTTWD | SMATWCT | % reduction | SMATTTWD | SMATWCT | % reduction | SMATTTWD | SMATWCT | % reduction | SMATTTWD | SMATWCT | % reduction | |
| 1 | 150 | 182 | 17.58 | 132 | 161 | 18.01 | 135 | 161 | 16.15 | 168 | 182 | 7.69 |
| 2 | 167 | 191 | 12.57 | 146 | 181 | 19.34 | 150 | 184 | 18.48 | 183 | 199 | 8.04 |
| 3 | 165 | 194 | 14.95 | 155 | 181 | 14.36 | 154 | 183 | 15.85 | 184 | 204 | 9.80 |
| 4 | 153 | 170 | 10.00 | 134 | 158 | 15.19 | 136 | 161 | 15.53 | 169 | 186 | 9.14 |
| 5 | 133 | 137 | 2.92 | 112 | 120 | 6.67 | 115 | 127 | 9.45 | 146 | 147 | 0.68 |
| 6 | 192 | 192 | 0.00 | 183 | 183 | 0.00 | 186 | 186 | 0.00 | 200 | 200 | 0.00 |
| 7 | 164 | 185 | 11.35 | 145 | 174 | 16.67 | 149 | 181 | 17.68 | 172 | 200 | 14.00 |
| 8 | 274 | 300 | 8.67 | 288 | 292 | 1.37 | 269 | 295 | 8.81 | 275 | 304 | 9.54 |
| 9 | 191 | 258 | 25.97 | 181 | 252 | 28.17 | 182 | 253 | 28.06 | 204 | 254 | 19.69 |
| 10 | 265 | 326 | 18.71 | 259 | 310 | 16.45 | 261 | 315 | 17.14 | 286 | 322 | 11.18 |
| Case 3 | - | - | - | |||||||||
| Job Set Number | LYOT 4 | - | - | - | ||||||||
| SMATTTWD | SMATWCT | % reduction | - | - | - | - | - | - | - | - | - | |
| 2 | 245 | 279 | 12.19 | - | - | - | - | - | - | - | - | - |
| 3 | 245 | 278 | 11.87 | - | - | - | - | - | - | - | - | - |
| 4 | 213 | 238 | 10.50 | - | - | - | - | - | - | - | - | - |
| 5 | 184 | 194 | 5.15 | - | - | - | - | - | - | - | - | - |
| 7 | 233 | 269 | 13.38 | - | - | - | - | - | - | - | - | - |
| From | To | ||||||
|---|---|---|---|---|---|---|---|
| LUS | MC 1 | MC 2 | MC 3 | MC 4 | MC 5 | MC 6 | |
| LUS | 00 | 04 | 06 | 08 | 14 | 12 | 10 |
| MC 1 | 10 | 00 | 03 | 05 | 11 | 09 | 07 |
| MC 2 | 12 | 15 | 00 | 03 | 09 | 07 | 09 |
| MC 3 | 14 | 17 | 15 | 0 | 07 | 09 | 11 |
| MC 4 | 08 | 11 | 09 | 07 | 00 | 03 | 05 |
| MC 5 | 06 | 09 | 07 | 09 | 15 | 00 | 03 |
| MC 6 | 04 | 07 | 09 | 11 | 17 | 15 | 00 |
| From | To | ||||||
|---|---|---|---|---|---|---|---|
| CTM | MC 1 | MC 2 | MC 3 | MC 4 | MC 5 | MC 6 | |
| CTM | 00 | 05 | 07 | 10 | 17 | 14 | 12 |
| MC 1 | 12 | 00 | 04 | 06 | 13 | 11 | 08 |
| MC 2 | 14 | 18 | 00 | 04 | 11 | 08 | 11 |
| MC 3 | 17 | 20 | 18 | 00 | 08 | 11 | 13 |
| MC 4 | 10 | 13 | 11 | 08 | 00 | 04 | 06 |
| MC 5 | 07 | 11 | 08 | 11 | 18 | 00 | 04 |
| MC 6 | 05 | 08 | 11 | 13 | 20 | 18 | 00 |
| S. No. | 1 | 2 | 3 | 4 | 5 | 6 | 7 | 8 | 9 | 10 | 11 | 12 | 13 | 14 | 15 |
| Job-operation | 8-1 | 5-1 | 2-1 | 1-1 | 7-1 | 4-1 | 5-2 | 9-1 | 7-2 | 7-3 | 1-2 | 8-2 | 5-3 | 4-2 | 7-4 |
| MC | 5 | 5 | 5 | 1 | 1 | 1 | 6 | 5 | 1 | 1 | 1 | 6 | 4 | 1 | 1 |
| AGV | 2 | 1 | 2 | 2 | 2 | 1 | 1 | 1 | 1 | 1 | 1 | 2 | 1 | 2 | 2 |
| Tool copy | 14 | 14 | 14 | 1 | 1 | 1 | 13A | 14 | 1 | 2 | 1 | 13A | 13B | 1 | 3 |
| S. No. | 16 | 17 | 18 | 19 | 20 | 21 | 22 | 23 | 24 | 25 | 26 | 27 | 28 | 29 | 30 |
| Job-operation | 4-3 | 2-2 | 5-4 | 6-1 | 7-5 | 2-3 | 4-4 | 2-4 | 7-6 | 5-5 | 3-1 | 2-5 | 7-7 | 8-3 | 8-4 |
| MC | 1 | 6 | 3 | 5 | 1 | 4 | 1 | 3 | 1 | 5 | 5 | 5 | 1 | 4 | 3 |
| AGV | 1 | 1 | 2 | 1 | 2 | 2 | 2 | 1 | 2 | 1 | 1 | 1 | 1 | 2 | 2 |
| Tool copy | 2 | 13A | 22 | 14 | 1 | 13B | 3 | 22 | 4 | 10A | 14 | 10A | 1 | 13B | 22 |
| S. No. | 31 | 32 | 33 | 34 | 35 | 36 | 37 | 38 | 39 | 40 | 41 | 42 | 43 | 44 | 45 |
| Job-operation | 8-5 | 5-6 | 4-5 | 7-8 | 1-3 | 3-2 | 8-6 | 1-4 | 3-3 | 1-5 | 5-7 | 9-2 | 7-9 | 1-6 | 5-8 |
| MC | 5 | 4 | 1 | 2 | 1 | 5 | 4 | 1 | 2 | 1 | 4 | 5 | 1 | 1 | 5 |
| AGV | 1 | 2 | 1 | 2 | 2 | 2 | 1 | 2 | 2 | 1 | 2 | 1 | 1 | 2 | 2 |
| Tool copy | 10A | 10B | 1 | 16 | 2 | 14 | 10B | 3 | 10A | 1 | 8 | 14 | 2 | 4 | 15 |
| S. No. | 46 | 47 | 48 | 49 | 50 | 51 | 52 | 53 | 54 | 55 | 56 | 57 | 58 | 59 | 60 |
| Job-operation | 4-6 | 1-7 | 2-6 | 7-10 | 4-7 | 5-9 | 8-7 | 1-8 | 1-9 | 4-8 | 4-9 | 6-2 | 2-7 | 1-10 | 3-4 |
| MC | 1 | 1 | 4 | 4 | 1 | 4 | 4 | 2 | 1 | 2 | 1 | 5 | 4 | 4 | 4 |
| AGV | 2 | 2 | 1 | 2 | 2 | 1 | 2 | 1 | 1 | 2 | 2 | 2 | 2 | 2 | 1 |
| Tool copy | 4 | 1 | 10B | 7 | 1 | 9 | 8 | 16 | 2 | 16 | 2 | 14 | 8 | 7 | 7 |
| S. No. | 61 | 62 | 63 | 64 | 65 | 66 | 67 | 68 | 69 | 70 | 71 | 72 | 73 | 74 | 75 |
| Job-operation | 2-8 | 8-8 | 4-10 | 4-11 | 8-9 | 1-11 | 5-10 | 8-10 | 5-11 | 7-11 | 2-9 | 4-12 | 1-12 | 8-11 | 4-13 |
| MC | 5 | 5 | 4 | 2 | 4 | 2 | 4 | 4 | 6 | 2 | 4 | 3 | 3 | 6 | 3 |
| AGV | 1 | 2 | 2 | 2 | 1 | 2 | 1 | 1 | 2 | 2 | 1 | 1 | 2 | 1 | 1 |
| Tool copy | 15 | 15 | 7 | 11 | 9 | 11 | 5 | 5 | 21 | 11 | 9 | 13A | 13B | 21 | 12 |
| S. No. | 76 | 77 | 78 | 79 | 80 | 81 | 82 | 83 | 84 | 85 | 86 | 87 | 88 | 89 | 90 |
| Job-operation | 8-12 | 2-10 | 2-11 | 2-12 | 5-12 | 4-14 | 8-13 | 9-3 | 1-13 | 7-12 | 1-14 | 1-15 | 5-13 | 9-4 | 7-13 |
| MC | 4 | 4 | 6 | 4 | 4 | 4 | 4 | 2 | 3 | 3 | 4 | 4 | 4 | 4 | 3 |
| AGV | 1 | 1 | 1 | 1 | 1 | 1 | 1 | 1 | 1 | 2 | 2 | 1 | 2 | 2 | 2 |
| Tool copy | 9 | 5 | 21 | 9 | 9 | 7 | 18 | 10A | 12 | 13A | 7 | 6 | 18 | 7 | 12 |
| S. No. | 91 | 92 | 93 | 94 | 95 | 96 | 97 | 98 | 99 | 100 | 101 | 102 | 103 | 104 | 105 |
| Job-operation | 8-14 | 7-14 | 7-15 | 1-16 | 2-13 | 2-14 | 6-3 | 4-15 | 5-14 | 2-15 | 7-16 | 4-16 | 5-15 | 6-4 | 8-15 |
| MC | 4 | 4 | 4 | 3 | 4 | 4 | 2 | 4 | 4 | 4 | 3 | 3 | 4 | 4 | 4 |
| AGV | 1 | 2 | 1 | 1 | 1 | 1 | 1 | 1 | 2 | 2 | 2 | 1 | 2 | 2 | 1 |
| Tool copy | 19 | 7 | 6 | 17 | 18 | 19 | 10A | 6 | 19 | 20 | 17 | 17 | 20 | 7 | 20 |
| MC | SOSA | FPA | ||
|---|---|---|---|---|
| MC1 | ON1,1[40–48,2,1], | ON7,1[54–62,2,1], | ON7,1[26–34,1,1], | ON7,2[34–44,1,1], |
| ON4,1[62–70,1,1], | ON7,2[70–80,1,1], | ON4,1[44–52,1,1], | ON7,3[52–80,1,2], | |
| ON7,3[80–108,1,2], | ON1,2[108–118,1,1], | ON4,2[80–90,2,1], | ON4,3[90–118,2,2], | |
| ON4,2[118–128,2,1], | ON7,4[128–134,2,3], | ON1,1[118–126,2,1], | ON4,4[134–140,2,3], | |
| ON4,3[134–162,1,2], | ON7,5[162–180,2,1], | ON4,5[140–158,1,1], | ON7,4[158–164,1,3], | |
| ON4,4[180–186,2,3], | ON7,6[186–193,2,4], | ON7,5[164–182,1,1], | ON7,6[182–189,2,4], | |
| ON7,7[225–233,1,1], | ON4,5[243–261,1,1], | ON7,7[189–197,2,1], | ON1,2[197–207,2,1], | |
| ON1,3[263–291,2,2], | ON1,4[291–297,2,3], | ON4,6[215–222,1,4], | ON1,3[237–265,1,2], | |
| ON1,5[297–315,1,1], | ON7,9[315–342,1,2] | ON1,4[265–271,1,3], | ON7,9[271–298,1,2] | |
| ON1,6[342–349,2,4], | ON4,6[349–356,2,4], | ON1,5[298–316,1,1], | ON1,6[316–323,2,4], | |
| ON1,7[356–364,2,1], | ON4,7[364–372,2,1], | ON1,7[323–331,2,1], | ON4,7[359–367,2,1], | |
| ON1,9[388–415,1,2], | ON4,9[415–442,2,2], | ON4,9[394–421,1,2], | ON1,9[421–448,1,2], | |
| MC2 | ON7,8[253–259,2,16], | ON3,3[269–275,2,10A], | ON7,8[201–207,1,16], | ON7,11[338–367,2,11], |
| ON1,8[367–373,1,16], | ON4,8[375–381,2,16], | ON1,8[367–373,1,16], | ON4,8[373–379,1,16], | |
| ON4,11[473–502,2,11], | ON1,11[502–531,2,11], | ON6,3[454–460,2,10A], | ON4,11[460–489,2,11], | |
| ON7,11[542–571,2,11], | ON9,3[642–648,1,10A], | ON3,3[529–535,2,10A] | ON1,11[556–585,1,11], | |
| ON6,3[709–715,1,10A], | - | ON9,3[597–603,2,10A], | - | |
| MC3 | ON5,4[150–1159,2,22], | ON2,4[171–180,1,22], | ON5,4[156–165,2,22], | ON2,4[232–241,2,22], |
| ON8,4[193–202,2,22], | ON4,12[539–568,1,13A], | ON8,4[263–272,2,22], | ON7,12[402–431,2,13B], | |
| ON1,12[568–597,2,13B], | ON4,13[597–615,1,12], | ON7,13[435–453,1,12], | ON4,12[492–521,2,13B], | |
| ON1,13[645–663,1,12], | ON7,12[663–692,2,13A], | ON4,13[521–539,2,12], | ON1,12[600–629,2,13B], | |
| ON7,13[695–713,2,12], | ON1,16[724–739,1,17], | ON1,13[629–647,2,12], | ON4,16[682–697,2,17], | |
| ON7,16[743–758,2,17], | ON4,16[765–780,1,17], | ON1,16[697–712,1,17], | ON7,16[712–727,2,17], | |
| MC4 | ON5,3[109–114,1,13B], | ON2,3[159–164,2,13B], | ON5,3[119–124,1,13B], | ON2,3[194–199,2,13B], |
| ON8,3[181–186,2,13B], | ON5,6[236–241,2,10B], | ON8,3[226–231,1,13B], | ON5,6[256–261,2,10B], | |
| ON8,6[256–261,1,10B], | ON5,7[300–307,2,8], | ON2,6[286–291,1,10B], | ON5,7[291–298,2,8], | |
| ON2,6[307–312,1,10B], | ON7,10[353–364,2,7], | ON7,10[318–329,2,7], | ON2,7[365–372,2,8], | |
| ON5,9[380–396,1,9], | ON8,7[396–403,2,8], | ON8,6[372–377,1,10B], | ON8,7[377–384,2,8], | |
| ON2,7[407–414,2,8], | ON1,10[426–437,2,7], | ON5,9[390–406,2,9], | ON4,10[432–443,2,7], | |
| ON3,4[437–444,1,7], | ON4,10[453–464,2,7], | ON8,9[448–464,1,9], | ON7,14[470–477,2,7], | |
| ON8,9[464–480,1,9], | ON5,10[504–511,1,5], | ON1,10[477–488,1,7], | ON8,10[488–495,2,5], | |
| ON8,10[511–518,1,5], | ON2,9[518–534,1,9], | ON5,10[495–502,1,5], | ON2,9[502–518,1,9], | |
| ON8,12[555–561,1,9], | ON2,10[561–568,1,5], | ON2,10[518–525,2,5], | ON8,12[555–561,2,9], | |
| ON2,12[596–602,1,9], | ON5,12[618–624,1,9], | ON5,12[561–567,1,9], | ON5,13[567–574,2,18], | |
| ON4,14[632–639,1,7], | ON8,13[639–646,1,18], | ON6,4[574–581,1,7], | ON5,14[594–600,2,19], | |
| ON1,14[670–677,2,7], | ON1,15[677–686,1,6], | ON3,4[600–607,2,7], | ON8,13[607–6614,1,18], | |
| ON5,13[686–693,2,18], | ON9,4[693–700,2,7], | ON2,12[614–620,1,9], | ON4,14[620–627,2,7], | |
| ON8,14[704–710,1,19], | ON7,14[720–727,2,7], | ON4,15[627–636,2,6], | ON2,13[636–643,1,18], | |
| ON7,15[727–736,1,6], | ON2,13[736–743,1,18], | ON2,14[643–649,1,19], | ON9,4[649–656,1,7], | |
| ON2,14[743–749,1,19], | ON4,15[749–758,1,6], | ON8,14[656–662,1,19], | ON2,15[662–668,2,20], | |
| ON5,14[758–764,2,19], | ON2,15[764–770,2,20], | ON1,14[668–675,1,7], | ON1,15[675–684,1,6], | |
| ON5,15[770–776,2,20], | ON6,4[776–783,2,7], | ON8,15[684–690,2,20], | ON7,15[690–699,2,6], | |
| ON8,15[783–789,1,20], | ON5,15[699–705,1,20], | - | ||
| MC5 | ON8,1[14–21,2,14], | ON5,1[21–28,1,14], | ON9,1[14–21,2,14], | ON5,1[30–37,2,14], |
| ON2,1[30–37,2,14], | ON9,1[50–57,1,14], | ON9,2[37–44,1,14], | ON8,1[56–63,2,14], | |
| ON6,1[129–136,1,14], | ON5,5[212–219,1,10A], | ON2,1[88–95,2,14], | ON3,1[106–113,2,14], | |
| ON3,1[219–226,1,14], | ON2,5[226–233,1,10A], | ON3,2[140–147,1,14], | ON5,5[229–236,2,10A], | |
| ON8,5[234–241,1,10A], | ON3,2[255–262,2,14], | ON2,5[264–271,1,10A], | ON8,5[302–309,1,10A], | |
| ON9,2[262–269,1,14], | ON5,8[324–331,2,15], | ON6,1[320–327,1,14], | ON5,8[366–373,2,15], | |
| ON6,2[405–412,2,14], | ON2,8[417–424,1,15], | ON2,8[375–382,2,15], | ON6,2[382–389,1,14], | |
| ON8,8[429–436,2,15], | ON8,8[426–433,1,15], | - | ||
| MC6 | ON5,2[64–90,1,13A], | ON8,2[90–116,2,13A], | ON5,2[76–102,2,13A], | ON8,2[125–151,1,13A], |
| ON2,2[116–142,1,13A], | ON5,11[526–532,2,21] | ON2,2[151–177,2,13A], | ON5,11[510–516,2,21] | |
| ON8,11[532–538,1,21], | ON2,11[573–579,1,21], | ON8,11[516–522,1,21], | ON2,11[530–536,1,21], | |
| Minimum number of possible tool copies | All other tool kinds have just one replica, while T10 and T13 have two replicas each | All other tool kinds have just one replica, while T10 and T13 have two replicas each | ||
| Cmax obtained | 789 min | 727 min | ||
| Tool Code | Along with the Machine Used to Accomplish the Operation, the Part Operations that the Tool Replicas Are Assigned to Are also Listed, along with the Operation’s Start and End Times | ||||
|---|---|---|---|---|---|
| T1 | ON1,1[1,40–48], | ON7,1[1,54–62], | ON4,1[1,62–70], | ON7,2[1,70–80], | ON1,2[1,108–118], |
| ON4,2[1,118–128], | ON7,5[1,162–180], | ON7,7[1,225–233], | ON4,5[1,243–261], | ON1,5[1,297–315], | |
| ON1,7[1,356–364], | ON4,7[1,364–372], | - | - | - | |
| T2 | ON7,3[1,80–108], | ON4,3[1,134–162], | ON1,3[1,263–291], | ON7,9[1,315–342], | ON1,9[1,388–415], |
| ON4,9[1,415–442], | - | - | - | - | |
| T3 | ON7,4[1,128–134], | ON4,4[1,180–186], | ON1,4[1,291–297], | - | - |
| T4 | ON7,6[1,186–193], | ON1,6[1,342–349], | ON4,6[1,349–356], | - | - |
| T5 | ON5,10[4,504–511], | ON8,10[4,511–518], | ON2,10[4,561–568], | - | - |
| T6 | ON1,15[4,677–686], | ON7,15[4,727–736], | ON4,15[4,749–758], | - | - |
| T7 | ON7,10[4,353–364], | ON1,10[4,426–437], | ON3,4[4,437–444], | ON4,10[4,453–464], | ON4,14[4,632–639], |
| ON1,14[4,670–677], | ON9,4[4,693–700], | ON7,14[4,720–727], | ON6,4[4,776–783], | - | |
| T8 | ON5,7[4,300–307], | ON8,7[4,396–403], | ON2,7[4,407–414], | - | - |
| T9 | ON5,9[4,380–396], | ON8,9[4,464–480], | ON2,9[4,518–534], | ON8,12[4,555–561], | ON2,12[4,596–602], |
| ON5,12[4,618–624], | - | - | - | - | |
| T10A | ON5,5[5,212–219], | ON2,5[5,226–233], | ON8,5[5,234–241], | ON3,3[2,269–275], | ON9,3[2,642–648], |
| ON6,3[2,709–715], | - | - | - | - | |
| T10B | ON5,6[4,236–241], | ON8,6[4,256–261], | ON2,6[4,307–312], | - | - |
| T11 | ON4,11[2,473–502], | ON1,11[2,502–531], | ON7,11[2,542–571], | - | - |
| T12 | ON4,13[3,597–615], | ON1,13[3,645–663], | ON7,13[3,695–713], | - | - |
| T13A | ON5,2[6,64–90], | ON8,2[6,90–116], | ON2,2[6,116–142], | ON4,12[3,539–568], | ON7,12[3,663–692], |
| T13B | ON5,3[4,109–114], | ON2,3[4,159–164], | ON8,3[4,181–186], | ON1,12[3,568–597], | - |
| T14 | ON8,1[5,14–21], | ON5,1[5,21–28], | ON2,1[5,30–37], | ON9,1[5,50–57], | ON6,1[5,129–136], |
| ON3,1[5,219–226], | ON3,2[5,255–262], | ON9,2[5,262–269], | ON6,2[5,405–412], | - | |
| T15 | ON5,8[5,324–331], | ON2,8[5,417–424], | ON8,8[5,429–436], | - | - |
| T16 | ON7,8[2,253–259], | ON1,8[2,367–373], | ON4,8[2,375–381], | - | - |
| T17 | ON1,16[3,724–739], | ON7,16[3,743–758], | ON4,16[3,765–780], | - | - |
| T18 | ON8,13[4,639–646], | ON5,13[4,686–693], | ON2,13[4,736–743], | - | - |
| T19 | ON8,14[4,704–710], | ON2,14[4,743–749], | ON5,14[4,758–764], | - | - |
| T20 | ON2,15[4,764–770], | ON5,15[4,770–776], | ON8,15[4,783–789], | - | - |
| T21 | ON5,11[6,526–532], | ON8,11[6,532–538], | ON2,11[6,573–579], | - | - |
| T22 | ON5,4[3,150–159], | ON2,4[3,171–180], | ON8,4[3,193–202], | - | - |
| AGV Number | AGVs Are Assigned to Operations that Are Acquired by SOSA, along with Other Information about the AGV | ||
|---|---|---|---|
| AGV1 | ON5,1[0,0,0,0,12,5], | ON4,1[5,0,18,0,22,1], | ON5,2[1,5,31,0,34,6], |
| ON9,1[6,0,38,0,50,5], | ON7,2[5,1,0,0,0,1], | ON7,3[5,1,0,0,0,1], | |
| ON1,2[5,1,0,0,0,1], | ON5,3[5,6,53,37,107,4], | ON4,3[4,1,0,0,0,1], | |
| ON2,2[4,5,110,0,113,6], | ON6,1[6,0,117,0,129,5], | ON2,4[5,4,144,20,171,3], | |
| ON5,5[3,3,0,0,180,5], | ON3,1[5,0,186,0,198,5], | ON2,5[5,3,207,0,216,5], | |
| ON7,7[5,1,0,0,0,1], | ON8,5[5,3,225,0,234,5], | ON4,5[5,1,0,0,0,1], | |
| ON8,6[5,5,0,7,256,4], | ON1,5[4,1,0,0,0,1], | ON9,2[4,5,0,0,0,5], | |
| ON7,9[4,2,265,0,280,1], | ON2,6[1,5,289,0,304,4], | ON5,9[4,5,307,24,346,4], | |
| ON1,8[4,1,357,7,367,2], | ON1,9[2,2,0,6,388,1], | ON3,4[1,2,391,0,400,4], | |
| ON2,8[4,4,0,14,417,5], | ON8,9[5,5,0,19,451,4], | ON5,10[4,4,0,0,0,4], | |
| ON8,10[4,4,0,0,0,4], | ON2,9[4,5,454,0,469,4], | ON4,12[4,2,478,24,505,3], | |
| ON8,11[3,4,512,6,523,6], | ON4,13[6,3,0,0,0,3], | ON8,12[6,6,0,15,555,4], | |
| ON2,10[4,4,0,0,0,4], | ON2,11[4,4,0,13,573,6], | ON2,12[6,6,0,6,596,4], | |
| ON5,12[4,6,601,0,618,4], | ON4,14[4,3,625,0,632,4], | ON8,13[4,4,0,0,0,4], | |
| ON9,3[4,5,635,0,642,2], | ON1,13[2,3,0,0,0,3], | ON1,15[2,4,0,0,0,4], | |
| ON8,14[2,4,0,0,0,4], | ON7,15[2,4,0,0,0,4], | ON1,16[2,4,651,35,693,3], | |
| ON2,13[3,4,0,0,0,4], | ON2,14[3,4,0,0,0,4], | ON6,3[3,5,702,0,709,2], | |
| ON4,15[2,4,0,0,0,4], | ON4,16[2,4,718,40,765,3], | ON8,15[3,4,0,0,0,4], | |
| AGV2 | ON8,1[0,0,0,0,12,5], | ON2,1[5,0,18,0,30,5], | ON1,1[5,0,36,0,40,1], |
| ON7,1[1,0,50,0,54,1] | ON8,2[1,5,63,0,66,6], | ON4,2[6,1,0,0,0,1], | |
| ON7,4[6,1,0,0,0,1], | ON5,4[6,4,83,31,121,3], | ON7,5[3,1,0,0,0,1], | |
| ON2,3[3,6,132,10,159,4], | ON4,4[4,1,0,0,0,1], | ON7,6[4,1,0,10,0,1], | |
| ON8,3[4,6,164,0,181,4], | ON8,4[4,4,0,5,193,3], | ON5,6[3,5,202,17,234,4], | |
| ON7,8[4,1,245,0,248,2], | ON1,3[2,1,0,0,0,1], | ON3,2[2,5,0,0,0,5], | |
| ON1,4[2,1,0,0,0,1], | ON3,3[2,5,255,7,269,2], | ON5,7[2,4,0,0,0,4], | |
| ON1,6[2,1,0,0,0,1], | ON5,8[2,4,278,29,310,5], | ON4,6[5,1,0,0,0,1], | |
| ON1,7[5,1,0,0,0,1], | ON7,10[5,1,319,23,353,4], | ON4,7[4,1,0,0,0,1], | |
| ON8,7[4,4,0,0,0,4], | ON4,8[4,1,364,8,375,2], | ON4,9[2,2,0,6,396,1], | |
| ON6,2[1,5,0,0,0,5], | ON2,7[1,4,0,0,0,4], | ON1,10[1,1,0,19,426,4], | |
| ON8,8[4,4,0,0,429,5], | ON4,10[5,1,438,4,453,4], | ON4,11[4,4,0,11,473,2], | |
| ON1,11[2,4,482,0,491,2], | ON5,11[2,4,500,11,516,6], | ON7,11[6,4,533,0,542,2], | |
| ON1,12[2,2,0,0,545,3], | ON7,12[3,2,560,11,574,3], | ON1,14[3,3,0,89,670,4], | |
| ON5,13[4,4,0,0,0,4], | ON9,4[4,2,679,0,688,4], | ON7,13[4,3,0,0,0,3], | |
| ON7,14[4,3,695,18,720,4], | ON5,14[4,4,0,0,0,4], | ON2,15[4,4,0,0,0,4], | |
| ON7,16[4,4,0,16,743,3], | ON5,15[3,4,0,0,0,4], | ON6,4[3,2,758,0,767,4], | |
| ONs Together with Information, Such as the Present Location of the TT, the Tool Code, Requested Tool’s Location, the TT’s DeadHeaded Trip Completion Time from Its Present Location to the Requested Tool’s Location, the Wait Time to Lift up the Tool, TT’s Loaded Travel Trip Completion Time from the Position of the Requested Tool to the MC Where the Present ON Is Processed, the Wait Time to Put the Tool in the MC, and the MC that Processes the Current ON | |||
|---|---|---|---|
| TT | ON8,1[0,14,0,0,0,14,0,5], | ON5,1[5,14,5,0,0,0,0,5], | ON2,1[5,14,5,0,0,0,0,5], |
| ON1,1[5,1,0,21,0,26,14,1], | ON7,1[1,1,1,0,0,0,0,1], | ON4,1[1,1,1,0,0,0,0,1], | |
| ON5,2[1,13A,0,52,0,64,0,6], | ON9,1[6,14,5,0,0,0,0,5], | ON7,2[6,1,1,0,0,0,0,1], | |
| ON7,3[6,2,0,69,0,74,6,1], | ON1,2[1,1,1,0,0,0,0,1], | ON8,2[1,13A,6,0,0,0,0,6], | |
| ON5,3[1,13B,0,92,0,109,0,4], | ON4,2[4,1,1,0,0,0,0,1], | ON7,4[4,3,0,119,0,124,4,1], | |
| ON4,3[1,2,1,0,0,0,0,1], | ON2,2[1,13A,6,0,0,0,0,6], | ON5,4[1,22,0,140,0,150,0,3], | |
| ON6,1[3,14,5,0,0,0,0,5], | ON7,5[3,1,1,0,0,0,0,1], | ON2,3[3,13B,4,0,0,0,0,4], | |
| ON4,4[3,3,1,0,0,0,0,1], | ON2,4[3,22,3,0,0,0,0,3], | ON7,6[3,4,0,167,0,172,14,1], | |
| ON5,5[1,10A,0,198,0,212,0,5], | ON3,1[5,14,5,0,0,0,0,5], | ON2,5[5,10A,5,0,0,0,0,5] | |
| ON7,7[5,1,1,0,0,0,0,1], | ON8,3[5,13B,4,0,0,0,0,4], | ON8,4[5,22,3,0,0,0,0,3], | |
| ON8,5[5,10A,5,0,0,0,0,5], | ON5,6[5,10B,0,219,0,236,0,4], | ON4,5[4,1,1,0,0,0,0,1], | |
| ON7,8[4,16,0,246,0,253,0,2], | ON1,3[2,2,1,0,0,0,0,1], | ON3,2[2,14,5,0,0,0,0,5], | |
| ON8,6[2,10B,4,0,0,0,0,4], | ON1,4[2,3,1,0,0,0,0,1], | ON3,3[2,10A,5,261,0,269,0,2], | |
| ON1,5[2,1,1,0,0,0,0,1], | ON5,7[2,8,0,283,0,300,0,4], | ON9,2[4,14,5,0,0,0,0,5], | |
| ON7,9[4,2,1,0,0,0,0,1], | ON1,6[4,4,1,0,0,0,0,1], | ON5,8[4,15,0,310,0,324,0,5], | |
| ON4,6[5,4,1,0,0,0,0,1], | ON1,7[5,1,1,0,0,0,0,1], | ON2,6[5,10B,4,0,0,0,0,4], | |
| ON7,10[5,7,0,331,0,348,5,4], | ON4,7[4,1,1,0,0,0,0,1], | ON5,9[4,9,0,363,0,380,0,4], | |
| ON8,7[4,8,4,0,0,0,0,4], | ON1,8[4,16,2,0,0,0,0,2], | ON1,9[4,2,1,0,0,0,0,1], | |
| ON4,8[4,16,2,0,0,0,0,2], | ON4,9[4,2,1,0,0,0,0,1], | ON6,2[4,14,5,0,0,0,0,5], | |
| ON2,7[4,8,4,0,0,0,0,4], | ON1,10[4,7,4,0,0,0,0,4], | ON3,4[4,7,4,0,0,0,0,4], | |
| ON2,8[4,15,5,0,0,0,0,5], | ON8,8[4,15,5,0,0,0,0,5], | ON4,10[4,7,4,0,0,0,0,4], | |
| ON4,11[4,11,0,390,0,397,76,2], | ON8,9[2,9,4,0,0,0,0,4], | ON1,11[2,11,2,0,0,0,0,2], | |
| ON5,10[2,5,0,487,0,504,0,4], | ON8,10[4,5,4,0,0,0,0,4], | ON5,11[4,21,0,514,0,526,0,6], | |
| ON7,11[6,11,2,0,0,0,0,2], | ON2,9[6,9,4,0,0,0,0,4], | ON4,12[6,13A,6,0,0,539,0,3], | |
| ON1,12[3,13B,4,547,0,555,13,3], | ON8,11[3,21,6,0,0,0,0,6], | ON4,13[3,12,0,585,0,595,2,3], | |
| ON8,12[3,9,4,0,0,0,0,4], | ON2,10[3,5,4,0,0,0,0,4], | ON2,11[3,21,6,0,0,0,0,6], | |
| ON2,12[3,9,4,0,0,0,0,4], | ON5,12[3,9,4,0,0,0,0,4], | ON4,14[3,7,4,0,0,0,0,4], | |
| ON8,13[3,18,0,614,0,631,8,4], | ON9,3[4,10A,2,0,0,0,0,2], | ON1,13[4,12,3,0,0,0,0,3], | |
| ON7,12[4,13A,3,0,0,0,0,3], | ON1,14[ 4,7,4,0,0,0,0,4], | ON1,15[4,6,0,649,0,666,11,4], | |
| ON5,13[4,18,4,0,0,0,0,4], | ON9,4[4,7,4,0,0,0,0,4], | ON7,13[4,12,3,0,0,0,0,3], | |
| ON8,14[4,19,0,687,0,704,0,4], | ON7,14[4,7,4,0,0,0,0,4], | ON7,15[4,6,4,0,0,0,0,4], | |
| ON1,16[4,17,0,714,0,724,0,3], | ON2,13[3,18,4,0,0,0,0,4], | ON2,14[3,19,4,0,0,0,0,4], | |
| ON6,3[3,10A,2,0,0,0,0,2], | ON4,15[3,6,4,0,0,0,0,4], | ON5,14[3,19,4,0,0,0,0,4], | |
| ON2,15[3,20,0,741,0,758,6,4], | ON7,16[4,17,3,0,0,0,0,3], | ON4,16[4,17,3,0,0,0,0,3], | |
| ON5,15[4,20,4,0,0,0,0,4], | ON6,4[4,7,4,0,0,0,0,4], | ON8,15[4,20,4,0,0,0,0,4], | |
| MC Name | CNC Lathe | CNC Milling |
|---|---|---|
| Operating cost (dollars)/h | 35 | 40 |
| S. No | 1 | 2 | 3 | 4 | 5 | 6 | 7 | 8 | 9 | 10 | 11 |
| Tool code | T1 | T2 | T3 | T4 | T5 | T6 | T7 | T8 | T9 | T10 | T11 |
| Cost (dollars)/unit | 2.69 | 5.33 | 26.67 | 40.00 | 7.52 | 2.67 | 1.33 | 2.00 | 4.00 | 20.53 | 40.00 |
| S. No | 12 | 13 | 14 | 15 | 16 | 17 | 18 | 19 | 20 | 21 | 22 |
| Tool code | T12 | T13 | T14 | T15 | T16 | T17 | T18 | T19 | T20 | T21 | T22 |
| Cost (dollars)/unit | 6.67 | 16.00 | 12.00 | 40.00 | 26.67 | 46.67 | 32.00 | 40.00 | 24.00 | 12.00 | 20.00 |
Disclaimer/Publisher’s Note: The statements, opinions and data contained in all publications are solely those of the individual author(s) and contributor(s) and not of MDPI and/or the editor(s). MDPI and/or the editor(s) disclaim responsibility for any injury to people or property resulting from any ideas, methods, instructions or products referred to in the content. |
© 2023 by the authors. Licensee MDPI, Basel, Switzerland. This article is an open access article distributed under the terms and conditions of the Creative Commons Attribution (CC BY) license (https://creativecommons.org/licenses/by/4.0/).
Share and Cite
Prayagi, S.; Mareddy, P.L.; Katta, L.N.; Narapureddy, S.R. Optimum Scheduling of a Multi-Machine Flexible Manufacturing System Considering Job and Tool Transfer Times without Tool Delay. Mathematics 2023, 11, 4190. https://doi.org/10.3390/math11194190
Prayagi S, Mareddy PL, Katta LN, Narapureddy SR. Optimum Scheduling of a Multi-Machine Flexible Manufacturing System Considering Job and Tool Transfer Times without Tool Delay. Mathematics. 2023; 11(19):4190. https://doi.org/10.3390/math11194190
Chicago/Turabian StylePrayagi, Sunil, Padma Lalitha Mareddy, Lakshmi Narasimhamu Katta, and Sivarami Reddy Narapureddy. 2023. "Optimum Scheduling of a Multi-Machine Flexible Manufacturing System Considering Job and Tool Transfer Times without Tool Delay" Mathematics 11, no. 19: 4190. https://doi.org/10.3390/math11194190
APA StylePrayagi, S., Mareddy, P. L., Katta, L. N., & Narapureddy, S. R. (2023). Optimum Scheduling of a Multi-Machine Flexible Manufacturing System Considering Job and Tool Transfer Times without Tool Delay. Mathematics, 11(19), 4190. https://doi.org/10.3390/math11194190

