Novel Approximations to the (Un)forced Pendulum–Cart System: Ansatz and KBM Methods
Abstract
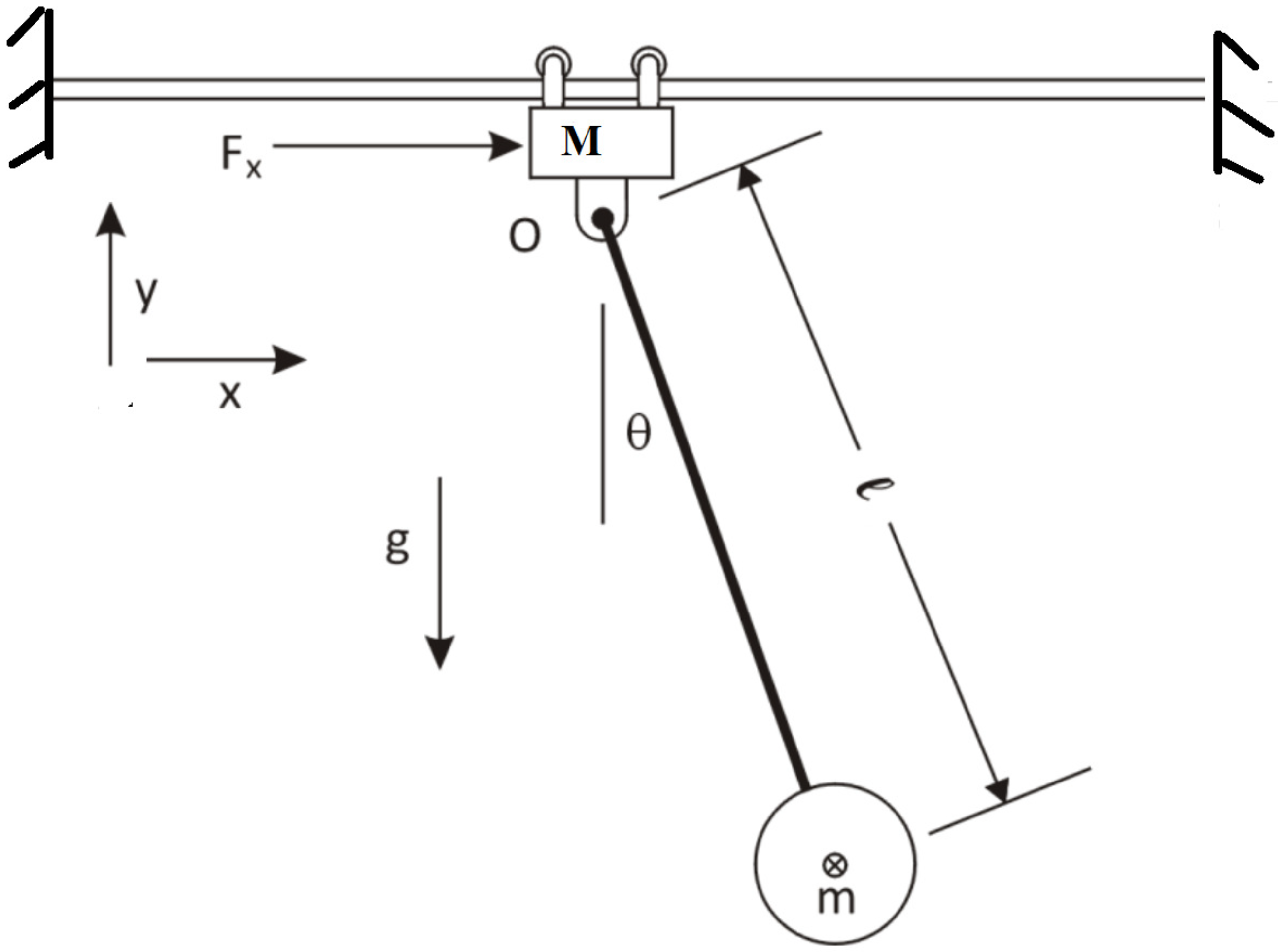
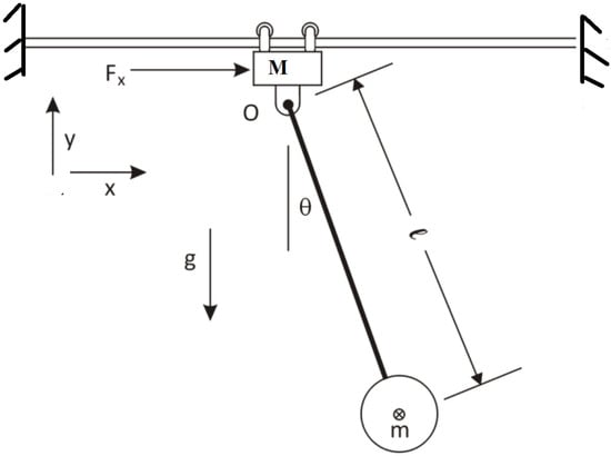
1. Introduction
2. Mathematical Approaches for Analyzing System (1)
2.1. First Approach: Ansatz Method
2.2. Second Approach: KBM Method
3. Conclusions
Author Contributions
Funding
Institutional Review Board Statement
Informed Consent Statement
Data Availability Statement
Acknowledgments
Conflicts of Interest
References
- Albalawi, W.; Salas, A.H.; El-Tantawy, S.A.; Youssef, A.A.A. Approximate analytical and numerical solutions to the damped pendulum oscillator: Newton–Raphson and moving boundary methods. J. Taibah Univ. Sci. 2021, 15, 479–485. [Google Scholar] [CrossRef]
- Salas, A.H.; El-Tantawy, S.A. On the approximate solutions to a damped harmonic oscillator with higher-order nonlinearities and its application to plasma physics: Semi-analytical solution and moving boundary method. Eur. Phys. J. Plus 2020, 135, 833. [Google Scholar] [CrossRef]
- He, J.; El-dib, Y.; Mady, A.A. Homotopy Perturbation Method for the Fractal Toda Oscillator. Fractal Fract. 2021, 5, 93. [Google Scholar] [CrossRef]
- Aljahdaly, N.H.; El-Tantawy, S.A. On the multistage differential transformation method for analyzing damping Duffing oscillator and its applications to plasma physics. Mathematics 2021, 9, 432. [Google Scholar] [CrossRef]
- El-Tantawy, S.A.; Salas, A.H.; Alharthi, M.R. A new approach for modelling the damped Helmholtz oscillator: Applications to plasma physics and electronic circuits. Commun. Theor. Phys. 2021, 73, 035501. [Google Scholar] [CrossRef]
- Salas, A.H.; El-Tantawy, S.A.; Alharthi, M.R. Novel solutions to the (un)damped Helmholtz-Duffing oscillator and its application to plasma physics: Moving boundary method. Phys. Scr. 2021, 96, 104003. [Google Scholar] [CrossRef]
- Pedersen, H.B.; Madsen, M.L.; Andersen, J.E.V.; Nielsen, T.G. Investigation of argumental oscillations of a physical pendulum. Eur. J. Phys. 2021, 42, 025012. [Google Scholar] [CrossRef]
- Korytov, M.S.; Shcherbakov, V.S.; Titenko, V.V.; Belyakov, V.E. Spherical pendulum model with a moving suspension point in the problem of spatial load movement by a hoisting crane with oscillation limiting. J. Phys. Conf. Ser. 2020, 1441, 012102. [Google Scholar] [CrossRef]
- Johannessen, K. An approximate solution to the equation of motion for large-angle oscillations of the simple pendulum with initial velocity. Eur. J. Phys. 2010, 31, 511. [Google Scholar] [CrossRef]
- Butikov, E.I. Oscillations of a simple pendulum with extremely large amplitudes. Eur. J. Phys. 2012, 33, 1555. [Google Scholar] [CrossRef]
- Uy, R.F.; Yuan, C.; Chai, Z.; Khor, J. Wilberforce pendulum: Modelling linearly damped coupled oscillations of a spring-mass system. Eur. J. Phys. 2022, 43, 015011. [Google Scholar] [CrossRef]
- Owen, F. Pendulum on a Cart via Lagrangian Mechanics; Alpha Omega Engineering, Inc.: Sutton, MA, USA, 2014; Available online: http://www.aoengr.com/Dynamics/PendulumOnCart.pdf (accessed on 23 May 2014).
- Singla, A.; Singh, G. Real-Time Swing-up and Stabilization Control of a Cart-Pendulum System with Constrained Cart Movement. Int. J. Nonlinear Sci. Numer. Simul. 2017, 18, 525–539. [Google Scholar] [CrossRef]
- Neria, M.R.; Ramirez, S.H.; Moctezuma, R.G.; Juarez, A.L. Linear active disturbance rejection control of underactuatedsystems: The case of the Furuta pendulum. ISA Trans. 2014, 53, 920–928. [Google Scholar] [CrossRef] [PubMed]
- Kumar, V.; Jerome, J. Robust LQR controller design for sta-bilizing and trajectory tracking of inverted pendulum. Procedia Eng. 2013, 64, 169–178. [Google Scholar] [CrossRef]
- Ogata, K. Modern Control Engineering; Prentice-Hall: New York, NY, USA, 2000. [Google Scholar]
- Mori, S.; Nishihara, H.; Furuta, K. Control of unstablemechanical system- control of pendulum. Int. J. Control 1976, 23, 673–692. [Google Scholar] [CrossRef]
- Anderson, C.W. Learning to control an inverted pendulum usingneural network. IEEE Control Syst. Mag. 1989, 9, 31–37. [Google Scholar] [CrossRef]
- Boubaker, O. The inverted pendulum benchmark in nonlinearcontrol theory. Int. J. Adv. Rob. Syst. 2013, 10, 1–9. [Google Scholar]
- Song, Z.; Song, X.; Liu, C.; Zhao, Y. Research on real-timesimulation and control of linear 1-stage inverted pendulum. J. Comput. 2013, 8, 896. [Google Scholar] [CrossRef]
- Eide, R.; Egelid, M.; Stamso, A.; Karimi, H.R. LQG controldesign for balancing an inverted pendulum mobile robot. Intell. Control Autom. 2011, 2, 160–166. [Google Scholar] [CrossRef]
- Salas S, A.H. Analytical Approximant to a Quadratically Damped Duffing Oscillator. Sci. World J. 2022, 2022, 3131253. [Google Scholar] [CrossRef] [PubMed]
- Yamgoué, S.B.; Kofané, T.C. Application of the Krylov–Bogoliubov–Mitropolsky method to weakly damped strongly non-linear planar Hamiltonian systems. Int. J. Non-Linear Mech. 2007, 42, 1240–1247. [Google Scholar] [CrossRef]
- Cai, J. A Generalized KBM Method for Strongly Nonlinear Oscillators with Slowly Varying Parameters. Math. Comput. Appl. 2007, 12, 21–30. [Google Scholar] [CrossRef]
- Salas, A.H.; Albalawi, W.; El-Tantawy, S.A.; El-Sherif, L.S. Some Novel Approaches for Analyzing the Unforced and Forced Duffing–Van der Pol Oscillators. J. Math. 2022, 2022, 2174192. [Google Scholar] [CrossRef]
- Alyousef1, H.A.; Alharthi, M.R.; Salas, A.H.; El-Tantawy, S.A. Optimal analytical and numerical approximations to the (un)forced (un)damped parametric pendulum oscillator. Commun. Theor. Phys. 2022. Available online: https://iopscience.iop.org/article/10.1088/1572-9494/ac7bdc/pdf (accessed on 24 June 2022).
- Salas, A.H.; Albalawi, W.; Alharthi, M.R.; El-Tantawy, S.A. Some Novel Solutions to a Quadratically Damped Pendulum Oscillator: Analytical and Numerical Approximations. Complexity 2022, 2022, 7803798. [Google Scholar] [CrossRef]
- Alyousef, H.A.; Salas, A.H.; Alkhateeb, S.A.; El-Tantawy, S.A. Some Novel Analytical Approximations to the (Un)damped Duffing–Mathieu Oscillators. J. Math. 2022, 2022, 2715767. [Google Scholar] [CrossRef]
- El-Tantawy, S.A.; Salas, A.H.; Alharthi, M.R. On the analytical and numerical solutions of the damped nonplanar Shamel Korteweg–de Vries Burgers equation for modeling nonlinear structures in strongly coupled dusty plasmas: Multistage homotopy perturbation method. Phys. Fluids 2021, 33, 043106. [Google Scholar] [CrossRef]
- El-Tantawy, S.A.; Salas, A.H.; Alharthi, M.R. On the Analytical and Numerical Solutions of the Linear Damped NLSE for Modeling Dissipative Freak Waves and Breathers in Nonlinear and Dispersive Mediums: An Application to a Pair-Ion Plasma. Front. Phys. 2021, 9, 580224. [Google Scholar] [CrossRef]






| F | ||
|---|---|---|
| 0 | ||
| F | ||
|---|---|---|
| 0 | ||
| N | ||
Publisher’s Note: MDPI stays neutral with regard to jurisdictional claims in published maps and institutional affiliations. |
© 2022 by the authors. Licensee MDPI, Basel, Switzerland. This article is an open access article distributed under the terms and conditions of the Creative Commons Attribution (CC BY) license (https://creativecommons.org/licenses/by/4.0/).
Share and Cite
Alhejaili, W.; Salas, A.H.; El-Tantawy, S.A. Novel Approximations to the (Un)forced Pendulum–Cart System: Ansatz and KBM Methods. Mathematics 2022, 10, 2908. https://doi.org/10.3390/math10162908
Alhejaili W, Salas AH, El-Tantawy SA. Novel Approximations to the (Un)forced Pendulum–Cart System: Ansatz and KBM Methods. Mathematics. 2022; 10(16):2908. https://doi.org/10.3390/math10162908
Chicago/Turabian StyleAlhejaili, Weaam, Alvaro H. Salas, and Samir A. El-Tantawy. 2022. "Novel Approximations to the (Un)forced Pendulum–Cart System: Ansatz and KBM Methods" Mathematics 10, no. 16: 2908. https://doi.org/10.3390/math10162908
APA StyleAlhejaili, W., Salas, A. H., & El-Tantawy, S. A. (2022). Novel Approximations to the (Un)forced Pendulum–Cart System: Ansatz and KBM Methods. Mathematics, 10(16), 2908. https://doi.org/10.3390/math10162908

