International Understanding among Nursing and Pharmacy Students in Japan
Abstract
1. Introduction
2. Materials and Methods
2.1. Design and Sample
2.2. Statistical Analysis
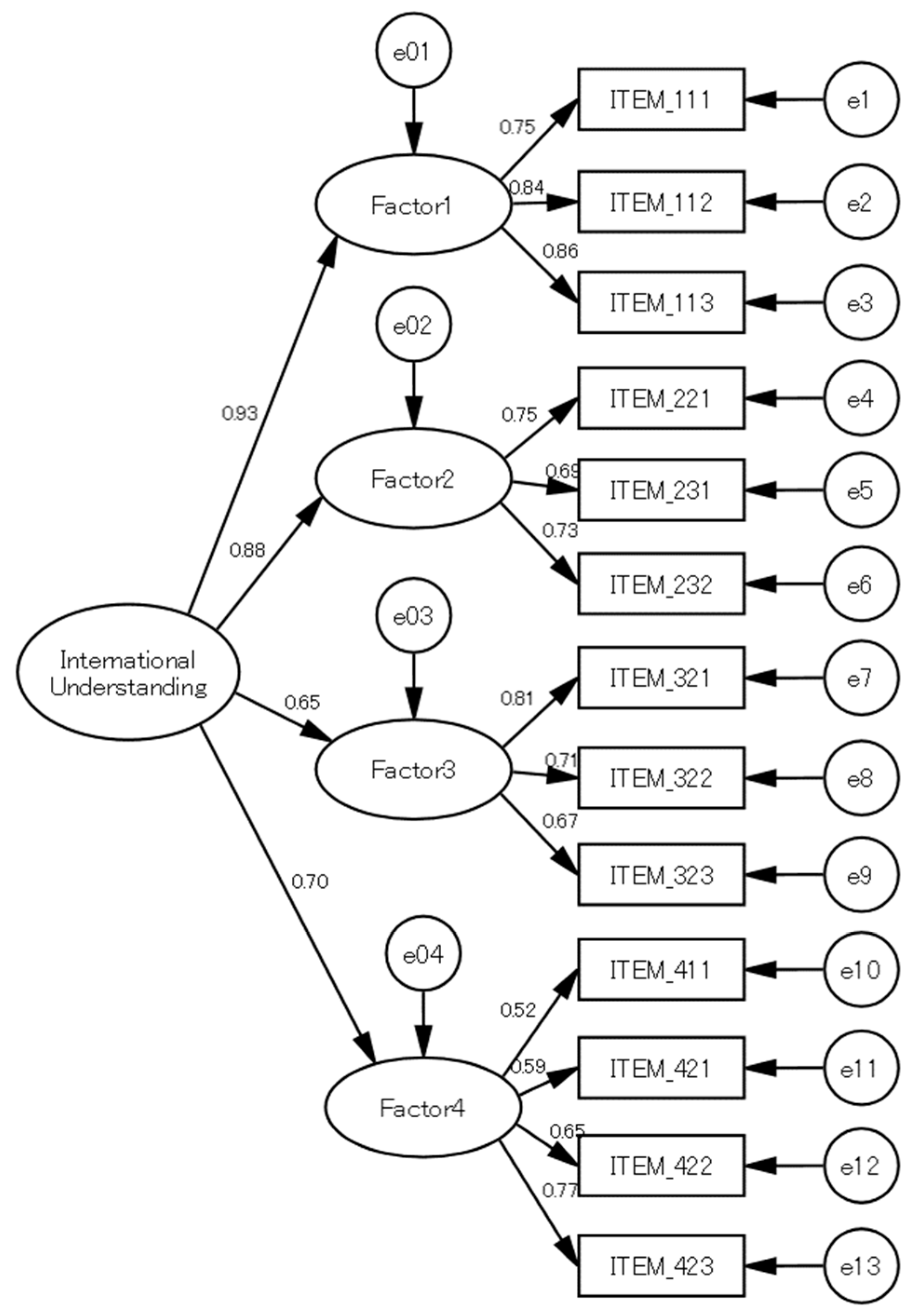
3. Results
4. Discussion
5. Conclusions
Author Contributions
Funding
Acknowledgments
Conflicts of Interest
Appendix A
- Questionnaire of ISU2000 (* indicates a reverse code item)- Domain1: Respect for human rights- Subdomain 11 Feelings toward multi-ethnic or multi-nation groups- ITEM_111 I do not want to talk to international people. (*)
- ITEM_112 It is fun to get to know people from other countries.
- ITEM_113 I want to make friends with many international people.
 
- Subdomain 12: Equality awareness- ITEM_121 It is unavoidable that there is a difference in treatment in each country. (*)
- ITEM_122 It is unavoidable that the opinions of people in poor countries were neglected. (*)
- ITEM_123 I do not consider that one ethnic group is inferior to other ethnic groups
 
 
- Domain 2: Understanding international culture- Subdomain 21 Understanding- ITEM_211 I can explain in detail the historical events that occurred in foreign countries.
- ITEM_212 I cannot explain the characteristics of the three major religions. (*)
- ITEM_213 I know some religions in other countries.
 
- Subdomain 22: Interest- ITEM_221 I want to touch the customs of local people when I go abroad.
- ITEM_222 I do not watch TV programs introducing foreign traditional culture.
- ITEM_223 I want to know what religions are in the world.
 
- Subdomain 23: Empathy- ITEM_231 I do not want to understand cultures in other countries. (*)
- ITEM_232 I think experiencing different cultures is interesting.
- ITEM_233 I want to respect the customs of each country.
 
 
- Domain 3: Awareness of world solidarity- Subdomain 31 Interest in human common issues and recognition- ITEM_311 I want to make efforts to reduce carbon dioxide emissions to prevent global warming.
- ITEM_312 I am not interested in maintaining world peace. (*)
- ITEM_313 I want to know the state of soil, water, and air pollution caused by waste.
 
- Subdomain 32: Cooperative Attitude to the International Cooperation Agency- ITEM_321 I want to support international organizations working to protect the world’s nature.
- ITEM_322 I want to support international organizations that are striving to maintain world peace.
- ITEM_323 I want to help third world children access to education.
 
 
- Domain 4: Understanding foreign languages- Subdomain 41: Understanding- ITEM_411 I can read newspapers and magazines written in foreign languages like English.
- ITEM_412 I can express what I want to say in a foreign language (i.e., English).
- ITEM_413 I cannot answer when asking from a foreigner in English.
 
- Subdomain 42: Interest- ITEM_421 I am not interested in newspapers and magazines written in foreign languages.
- ITEM_422 I do not want to take a foreign language exam or certification (TOFLE, TOEIC, etc.) (*)
- ITEM_423 I do not want to learn a foreign language. (*)
 
 
 
References
- Recommendation Concerning Education for International Understanding, Co-operation and Peace and Education Relating to Human Rights and Fundamental Freedoms; United Nations Educational, Scientific and Cultural Organization (UNESCO): Paris, France, 1976; Available online: http://portal.unesco.org/en/ev.php-URL_ID=13132&URL_DO=DO_TOPIC&URL_SECTION=201.html (accessed on 17 September 2020).
- Records of the General Conference. Vol. 1 Resolutions, 71-72 United Nations Educational, Scientific and Cultural Organization (UNESCO). Available online: https://unesdoc.unesco.org/ark:/48223/pf0000260889.page=73 (accessed on 17 September 2020).
- Swee-Hin, T. Integrating Education for Sustainable Development & Education for International Understanding: Conceptual Issues and Pedagogical Principles for Teacher Education to Address Sustainability; APEID, UNESCO Bangkok Occasional Paper Series; UNESCO: Paris, France, 2006; Available online: https://pdfs.semanticscholar.org/7bd3/414119d45971c7b248fe3f6591a99d278a29.pdf?_ga=2.108054603.810291256.1584144839-897897809.1584144839 (accessed on 17 September 2020).
- Global Health Workforce Shortage to Reach 12.9 Million in Coming Decades, WHO. Available online: https://www.who.int/mediacentre/news/releases/2013/health-workforce-shortage/en/ (accessed on 17 September 2020).
- Allam, E.; Riner, M.E. The Global Perspective of Nursing Students in Relation to College Peers. Glob. J. Health Sci. 2015, 7, 235–242. [Google Scholar] [CrossRef] [PubMed][Green Version]
- Alsharif, N.Z. Globalization of Pharmacy Education: What is Needed? Am. J. Pharm. Educ. 2012, 76, 77. [Google Scholar] [CrossRef] [PubMed]
- Cruz, J.P.; Aguinaldo, A.N.; Estacio, J.C.; Alotaibi, A.A.; Cayaban, A.R.R.; John Cecily, H.S.; Machuca Contreras, A.F.; Hussein, A.; Idemudia, E.S.; Mohamed, S.A.M.; et al. A Multicountry Perspective on Cultural Competence among Baccalaureate Nursing Students. J. Nurs. Scholarsh. 2018, 50, 92–101. [Google Scholar] [CrossRef] [PubMed]
- Poirier, T.I.; Butler, L.M.; Devraj, R.; Gupchup, G.V.; Santanello, C.; Lynch, J.C. A Culture Competency Course for Pharmacy Students. Am. J. Pharm. Educ. 2009, 73, 81. [Google Scholar] [CrossRef] [PubMed]
- The Code of Ethics for Nurses, Japanese Nursing Association. 2003. Available online: https://www.nurse.or.jp/jna/english/activities/pdf/ethics2003.pdf (accessed on 17 September 2020).
- The ICN Code of Ethics for Nurses, International Council of Nurses Revised. 2012. Available online: https://www.icn.ch/sites/default/files/inline-files/2012_ICN_Codeofethicsfornurses_%20eng.pdf (accessed on 17 September 2020).
- Japanese Code of Ethics for Pharmacists. In Annual Report of JPA 2018-2019; Japan Pharmaceutical Association: Tokyo, Japan, 2019; p. 28. Available online: https://www.nichiyaku.or.jp/assets/uploads/about/anuual_report2018j.pdf (accessed on 17 September 2020).
- Home Page of Josai International University. Available online: https://www.jiu.ac.jp/englishsite/brochure.pdf (accessed on 17 September 2020).
- Miyazawa, J.; Inoue, E.; Sakashita, T.; Hoshino, S.; Horii, M.; Iida, K. The Impact of Early Study Abroad Experience on Nursing Students—Focus on Social Skills and Cross-cultural Understanding. Josai Int. Univ. Bull. Fac. Nurs. 2012, 21, 17–27. [Google Scholar]
- Suzuki, K.; Sakamoto, A.; Mori, T.; Sakamoto, K.; Takahira, M.; Adachi, N.; Katsuya, K.; Kobayashi, M.; Kashibuchi, F.; Kimura. The Construction of International Understanding Scale (IUS2000) and the Examination of Its Reliability and Validity. Jap. J. Educ. Technol. 2000, 23, 213–226. [Google Scholar]
- Steiger, J.H. Understanding the Limitations of Global Fit Assessment in Structural Equation Modeling. Personal. Individ. Differ. 2007, 42, 893–898. [Google Scholar] [CrossRef]
- Schumacker, R.; Lomax, R. A Beginner’s Guide to Structural Equation Modeling; Lawrence Erlbaum Associates: London, UK, 1996; pp. 119–138. [Google Scholar]
- Ishi. E. The Effects of Task-based Intercultural Instruction on the Intercultural Competence of Japanese Secondary EFL Learners. Asian J. Engl. Lang. Teach. 2009, 19, 159–181. [Google Scholar]
- Numata, J. Present Students’ Intercultural Understanding. J. Hum. Environ. Stud. 2012, 10, 55–63. [Google Scholar] [CrossRef][Green Version]
- Lin, Y.; Rancer, A.S. Sex Differences in Intercultural Communication Apprehension, Ethnocentrism, and Intercultural Willingness to Communicate. Psychol. Rep. 2003, 92, 195–200. [Google Scholar] [CrossRef] [PubMed]
- Andonian, L.; Rosenblum, R. Faculty Led Study Abroad: Influences on Student Intercultural Communication, Interprofessional Attitudes, and Professional Identity. J. Nurs. Educ. Pract. 2017, 7. [Google Scholar] [CrossRef]
- Cisneros, R.M.; Jawaid, S.P.; Kendall, D.A.; McPherson, K., 3rd; Mu, G.; Weston, S.; Roberts, K.B. International Practice Experiences in Pharmacy Education. Am. J. Pharm. Educ. 2013, 77, 188. [Google Scholar] [CrossRef] [PubMed]

| Total N = 419 | Nursing Students N = 142 | Pharmacy Students N = 277 | |
|---|---|---|---|
| Gender F/M | 282/132 (1) | 129/10 (2) | 153/122 (3) | 
| First-year students | 102 | 40 | 62 | 
| Second-year students | 106 | 48 | 58 | 
| Third-year students | 103 | 33 | 70 | 
| Fourth-year students | 108 | 21 | 87 | 
| Pharmacy Students | Nursing Students | |||
|---|---|---|---|---|
| Mean | SD | Mean | SD | |
| ITEM_111 | 4.04 | 0.96 | 3.31 | 1.20 | 
| ITEM_112 | 4.35 | 0.82 | 3.84 | 1.06 | 
| ITEM_113 | 4.21 | 0.87 | 3.63 | 1.15 | 
| ITEM_121 | 4.09 | 1.08 | 3.81 | 1.21 | 
| ITEM_122 | 4.40 | 0.87 | 4.09 | 1.02 | 
| ITEM_123 | 4.11 | 0.95 | 3.97 | 1.06 | 
| ITEM_211 | 2.53 | 1.12 | 2.45 | 1.17 | 
| ITEM_212 | 2.42 | 1.14 | 2.16 | 1.27 | 
| ITEM_213 | 3.59 | 1.08 | 3.41 | 1.25 | 
| ITEM_221 | 4.36 | 0.82 | 3.92 | 1.03 | 
| ITEM_222 | 2.64 | 1.14 | 3.18 | 1.21 | 
| ITEM_223 | 3.51 | 1.20 | 2.80 | 1.35 | 
| ITEM_231 | 4.29 | 0.82 | 3.83 | 1.03 | 
| ITEM_232 | 4.47 | 0.77 | 4.16 | 0.98 | 
| ITEM_233 | 4.32 | 0.79 | 4.05 | 0.94 | 
| ITEM_311 | 3.97 | 0.99 | 3.74 | 0.99 | 
| ITEM_312 | 3.84 | 1.15 | 3.47 | 1.20 | 
| ITEM_313 | 2.96 | 1.25 | 2.75 | 1.19 | 
| ITEM_321 | 3.99 | 0.88 | 3.63 | 1.00 | 
| ITEM_322 | 3.66 | 0.97 | 3.33 | 0.97 | 
| ITEM_323 | 4.16 | 0.85 | 3.71 | 0.92 | 
| ITEM_411 | 2.28 | 1.08 | 2.05 | 1.11 | 
| ITEM_412 | 2.53 | 1.00 | 2.29 | 1.13 | 
| ITEM_413 | 2.86 | 1.07 | 2.65 | 1.22 | 
| ITEM_421 | 3.06 | 1.12 | 3.01 | 1.21 | 
| ITEM_422 | 2.94 | 1.25 | 3.12 | 1.37 | 
| ITEM_423 | 3.81 | 1.05 | 3.35 | 1.18 | 
| Factor1 (Domain1) | Factor2 (Domain2) | Factor3 (Domain3) | Factor4 (Domain4) | ||||
|---|---|---|---|---|---|---|---|
| ITEM_111 | 0.743 | ITEM_211 | 0.235 * | ITEM_311 | 0.555 * | ITEM_411 | 0.604 | 
| ITEM_112 | 0.832 | ITEM_212 | 0.186 * | ITEM_312 | 0.340 * | ITEM_412 | 0.486 * | 
| ITEM_113 | 0.870 | ITEM_213 | 0.416 * | ITEM_313 | 0.399 * | ITEM_413 | 0.155 * | 
| ITEM_121 | 0.259* | ITEM_221 | 0.742 | ITEM_321 | 0.844 | ITEM_421 | 0.601 | 
| ITEM_122 | 0.345* | ITEM_222 | 0.409 * | ITEM_322 | 0.711 | ITEM_422 | 0.671 | 
| ITEM_123 | 0.261* | ITEM_223 | 0.542 * | ITEM_323 | 0.629 | ITEM_423 | 0.675 | 
| ITEM_231 | 0.690 | ||||||
| ITEM_232 | 0.705 | ||||||
| ITEM_233 | 0.581 * | ||||||
| Alpha ** | 0.854 | Alpha ** | 0.765 | Alpha ** | 0.769 | Alpha ** | 0.730 * | 
| Parameter | International Understanding | Factor 1 (Domain1) | Factor 2 (Domain2) | Factor 3 (Domain3) | Factor 4 (Domain4) | ||||||
|---|---|---|---|---|---|---|---|---|---|---|---|
| Mean (SE) | P | Mean (SE) | P | Mean (SE) | P | Mean (SE) | P | Mean (SE) | P | ||
| Faculty * | Nursing | 4.17 (0.06) | 0.000 | 4.15 (0.07) | 0.000 | 3.84 (0.05) | 0.000 | 4.44 (0.07) | 0.000 | 2.19 (0.04) | 0.001 | 
| Pharmacy | 3.72 (0.04) | 3.66 (0.05) | 3.46 (0.04) | 3.97 (0.05) | 2.03 (0.03) | ||||||
| Gender * | Female | 4.00 (0.04) | 0.000 | 3.95 (0.05) | 0.000 | 3.71 (0.04) | 0.000 | 4.27 (0.05) | 0.000 | 2.15 (0.03) | 0.000 | 
| Male | 3.60 (0.06) | 3.54 (0.07) | 3.35 (0.06) | 3.83 (0.07) | 1.95 (0.04) | ||||||
| School Year ** | First | 4.09 (0.07) | 0.000 | 4.05 (0.08) | 0.000 | 3.77 (0.06) | 0.000 | 4.36 (0.08) | 0.000 | 2.24 (0.05) | 0.001 | 
| Second | 4.00 (0.07) | 3.94 (0.08) | 3.73 (0.06) | 4.25 (0.08) | 2.11 (0.05) | ||||||
| Third | 3.68 (0.07) | 3.64 (0.08) | 3.37 (0.06) | 3.99 (0.08) | 1.98 (0.05) | ||||||
| Fourth | 3.73 (0.07) | 3.66 (0.08) | 3.50 (0.06) | 3.91 (0.08) | 2.02 (0.05) | ||||||
| Parameter | Estimates | SE | P * | 
|---|---|---|---|
| Sex (Female students) | 0.269 | 0.082 | 0.0010 | 
| Faculty (Nursing students) | 0.344 | 0.081 | <0.0001 | 
© 2020 by the authors. Licensee MDPI, Basel, Switzerland. This article is an open access article distributed under the terms and conditions of the Creative Commons Attribution (CC BY) license (http://creativecommons.org/licenses/by/4.0/).
Share and Cite
Yamamura, S.; Inoue, E.; Miyazawa, J.; Yuyama, K.; Terajima, T.; Mitsumoto, A. International Understanding among Nursing and Pharmacy Students in Japan. Educ. Sci. 2020, 10, 253. https://doi.org/10.3390/educsci10090253
Yamamura S, Inoue E, Miyazawa J, Yuyama K, Terajima T, Mitsumoto A. International Understanding among Nursing and Pharmacy Students in Japan. Education Sciences. 2020; 10(9):253. https://doi.org/10.3390/educsci10090253
Chicago/Turabian StyleYamamura, Shigeo, Eiko Inoue, Junko Miyazawa, Kayoko Yuyama, Tomoko Terajima, and Atsushi Mitsumoto. 2020. "International Understanding among Nursing and Pharmacy Students in Japan" Education Sciences 10, no. 9: 253. https://doi.org/10.3390/educsci10090253
APA StyleYamamura, S., Inoue, E., Miyazawa, J., Yuyama, K., Terajima, T., & Mitsumoto, A. (2020). International Understanding among Nursing and Pharmacy Students in Japan. Education Sciences, 10(9), 253. https://doi.org/10.3390/educsci10090253
 
        


 
       