Deep Learning Framework Using Spatial Attention Mechanisms for Adaptable Angle Estimation Across Diverse Array Configurations †
Abstract
1. Introduction
1.1. Literature Review
1.2. Motivation and Contributions
- The introduction of a novel CNN architecture that encompasses spatial attention layers, tailored for enhanced accuracy on DoA estimations and robustness.
- The development of a transfer learning framework that enables the model to generalize across different antenna array configurations with minimal retraining.
- The analysis of the model’s complexity before and after adding the attention layer focuses on the performance trade-offs. Transfer learning complexity and training times are also evaluated to assess adaptation efficiency.
- Comprehensive simulation results demonstrating the model’s superior performance, achieving minimal error in various noise levels and array types, indicating its robustness and versatility.
1.3. Structure
2. Signal Model and Array Geometry Analysis
2.1. Uniform Linear Array
2.2. Uniform Planar Array
2.3. Uniform Circular Array
2.4. Covariance Matrix
3. Experimental Setup
3.1. Dataset and Signal Generation
- UPA is a array, resulting in a total of 16 elements. For each record associated with the UPA configuration, we generate a covariance matrix . Since this is a complex matrix, we decompose it into three parts for CNN compatibility: real, imaginary, and phase components. This yields a matrix, where each record has dimensions . This ensures that both the amplitude and phase information, crucial for accurate signal localization, are preserved.
- ULA is a linear arrangement of 8 antenna elements in a single row. For each record, this results in a covariance matrix . Similar to the UPA, this matrix contains complex elements, so we decompose it into real, imaginary, and phase components. Each record for the ULA configuration is thus represented as a matrix. By including this configuration, the dataset allows the CNN to learn from a simpler array structure with fewer elements, which is useful for applications where space or cost constraints limit the number of antennas.
- UCA consists of 8 elements arranged in a circular pattern, with a radius of wavelengths. Similarly to the ULA, the UCA produces a covariance matrix for each record, which is also decomposed into real, imaginary, and phase parts. The resulting data for each UCA record are thus represented as a matrix. The circular arrangement introduces unique spatial properties, e.g., uniform sensitivity across azimuth angles, making it particularly suitable for applications requiring omnidirectional reception.
3.2. Performance Evaluation Metrics
- Batch processing: the time required to process a batch of instances simultaneously, which evaluates the model’s efficiency in high-throughput scenarios.
- Single-instance processing: the time taken to process a single instance, providing insights into the model’s feasibility for real-time or near-real-time applications.
4. Proposed CNN with Spatial Attention Mechanisms Architecture
4.1. Hyperparameter Tuning
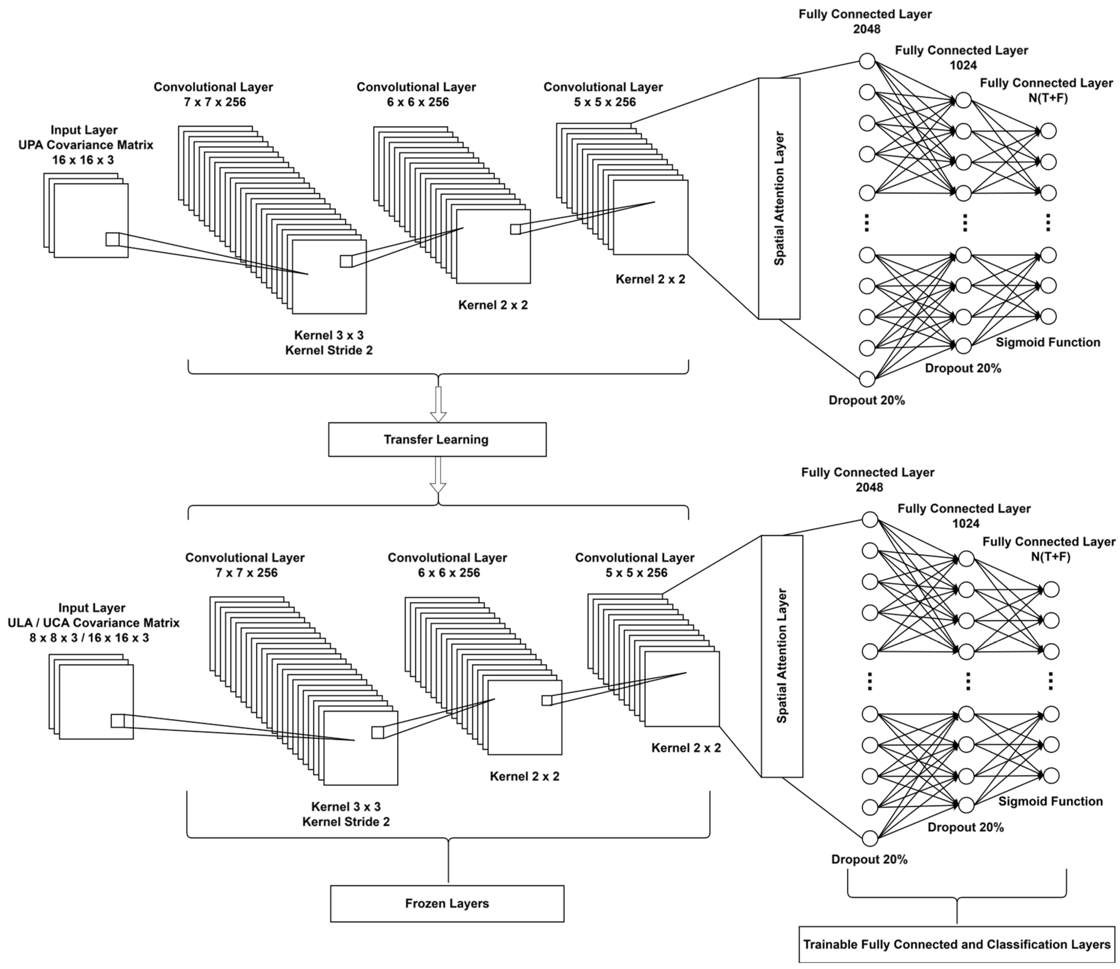
4.2. Proposed Architecture
- A global average pooling (GAP) operation is applied to the feature map , where represents the output of the convolutional layers. Here: H and W are the spatial dimensions of the feature map and C is the number of channels (filters) in the feature map.The GAP operation collapses the spatial dimensions, producing a vector ,where is the value of the feature map at spatial location for channel c. This vector captures the global representation of each channel’s contribution. GAP aggregates spatial information into a single value for each channel, providing a global summary of each filter’s activation. This is critical for capturing spatially invariant features relevant to the DoA task.
- The pooled vector is passed through a two-layer feed-forward network to compute attention weights for each channel,where and are weight matrices of the fully connected layers. Here, r is a reduction ratio (e.g., ), which reduces the parameter complexity while preserving key information, and is the sigmoid activation function, ensuring the weights lie in the range .These weights signify the importance of each channel. The two-layer feed-forward network acts as a lightweight attention mechanism that captures inter-channel dependencies. By using a non-linear ReLU activation followed by a sigmoid, the network learns complex, non-linear relationships between channels and maps them to importance weights.
- The weights are applied to the original feature map through channel-wise multiplication,where is the recalibrated feature map. This operation amplifies the channels with higher weights and suppresses less relevant ones. By multiplying the original feature maps by the learned attention weights, the model dynamically adjusts its focus to emphasize more relevant feature maps while suppressing noise. This aligns with the principle of selectively amplifying signals that represent the angles of arrival.
4.3. Training
5. Results and Discussion
5.1. Effectiveness of Transfer Learning
5.2. Impact of Spatial Attention
5.3. Impact of Dataset Size on Accuracy and Computational Complexity
5.4. Sensitivity to Noise and Interference
5.5. Complexity
5.6. Performance Comparison
6. Conclusions
Author Contributions
Funding
Institutional Review Board Statement
Informed Consent Statement
Data Availability Statement
Conflicts of Interest
Abbreviations
| CNN | Convolutional neural network |
| DoA | Direction of arrival |
| DL | Deep learning |
| ML | Machine learning |
| MIMO | Multiple-input multiple-output |
| MAE | Mean absolute error |
| NN | Neural network |
| LSTM | Long short term memory |
| RMSE | Root mean squared error |
| SNR | Signal to noise ratio |
| SGD | Stochastic gradient descent |
| UCA | Uniform circural array |
| ULA | Uniform linear array |
| UPA | Uniform planar array |
References
- Schoeder, P.; Janoudi, V.; Meinecke, B.; Werbunat, D.; Waldschmidt, C. Flexible Direction-of-Arrival Simulation for Automotive Radar Target Simulators. IEEE J. Microw. 2021, 1, 930–940. [Google Scholar] [CrossRef]
- Lee, H.; Ahn, J.; Kim, Y.; Chung, J. Direction-of-Arrival Estimation of Far-Field Sources Under Near-Field Interferences in Passive Sonar Array. IEEE Access 2021, 9, 28413–28420. [Google Scholar] [CrossRef]
- Van Veen, B.D.; Buckley, K.M. Beamforming: A Versatile Approach to Spatial Filtering. IEEE ASSP Mag. 1969, 5, 4–24. [Google Scholar] [CrossRef] [PubMed]
- Capon, J. High-Resolution Frequency-Wavenumber Spectrum Analysis. Proc. IEEE 1969, 57, 1408–1418. [Google Scholar] [CrossRef]
- Schmidt, R.O. Multiple Emitter Location and Signal Parameter Estimation. IEEE Trans. Antennas Propag. 1986, 34, 276–280. [Google Scholar] [CrossRef]
- Roy, R.; Kailath, T. ESPRIT—Estimation of Signal Parameters via Rotational Invariance Techniques. IEEE Trans. Acoust. Speech Signal Process. 1989, 37, 984–995. [Google Scholar] [CrossRef]
- Wax, M.; Kailath, T. Spatial Spectral Analysis Using the Eigenstructure Method. IEEE Trans. Acoust. Speech Signal Process. 1985, 32, 817–827. [Google Scholar] [CrossRef]
- Hawes, M.; Mihaylova, L.; Septier, F.; Godsill, S. Bayesian compressive sensing approaches for direction of arrival estimation with mutual coupling effects. IEEE Trans. Antennas Propag. 2017, 65, 1357–1368. [Google Scholar] [CrossRef]
- Friedlander, B.; Weiss, A.J. Performance of direction-finding systems with sensor gain and phase uncertainties. Circuits Syst. Signal Process. 1993, 12, 3–35. [Google Scholar] [CrossRef]
- Swindlehurst, A.L.; Stoica, P. Maximum likelihood methods in radar array signal processing. Proc. IEEE 1998, 86, 421–441. [Google Scholar] [CrossRef]
- Ottersten, B.; Kailath, T. A performance analysis of subspace-based methods in the presence of model errors. I. The MUSIC algorithm. IEEE Trans. Signal Process. 2002, 40, 1758–1774. [Google Scholar]
- Mallioras, I.; Yioultsis, T.V.; Kantartzis, N.V.; Lazaridis, P.I.; Zaharis, Z.D. Enhancing Adaptive Beamforming in 3-D Space Through Self-Improving Neural Network Techniques. IEEE Open J. Commun. Soc. 2024, 5, 1340–1357. [Google Scholar] [CrossRef]
- Rekkas, V.P.; Sotiroudis, S.; Sarigiannidis, P.; Wan, S.; Karagiannidis, G.K.; Goudos, S.K. Machine Learning in Beyond 5G/6G Networks—State-of-the-Art and Future Trends. Electronics 2021, 10, 2786. [Google Scholar] [CrossRef]
- Iliadis, L.A.; Zaharis, Z.D.; Sotiroudis, S.; Sarigiannidis, P.; Karagiannidis, G.K.; Goudos, S.K. The road to 6G: A comprehensive survey of deep learning applications in cell-free massive MIMO communications systems. J. Wireless Com. Netw. 2022, 2022, 68. [Google Scholar] [CrossRef]
- Vijayamohanan, J.; Gupta, A.; Noakoasteen, O.; Goudos, S.K.; Christodoulou, C.G. Source Detection with Multi-Label Classification. IEEE Open J. Signal Process. 2023, 4, 336–345. [Google Scholar] [CrossRef]
- Raiguru, P.; Kumar Rout, S.; Sahani, M.; Kishore Mishra, R. Machine Learning-Aided Sparse Direction of Arrival Estimation. IEEE Sens. J. 2024, 24, 38125–38134. [Google Scholar] [CrossRef]
- LeCun, Y.; Bengio, Y.; Hinton, G. Deep Learning. Nature 2015, 521, 436–444. [Google Scholar] [CrossRef] [PubMed]
- Xu, Y.; Zhang, L.; Liu, F.; Zhang, Y. Feed-Forward Neural Network Approach for Real-Time DOA Estimation in High-Mobility Scenarios. Electronics 2021, 10, 2531. [Google Scholar]
- Hu, S.; Zeng, C.; Liu, M.; Tao, H.; Zhao, S.; Liu, Y. Robust DOA Estimation Using Deep Complex-Valued Convolutional Networks with Sparse Prior. In Proceedings of the 2023 6th International Conference on Information Communication and Signal Processing (ICICSP), Xi’an, China, 23–25 September 2023; pp. 234–239. [Google Scholar]
- Lu, Y.; Guan, H.; Yang, K.; Peng, T.; Wen, C.; Li, X. Improving the Accuracy of Direction of Arrival Estimation with Multiple Signal Inputs Using Deep Learning. Sensors 2024, 24, 2971. [Google Scholar] [CrossRef]
- Liu, Z.; Gao, W.; Zhang, T.; Zhang, J. Direction of Arrival Estimation Using Convolutional Neural Networks with Spatial Spectrum Data. IEEE Trans. Veh. Technol. 2021, 70, 6639–6652. [Google Scholar]
- Mylonakis, C.M.; Velanas, P.; Lazaridis, P.I.; Sarigiannidis, P.; Goudos, S.K.; Zaharis, Z.D. 3D Direction of Arrival Estimation: An Innovative Deep Neural Network Approach. In Proceedings of the 2024 13th International Conference on Modern Circuits and Systems Technologies (MoCAST), Sofia, Bulgaria, 26–28 June 2024. [Google Scholar]
- Wang, S.; Yu, F.; Zhang, X.; Liang, Q. Recurrent Neural Network-Based DOA Estimation for Dynamic Channels in Vehicular Communications. IEEE Trans. Wirel. Commun. 2020, 19, 2110–2120. [Google Scholar]
- Ye, K.; Zhou, L.; Hong, S.; Zhang, X.; Sun, H. Research on 2-D Direction of Arrival (DOA) Estimation for an L-Shaped Array. Remote Sens. 2024, 16, 4787. [Google Scholar] [CrossRef]
- He, J.; Fakhreddine, A.; Vanwynsberghe, C.; Wymeersch, H.; Alexandropoulos, G.C. 3D Localization with a Single Partially-Connected Receiving RIS: Positioning Error Analysis and Algorithmic Design. IEEE Trans. Veh. Technol. 2023, 72, 13190–13202. [Google Scholar] [CrossRef]
- Takemoto, R.; Cha, J.; Jeong, I.; Ahn, C.-J. Effectiveness and Characteristics of Virtual Antennas in the Multiple Signal Classification Algorithm. Electronics 2025, 14, 73. [Google Scholar] [CrossRef]
- Vougioukas, G.; Bletsas, A. DoA Estimation with a Single Antenna and a Few Low-Cost Backscattering Tags. IEEE Trans. Commun. 2022, 70, 6849–6860. [Google Scholar] [CrossRef]
- Xu, S.; Brighente, A.; Conti, M.; Chen, B.; Wang, S. Evaporative Angle: A Generative Approach to Mitigate Jamming Attacks in DOA Estimation. IEEE Wirel. Commun. Lett. 2024, 13, 2922–2926. [Google Scholar] [CrossRef]
- Zhang, Q.; Tang, Y.; Li, J.; Han, J. Hybrid CNN-RNN Model for Robust Direction of Arrival Estimation in LOS and NLOS Environments. Sensors 2022, 22, 1034. [Google Scholar]
- Lee, H.; Kim, S.; Park, Y. Transformer-Based Deep Learning for Direction of Arrival Estimation in Complex Signal Environments. IEEE Access 2023, 11, 10567–10576. [Google Scholar]
- Vaswani, A.; Shazeer, N.; Parmar, N.; Uszkoreit, J.; Jones, L.; Gomez, A.N.; Kaiser, L.; Polosukhin, I. Attention Is All You Need. In Proceedings of the Advances in Neural Information Processing Systems (NeurIPS), Long Beach, CA, USA, 4–9 December 2017. [Google Scholar]
- Liu, Y.; Shao, Z.; Hoffmann, N. Global Attention Mechanism: Retain Information to Enhance Channel-Spatial Interactions. arXiv 2021, arXiv:2112.05561. [Google Scholar]
- Mallioras, I.; Yioultsis, T.V.; Kantartzis, N.V.; Lazaridis, P.I.; Zaharis, Z.D. A Novel Neural Network Approach to Proactive 3-D Beamforming. IEEE Trans. Cogn. Commun. Netw. 2024; early access. [Google Scholar]
- Wu, X.; Wang, J.; Yang, X.; Tian, F. A Gridless DOA Estimation Method Based on Residual Attention Network and Transfer Learning. IEEE Trans. Veh. Technol. 2024, 73, 9103–9108. [Google Scholar] [CrossRef]
- Pan, S.J.; Yang, Q. A Survey on Transfer Learning. Trans. Knowl. Data Eng. 2010, 22, 1345–1359. [Google Scholar] [CrossRef]
- Cao, H.; Xiong, C.; Gong, L.; Jiang, T. Deep Transfer Learning for Underwater Direction of Arrival Using One Vector Sensor. J. Acoust. Soc. Am. 2021, 149, 1699–1711. [Google Scholar] [CrossRef] [PubMed]
- Cao, B.; Xiong, C.; Gong, L.; Jiang, T. Two-Dimensional Direction of Arrival Estimation Based on Nested Circular Array. In Proceedings of the 2022 IEEE USNC-URSI Radio Science Meeting (Joint with AP-S Symposium), Denver, CO, USA, 10–15 July 2022; pp. 124–125. [Google Scholar]






| Antenna Array Configuration | Pre-Training | Fine-Tuning Training Time (min) | MAE (°) | RMSE (°) | MAPE (%) |
|---|---|---|---|---|---|
| ULA | UPA | 5:21 | 0.25 | 0.28 | 0.45 |
| UCA | UPA | 6:17 | 0.23 | 0.32 | 0.42 |
| UPA | ULA | 6:43 | 0.26 | 0.29 | 0.54 |
| UCA | ULA | 4:52 | 0.28 | 0.30 | 0.68 |
| UPA | UCA | 6:19 | 0.29 | 0.34 | 0.67 |
| ULA | UCA | 4:45 | 0.30 | 0.36 | 0.83 |
| SNR (dB) | MAE (°) Without Attention | MAE (°) with Attention |
|---|---|---|
| −20 | 0.60 | 0.76 |
| −15 | 0.48 | 0.52 |
| −10 | 0.40 | 0.36 |
| −5 | 0.36 | 0.32 |
| 0 | 0.33 | 0.30 |
| 5 | 0.27 | 0.26 |
| 10 | 0.24 | 0.24 |
| 15 | 0.24 | 0.23 |
| 20 | 0.23 | 0.23 |
| Dataset Size | MAE (°) | Training Time (h) | Memory Usage (GB) |
|---|---|---|---|
| 0.45 | 1.2 | 3.5 | |
| 0.34 | 3.8 | 8.2 | |
| 0.23 | 9.5 | 42.7 | |
| 0.23 | 14.3 | 196.4 | |
| 0.23 | 72.8 | 985.2 |
| Model Component | Number of Parameters (Million) | Memory (MB) |
|---|---|---|
| Baseline CNN | 3.3 | 11.7 |
| CNN with Attention | 3.5 | 12 |
| Scenario | Baseline Inference Time (ms) | Proposed Model Inference Time (ms) |
|---|---|---|
| Batch (32 instances) | 175 | 151 |
| Single Instance | 90 | 82 |
Disclaimer/Publisher’s Note: The statements, opinions and data contained in all publications are solely those of the individual author(s) and contributor(s) and not of MDPI and/or the editor(s). MDPI and/or the editor(s) disclaim responsibility for any injury to people or property resulting from any ideas, methods, instructions or products referred to in the content. |
© 2025 by the authors. Licensee MDPI, Basel, Switzerland. This article is an open access article distributed under the terms and conditions of the Creative Commons Attribution (CC BY) license (https://creativecommons.org/licenses/by/4.0/).
Share and Cite
Mylonakis, C.M.; Velanas, P.; Lazaridis, P.I.; Sarigiannidis, P.; Goudos, S.K.; Zaharis, Z.D. Deep Learning Framework Using Spatial Attention Mechanisms for Adaptable Angle Estimation Across Diverse Array Configurations. Technologies 2025, 13, 46. https://doi.org/10.3390/technologies13020046
Mylonakis CM, Velanas P, Lazaridis PI, Sarigiannidis P, Goudos SK, Zaharis ZD. Deep Learning Framework Using Spatial Attention Mechanisms for Adaptable Angle Estimation Across Diverse Array Configurations. Technologies. 2025; 13(2):46. https://doi.org/10.3390/technologies13020046
Chicago/Turabian StyleMylonakis, Constantinos M., Pantelis Velanas, Pavlos I. Lazaridis, Panagiotis Sarigiannidis, Sotirios K. Goudos, and Zaharias D. Zaharis. 2025. "Deep Learning Framework Using Spatial Attention Mechanisms for Adaptable Angle Estimation Across Diverse Array Configurations" Technologies 13, no. 2: 46. https://doi.org/10.3390/technologies13020046
APA StyleMylonakis, C. M., Velanas, P., Lazaridis, P. I., Sarigiannidis, P., Goudos, S. K., & Zaharis, Z. D. (2025). Deep Learning Framework Using Spatial Attention Mechanisms for Adaptable Angle Estimation Across Diverse Array Configurations. Technologies, 13(2), 46. https://doi.org/10.3390/technologies13020046

