Next Article in Journal
Precision Manufacturing in China of Replication Mandrels for Ni-Based Monolithic Wolter-I X-ray Mirror Mandrels
Next Article in Special Issue
Effects of the Fuel Species on the Combustion Pressure in a Two Staged Fueled Scramjet Combustor
Previous Article in Journal
Research on the Design and Bidirectional Work Process of Metal Diaphragms in Small Double-Pulse Solid Rocket Motors
Previous Article in Special Issue
The Impact of Upstream Static Deformation on Flow Past a Cylinder/Flare
 
 
Font Type:
Arial Georgia Verdana
Font Size:
Aa Aa Aa
Line Spacing:
Column Width:
Background:
Article

Interaction of a Dense Layer of Solid Particles with a Shock Wave Propagating in a Tube

by
Konstantin Volkov
School of Engineering, Kingston University, London SW15 3DW, UK
Aerospace 2024, 11(10), 850; https://doi.org/10.3390/aerospace11100850
Submission received: 19 September 2024 / Revised: 9 October 2024 / Accepted: 14 October 2024 / Published: 15 October 2024

Abstract

A numerical simulation of an unsteady gas flow containing inert solid particles in a shock tube is carried out using the interpenetrating continuum model. The gas and dispersed phases are characterized by governing equations that express the concepts of mass, momentum, and energy conservation as well as an equation that shows the change of the volume fraction of the dispersed phase. Using a Godunov-type approach, the hyperbolic governing equations are solved numerically with an increased order of accuracy. The working section of the shock tube containing air and solid particles of various sizes is considered. The shock wave structure is discussed and computational results provide the spatial and temporal dependencies of the particle concentration and other flow quantities. The numerical simulation results are compared with available experimental and computational data.

1. Introduction

The interaction of shock waves with combustion products containing particles of a condensed phase is an important problem in the combustion chambers of rocket engines. The challenges of capturing high-speed processes are linked to the limitations of experimental diagnostic tools. The high cost of processor time and the imprecision of mathematical models restrict the possibilities of the numerical modeling of high-speed flows [1,2].
Continuum or continuum–discrete models are widely used in computational practice to describe the interaction of a dense layer of particles with a shock wave. To enhance description of fluid flow in porous or granular media, the interaction between a supersonic fluid flow and various shaped solids has been conducted [3]. These works generally focus on the computational or experimental modeling of flow around stationary bodies, as well as the study of interference effects during joint flow around solids.
Experimental and numerical studies of the interaction of a shock wave with layer of particles are presented in [4]. The impact of the dispersed phase on air pressure distribution and shock wave structure was investigated. The volume concentration of particles reached 0.35. The effectiveness of various numerical techniques was then assessed using the obtained experimental data [5,6,7,8].
The work [9] investigates physical conditions and dynamics of shock wave propagating through an array of solids and the formation of a collective bow shock in front of them. Two types of shock wave structures that experiments recorded corresponded to regular and Mach reflections of shock waves from each sphere onto the other. Quantitative conditions were established for the existence of various regimes and their transitions to a bow shock wave.
A continuum–discrete array of laminar particle-laden flow is used in [10] to study shock wave propagation through an array of particles. The volumetric fraction of the dispersed phase varied from 0.1 to 3%. The results obtained showed the modification of shock wave structure in supersonic flow with particles. Bow shocks are formed at low particle concentrations on each particle. If the concentration of particles increases, neighboring shock waves interact with each other, overlap, and generate a common bow shock.
The data presented in [11] confirm that the polydispersity of particles has a small impact on flow pattern (eight fractions, particle diameters varied from 60 to 130 µm with a step of 10 µm). Flow constraint effects happen in a supersonic nozzle if α p 1 % while, in low-speed flows, they happen if α p 5 % [10].
The works [12,13] model, in two dimensions, the interaction of a shock wave with a dense layer of solid particles. Particles of a dispersed phase had a volume fraction of 0.15 and were assumed to be immobile. The configuration under investigation agreed qualitatively with the quantities of the experimental work [14]. Two-dimensional calculations were used to obtain qualitative descriptions of multi-dimensional effects. The results were compared with calculations using a one-dimensional formulation, demonstrating how important it is to take into account multi-dimensional effects associated with Reynolds stresses in turbulent wake and within a particle cloud. It was shown that there exist both transmitted and reflected shock waves, and a fan of rarefaction waves in the layer of particles. A contact discontinuity forms at the trailing edge of the layer as the shock wave exits. The Reynolds stresses in momentum transport equations are comparable to static pressure, both within and outside the particle cloud. Flow kinetic energy and turbulent kinetic energy are equal in this region.
The interaction of a shock wave with a group of particles in a horizontal cylindrical shock tube is covered in [15]. The particles’ reflection of the shock wave causes the pressure to increase. The intensity of the reflected shock wave increases if the particle loading increases and the particle size decreases. The shock wave becomes less intense as it passes through the particle layer. If the particle loading increases and particle diameter decreases, the shock wave attenuates.
The study [16] compares data acquired using different collisional models of gas suspension flow. When big (1 mm in diameter) particles collide, the impact of gas-dynamic forces is negligible in comparison to the impact of collision forces.
Shock wave propagation through a layer of particles in the air is simulated in [17] for Mach numbers up to 10. When a shock wave passes through the particle layer, it becomes more powerful at each new particle. A multiscale technique for modeling the dynamics of multiphase flows under shock waves is developed in [18]. This technique makes it possible to examine how a cloud of particles evolves and to show how the particle gas-dynamic interaction affects cloud motion. Calculations were conducted for various particle sizes, volumetric concentrations of those particles, and Mach numbers. The results of the three-dimensional simulation are presented in [19]. Particle trajectories were calculated with the Lagrangian method. The computations altered the cloud size and particle volume concentration.
The works [20,21] construct high-order finite-difference schemes for a mixed Eulerian–Lagrangian description of particle-laden flow. The results computed were in reasonable agreement with experimental data. Particle dispersion was analyzed with respect to the initial cloud geometry, and it was discovered that the layer shape plays a significant role in calculations of the transverse direction of particle dispersion.
The works [22,23,24] study the propagation of particles in accelerating flow behind the front of a normal shock wave, the impact of flow direction on particle dispersion for clouds of elliptical and rectangular shapes, and the ratio of the cloud’s longitudinal size to its transverse size. The area occupied by the particle cloud remained constant while the shape changed. The volume concentration of particles was 4%. A high-order finite-difference monotonic scheme was used for the numerical solution. In comparison to a rectangular cloud, the elliptical cloud has less dispersion. The speed of cloud convection in the flow direction increases as the ratio of the cloud’s longitudinal to transverse dimensions decreases.
The work [25] uses continuum models to describe two-phase flow. The works [14,26,27,28] consider the interaction of a layer of particles with a shock wave. The particle volume concentration corresponded to a regime of dense packing of a dispersed phase (volume concentration of particles was 0.21). Experimental studies were conducted for a dense filling of particles (volume concentration of particles was 0.48) in [29].
Numerical methods for the simulation of shock wave interaction with both a single particle and a layer of particles are developed in [30]. The configuration of particles at a cubic lattice of nodes and face centers is examined. Particles were assumed to be stationary. This led to a rarefaction of the particle array at the beginning of its movement due to a more intense movement of the cloud’s rear edge. This phenomenon occurred for all volume fractions for small Mach numbers of the incident shock wave, where particles’ drag downstream was greater than that of particles at the leading edge of the array. This effect was less noticeable for high incident shock wave Mach numbers (the particle system moved nearly as a single unit). Only media with a low fraction of the dispersed phase are suitable for using correlations for the drag of an individual particle to account for the motion of the particle layer [9].
The propagation of a shock wave through a layer of regularly positioned squares and circles is considered in [31]. The impact of various drag correlations on the outcomes of the interaction of a shock wave with particles is assessed in [32]. Only media with a low fraction of the dispersed phase are suitable for using correlations for the drag coefficient of an individual sphere to account for the motion of a cloud of particles [9]. The studies [33,34] demonstrate how little the Magnus and Saffman forces affect particle dynamics in supersonic flows.
The work [35] presents results of a simulation of the rise of particles behind a shock wave reflected from the tube end and sliding over a layer of particles. Particles rise in a vortex that forms in the air subsequent to the shock wave’s reflection off the wall. Due to the inhomogeneity of air flow behind the transmitted shock wave, the reflected shock wave forms a λ -shaped structure leading to the formation of a vortical flow. The problem of a plane shock wave propagating over a square cavity with particles is discussed in [36]. The shock waves in a cavity become weaker and transform into compression waves if the particle concentration increases. The flow pattern and wave structure are influenced by particle size. The flow approaches the structure of air flow for large particle diameters of about 250 µm. The problem of suppressing a shock wave in a layer of inert particles is considered in [37]. Ignoring volume occupied by particles, results of simulation are presented in [38].
The propagating of a shock wave through a layer of particles is solved numerically in [39] to identify types of interactions of shock waves in front of bodies. Different flow modes around particles are realized depending on the distance between spheres and speed of the supersonic flow behind the shock wave. When bodies are in close proximity to each other while a shock wave is passing through, the flow regime varies from regular reflection to a Mach interaction of shock waves and, finally, to a common shock wave [40].
Numerous practical issues remain unresolved, even with the advancements made. The influence of a particle on the structure of the bow shock and the transmitted, reflection of the shock wave from a group of particles, the presence of secondary shock waves, and the intense vortex flows behind the layer of particles are among them. The intricacy of this issue demands the creation of theories and use of mathematical modeling techniques to explain the dynamics of multiphase flow. It also calls for thorough investigations of scientific and technical issues utilizing cutting-edge computational experimentation and mathematical modeling technologies. This study examines the characteristics of the numerical solution for the shock wave propagation problem in a mixture of inert particles and air using a Eulerian–Eulerian approach. The results of the interaction between a shock wave and a dense layer of particles were compared with a full-scale experiment [4]. The distribution of the fraction of particles and shock wave structure were examined, and the results were contrasted with available experimental and computational observations.
The proposed approach is based on governing equations of the hyperbolic type for gas and particles. This allows to extend the computational algorithms designed for pure gas to the solution of gas dynamics problems with solid particles. The presence of secondary shock waves may lead to the inefficient use of the layer of particles to protect the objects from a destructive effect of shock waves. The proposed approach enables an optimization of the coating process at the impingement of a supersonic gas–particle flow onto an obstacle.

2. Mathematical Model

The Lagrangian approach to the simulation of particle dynamics is too expensive from a computational point of view. It involves the simulation of 6 N D particles [41], where N is the number of mesh cells, D is the dimension. A lower estimation of a number of particles is about six particles per mesh cell in each coordinate direction [42,43]. These particle number requirements become unnecessarily high for fine meshes. The Eulerian approach requires less degrees of freedom than the Lagrangian approach [25].
A model of interpenetrating continua was applied to describe fluid flow with particles (Eulerian–Eulerian approach). This approach led to conservation equations of mass, momentum, and energy for each phase. Semi-empirical correlations for the drag and heat flux of individual particles were applied to close governing equations. The Baer–Nunziato model proposed in [44] and expanded in [5,6] supposes the existence of two velocities and two pressures of gas and solid phases. Depending on how the model is applied, different pressures and velocities are chosen at the interface between two phases.
A mixture of two continua, each with its own pressure, velocity, and temperature, is referred to as a two-phase medium. The continuity, momentum, and energy equations are derived for each phase with an additional equation describing the transport of the volumetric fraction of the dispersed phase. The viscosity and thermal conductivity of the air are considered when the air interacts with particles.
  • Transport equations of gas
α g ρ g t + α g ρ g u g x = 0 ;
α g ρ g u g t + α g ( ρ g u g 2 + p g ) x = p i α g x + f p ;
α g ρ g E g t + α g u g ( ρ g E g + p g ) x = p i u i α g x f p u i q p μ p p i ( p g p p ) .
2.
Transport equations of particles
α p ρ p t + α p ρ p u p x = 0 ;
α p ρ p u p t + α p ( ρ p u p 2 + p p ) x = p i α p x + f p ;
α p ρ p E p t + α p u p ( ρ p E p + p p ) x = p i u i α p x + f p u i + q p + μ p p i ( p g p p ) .
3.
Transport equation of the volume fraction of particles
α p t + u i α p x = μ p ( p g p p ) .
Here, t is time, x is the Cartesian coordinate, α i is the ith phase volume fraction and α g + α p = 1 , ρ i is the ith phase density, u i is the ith phase velocity, p i is the ith phase pressure, E i is the ith phase-specific total energy, and μ i is the ith phase dynamic viscosity. The subscripts g and p correspond to air and particles. The dynamic viscosity of the dispersed phase characterizes pressure relaxation on the interface. The total energies of the air and particles are found as
E g = p g [ ( γ g 1 ) ρ g ] 1 + u g 2 2 , E p = ( p p + γ p p p 0 ) [ ( γ p 1 ) ρ p ] 1 + u p 2 2 ,
where γ is the ratio of the specific heat capacities at a constant pressure and constant volume. The equation of the state of the ideal gas, p g = ρ g R T g , where R is gas constant, yields gas pressure. Assuming that solid particles are weakly compressible, the dispersed phase is described by a two-term equation of state containing quantities γ p and P p 0 ( γ p = 2.48 , P p 0 = 4.85 × 10 8 Pa).
The source terms in governing Equations (1)–(7) take into account processes on the interphase. The interphase pressure and velocity, p i and u i , are averaged over the control volume of two-phase flow. The closing relations used in order to calculate these quantities are represented as
p i = α g p g + α p p p , u i = α g ρ g u g + α p ρ p u p α g ρ g + α p ρ p .
On the interface, the phase pressures are equal ( p g = p p ). This condition is imposed in the presence of an interphase boundary, rather than assuming the equality of phase pressures, which would violate the hyperbolicity of the governing equations.
The particle Equations (4)–(6) and gas Equations (1)–(3) are inter-related with source terms. The relationship yields the drag force applied per unit volume
f p = 3 4 C D ρ g d p u g u p u g u p ( 1 α g ) ,
where d p is particle diameter. The drag coefficient is found as
C D = C D 0 f D ( Re p , M p ) ,
where C D 0 = 24 / Re p corresponds to the Stokes law. The correction function depends on the relative Reynolds and Mach numbers and accounts for compressibility and inertia effects
f D = 1 + 0.15 Re p 0.687 1 + exp 0.427 M p 4.63 3 Re p 0.88 .
The heat flux between the gas and particles is
q p = π d p 2 λ g d p ( 1 α g ) Nu p T g T p ,
where λ g is the thermal conductivity. The Nusselt number depends on the Reynolds and Prandtl numbers. It is calculated as
Nu p = Nu p 0 + 0.459 Re p 0.55 Pr 0.33 ,
where Nu p 0 = 2 . The relative velocities of gas and particles are used to compute the Reynolds and Mach numbers
Re p = ρ g u g u p d p μ , M p = u g u p a ,
where a is the speed of sound.

3. Numerical Method

The convective terms are found in the left-hand sides of the mass and momentum equations. The terms associated with the non-conservative parts of the governing equations, p i α g / x and p i u i α g / x , are moved to the right-hand sides. The equations of state are applied to determine pressures of the gas and particles. The governing equations are composed of a hyperbolic part and, in order to account for the interfacial interaction, pressure and velocity relaxation terms are added.
The unsteady one-dimensional particle-laden flow is described by equation
U t + F ( U ) x = H ( U ) α p x + P ( U ) + S ( U ) .
The vector of flow quantities and flux vector have the form
U = α g ρ g α g ρ g u g α g ρ g E g α p ρ p α p ρ p u p α p ρ p E p α p , F = α g ρ g u g α g ( ρ g u g 2 + p g ) α g u g ( ρ g E g + p g ) α p ρ p u p α p ( ρ p u p 2 + p p ) α p u p ( ρ p E p + p p ) 0 .
The source terms on the right-hand side are
H = 0 p i p i u i 0 p i p i u i u i , P = 0 0 μ p p i ( p g p p ) 0 0 μ p p i ( p g p p ) μ p ( p p p g ) , S = 0 f p f p u i 0 f p f p u i 0 .
The splitting into physical processes is applied to discretize the transport equations of gas and the dispersed phase. In the first step, the transport is integrated if S = 0 (hyperbolic step, indicated by the operator L h ). In the second step, the pressure relaxation process (represented by the operator L r ) is accounted. The third step involves accounting for non-differential source terms (represented by the operator L s ) that are responsible for the interphase interaction.
A series of operators act to produce the solution to Equation (8), in accordance with the splitting into physical processes procedure
Q j n + 1 = L s L r L h Q j n .
Subscript j is related to the mesh cell, and superscript n is related to the time layer. Three steps are involved in finding a solution on a new time layer: (i) calculation of the gas-dynamic process, (ii) calculation of the velocity relaxation, and (iii) calculation of the pressure relaxation.
Step 1. Calculation of the gas-dynamic component. Without accounting for pressure and velocity relaxations, the model describing two-phase flow is hyperbolic. A Godunov-type scheme proposed in [45] was applied to discretize it. However, the hyperbolic equations have one non-conservative equation for the volume fraction of particles and non-conservative terms.
The equation describing the flow is
U t + F ( U ) x = H ( U ) α p x .
A mathematical analysis of the hyperbolic part of the governing equations written in one-dimensional form is performed in [46]. The Jacobian eigenvalues are λ i = u i , λ g 0 = u g , λ g ± = | u g ± c g | , λ p 0 = u p , and λ p ± = | u p ± c p | . The relation yields the sound speed
c 2 = ε p ρ 1 p ρ 2 ε ρ p .
Here, ε is a specific internal energy. Equation (10) is hyperbolic, and the Jacobian eigenvalues are real and distinct.
A higher order of accuracy Godunov-type method is applied to make the hyperbolic step with the HLLC (Harten–Lax–van Leer–Contact) method to solve the Riemann problem and the minmod limiter.
The finite-volume scheme scheme for Equation (10) is
U j n + 1 = U j n Δ t Δ x F j + 1 / 2 n F j 1 / 2 n + Δ t H ( U j n ) Δ ,
where U j n is the vector of flow quantities in cell j at time later n, and F j ± 1 / 2 is the numerical flux on the cell face. The flux of conservative variables through face j + 1 / 2 is
F j + 1 / 2 = A j + 1 / 2 + F j A j + 1 / 2 F j + 1 + A j + 1 / 2 + A j + 1 / 2 ( U j + 1 U j ) A j + 1 / 2 + A j + 1 / 2 ,
where A + = max { 0 , λ g + , λ g + } , and A = min { 0 , λ g , λ g } . The additional factor is
Δ = 1 Δ x A j + 1 / 2 + α j n A j + 1 / 2 α j + 1 n A j + 1 / 2 + A j + 1 / 2 A j 1 / 2 + α j 1 n A j 1 / 2 α j n A j 1 / 2 + A j 1 / 2 .
Step 2. Calculation of the velocity relaxation. To find the flow quantities at the velocity relaxation step, the following equation is used:
d U d t = S ( U ) .
Various techniques of integration of ordinary differential equations including Euler or Runge–Kutta methods are applied to solve (11).
Step 3. Pressure relaxation computation. The equation used to determine the flow quantities is as follows:
d U d t = P ( U ) .
Various techniques of integration of ordinary differential equations including Euler or Runge–Kutta methods are applied to solve (12).
The fluxes are discretized with a 2nd-order numerical scheme, and integration over time is conducted with a 3rd-order Runge–Kutta scheme. The employed Runge–Kutta scheme is positive (if the numerical solution is positive on time layer n, it remains positive on time layer n + 1 ). The numerical scheme on hyperbolic step satisfies the TVD condition.

4. Results and Discussion

A vertical shock tube with a cross-section area of 13 × 13 cm2 and a length of 6 m was considered. Under normal circumstances, the shock tube contained pure air ( γ = 1.4 ) at normal atmospheric conditions. Air density was ρ = 1.2 kg/m3, and air pressure was p = 10 5 Pa. The air was in a stationary state ( u = 0 ) at the initial time. The tube inlet section was situated one meter away from the dividing partition. A 2 cm thick layer of particles was situated 3.055 m away from the dividing wall. The particles had a diameter of 1.5–2 mm and were solids made of either nylon ( ρ p = 1050 kg/m3) or glass ( ρ p = 2500 kg/m3). The particles were packed, and the volume fraction of air was 0.36. At the initial time, the particles were not moving.
The shock wave with a Mach number of 1.29 was created when a diaphragm was destroyed. A shock wave traveled from the bottom to the top of the tube, and there was a rarefaction wave that propagated in the opposite direction. The air quantities behind the shock wave front were as follows: the pressure was p = 18,289 Pa, density was ρ = 1.81883 kg/m3, and velocity was u = 152.0744 m/s. The tube end walls reflected both the shock and rarefaction waves at different points in time. There were two pressure sensors in the tube. The pressure sensor 1 was positioned 11 cm below the particle layer. The pressure sensor 2 was positioned 4.3 cm above the particle layer.
Figure 1 provides an explanation of the computational domain and the experimental setup from the work [4] (lengths are given in meters, and scale is not observed). The initial coordinate of the shock wave front at time t = 0 is x = 0 . There are two pressure sensors inside the shock tube. Pressure sensors 1 and 2 are situated 4.3 cm above the particle layer ( x = 0.233 m) and 11 cm below it ( x = 0.08 m). The reflected shock wave is detected by sensor 1. Sensor 2 captures the transmitted shock wave. The layer of particles is two centimeters thick. It is considered that a two-phase medium fills the computational domain. Particles in the layer have an initial concentration of 0.65, while those outside the layer have an initial concentration of 10 8 . No penetration boundary conditions are specified on the upper boundary, and the flow quantities are specified on the lower boundary. On a mesh with 1000 cells, calculations are conducted up until 4.6 ms (before the rarefaction wave arrives).
Figure 2 illustrates pressure distribution in pure air. The pressure sensor 2 is situated 4.3 cm above the particle layer. Solid lines represent the computation results, and symbols • represent the experimental data from [4]. The computational and experimental data agree well with each other. Section 2 and Section 4 correspond to rarefaction waves, while Section 1 and Section 3 correspond to incident and reflected shock waves.
Figure 3 shows the ( x , t ) diagram of propagation of gas-dynamic discontinuities. With an initial velocity of zero, the incident shock wave interacts with contact discontinuity, which separates the region of pure air from the region occupied by particles. The interaction creates two shock waves: (i) a transmitted wave that travels along the two-phase region before exiting into the pure air region, and (ii) a reflected shock wave that travels towards the inlet section.
Simulations of trajectories of individual particles were also performed with a Lagrangian approach to verify the accuracy of the sub-model describing the interphase momentum exchange. Figure 4 displays the trajectory of a single particle (solid lines) in comparison to the data obtained from the physical experiment [4] (symbols • and symbols ∘). Line 1 and symbols • denote particles of nylon measuring 2 mm in diameter, while line 2 and the symbols ∘ denote particles of glass measuring the same diameter. Times t = 0 and t = 4 ms correspond to the start of the interaction of the incident shock wave with particles and the appearance of a rarefaction wave.
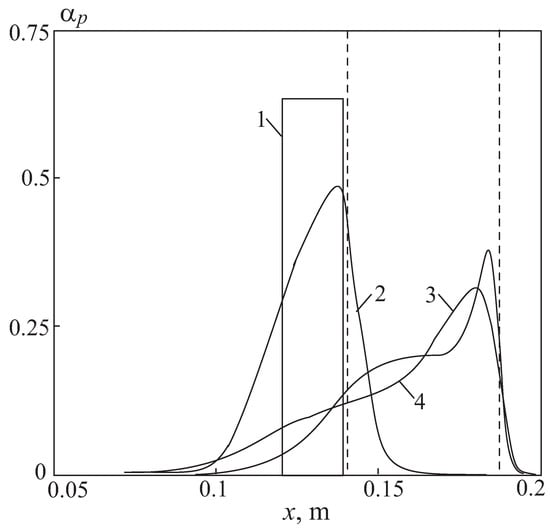
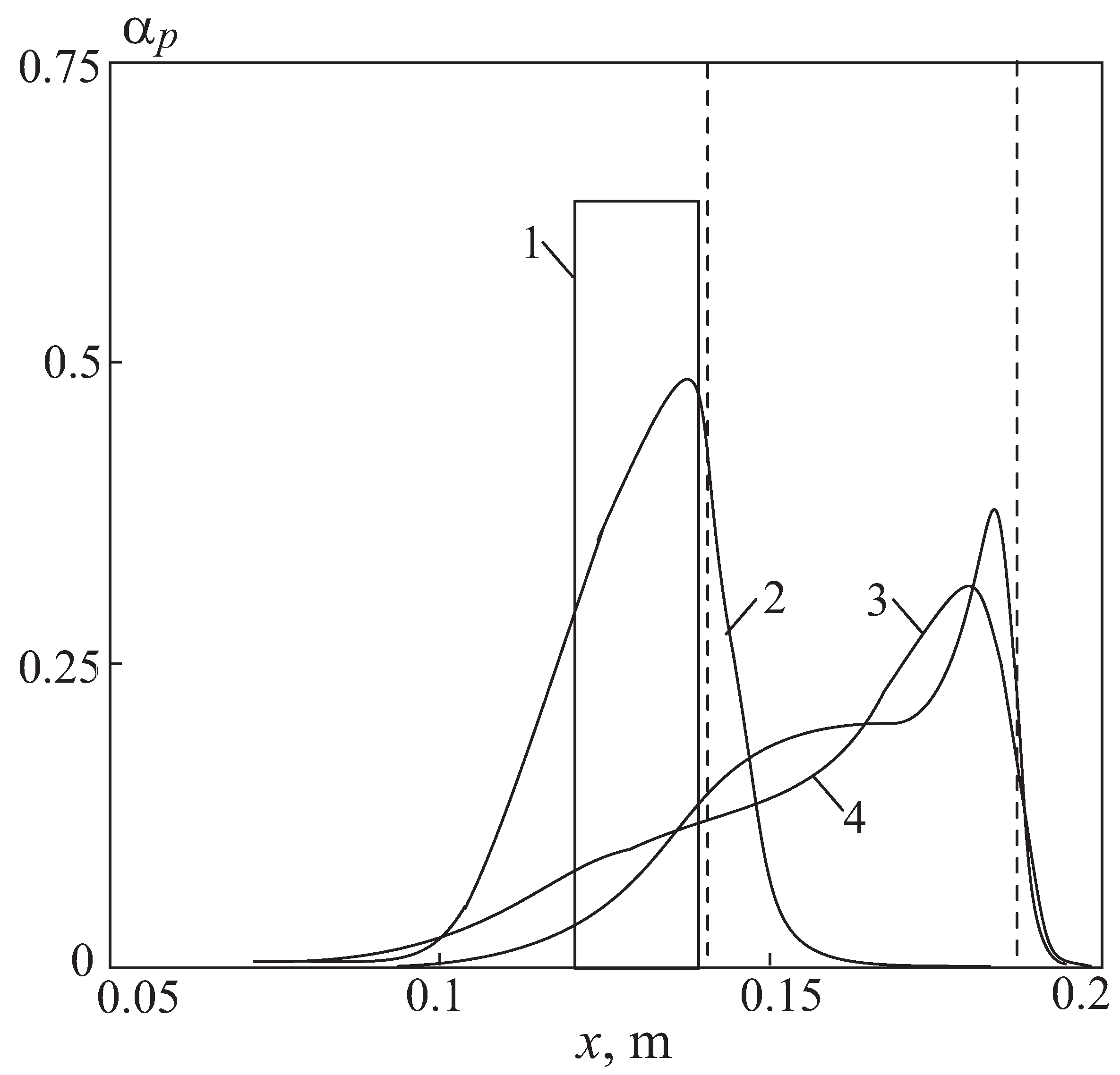
Figure 5 displays concentration profiles of the dispersed phase at various times. Vertical dotted lines represent the particle layer position [4]. Transmitted and reflected waves are created when the incident shock wave interacts with the layer of particles. The array then starts to move as a result of the pressure difference to its left and right and the interfacial interaction force.
The difference between the current solution and computational results from [4] is explained by physical and numerical effects. Physical effects include the impact of viscosity and thin boundary layers on wall tubes. The simulation of particle motion requires the use of semi-empirical correlations for the drag of individual particles. These correlations are usually available for a sphere in uniform flow. One of the unresolved issues is how finite particle volume concentration can affect drag and heat transfer of each particle in the cloud.
The air pressure behind the transmitted shock wave and above the upper boundary of the backfill area is roughly 1.2 a.m., while the air pressure behind the reflected shock wave and in front of the lower boundary is about 3 a.m. A pressure differential of roughly 1.8 a.m. is felt by the layer of particles, which causes it to start moving upward. Due to the force of viscous friction, the air that has been displaced by the transmitted shock wave moves in relation to initially stationary particles and displaces them. A two-phase flow toward the second pressure sensor appears as a result of both effects. In this instance, the particle layer is smeared, meaning that the area it occupies is shifting and getting larger.
Figure 6 (solid lines) illustrates how the lower and upper boundaries of the particle layer change over time (blurring of the layer boundaries) in comparison to data from the physical experiment from [4] (symbols • and symbols ∘). A one-millimeter diameter glass particle is used in the calculations. The lower boundary of the layer is represented by line 2 and symbols ∘, while the upper boundary is represented by line 1 and symbols •. The boundaries of the particle layer are significantly blurred, with the upper boundary of the layer being more so than the lower.
Figure 7 displays pressure distributions (solid lines) compared to data from the physical experiment [4] (symbols • and ∘). Pressure sensors 1 and 2 are represented by line 1 and • and ∘ icons, respectively. As compared to the experiment, the pressure behind the transmitted shock wave is higher and the pressure behind the reflected shock wave is lower [4]. The figure displays average values of pressure. The experimental curve reported in the work [4] has pulsations that are not present in the computed curve.
For the entire time range, the pressure distribution over time at the first sensor agrees well with experimental measurements. Sensor 1 records the incident shock wave traveling through it at time t = 0.183 ms, and the reflected shock wave traveling through it at time t = 0.787 ms. As the sensor passes through, the air pressure behind the reflected wave reaches 2.964 a.m. As the shock tube is being unloaded, a two-phase flow occurs, causing the air pressure to gradually drop. A total of 3.149 a.m. of pressure is behind the shock wave that is reflected off the solid wall.
On sensor 2, there is a little less agreement between computational and experimental data. At the beginning of the process, there is a qualitative coincidence in the results. A weak transmitted shock wave enters the second pressure sensor at t = 0.58 ms. The pressure behind the shock wave front is about 1.18 a.m., and it gradually rises to 1.25 a.m. over time. A flow of air and particles arrives at the second sensor location at time t = 2.19 ms. The pressure rises in 1.5 ms to 2.4 a.m. Then, as a result of unloading, the pressure in the vicinity of the second sensor starts to gradually drop.
The observed discrepancy between computational and experimental data is explained by presence of a boundary layer near the tube walls, which leads to the distortion of the particle layer near the walls in the experimental photographs presented in [4,29].

5. Conclusions

This study involves the interaction of dense layer of solid particles with supersonic air flow in a shock tube. A two-velocity and two-temperature model is applied to simulate an unsteady one-dimensional flow of air with particles. In the working section of the shock tube, a shock wave structure of flow as well as spatial and temporal dependencies of particle concentration and other flow quantities are presented. The available experimental and computational data agree well with numerical modeling results. The obtained results allow one to assess how much a shock wave is attenuated by filling a granular medium. The observed discrepancy between computational and experimental data is explained by the presence of a boundary layer near the tube walls, which leads to the distortion of the particle layer near the walls.

Funding

This research received no external funding.

Data Availability Statement

The data presented in this study are available on request from the author.

Conflicts of Interest

The author declares no conflicts of interest.

References

  1. Kuzenov, V.V.; Ryzhkov, S.V.; Varaksin, A.Y. Computational and experimental modeling in magnetoplasma aerodynamics and high-speed gas and plasma flows (a Review). Aerospace 2023, 10, 662. [Google Scholar] [CrossRef]
  2. Small, J.C.; Zhang, L. Computational study of fluidic-valve injectors for detonation engines. Aerospace 2024, 11, 171. [Google Scholar] [CrossRef]
  3. Volkov, K.N.; Emelaynov, V.N. Gas-Particle Flows; Publishing House of Physical and Mathematical Literature: Moscow, Russia, 2008; 598p. [Google Scholar]
  4. Rogue, X.; Rodriguez, G.; Haas, J.F.; Saurel, R. Experimental and numerical investigation of the shock-induced fluidization of a particles bed. Shock Waves 1998, 8, 29–45. [Google Scholar] [CrossRef]
  5. Saurel, R.; Abgrall, R. A multiphase Godunov method for compressible multifluid and multiphase flows. J. Comput. Phys. 1999, 150, 425–467. [Google Scholar] [CrossRef]
  6. Abgrall, R.; Saurel, R. Discrete equations for physical and numerical compressible multiphase mixtures. J. Comput. Phys. 2003, 186, 361–396. [Google Scholar] [CrossRef]
  7. Ivanov, I.; Kryukov, I. Numerical algorithm of modeling of the two-phase flow containing interphase boundaries. Phys. Chem. Kinet. Gas Dyn. 2012, 13, 1–8. [Google Scholar]
  8. Houim, R.W.; Oran, E.S. A multiphase model for compressible granular-gaseous flows: Formulation and initial tests. J. Fluid Mech. 2016, 789, 166–220. [Google Scholar] [CrossRef]
  9. Boiko, V.M.; Klinkov, K.V.; Poplavskii, S.V. Collective bow shock ahead of a transverse system of spheres in a supersonic flow behind a moving shock wave. Fluid Dyn. 2004, 39, 330–338. [Google Scholar] [CrossRef]
  10. Boiko, V.M.; Kiselev, V.P.; Kiselev, S.P.; Papyrin, A.N.; Poplavsky, S.V.; Fomin, V.M. Shock wave interaction with a cloud of particles. Shock Waves 1997, 7, 275–285. [Google Scholar] [CrossRef]
  11. Ilea, C.G.; Kosinski, P.J.; Hoffmann, A.C. The effect of polydispersity on dust lifting behind shock waves. Powder Technol. 2009, 196, 194–201. [Google Scholar] [CrossRef]
  12. Regele, J.D.; Rabinovitch, J.; Colonius, T.; Blanquart, G. Numerical modeling and analysis of early shock wave interactions with a dense particle cloud. In Proceedings of the 42nd AIAA Fluid Dynamics Conference and Exhibit, New Orleans, LA, USA, 25–28 June 2012; pp. 2012–3161. [Google Scholar]
  13. Regele, J.D.; Rabinovitch, J.; Colonius, T.; Blanquart, G. Unsteady effects in dense, high speed, particle laden flows. Int. J. Multiph. Flow 2014, 61, 1–13. [Google Scholar] [CrossRef]
  14. Wagner, J.L.; Beresh, S.J.; Kearney, S.P.; Trott, W.M.; Castaneda, J.N.; Pruett, B.O.; Baer, M.R. A multiphase shock tube for shock wave interactions with dense particle fields. Exp. Fluids 2012, 52, 1507–1517. [Google Scholar] [CrossRef]
  15. Zhang, L.T.; Shi, H.H.; Wang, C.; Dong, R.L.; Jia, H.X.; Zhang, X.N.; Yue, S.Y. Aerodynamic characteristics of solid particles acceleration by shock waves. Shock Waves 2011, 21, 243–252. [Google Scholar] [CrossRef]
  16. Nourgaliev, R.R.; Dinh, T.N.; Nguyen, L.; Theofanous, T.G. Treatment of particle collisions in direct numerical simulations of high speed compressible flows. In IUTAM Symposium on Computational Approaches to Disperse Multiphase Flow; Balachandar, S., Prosperetti, A., Eds.; Springer: Berlin/Heidelberg, Germany, 2006; pp. 247–259. [Google Scholar]
  17. Sridharan, P.; Jackson, T.L.; Zhang, J.; Balachandar, S. Shock interaction with one-dimensional array of particles in air. J. Appl. Phys. 2015, 117, 075902. [Google Scholar] [CrossRef]
  18. Lu, C.; Sambasivan, S.; Kapahi, A.; Udaykumar, H.S. Multi-scale modelling of shock interaction with a cloud of particles using an artificial neural network for model representation. Procedia IUTAM 2012, 3, 25–52. [Google Scholar] [CrossRef]
  19. Gottiparthi, K.C.; Menon, S. A study of interaction of clouds of inert particles with detonation in gases. Combust. Sci. Technol. 2012, 184, 406–433. [Google Scholar] [CrossRef]
  20. Jacobs, G.; Don, W.S. A high-order WENO-Z finite difference based particle-source-in-cell method for computation of particle-laden flows with shocks. J. Comput. Phys. 2009, 228, 1365–1379. [Google Scholar] [CrossRef]
  21. Jacobs, G.; Don, W.S.; Dittmann, T. High-order resolution Eulerian–Lagrangian simulations of particle dispersion in the accelerated flow behind a moving shock. Theor. Comput. Fluid Dyn. 2010, 26, 37–50. [Google Scholar] [CrossRef]
  22. Jacobs, G.B.; Don, W.S.; Dittmann, T. Computation of normal shocks running into a cloud of particles using a high-order particle-source-in-cell method. In Proceedings of the 47th AIAA Aerospace Sciences Meeting Including the New Horizons Forum and Aerospace Exposition, Orlando, FL, USA, 5–8 January 2009; p. 1310. [Google Scholar]
  23. Dittmann, T.B.; Jacobs, G.B. Dispersion of a cloud of particles by a moving shock: Effects of shape, angle of incidence and aspect ratio. AIAA Pap. 2011, 2011–441. [Google Scholar]
  24. Davis, S.L.; Dittmann, T.B.; Jacobs, G.B.; Don, W.S. Dispersion of a cloud of particles by a moving shock. Effects of the shape, angle of rotation, and aspect ratio. J. Appl. Mech. Tech. Phys. 2013, 54, 900–912. [Google Scholar] [CrossRef]
  25. Shotorban, B.; Jacobs, G.B.; Ortiz, O.; Truong, Q. An Eulerian model for particles nonisothermally carried by a compressible fluid. Int. J. Heat Mass Transf. 2013, 65, 845–854. [Google Scholar] [CrossRef]
  26. Honghui, S.; Yamamura, K. The interaction between shock waves and solid spheres array in shock tube. Acta Mech. Sin. 2004, 20, 219–227. [Google Scholar] [CrossRef]
  27. Wagner, J.L.; Beresh, S.J.; Kearney, S.P.; Pruett, B.O.M.; Wright, E.K. Shock tube investigation of quasi-steady drag in shock-particle interactions. Phys. Fluids 2012, 24, 123301. [Google Scholar] [CrossRef]
  28. Ling, Y.; Wagner, J.L.; Beresh, S.J.; Kearney, S.P.; Balachandar, S. Interaction of a planar shock wave with a dense particle curtain: Modeling and experiments. Phys. Fluids 2012, 24, 113301. [Google Scholar] [CrossRef]
  29. Kellenberger, M.; Johansen, C.; Ciccarelli, G.; Zhang, F. Dense particle cloud dispersion by a shock wave. Shock Waves 2013, 23, 415–430. [Google Scholar] [CrossRef]
  30. Mehta, Y.; Jackson, T.L.; Zhang, J.; Balachandar, S. Numerical investigation of shock interaction with one-dimensional transverse array of particles in air. J. Appl. Phys. 2016, 119, 104901. [Google Scholar] [CrossRef]
  31. Wan, Q.; Eliasson, V. Numerical study of shock wave attenuation in two-dimensional ducts using solid obstacles: How to utilize shock focusing techniques to attenuate shock waves. Aerospace 2015, 2, 203–221. [Google Scholar] [CrossRef]
  32. Saito, T.; Marumoto, M.; Takayama, K. Numerical investigations of shock waves in gas-particle mixtures. Shock Waves 2003, 13, 299–322. [Google Scholar] [CrossRef]
  33. Thevand, N.; Daniel, E. Numerical study of the lift force influence on two-phase shock tube boundary layer characteristics. Shock Waves 2002, 11, 279–288. [Google Scholar] [CrossRef]
  34. Zydak, P.; Klemens, R. Modelling of dust lifting process behind propagating shock wave. J. Loss Prev. Process. Ind. 2007, 20, 417–426. [Google Scholar] [CrossRef]
  35. Kiselev, S.P.; Kiselev, V.P.; Vorozhtsov, E.V. Interaction of a shock wave with a particle cloud of finite size. Shock Waves 2005, 16, 53–64. [Google Scholar] [CrossRef]
  36. Wang, B.Y.; Wu, Q.S.; Wang, C.; Igra, O.; Falcovitz, J. Shock wave diffraction by a cavity filled with dusty gas. Shock Waves 2001, 11, 7–14. [Google Scholar] [CrossRef]
  37. Tropin, D.A.; Fedorov, A.V. Physico-mathematical modeling of detonation suppression by inert particles in methane-oxygen and methane-hydrogen-oxygen mixtures. Combust. Explos. Shock Waves 2014, 50, 542–546. [Google Scholar] [CrossRef]
  38. Bulat, P.V.; Ilina, T.E.; Volkov, K.N.; Silnikov, M.V.; Chernyshov, M.V. Interaction of a shock wave with a cloud of particles and effect of particles on the shock wave weakening. Acta Astronaut. 2017, 135, 131–138. [Google Scholar] [CrossRef]
  39. Bedarev, I.A.; Fedorov, A.V.; Fomin, V.M. Numerical simulation of flow around a bodys system beyond a transmitted shock wave. Dokl. Phys. 2012, 56, 618–621. [Google Scholar] [CrossRef]
  40. Bedarev, I.A.; Fedorov, A.V. Computation of wave interference and relaxation of particles after passing of a shock wave. Appl. Mech. Tech. Phys. 2015, 56, 750–760. [Google Scholar] [CrossRef]
  41. Gouesbet, G.; Berlemont, A. Eulerian and Lagrangian approaches for predicting the behaviour of discrete particles in turbulent flows. Prog. Energy Combust. Sci. 1999, 25, 133–159. [Google Scholar] [CrossRef]
  42. Balachandar, S. A scaling analysis for point-particle approaches to turbulent multiphase flows. Int. J. Multiph. Flow 2009, 35, 801–810. [Google Scholar] [CrossRef]
  43. Balachandar, S.; Eaton, J.K. Turbulent dispersed multiphase flow. Annu. Rev. Fluid Mech. 2010, 42, 111–133. [Google Scholar] [CrossRef]
  44. Baer, M.R.; Nunziato, J.W. A two-phase mixture theory for the deflagration-to-detonation transition (DDT) in reactive granular materials. Int. J. Multiph. Flow 1986, 12, 861–889. [Google Scholar] [CrossRef]
  45. Godunov, S.K. A difference scheme for numerical solution of discontinuous solution of hydrodynamic equations. Mat. Sb. 1959, 47, 271–306. [Google Scholar]
  46. Schwendeman, D.W.; Wahle, C.W.; Kapila, A.K. The Riemann problem and high-resolution Godunov method for a model of compressible two-phase flow. J. Comput. Phys. 2006, 212, 490–526. [Google Scholar] [CrossRef]
Figure 1. Experimental test rig used in [4] (a), and computational domain with position of particle layer (b).
Figure 1. Experimental test rig used in [4] (a), and computational domain with position of particle layer (b).
Aerospace 11 00850 g001
Figure 2. Pressure distribution in pure gas at M = 1.3 .
Figure 2. Pressure distribution in pure gas at M = 1.3 .
Aerospace 11 00850 g002
Figure 3. Propagation of gas-dynamic discontinuities.
Figure 3. Propagation of gas-dynamic discontinuities.
Aerospace 11 00850 g003
Figure 4. Particle trajectories in comparison with data from [4].
Figure 4. Particle trajectories in comparison with data from [4].
Aerospace 11 00850 g004
Figure 5. Distributions of dispersed phase concentration at times t = 0 (1), 1.6 (2), and 4 ms (3). Line (4) corresponds to the calculated data [4] for t = 4 ms.
Figure 5. Distributions of dispersed phase concentration at times t = 0 (1), 1.6 (2), and 4 ms (3). Line (4) corresponds to the calculated data [4] for t = 4 ms.
Aerospace 11 00850 g005
Figure 6. Trajectories of lower and upper boundaries of particle layer in comparison with data from [4] (symbols • and ∘).
Figure 6. Trajectories of lower and upper boundaries of particle layer in comparison with data from [4] (symbols • and ∘).
Aerospace 11 00850 g006
Figure 7. Pressure distributions (solid lines) in comparison with experimental data from [4] (symbols • and symbols ∘).
Figure 7. Pressure distributions (solid lines) in comparison with experimental data from [4] (symbols • and symbols ∘).
Aerospace 11 00850 g007
Disclaimer/Publisher’s Note: The statements, opinions and data contained in all publications are solely those of the individual author(s) and contributor(s) and not of MDPI and/or the editor(s). MDPI and/or the editor(s) disclaim responsibility for any injury to people or property resulting from any ideas, methods, instructions or products referred to in the content.

Share and Cite

MDPI and ACS Style

Volkov, K. Interaction of a Dense Layer of Solid Particles with a Shock Wave Propagating in a Tube. Aerospace 2024, 11, 850. https://doi.org/10.3390/aerospace11100850

AMA Style

Volkov K. Interaction of a Dense Layer of Solid Particles with a Shock Wave Propagating in a Tube. Aerospace. 2024; 11(10):850. https://doi.org/10.3390/aerospace11100850

Chicago/Turabian Style

Volkov, Konstantin. 2024. "Interaction of a Dense Layer of Solid Particles with a Shock Wave Propagating in a Tube" Aerospace 11, no. 10: 850. https://doi.org/10.3390/aerospace11100850

APA Style

Volkov, K. (2024). Interaction of a Dense Layer of Solid Particles with a Shock Wave Propagating in a Tube. Aerospace, 11(10), 850. https://doi.org/10.3390/aerospace11100850

Note that from the first issue of 2016, this journal uses article numbers instead of page numbers. See further details here.

Article Metrics

Back to TopTop