Abstract
The business is an abstraction of the way in which value is created and delivered. The concrete representation is the business model, expressed by a group of artifacts built with different languages. It serves to describe, explain, analyze, design, and evaluate the business. The set of concepts, construction rules, artifacts, and languages required to express it, are defined by a Meta-Business Model (MBM). Multiple authors have proposed different MBMs, each one with a specific motivation and objective. Some of these MBMs are widely recognized and have been applied in contexts like innovation and entrepreneurship. Due to new challenges, such as sustainability, being faced by businesses and given new ways of producing and delivering value, like the sharing economy, Novel Complex Businesses (NCBs) are emerging. NCBs are businesses characterized by circular structures made out of numerous inter-related components, and by creating value out of the product/service schema. While existing MBMs fulfill certain purposes, they do not have the expressiveness required to describe NCBs precisely enough to describe and analyze them. This paper introduces an MBM with the concepts, construction rules, and graphical notation needed to represent NCBs. We also illustrate an NCB and present the results of the validation for our MBM.
1. Introduction
Over 60 years ago, a business’ existence was defined in terms of five survival objectives: perpetuate as a human organization, adapt and survive in a changing society and economy, supply a good or service, innovate and be profitable [1]. Today, while these objectives prevail, the business’ existence is also determined by new challenges such as: sustainability, reverse logistics, digital transformation, circular economy, and sharing economy. In particular, sustainability demands that businesses, on one hand, modify their structure for instance by adding new actors. Furthermore, on the other hand, take into consideration a Triple Bottom Line approach, thus avoiding the creation of value uniquely from an economic standpoint [2]. Secondly, reverse logistics aims to recapture value and guarantee proper disposal of residues [3], and while it can be addressed from a product design perspective, the business must coordinate the suppliers, distributors and other actors in the supply chain so that a reverse logistics network can achieve its full potential [4]. Thirdly, the challenge of digital transformation is achieved when IT rearranges the business in a way in which value creation is accomplished using digital technologies [5], enabling connections between firms and their activities [6]. In addition, circular economy calls for businesses to maximize resource value, recovering value from waste [7] and reducing, narrowing or closing resource flow [8]. Finally, sharing economy proposes that businesses build relations among actors and that create value from these relations [9]. These challenges are forcing traditional businesses to renew themselves and new businesses to take action right from conception.
While these challenges pressure businesses to adapt and respond, they have also become the foundation for novel complex businesses (NCBs). NCBs are businesses characterized by their complex structures, given the number of elements such as actors, activities and resources, needed in the business in order to create and hand value. As these elements interrelate, the business creates, transforms, delivers, and monetizes value in a network of numerous interactions. This network, which contains the elements and their interrelations, becomes a key aspect in improving the creativity of the business and preventing them from falling into the “commodity trap” [10], and in addressing the lifecycle of value and resources, and supporting associated processes. For example, in reverse logistic networks the waste collection process can involve different actors, such as recyclers (formal or informal), manufactures, and distributors, multiple resources such as packaging, products, or a product part, and different activities such as transport and collection [11]. NCBs can be distinguished depending on their type of network and the way in which value flows. For instance, there are NCBs with circular networks established between actors that allow value to be recaptured. These circular NCBs can be further characterized depending on who recaptures the value. There are NCBs in which the business recaptures value from its clients (value flows from the business to the client and back to the business) as in waste collection scenarios, in which the client returns a product to the business for proper disposal or refurbishing. There are NCBs in which the business recaptures value from its suppliers (value flows from the suppliers to the business and back to the suppliers) as in the case in which a supplier produces new supplies with the business’ waste, and there are NCBs in which the business recaptures value from both suppliers and clients.
Moreover, NCB’s are capable of changing how value is understood by addressing concerns like sustainability and collaboration. While value creation traditionally focuses on a product/service schema, these new businesses create value by means of digital technologies [12] and collaboration [13], and are able to quickly innovate applying open innovation [14] and related mechanisms like co-creation [15]. This leads to new types of value like platforms, data, and even access to resources. Consequently, NCBs end up creating new markets in which they are able to capture clients without the pressure of traditional competitors. This is the case of financial technology companies (Fintechs) [16], which are peer-to-peer platforms [17] and collaborative businesses [18] that provide financial services. Fintechs have managed to change the banking industry and have consolidated as strong market players by increasing the pressure on traditional leaders and new competitors.
Considering that NCBs are leading the way in which markets and industries should adapt to new challenges, analysis, design, experimentation, and evaluation of these businesses is essential. Either from a competitor’s point of view, or from the business itself, understanding the complex structures upon which these businesses are built is crucial to support decision making process and achieve desired outcomes. As the business is an abstraction of a way in which value is created and handed, performing any description, analysis, or design, requires a concrete representation, in this case the business model.
The current literature on the business model shows that authors have addressed this topic since 1957 [19] however, after the internet boom and the emergence of electronic businesses, the topic gained momentum [20]. While the importance of the business model is widely recognized, it has been understood in different ways [21] thus, there is no unified view on the model. There are a multitude of meta-business models (MBMs) proposed by different authors [22]. An MBM defines the set of concepts and construction rules of the business model, and the language required to portray it by means of one or more artifacts. An artifact is used to describe an aspect or a part of a model using diagrams, drawings, text, catalogues, among others. The most common artifacts to represent the business model range from textual descriptions as in [23,24], to taxonomies [25], ontologies [26], visual representations, or combinations of the above. Some of the MBMs have gained a lot of recognition like the Business Model Canvas [27] which is used in entrepreneurship. Other MBMs have been used for the integration of strategic factors [28], information systems [29], and dynamic analysis [30,31]. Recent publications account for efforts to extend MBMs with techniques and tools such as simulation [32,33,34] and CAD [35], or redesigning them for circular business models [36], business model innovation odyssey or digital business models [37], among others.
The literature also shows that MBMs are particularly relevant to open innovation as they are the means to support related analysis, design, evaluation and decision-making processes. In the context of open innovation, the business model acts as a connection between technical and economic domains, leading to a better comprehension of the way in which value is delivered and how each component in the business contributes to doing so [38]. Since open innovation arises from new combinations of technology and market [39] and their open relationships [40] understanding the structure of the business model in terms of its components and relations among them is key in achieving successful innovations. Furthermore, considering that business model innovation requires guidance and structure [41], MBMs and their artifacts are essential in the process of designing and redefining business models, more so considering that open innovation may lead to changes in a business model in terms of its components, structure and governance [42].
Expressiveness (or expressive power) is understood as the extent to which a modeling language can describe all the relevant aspects of the modeling domain [43]. In the case of MBMs present in the literature, their expressiveness is limited when NCBs are addressed as they do not define a structure that includes the concepts and relations needed to model NCBs’ structures. Such limitation derives in part from the fact that these MBMs do not take into consideration the aforementioned challenges, such as sustainability and digital transformation, as they did not influence businesses as much as they do nowadays. The solution to the lack of expressiveness has led to extensions and adaptions of MBMs that attempt to increase the expressive power by including new concepts, symbols and artifacts, which in turn has translated into adding more textual descriptions. Consequently, if one wanted to represent an NCB that implements reverse logistics, one could just write “recycle” or “do reverse logistics”, without actually acknowledging the intricacy of the network of elements (actors, resources, and activities) behind these terms and their interrelations.
Since the construction of an MBM is guided by a purpose (describe, design, test…) and by the decisions made in terms of expressiveness, imprecision (attributes or relations that have a range of values instead of just one), and vagueness [44] (attributes with linguistic values instead of numeric ones) in order for the model to be useful, changing any of these decisions can have undesired impacts. In the case of NCBs’ representation, while adding expressiveness to existing MBMs may offer ways to include new concepts, on one hand an MBM that could once be used to achieve simple and useful representations can turn into a complex approach that leads to complicated and confusing models. Furthermore, on the other hand, the extended MBM maintains or even increases imprecision and vagueness in comparison to the original. Moreover, if expressive power augmentation is done informally, it could prevent an accurate representation of NCBs.
In order to describe and analyze NCBs precisely, a new MBM that defines a structure capable of representing the NCB network is required. This MBM should maintain simplicity while providing sufficient expressiveness to model NCBs and their network of actors, resources, activities, and interrelations. In order to guide the construction of the MBM we defined five requirements: (R1) the MBM should have the expressive power to represent NCBs precisely enough to evaluate and analyze them, (R2) the MBM should manage multiple levels of abstraction, (R3) the MBM should have the minimal number of concepts needed to model NCBs while maintaining expressiveness, (R4) the MBM should foster the cognitive skills required for open innovation in NCBs, and (R5) the MBM should be easy to use.
This paper presents our MBM which can be used to describe, analyze, design and evaluate NCBs. In order to fulfill our five requirements, we built our MBM following a conceptual modeling approach inspired in [11]. As the main purpose of conceptual modeling is to create an abstract representation (a conceptual model) of a domain that serves to enhance the understanding of the domain [45], by creating the conceptual model of an NCB we are then able to define the corresponding set of construction rules and language needed to portray NCBs.
The construction of our MBM followed 6-stages as shown in Figure 1. In the first stage we conducted a literature review to select the most recognized MBMs given a set of restrictions, and in the second one we identified the common concepts and relations in the selected MBMs by performing a clustering process. Both of these stages constituted the foundation of our MBM. For the construction of our MBM we carried out three stages. In the third stage we built a preliminary generic MBM derived from the resulting concepts and relations in the second stage. In the fourth stage we extended the preliminary MBM, taking into account our five NCB requirements to create our NCB meta-model. In the fifth stage we designed the graphical notation to build the artifacts required to portray our MBM. Finally, we conducted a sixth stage intended to validate the MBM. In this stage we validated our MBM and our graphical notation by modeling a case study based on a brewery, and by conducting modeling and interpretation experiments in which we tested if our MBM allowed to represent and understand an NCB model. The MBM that we present in this paper is the result of an iterative redesign process that has gone through 3 validation phases.
Figure 1.
Meta-business model (MBM) construction stages.
Our paper is structured as follows. Section 2 presents a definition of the business model, a recount of MBMs in the literature and introduces the first two stages of our process that led to the foundation of our MBM. Section 3 presents the construction of our MBM from the preliminary MBM to the extension based on requirements 1 through 5, along with the graphical notation designed to portray NCBs. Section 4 introduces the validation of our MBM by presenting the model of our case study built with our MBM and the results obtained from our modeling and interpretation experiments. Finally, Section 6 presents our main conclusions.
2. The Foundation of the Meta-Business Model for Novel Complex Businesses
In order to construct our MBM, we conducted two initial stages to define the foundation and structure of our proposal. As MBMs have been largely studied by multiple authors, this has led to the existence of various approaches. Therefore, we began by performing a literature review in the first stage of our work. Following the identification of proposed MBMs in the literature, in the second stage, we analyzed each MBM to identify their purpose and the key concepts that compose the models. These two stages enabled the construction of our preliminary meta-model (stage 3) by defining what the business model is, and by establishing its relationship with other enterprise domains (like strategy and business processes).
2.1. A Literature Review on the Business Model
The business model has been widely addressed in economic and organizational studies. Its origins can be traced to trade systems established in ancient societies [46]. However, the business model became a keyword [47] only after the emergence of the digital economy powered by the internet and the World Wide Web. For instance, as the internet enabled the creation of businesses that exchanged value in new ways [48], the business model was used, either to define and classify these businesses in terms of its building blocks, or to describe particular businesses in the market [49]. With the business model gaining momentum, more scholars began to study the model and develop their own MBMs which led to multiple definitions of the business model and consequently a lack of consensus.
For matters of this study we define the business model as the concrete representation of the business. The latter is an abstraction of a way in which value is created and handed and is often regarded as the essence of an enterprise. Since the business model provides a tangible representation of the business and a view of an enterprise stripped from operational and motivational components, the business model is considered a key model in the context of enterprise modeling [50]. The model however, still holds certain relationships to other enterprise domains as seen in Figure 2.
Figure 2.
Business model and enterprise domains.
While the business model explains what an enterprise does, other domains and their corresponding models explain why the enterprise does what it does (strategy), how does the enterprise do it (business processes domain), what is used to do create and deliver value (resources), who does it (organizational structure), how much does it cost (finances), and the changes in data and the data required and processed in doing so (information). Each enterprise domain can be described and analyzed independently, however, in the case of the business and the business model, its study has typically included other domains, in particular the strategic domain as in [31,51]. For the purpose of this study, our approach will only consider elements that are limited to the business domain.
As previously discussed, the business model has been subject of study by many authors who have proposed their own definition and representation of what a business model is. In spite of the differences among these proposals, rather than being considered different business models, they are different MBMs [22]. An MBM defines the set of concepts and construction rules of the business model, and the language required to portray it by means of one or more artifacts. For the purpose of our study, we focused our approach on establishing which were the most recognized MBMs given the current state of the literature, and identifying the concepts in each MBM that define the business model (stage 2).
To identify the most recognized MBMs given the current state of business model publications, we began with a database search. The search was conducted on 18 February 2020 using the terms “business model” and “business modeling” in five databases (Elsevier, SpringerLink, ACM, IEEE, and Wiley) and four index databases (SCOPUS, ISIC, EBSCO, and ProQuest). While the first results accounted for uses as early as in 1858, a second search was conducted filtering results from 1957 to 2020. An average of 530,154 publications among the 9 databases were found for the term “business model” and 377,885 for “business modeling”. In this initial search, we found eight systematic literature reviews ([19,20,21,52,53,54,55,56]). These reviews were published between 2004 and 2017, and contain complete reviews of business model publications. Since the selected reviews covered publications until 2017, we decided to conduct a complementary search to fill the gap between 2017 and 2020. The results however did not show a relatively new relevant approach. In contrast, the complementary search showed a trend in using existing MBMs in new contexts like circular economy and dynamics, or defining new MBMs in relation to other models like the strategy model. These types of publications exceed the limits of this paper and so, they were discarded.
Based on the eight literature reviews selected from the database search, we proceeded to list the authors mentioned in each one of them. This led to a list of 59 unique authors. It must be noted that some authors were recognized in different reviews with different publications as in the case of [57] in [52], and [27] in [53]. In this case we counted “Osterwalder” as a single author, regardless of the publication mentioned in the review as the authors always refer to the same MBM. We applied a series of filters to the list of 59 authors based on the number of reviews that mentioned the author and the formality of the MBM. Out of the 59 authors, 10 met the criteria of being highly recognized in the literature reviews and containing formal MBMs. The final list of 10 authors are [23,24,27,38,58,59,60,61,62,63]. Their publications date between 2000 and 2010 as shown in Figure 3. With the list of 10 authors we then identified 4 items per author: the name given to the MBM, the definition of the business model granted by the author, the concepts defined in the MBM and the graphical notation proposed to portray a business model, as shown in Figure 4.
Figure 3.
Author’s Timeline.
Figure 4.
Authors and MBMs.
2.2. Concepts of the Business Model
Following the selection and characterization of the 10 MBMs, we then proceeded to stage 2 of our approach, in which we listed and analyzed the concepts identified in each MBM. This first list contained a total of 74 concepts, however some of them define strategic elements within the business model, like the case of Hamel’s MBM in which one of the concepts is the core strategy [24]. Since our approach does not consider the strategic domain we ruled out strategic concepts thus, leading to the final list of 68 concepts. With this list, we then performed a clustering process to identify the main concepts that make up a business model and with them, the concepts of our preliminary meta-model in the following stage.
2.2.1. Clustering Process
Our clustering process aimed to group the 68 concepts around common terminology for which we performed a cluster analysis inspired by the work of [64]. By examining the definition of each concept provided by the authors and the meaning of the terms, we were able to establish if two or more concepts were similar. Terms could either be synonyms, they had the same meaning, or hyperonyms, the terms have a superordinate-subordinate relation. If two or more concepts were synonyms or hyperonyms they belong to the same cluster. To analyze the similarities between the concepts we found the synonyms and hyperonyms of each one of them using Wordnet [65]. Figure 5 presents the results obtained from this analysis. The figure shows the cluster’s name and the concepts grouped in terms of their similarities. An S stands for shared term which means that the concepts is a synonym of the cluster’s name, or both concepts have the same name. An R stands for a hyperonym relation with the cluster’s concept.
Figure 5.
Concept Similarities.
We also derived the relations between the identified clusters since the MBM defines the concepts in the business model and the relations among them. To do so, we examined the definitions given by the authors to the concepts, and established whether another element was referenced in the definition. For example, in [27] the definition of Channels is: “how a company communicates with and reaches its Customer Segments to deliver a Value Proposition.” Since channels is part of the Channel cluster, Customer Segments is part of the Agent cluster and Value Proposition belongs to the Value cluster, we can derive a relation from Channel to Value and from Channel to Agent. The analysis led to the relationships presented in Figure 6. The figure also shows the concepts in each cluster differentiated by their corresponding author.
Figure 6.
Concept Clusters.
2.2.2. Value Clustering and Classification
A central element of the business model is the value concept. Like the business model, the concept of value has been subject to multiple definitions. Value has been understood as a product or service [23,24] as information [62] and even as experiences [59]. Moreover, value has also been associated to other enterprise domains aside from the business model. In particular, value has been defined from a strategic point of view in which added qualities like price or exclusivity [27] are also part of the concept.
The concept of value has evolved amid current challenges that have led to NCBs. For instance, in the case of the digital transformation challenge, defining value in a business model implies considering new technologies and building platforms that create new interactions between different types of customers [12]. While the definition of value itself is still shifting, value can be regarded as the element for which a customer is willing to pay for, thus, a business revolves around creating, delivering and monetizing this value.
Since our approach must provide an accurate representation of the business model of an NCB, it should also define value with precision and without any strategic concepts. To achieve this definition we conducted an analysis on the meaning of value and the different types of value offerings that a business can have. In this analysis we gathered a list of the examples and definitions that the authors of the selected MBMs provided regarding value. It must be noted that this list did not include definitions that contain qualities, attributes or means to sell value. Taking this into account, we gathered a list of 46 elements upon which we performed the same clustering process as in Section 2.2.1. The resulting similarities and clusters are shown in Figure 7. The concepts that were found from the selected MBMs in relation to value and their corresponding cluster is shown in Figure 8.
Figure 7.
Value Clustering.
Figure 8.
Value Clusters.
Our analysis resulted in 9 clusters that represent the types of value that a business can create and hand, and that can be used to characterize and classify the value offering of any business in order to define it with more precision. We defined each one of the clusters as follows: Physical product corresponds to consumer goods like clothes and food that do not have an extended product lifetime. Digital product like e-books and software are digital elements that can be used permanently or temporarily by a client. Durable items correspond to assets with a prolonged life-span like real estate and vehicles. Money relates to value in the form of cash or payments like dividends. Human asset is value translated into temporal workforce to fulfill a task. Information, like unprocessed data, is value in the form of data for a client to use it. Service is the ability of the business to perform a task for a client such as consulting or education. Marketplace relates to the use of a physical or digital platforms, as in the case of social networks. Finally, a Result is an outcome expected by the client from the business’ execution of certain tasks, for instance a haircut or a tattoo.
3. NCB Meta-Model
The third, fourth and fifth stage in the construction of our MBM describes to construction process for the NCB meta-model along with a graphical notation to portray NCBs. Given the concepts identified in the second stage, we built our MBM aiming to establish a structure that serves to portray the complex network that characterizes NCBs. To guide our approach we defined five requirements that had to be met by the meta-model and by the notation. The obtained results, our final MBM, and the notation is presented trough-out this section.
3.1. Preliminary Business Model Meta-Model
Given the 7 clusters obtained in the clustering process presented in Section 2.2.1 and the relations between them, we built our preliminary meta-model which is shown in Figure 9. The root of our meta-model is the Business Model which is directly associated to four concepts: Actor (derived from the Agent cluster), Activity (derived from the Action cluster), Resource (derived from the Resource cluster) and Channel (derived from the Channel cluster). Using this meta-model, in a business activities are performed by actors (who can correspond to customers or partners) using one or more resources. Additionally, a channel establishes a relationship between one or more actors, which is enabled by a set of activities. A channel can be characterized into three types: communication, sales or distribution depending on the activities that are performed, and has one or more exchanged items. Exchanged items corresponds to the elements that are exchanged in between the actors as activities are executed. They may correspond to Money (payments and cash), Information (needed or resulting from the execution of activities) or Value (what is offered to a customer). Let us recall that relations in the form one to many, are depicted with the corresponding multiplicity (*).
Figure 9.
Business Model Preliminary Meta-Model.
3.2. MBM Requirements
The primary goal of our MBM is to provide the expressiveness required to portray NCBs with precision. This expressiveness can be achieved by defining the structure required to represent a circular network of multiple actors, resources and activities that exchange items in a constant flow. If the structure includes the concepts that define this network, then it should be possible to represent any NCB with accuracy. Defining the required structure, should allow the minimum possible efforts when modeling. To guarantee that our MBM met the desired outcomes, in terms of expressiveness and ease of use, and the characteristics of useful and effective models [66] we defined the following requirements:
R1: The MBM should have the expressive power to represent NCBs precisely enough to describe and analyze them
One of the main limitations in the use of existing MBMs to describe complex business models is their lack of precision. In particular, as most MBMs rely on textual representations [54], the vagueness derived from linguistic descriptions [44] diminish their precision as components can have a range of values instead of just one. Since NCBs are characterized by their circular structures in which multiple elements relate to each other, describing the resulting network and the dependencies within it can hardly be achieved by means of text. For instance, in the case of businesses that recycle their own packages to make new ones, two value flows are established: one that goes from the business to the client, and one that goes from the client to the business. These flows define a loop in which actions like waste collection are essential to recapture value, however describing them like “collect waste from clients” or even as detailed as “collect used packages from clients placing collection points”, does not provide a precise representation of the relations and components between the business and the clients, and what is involved in the waste collection. Moreover, these descriptions limit the conceptualization of the key elements in the business model as there is no formal way to establish what is a concept and what is just additional information in the description. Consequently, our meta-business model should provide the concepts and structure needed to portray NCB networks and conceptualize their elements with precision and without relying solely on textual notations.
R2: The MBM should manage multiple abstraction levels
The characteristics of NCBs can result in great quantities of information derived from the number of elements and relations in their structures and the corresponding descriptions, which are essential to understand how value, information, and money are exchanged between these elements. Recalling our example of businesses that utilize their used packages to create new ones, we can tell that these businesses generate value from a product and from the packages in which it is sold. To do so, there must be activities dedicated to the production of the sold product and from the recycling of used packages. In the first case, activities can include the transformation of the raw material, placing the product in packages and labeling the packages. In the case of the recycling of the package, activities can relate to the collection of the used packages, cleaning and transforming them into new ones. Each one of these activities is performed by one or more actors, and requires various resources like warehouses and machinery. Attempting to portray all this information can lead to highly complex models (both in terms of the number of concepts and relations, and in the artifacts themselves) that will require an immense effort to be understood and used. As we are interested in keeping this information to achieve a precise description, our MBM should deal with the resulting complexity. Thus, it should include different abstraction levels, in which elements and details can be hidden without losing information. To do so, it should be possible to group concepts in terms of hierarchical relations (for instance if a business has stores with warehouses in them they could be grouped in a single component). These abstraction levels can be used to conceal the complexity of the network or show more details if needed.
R3: The MBM should have the minimum number of concepts needed to model NCBs while maintaining expressiveness
Managing the complexity inherent to NCBs demands extra efforts in the construction and use of any MBM. In our case, the complexity of the businesses, that are going to be represented, should be balanced out by the structure proposed in our MBM and by the number of concepts and rules in it. In particular, the structure should have the minimum number of concepts required to portray the different elements in an NCB’s network. This too applies for the construction rules, in which case the number should be just enough to portray the network with precision. A starting point to identify this minimum, is the average number of concepts identified in the MBM’s studied in Section 2.1 which was 7 concepts per MBM.
R4: The MBM should foster the cognitive skills required for open innovation in NCBs
MBMs are essential to support open innovation as they guide related design and thought processes. Based on the work of [67] MBMs that define visual business model representations are especially useful as they foster the cognitive skills that are essential to analyze and design businesses. The most common visualizations correspond to graphic organizers like the business model canvas, which portray the business in terms of elements. It has been shown however that while these representations are used for innovation, they are not very effective in sparking creativity and are not well suited to support the skills required for business model ideation. Conceptual maps on the other hand, are better suited to foster said skill, since they disclose previously intuited relations and clearly portray the transaction network of the business models. Working with this type of representations, however, is subject to a user-friendly approach. With this in mind, our MBM and its corresponding artifacts should contribute to fostering the skills required for open innovation in accordance with a conceptual map-based approach.
R5: The MBM should be easy to use
To guarantee that our MBM is effective and useful we should also make it easy to use. This means that the time and effort required to portray an NCB with our MBM should be minimal in spite of the complexity of the portrayed businesses. To minimize these efforts we should base our representation on an effective graphical notation. This notation should be intuitive, and should manage few symbols and graphic variables while still managing to represent the concepts and relations that result from requirement R3.
3.3. NCB Structure: Components and Channels
Based on the identified requirements we defined the structure that represents the network of NCBs given its complexity and circular structure. To do so, we followed a system dynamics based approach focused on stock-flow diagrams which model the structure of a system [68]. System dynamics has previously been used to model and analyze business models as in [69,70,71,72], in these cases the authors established equivalences between concepts in the business model and their representation in a stock-flow diagram. In our case, to represent the NCB structure we had to determine which concepts from the preliminary meta-model were mapped to stocks and which ones to flows taking into consideration an NCB network.
The core concept in the resulting structure is a component. A component represents a stock of information, value and/or money that exchanges items with other components by means of one or more channel. Hence, channels are equivalent to flows and are the connection between two components in the business model. A channel is described in terms of activities (which are equivalent to valves in the stock-flow diagrams) which enable the exchange of items between components. A component can group other components and their corresponding channels (thus responding to our requirement R2).
The business itself is a component that groups other components and channels. These grouped components (i.e., internal components) correspond to warehouses, stores, truck containers or any type of location within the business that accumulates items. Internal components can also be connected with channels and exchange items between them. By defining the business as a component, a frontier between internal and external components is established thus making the business the main component in the structure. A direct channel connects the main component to other external components, or the business’ internal components. An indirect channel connects external components between them.
In the case of actors, and based on the preliminary meta-model, we classified them into two types: those who accumulate items and those responsible for the execution of activities. Actors who accumulate items correspond to suppliers, distributors, clients or anyone who establishes a relation with the business; these actors are external components. On the other hand, actors like employees, automated systems or any other actor within the business do not accumulate items, instead they execute the activities in the channels and are referred to as roles.
Depending on the components related to a channel, the type of activities performed in the channel, and the items that are exchanged in it, a channel can be classified into 5 types: Supply (S), Transformation (T), Distribution (D), Relationship (R) and Monetization (M). Supply channels connect suppliers with the business, and group the activities necessary to supply goods as well as the value, information, and money involved in said activities. Transformation channels connect internal components in the business, and represent how value is created and produced. This type of channel includes all the activities necessary to produce value like transforming raw material or assembling the parts of a product, hence value and information are exchanged in it. Distribution channels connect internal components in the business, or the business with its client. This type of channel comprises the activities necessary to deliver value within the components or the business (for instance from a main warehouse to a store deposit) or from the business to its clients. This channel exchanges both value and information items. Relationship channels connect the business and its clients and includes the activities necessary to relate to them, ranging from pre-sales to customer service. Relationship channels enable the exchange of information. Finally, Monetization channels connect the business and its clients, and group the activities necessary to exchange value for money. The money that a client pays for value is exchanged through this channel, along with the information required to make the payment. Regardless of the channel type, items can be exchanged both ways, and depending on the business model the structure will only include certain types of channels. In particular, businesses whose value is not classified as a product or result should not exhibit transformation channel as there is no value transformation.
3.4. Meta-Model Definition
The resulting structure to represent NCBs is described in Figure 10. In this case the root of the meta model is the business model, which is directly associated to a main component (the business) and one or more components (external to the business). A component accumulates items: money, information and/or value) and is connected to other components through channels. A channel exchanges items as activities are performed by one or more roles (responsible) using one or more resources. The business model is also associated to these resources and roles. A channel can be classified into the previously mentioned types: supply (S), transformation (T), distribution (D), relation(R) and monetization (M). A component can group other components which in turn, are also connected with channels and can group other components. Value offered by the business can be classified into the 9 types of value identified in Section 2.2.2. As in the case of the preliminary meta-model, relations in the form one to many, are depicted with the corresponding multiplicity (*).
Figure 10.
Novel Complex Business (NCB) Meta-Model.
Our meta-model represents the structure needed to portray the complex network of an NCB, and is the solution to our first requirement (R1). Since components are able to group other components, they can be used to manage multiple abstraction levels (R2) as they can be used to hide details within the business or portray it in detail. Finally, given the preliminary business model and the concepts defined in it as those that were basic to portray any business model, we were able to keep a minimal number of concepts to portray an NCB structure by adding the concept of component (and its sub-class Main Component) to the meta-model thus, addressing requirement R3.
3.5. Graphical Notation Design
To address requirement R4 and R5 we designed a graphical notation that portrayed the structure of the business model in terms of components and relations, and that made our MBM easy to use. Based on the principles of effective notations [73] and component-based languages in software architecture [74], we designed a component based notation that can be used to portray an NCB. Our notation includes a diagram that describes the structure of the business model shown in Figure 11, and a table that describes each of the channels defined in the structure. The table is presented in Figure 12.
Figure 11.
MBM Graphical Notation (Structure Main Component—Internal Components).
Figure 12.
MBM Graphical Notation: Channel Description.
In the diagram’s case, components are depicted as rectangles with the name of the component inside. If a component groups other components it has a gray background otherwise, it has a white one. Figure 11 shows a business model structure with two representations: one on the left with a high level detail representation in which the business has a gray background (indicating there are grouped components), and one the right which provides more detail on the internal components. In this case, the main component is represented with a rectangle with a dashed border (the border indicates the frontier) and internal components are placed in it.
Channels are portrayed as lines with dots in their endpoints. The line has the channel ID which corresponds to the first letter of its type (S, T, D, R, or M) and a number. The channels connect the different components, although in the case of indirect channels (as in the case of the channel between Component 4 and 5 in Figure 11), the channel is a dotted line distinguished with the ID I.
For each one of the channels identified in the structure, there is a corresponding catalogue that describes the activities in the channel, the roles responsible and the resources. The catalogue is shown in Figure 12 and contains the ID of the channel (which should correspond to the ID in the structure), the name, and its type. Activities have an ID, a name, and a description if needed. Roles and resources have an ID and a name, and are associated to each one of the activities described. The collection of catalogues that describe the channels in a structure is referred to as the channel model.
4. MBM Validation
The sixth stage in the definition of our MBM was the validation of the MBM. To do so we performed two validations: modeling a case study and conducting a modeling and interpretation experiment. In the first validation we followed the structure defined in our MBM and used our graphical notation to model an NCB. In the second validation we tested if our MBM could be used to represent and understand a business model. The validation processes and results from the validations are presented in this section.
4.1. Case Study—Alps Brewery
The first validation of our MBM was done by modeling a case study based on a brewery. Aside from the traditional business of producing and selling beer, the brewery also sells its residues to local farms and a distillery. This leads to a business model in which several actors and activities constitute a complex network. To validate if our MBM could be used to represent said business model, we used our structure and graphical notation to portray the elements identified in the textual description of the business model. Ultimately, we were able to create the corresponding structure diagrams and the channel model.
4.1.1. Alps Brewery Description
Alps Brewery is a business dedicated to the production, distribution and sale of lager and ale beers. While their main activities comprise the production of beer, Alps Brewery has managed to design and implement a sustainable business model conducting recycling activities and pairing with local farms, local bottle producers, and a partner distillery.
Alps Brewery has two main types of suppliers: its barley and hops supplier and its bottle supplier. On one hand, at the beginning of the month a production agent places a barley and hops order which is delivered by the supplier. Upon receiving it, a warehouse agent checks the order, stores the barley and the hops, and pays for the order. On the other hand, to order bottles the production agent uses an ordering system to forecast its bottle demands based on previous orders and the current number of recycled bottles in store. With this in mind, the agent places an order in the system and pays for it using the brewery’s bank application. Once it is delivered, a warehouse assistant stores the bottles.
The brewing process is divided into 9 steps which are executed by production operators. First, the barley is unpacked and grounded using a mill. The residue and the grounded barley are picked and stored in their corresponding deposits. Then, the ground barley is transferred to a tun where water is added and mixed with the barley until a mash is obtained. The mash is tested to determine its quality. This mash is later pumped into a lauter tun in which temperature is risen to separate the wort. The fourth step consists of collecting the wort from the tun in a kettle, adding the hops to the wort and boiling the mixture. When the mixture is boiled, the wort is separated and cleared from residues, and placed to cool in a whirlpool. The cooled wort is then used to fill a vessel in which yeast is added, thus beginning the fermentation process. Once fermentation is over, the fermentation residue is collected and transferred to a deposit. The fermented beer or green beer is stored in a container to begin the maturation process. The amount of time the beer is stored depends on the type of beer being produced. Once the beer is mature, it is filtered while being transferred to a tank, where it is carbonatized by adding CO2. The beer is then prepared for the packaging step. In this step the brewery prepares the bottles and the bottle caps, fills each bottle with beer and seals it tightly. The bottles are taken to a bottle deposit and then packed in crates and stored in a warehouse.
Alps Brewery beer has three main types of clients: convenience stores, bars and people who buy in the brewery’s stores. In the case of the convenience store, the brewery has a database in which the information of stores is managed. When a store is interested in selling Alps Brewery beers it is registered in the database. Each month the brewery takes the store’s orders, offers products to new stores and schedules visits to interested stores to show them the product portfolio. Monthly orders are delivered by picking the corresponding crates from the warehouse, loading the brewery’s truck, delivering the crates to the convenience store, and unloading the truck to hand them. The store pays for the order and the brewery hands the receipt.
The bars that buy beer from the brewery interact in a similar way to the convenience stores. When a bar is interested in the brewery’s product it is registered and each month bar’s orders are taken, products are offered to new bars, and in case a bar is interested in tasting the products the corresponding tasting is scheduled. Promotional pieces are also sent to bars for display. Orders to bars are dispatched each month for which crates are picked, loaded into the truck, and delivered to the bar where they are unloaded from the truck.
The brewery also serves clients in the brewery’s stores. In this case, the brewery calculates the order of bottles for each store, it picks the crates from the crates warehouse, packs them and delivers them to each store. The store receives the crates and stores them in their warehouses. When a client arrives to the store, a waiter takes the client’s order and registers its information in the brewery’s database if the client approves. The waiter then picks the bottles from the store warehouse, opens and hands the bottles to the client. When the client has finished the beer, the waiter collects the empty bottles and stores them. Lastly, the waiter generates a receipt and collects the client’s payment. In the store, clients are offered discounts and the chance to enroll in the brewery’s customer loyalty program.
In spite of beer being the core of the business, Alps Brewery has managed to create a more sustainable business model by taking advantage of barley and fermentation residues and by recycling its bottles and unsold beer. For the residues of the milling and the fermentation step, the brewery collects, packs, and stores them to sell them to local farms as food to feed stock and poultry. The relationship with local farms works in a similar fashion to beer clients. The brewery also manages a database where local farms are registered. Each month their order is taken, and discounts are also offered. To deliver a farm’s order, the brewery picks the packed residues, loads the truck and delivers the packs to the farms. Farms pay for the corresponding order and the brewery hands a receipt.
Sustainability is also achieved by recycling bottles. In this case the brewery recycles used bottles to refill them or to turn them into new bottles. A bottle can be refilled up to 20 times, after this number of refills, the bottle is sent to the bottle supplier to make new ones. To guarantee the re-utilization of bottles convenience stores, bars, and stores accumulate their used bottles. The brewery is then in charge of picking them up when delivering new orders, loading them in a truck, delivering them to the main plant, and storing them in a used bottle deposit. If they can be refilled again, they are cleaned and stored in the supplies deposit. On the other hand, if the bottles are past 20 refills, they are stored in crates which are delivered once a month to the bottle supplier who makes new bottles out of them.
Finally, Alps Brewery has also taken a sustainability approach from unsold beers of their warehouse, stores, and clients. As in the case of used bottles, the brewery also picks up the unsold beer from convenience stores, bars and brewery stores. Unsold beers correspond to beer bottles with close expiration dates. Unsold beer is transferred to the main plant in which they are stored in an unsold beer deposit along with the unsold beer from the crate warehouse. The beer is then collected from the bottles in containers, and the bottles are sent to the used bottle deposit. The beer containers are sold to a local distillery that uses it to make craft beverages. Every month the distillery picks the containers from the main plant. Before picking them up, the distillery calls the brewery to confirm the name of the person who is picking up the containers and the expected arrival hour. The distillery contributes to the recycling of bottles by sending their own used bottles to the bottle supplier who recycles the glass to make new bottles for the brewery.
4.1.2. Alps Brewery Business Model Structure
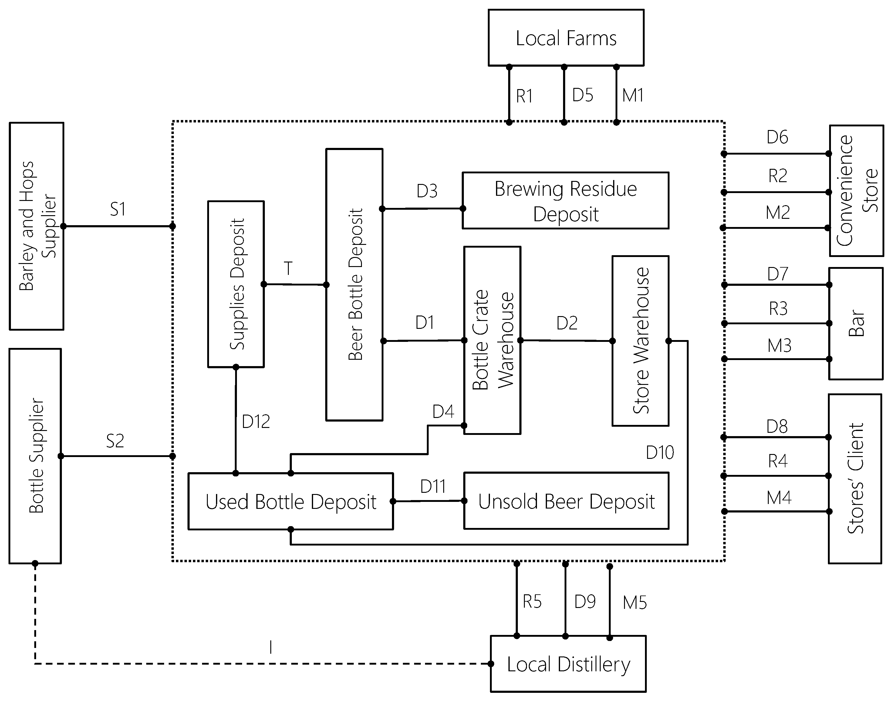
From the description of the Alps Brewery business model we identified 8 components: Alps Brewery (the main component), two suppliers (barley and hops and bottle suppliers) and five clients (local farms, convenience stores, bars, the local distillery and clients from Alps Brewery stores). All these components relate to Alps Brewery by means of direct channels. For the suppliers, we distinguish a supply channel for each one. For the local farms, convenience stores, bars, store’s clients, and the local distillery we identified three channels per component. These channels correspond to the distribution, the relationship, and the monetization channel. We identified an additional indirect channel that connects the local distillery and the bottle supplier through which used bottles are exchanged.
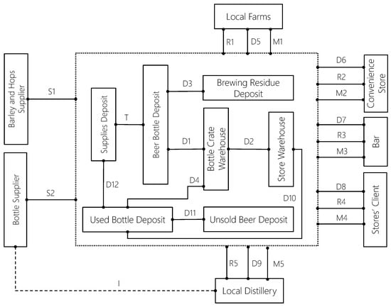
Figure 13 shows the general structure of the brewery’s business model. The figure provides a high level view on the structure of the brewery showing just the external components that interact with the business and their corresponding channels. Alps Brewery is shown with a gray background as it groups internal components, in particular, the forenamed deposits.
Figure 13.
Alps Brewery Components.
With the initial approach to the business model structure we developed a more detailed view. Figure 14 presents the resulting model in which the main component is now detailed with the corresponding frontier. Inside the business there is the supplies deposit connected to the beer bottle deposit by means of a transformation channel depicting the beer production process. The deposit is also connected to the brewing residue deposit representing the collection of the residues from the production process. The figure also shows the store warehouse (representing the different brewery stores), the used bottle deposit, and unsold beer deposit. Both the bottle crate warehouse and the store warehouse connect to the used bottle deposit as used bottles and unsold beer are stored in it. The used bottle deposit is connected to the supplies deposit as clean refillable bottles are stored once again, and to the unsold beer deposit as they are emptied.
Figure 14.
Alps Brewery Components detailed view.
The complete structure of the Alps Brewery business model is presented in Figure 15. The model provides a more detailed view of the structure, in terms of the beer production process, as the deposits involved in the different production steps are portrayed. With this structure the beer production is described in terms of 9 main steps. In the case of the residue collection, we now see that they are collected in the milling and fermentation steps.
Figure 15.
Alps Brewery Business Model Structure.
4.1.3. Channel Model
The complete structure shown in Figure 15 led to a total of 34 channels that connect the various components in the structure. Using the catalogue designed in our notation and the channels defined in the Alps Brewery business model structure, we present the description of 4 of these channels.
Figure 16 shows the bottle supply distribution channel which connects bottle suppliers to the main component. The catalogue describes the activities to place the orders and receive the bottles (S2.1 to S2.5), as well as the activities involved in recycling non-refillable bottles (S2.6 and S2.7). The catalogue also shows that the procurement agent (RO1) is in charge of forecasting and placing the order, and the warehouse agent (RO2) is responsible for the activities associated to receiving and storing the bottles. The resources needed to execute the activities are also identified.
Figure 16.
S2 Catalogue.
Figure 17 presents the fermentation channel which constitutes one of the steps in the beer elaboration process. The activities in the channel describe what has to be done to obtain fermented beer as well as the collection of debris to store in the residue deposit.
Figure 17.
T6 Catalogue.
Figure 18 shows the store client’s relationship channel. This channel involves the activities required to maintain a relationship with the client such as offering the enrollment in the loyalty program (R4.2), offering discounts (R4.3), and registering its information (R4.4). This channel also includes taking the client’s order (R4.1) since it is the step that establishes an initial contact with the client. The identified responsible roles and resources correspond to the waiter (RO5) and the database (R6).
Figure 18.
R4 Catalogue.
Finally, Figure 19 shows the convenience store distribution channel. Activities in this channel are related to the distribution of beer, and to the picking and storing of unsold beer and used bottles. Activities D4.1 to D4.4 describe what has to be done to deliver the bottles to the store. Activities D4.5 to D4.9 describe what is done to pick up unsold beer and used bottles, and delivering to the main plant to be stored. In this channel we identified the Truck Driver (RO3) and the Warehouse Assistant (RO2) as those responsible for executing the activities.
Figure 19.
D4 Catalogue.
4.2. Experiments
The second validation of our MBM consists of a modeling and interpretation experiment in which we tested if our MBM could be used by others to represent and understand an NCB business model. Based on the description of the brewery’s business model, we designed two experiments: a modeling one in which subjects were expected to build the brewery’s business model using our notation, and an interpretation one in which subjects were given the structure of Alps Brewery and the complete channel model, and were asked questions about the business model. The experiment design process and the obtained results are described as follows.
4.2.1. Experiment Design
The experiments conducted during the second validation were designed considering the FUEML framework [75] and the Principles of Survey Research [76,77,78,79,80,81]. Since the overall objective of the validation was to establish if our MBM allowed the construction and understanding of an NCB, we defined the objective of the experiments in terms of two hypotheses:
Hypothesis 1.
Our MBM allows the representation of an NCB business model.
Hypothesis 2.
The MBM allows the understanding of an NCB business model.
In order to guarantee an adequate selection of the sample that would perform the experiments we defined the target population of our MBM. In general, our MBM should be used by business modelers and business analysts, however since the size of this population is difficult to estimate, we chose the minimum sample size that could lead to accurate results with a 90% confidence level and an accepted confidence interval of 13.5% based on [82]. This led to a sample population of 37 subjects. We invited 72 subjects to participate and got a response from 38 of them. All of them were undergraduate engineering students who had previous modeling experience with other languages like UML and BPMN. Subjects were able to choose which experiment to execute. In total, 18 subjects did the modeling experiment and 18 the interpretation one. Prior to the experiments all the subjects were introduced to our MBM and the corresponding notation.
4.2.2. Modeling Experiment and Results
Our first hypothesis was tested with a modeling experiment in which participants were asked to build the business model of Alps Brewery using our notation. Participants were provided with a description similar to the one presented in Section 4.1.1 and were asked to build the corresponding structure and channel model. The experiment had a total duration of 75 min and was conducted virtually. All the descriptions and instructions were given in Spanish as it was the subject’s native language.
To evaluate the results we graded the structure and the channel model using a rubric that consisted of 60 modeling requirements (39 for the structure and 21 for the channel model). Each requirement was graded with three possible scores: 0, 0.5 and 1. The requirements included identifying all the external components, the deposits, and the channels connecting them. They also considered the description of activities in the identified channels and avoiding certain mistakes like modeling the brewery’s stores outside the frontier. For the final score, we weighted the structure with an 80% of the total score and the channel mode with a 20%. The total score that could be obtained was 35.4 points however, based on the responses given by participants we reduced the requirements in the channel model to 17 hence, the highest possible score was 34.6 points. We established that our MBM allowed to represent the brewery’s business model if the scored obtained was more than 17.3 points (50% of the highest possible score). Moreover, we classified the possible scores in 4 levels: insufficient, sufficient, good and excellent. Figure 20 shows the obtained scores classified accordingly.
Figure 20.
Modeling Scores.
The figure shows that 100% of the participants were able to represent the business model using our MBM. Moreover, 39% of the participants obtained scores classified as good and 28% as excellent. Aside from the overall score, we also analyzed and classified the scores obtained in the structure and in the channel model criteria as shown in Figure 21. On one hand, the structure scores results show that 100% of the participants were able to build it, and 55% of them presented a good or excellent structure. The channel model scores, on the other hand, show that 67% of the participants were able to build the channel model; 23% of the participants obtained good or excellent scores.
Figure 21.
Structure and Channel Model Scores.
4.2.3. Interpretation Experiment and Results
Our second hypothesis was tested with an interpretation experiment in which participants had to answer a series of questions about the brewery’s business model, based on the business model structure and the channel model. Participants were expected to identify the value type provided by the brewery (physical product) and the 3 products offered: beer, unsold beer and residues. They also had to identify the 2 suppliers and their supplies, describe the 9 steps in the beer production process along with the resources needed, and describe 4 scenarios: the production and sale of beer, the recycling of used bottles, the sale of unsold beer, and the management of brewing residues. In the experiment participants had access to the structure presented in Figure 14 and the complete channel model. As in the modeling scenario, it was a virtual experiment with a duration of 75 min and instructions and descriptions were given in Spanish.
To evaluate the results we designed a rubric that had a total of 42 requirements: 4 of them corresponded to the value identification, 9 to the description of the beer production process, 4 to the description of the suppliers, 5 to the description of the production and sale of beer scenario, 8 to the used bottle recycling scenario, 7 to the unsold beer sale scenario and the remaining 5 to the brewing residue management. The maximum number of points that could be obtained was 42. As in the modeling experiment, scores were also classified into 4 levels: insufficient, sufficient, good and excellent. We established that our MBM allowed to understand the brewery’s business model if the scored obtained was more than 21 points (50% of the highest possible score).
Figure 22 shows the results obtained in the experiment. 61% of the participants were able to understand the brewery’s business model using our MBM. We also analyzed the scores for each of the different elements from the business model that had to be described. Figure 23 presents the scores obtained in the value classification. In this case 83% of the participants were able to identify the physical product type correctly. Moreover, 39% of them identified the three products, and 39% were able to identify two.
Figure 22.
Interpretation Experiment Results.
Figure 23.
Value Classification Results.
Figure 24 shows the scores from the beer production description and the supplier identification. In the case of the description, scores were also classified in four levels (insufficient, sufficient, good and excellent), and the obtained results show that 83% of the participants were able to provide a description (28% gave a good description and 17% an excellent one). Figure 24 also shows that 100% of the participants were able to identify some of the suppliers and supplies of the brewery, and 72% of the participants were able to identify the two suppliers and their corresponding supplies.
Figure 24.
Description and Identification Results.
Finally, Figure 25 shows the results obtained in the description of the four scenarios. In this case results were classified in three levels: did not provide a description, provided a partial description or provided a complete description. Accordingly, results show that for the beer sale scenario 83% of the participants were able to provide a description (39% provided a complete one.) In the recycling scenario 72% of the participants provided a description (39% gave a complete one). Finally, both in the unsold beer scenario and in the brewing residue management scenario 61% of the participants provided a description, in the residue management scenario 50% gave a complete description.
Figure 25.
Scenario Description Scores.
5. Discussion on the Business Model and Open Innovation
Novel complex businesses are defying traditional ways of doing business and are defining the future for many industries. Their business models are characterized by complex circular structures in which clients, suppliers, and distributors, among other actors, relate to the business while exchanging value, information, and money. These circular structures enable the generation of value in sustainable and innovative ways. With the current challenges in the world and with markets and industries being tested daily with new demands, it is expected that more NCBs will emerge with even better and more disruptive business models.
Open innovation plays a key role in NCBs as it is the foundation for the redesign and evaluation of business models and value offerings. Considering the rectangular compass proposed in [39] open innovation can arise from cultivating technology sources and different markets (like potential markets or social ones). In the case of NCBs, as these businesses are concerned with challenges like sustainability and the sharing economy, innovation is highly motivated by social markets, which contributes to the creation of collaboration networks, new alliances and the creation of social value.
To apply and benefit from open innovation in an NCB, it is necessary that those involved in innovation processes comprehend the dynamics that distinguish open innovation, and the potential effects of the innovations in the long term. Based on the OCE model [10], the network of an NCB constitutes a complex adaptive system whose complexity is determined by the degree to which open innovation occurs. A higher degree of open innovation means that more knowledge enters and leaves the system at a higher speed, which becomes beneficial for the NCB and for related organizations. Nonetheless, while various businesses reveal highly complex adaptive systems, their open innovation remains low. This hinders knowledge transfer and shortens the product-life cycle, leading to less competitive firms.
In order for a business to increase the degree in which open innovation occurs, it must combine internal and external knowledge to create new ideas that can be shared and implemented within the business and with other companies. The business model has proven to be a powerful conceptual tool for the creation of these ideas, as it links the domains involved in innovation and fosters the cognitive skills required to make decisions. Since the business model establishes the business’ logic that creates and delivers value, innovation can be evaluated under said logic and socialized later on [38]. Moreover, businesses that are truly able to take advantage of open innovation exhibit open business models in which value is both created and recaptured by including external ideas and by sharing resources and activities with other companies [83]. Consequently, MBMs are essential in open innovation as they guide the representation of the business model and set the foundations for further analysis, design, and evaluation to achieve open business models.
Understanding and implementing open innovation in NCBs is related to comprehending the business logic derived from their complex network. Describing and analyzing this network, requires a precise representation of its components and the way in which they relate to one another. However, when describing said networks by means of existing MBMs expressive power becomes a limitation as these MBMs do not define a formal structure that allows the representation of NCBs with precision. This lack of precision is not a mistake but rather one of the various decisions that are made in order to guarantee the MBM’s usefulness in light of its specific purpose. While expressive power in existing MBMs can be increased, efforts may end up in complicated and imprecise representations, especially if expressiveness is added without considering the purpose of the MBM or the previous decisions made in the MBM’s definition. This too, is a reminder of the importance of understanding the purpose of an MBM before using it.
6. Conclusions: Contribution and Future Work
6.1. Implications
This paper introduced an MBM to portray NCBs with precision. Our MBM provides the expressive power required to achieve a precise representation by defining the structure required to represent the complex network of NCBs in terms of two main concepts: components and channels. In addition to the concepts and relations that make up the structure of NCB, we also designed a graphical notation that serves to portray the structure in a simple and intuitive way. Our graphical notation defines two main artifacts: a structure diagram and a channel model. In order to define our MBM, we began by establishing a foundation upon existing MBMs and the concepts and relations that were defined by these MBMs as the building blocks of a business model. Building our MBM upon existing approaches allowed us create a solution using previously agreed upon concepts, which in turn, led to a solid conceptual basis. The construction of our MBM was focused on defining the structure that describes an NCB. To do so, we structured and extended our foundation focusing on two main concepts: components and channels. Moreover, as NCBs generate value out the typical product/service schema, we defined 9 types of value that can be used to classify and characterize the value offerings of NCBs.
Our proposed MBM was validated by modeling a case study and by conducting a modeling and an interpretation experiment that tested two hypothesis: that our MBM allows to represent an NCB business model and that the MBM allows to understand an NCB business model. The results of our experiments proved both of our hypothesis. In the modeling experiment, all the participants were able to represent the business model using our graphical notation, and in particular, all of them were able to portray the structure of the business model. The results from this experiment matched our first validation in which we were able to portray the brewery’s business model, and proved our first hypothesis. In the case of the interpretation experiment as results showed 61% of the participants were able to understand the business model given our scoring criteria, thus proving our second hypothesis.
The analysis of the experimentation results also showed the effects of the 75 min time limit defined for the execution of the experiments. In the modeling experiment, while all the participants were able to complete the structure, most of the participants were not able to complete the channel model, in particular the five requirements that were excluded from the evaluation. In the interpretation experiment while results showed that most participants were able to answer the questions regarding value identification, supplier identification and the beer production process, the scenario descriptions showed that in some cases 39% of participants were not able to provide descriptions. This is partially explained by the lack of time considering that the scenario descriptions were the last questions in the questionnaire. In spite of the time limitation, the obtained results were mainly positive both in terms of the MBM and the proposed notation. Since participants were able to portray and understand the case study, we were able to validate the usefulness of the MBM.
6.2. Contribution and Future Work
This work presents four main contributions for both business model research and open innovation. The first contribution is our preliminary meta-model, which defines the structure of a business model in terms of its concepts and the relations among them. Though previous work on business models has also identified the similar concepts defined by different authors of prominent MBMs, relationships between them were still left to intuition. In the case of our meta-model, we identify and portray these relations thus providing a precise definition of the business model structure. Moreover, our meta-model can be used as a foundation for other MBMs and new visualizations that enhance the understanding of a business’ structure.
The second contribution of this paper is our value classification which serves to identify the different value offerings a business can deliver and define them with precision. Our classification is built upon types of value identified by the authors of the analyzed MBMs and provides both a consolidated view of value definitions found in the literature, and their corresponding descriptions which enable a better understanding of the way in which value is exchanged. By stripping value objects from strategic considerations and identifying value as a concrete object, value exchanges can be traced with more precision as it is not necessary to define where are attributes like “quality” or “exclusivity” are generated and exchanged. Moreover, the 9 types of value derived from our classification can guide the analysis and design of new businesses as organizations can identify the types of value that are being delivered, and those that could be offered.
The third contribution is our NCB meta-model which establishes a precise definition of an NCB structure, and provides the expressiveness required to describe it while maintaining simplicity. Our meta-model defines an NCB structure in terms of components and channels which leads to a straightforward representation of the connections (and subsequent exchanges) that take place in the business model. Acknowledging these relations lead to better analysis as it is possible to identify the causal relations that characterize the business, and pinpoint key relations or even problems within the network without relying on intuition. Moreover, the expressiveness of our meta-model serves as a foundation for conceptual-map visualizations that can be used in open innovation.
The final contribution is the graphic notation designed to represent an NCB structure. By means of our notation it is possible to represent the structure of an NCB (and other types of businesses) and clearly identify the relations between the different components. In terms of open innovation, our notation corresponds to a conceptual map type which as stated before, supports the cognitive skills required for business model ideation and the identification of previously unseen relations. Moreover, our notation relies on graphic components which diminish the vagueness in comparison to textual descriptions and increase the cognitive effectiveness of the whole representation.
Finally, our paper provides a base for further research on business models. The structure to portray NCBs presented in this paper sets a foundation for new artifacts or even MBMs that represent businesses with complex structures both in static and dynamic terms. In particular, as our MBM defines the channel concept and the exchange of items (money, value and/or information), these elements become the basis for dynamic analysis and the simulation of different business scenarios. Moreover, the structure and notation can be used to characterize different business models in terms of components and exchange which can lead to identifying patterns business model patterns. A business model pattern is a structure common to many businesses. According to [84] one of the challenges that practitioners face when using business model patterns are the incomplete structures. As the patterns are not structured in a consistent manner some authors mention only dimensions that are difficult to navigate through. Additionally, some patterns in the literature overlap or are extensions of other patterns, however comparing them is no easy task because most patterns are textual descriptions. This challenge has been regarded in the literature mainly through taxonomies [84,85,86] however modeling each pattern would give a better insight into the actual structure of the pattern. This is rarely done in the literature, for instance [87] uses e3 to show how a pattern applies in the e-health context. Our approach can be used to model NCB patterns or even general business model patterns that allow further analysis of different elements in the models and giving insight into the implementation of a specific pattern in an organization, for instance with the purpose of innovating. Additionally, modeling the patterns can also facilitate their classifications and evaluation in terms of categories such as performance metrics (i.e., profitability) or sustainability (i.e., social aspects). Finally, drawing from other domains, we can see for instance that business process patterns are more commonly depicted in a graphical manner allowing practitioners and researchers to have a better understanding [88,89,90,91], hence our graphical notation can become an effective tool for portraying and describing business model patterns as shown in Figure 26, Figure 27 and Figure 28.
Figure 26.
Subscription Pattern.
Figure 27.
Advertising Pattern.
Figure 28.
Marketplace Pattern.
Figure 26 presents a subscription pattern in which a client receives value with certain frequency in exchange for a periodic payment. When acquiring or renewing a subscription, the client gives its credit card information to the business who then charges the corresponding payments. As shown in the structure, the bank becomes an intermediary between the client and the business as it is in charge of receiving payments from the client and delivering them to the business.
Figure 27 shows an advertising pattern in which the business has a platform used by a group of users. The business offers this platform to publish the advertisements of an advertising client in exchange for a payment.
In the marketplace pattern shown in Figure 28 a business becomes an intermediary between sellers and buyers. The business offers a platform in which sellers can sell their products and receive the corresponding payments. Buyers can access the platform and buy these products, which are delivered by the sellers.
At the end, the MBM presented in this paper should serve as a tool to describe, analyze, design and evaluate NCBs, its application however can be extended to any scenario in which one desires to understand the structure of a business model. Moreover, we expect that with our MBM it will be possible to achieve a better understanding of the complex structures upon which business models based on sustainability, digital technologies, and collaboration are founded, and to foster the skills required for open innovation. While the complexity behind these business models and their networks is unquestionable, representing them with textual or informal descriptions prevents a complete comprehension of the elements within the network that are essential to create and deliver value and to define a disruptive and sustainable business model.
Author Contributions
All authors contributed to the work in this manuscript. All authors were involved in the conceptualization, methodology, validation, analysis and data collection. The manuscript was edited and reviewed by the three authors. All authors have read and agreed to the published version of the manuscript.
Funding
This research received no external funding.
Institutional Review Board Statement
Not applicable.
Informed Consent Statement
Not applicable.
Data Availability Statement
The data presented in this study can be found in https://github.com/roms1092/MBM-Validation.git (accessed on 28 October 2020).
Conflicts of Interest
The authors declare no conflict of interest.
Abbreviations
The following abbreviations are used in this manuscript:
| MBM | Meta-Business Model |
| NCB | Novel Complex Business |
References
- Drucker, P.F. Business Objectives and Survival Needs: Notes on a Discipline of Business Enterprise. J. Bus. 1958, 31, 81–90. [Google Scholar] [CrossRef]
- Elkington, J. Cannibals with Forks: The Triple Bottom Line of 21st Century Business; Conscientious Commerce; New Society Publishers: Gabriola, BC, Canada, 1998. [Google Scholar]
- Srivastava, S.K. Network design for reverse logistics. Omega 2008, 36, 535–548. [Google Scholar] [CrossRef]
- Mont, O.; Dalhammar, C.; Jacobsson, N. A new business model for baby prams based on leasing and product remanufacturing. J. Clean. Prod. 2006, 14, 1509–1518. [Google Scholar] [CrossRef]
- Verhoef, P.C.; Broekhuizen, T.; Bart, Y.; Bhattacharya, A.; Dong, J.Q.; Fabian, N.; Haenlein, M. Digital transformation: A multidisciplinary reflection and research agenda. J. Bus. Res. 2019, 122, 889–901. [Google Scholar] [CrossRef]
- Bican, P.M.; Brem, A. Digital Business Model, Digital Transformation, Digital Entrepreneurship: Is There A Sustainable “Digital”? Sustainability 2020, 12, 5239. [Google Scholar] [CrossRef]
- Tu, J.C.; Chan, H.C.; Chen, C.H. Establishing Circular Model and Management Benefits of Enterprise from the Circular Economy Standpoint: A Case Study of Chyhjiun Jewelry in Taiwan. Sustainability 2020, 12, 4146. [Google Scholar] [CrossRef]
- Salvador, R.; Barros, M.; Luz, L.; Piekarski, C.; Francisco, A. Circular business models: Current aspects that influence implementation and unaddressed subjects. J. Clean. Prod. 2019, 119555. [Google Scholar] [CrossRef]
- Ritter, M.; Schanz, H. The sharing economy: A comprehensive business model framework. J. Clean. Prod. 2019, 213, 320–331. [Google Scholar] [CrossRef]
- Yun, J.J. Dynamics of Open Innovation. In Business Model Design Compass: Open Innovation Funnel to Schumpeterian New Combination Business Model Developing Circle; Springer: Singapore, 2017; pp. 99–117. [Google Scholar] [CrossRef]
- Herrera, A.; Lara, P.; Sánchez, M.; Villalobos, J. Metamodeling the e-waste domain to support decision-making. Int. J. Logist. Manag. 2020. [Google Scholar] [CrossRef]
- Rogers, D. The Digital Transformation Playbook: Rethink Your Business for the Digital Age; Columbia Business School Publishing, Columbia University Press: New York, NY, USA, 2016. [Google Scholar]
- Laukkanen, M.; Tura, N. The potential of sharing economy business models for sustainable value creation. J. Clean. Prod. 2020, 253, 120004. [Google Scholar] [CrossRef]
- Gurca, A.; Bagherzadeh, M.; Markovic, S.; Koporcic, N. Managing the challenges of business-to-business open innovation in complex projects: A multi-stage process model. Ind. Market. Manag. 2020. [Google Scholar] [CrossRef]
- Mubarak, M.F.; Petraite, M. Industry 4.0 technologies, digital trust and technological orientation: What matters in open innovation? Technol. Forecast. Soc. Chang. 2020, 161, 120332. [Google Scholar] [CrossRef]
- Lee, I.; Shin, Y.J. Fintech: Ecosystem, business models, investment decisions, and challenges. Bus. Horiz. 2018, 61, 35–46. [Google Scholar] [CrossRef]
- Chandna, V.; Salimath, M.S. Peer-to-peer selling in online platforms: A salient business model for virtual entrepreneurship. J. Bus. Res. 2018, 84, 162–174. [Google Scholar] [CrossRef]
- de Man, A.P.; Luvison, D. Collaborative business models: Aligning and operationalizing alliances. Bus. Horiz. 2019, 62, 473–482. [Google Scholar] [CrossRef]
- Wirtz, B.W.; Pistoia, A.; Ullrich, S.; Göttel, V. Business models: Origin, development and future research perspectives. Long Range Plan. 2016, 49, 36–54. [Google Scholar] [CrossRef]
- Zott, C.; Amit, R.; Massa, L. The business model: Recent developments and future research. J. Manag. 2011, 37, 1019–1042. [Google Scholar]
- Gorevaya, E.; Khayrullina, M. Evolution of Business Models: Past and Present Trends. Procedia Econ. Financ. 2015, 27, 344–350. [Google Scholar] [CrossRef][Green Version]
- Alberts, B.T.; Meertens, L.O.; Iacob, M.E.; Nieuwenhuis, L.B.J. A Meta-Model Perspective on Business Models. In Business Modeling and Software Design; Shishkov, B., Ed.; Springer: Berlin/Heidelberg, Germany, 2013; pp. 64–81. [Google Scholar]
- Magretta, J. Why Business Models Matter; Harvard Business Review Reprint; Harvard Business School Publishing: Brighton, MA, USA, 2002. [Google Scholar]
- Hamel, G. Leading the Revolution; Harvard Business School Press Series; Harvard Business School Press: Brighton, MA, USA, 2000. [Google Scholar]
- Rappa, M. Business Models on the Web. 2001. Available online: http://digitalenterprise.org/models/models.html (accessed on 18 February 2020).
- Gordijn, J.; Akkermans, H. A conceptual Value Modeling Approach for eBusiness Development. In Proceedings of the First International Conference on Knowledge Capture (K-CAP 2001), Workshop WS2 Knowledge in eBusiness, Victoria, BC, Canada, 21–23 October 2001; pp. 27–34. [Google Scholar]
- Osterwalder, A.; Pigneur, Y. Business Model Generation: A Handbook for Visionaries, Game Changers, and Challengers; John Wiley & Sons: Hoboken, NJ, USA, 2010. [Google Scholar]
- Casadesus-Masanell, R.; Ricart, J.E. From Strategy to Business Models and onto Tactics. Long Range Plan. 2010, 43, 195–215. [Google Scholar] [CrossRef]
- Pozzi, G.; Pigni, F.; Vitari, C.; Buonanno, G.; Raguseo, E. Business Model in the IS Discipline: A Review and Synthesis of the Literature. In Organizational Innovation and Change; Rossignoli, C., Gatti, M., Agrifoglio, R., Eds.; Springer: Cham, Switzerland, 2016; pp. 115–129. [Google Scholar]
- Demil, B.; Lecocq, X. Business Model Evolution: In Search of Dynamic Consistency. Long Range Plan. 2010, 43, 227–246. [Google Scholar] [CrossRef]
- Teece, D.J. Business models and dynamic capabilities. Long Range Plan. 2018, 51, 40–49. [Google Scholar] [CrossRef]
- Ou, Y.f.; Zhao, H.; Zheng, G.; Wang, L. The Simulation and Analysis of e-Business Model. In Integration and Innovation Orient to E-Society Volume 1; Wang, W., Li, Y., Duan, Z., Yan, L., Li, H., Yang, X., Eds.; Springer: Boston, MA, USA, 2007; pp. 551–559. [Google Scholar]
- Schmitt, M.; Grégoire, B.; Incoul, C.; Ramel, S.; Brimont, P.; Dubois, E. If Business Models Could Speak! Efficient: A Framework for Appraisal, Design and Simulation of Electronic Business Transactions. In Knowledge Sharing in the Integrated Enterprise; Bernus, P., Fox, M., Eds.; Springer: Boston, MA, USA, 2005; pp. 161–171. [Google Scholar]
- Romero, M.C.; Villalobos, J.; Sanchez, M. Simulating the business model canvas using system dynamics. In Proceedings of the 2015 10th Computing Colombian Conference (10CCC), Bogota, Colombia, 21–25 September 2015; pp. 527–534. [Google Scholar]
- Fritscher, B.; Pigneur, Y. Visualizing Business Model Evolution with the Business Model Canvas: Concept and Tool. In Proceedings of the 2014 IEEE 16th Conference on Business Informatics (CBI’14), Geneva, Switzerland, 14–17 July 2014; IEEE Computer Society: Washington, DC, USA, 2014; Volume 1, pp. 151–158. [Google Scholar] [CrossRef]
- Bocken, N.; Schuit, C.; Kraaijenhagen, C. Experimenting with a circular business model: Lessons from eight cases. Environ. Innov. Soc. Transit. 2018, 28, 79–95. [Google Scholar] [CrossRef]
- Sathananthan, S.; Hoetker, P.; Gamrad, D.; Katterbach, D.; Myrzik, J. Realizing digital transformation through a digital business model design process. In Proceedings of the 2017 Internet of Things Business Models, Users, and Networks, Copenhagen, Denmark, 23–24 November 2017; pp. 1–8. [Google Scholar]
- Chesbrough, H.W. Open Innovation: The New Imperative for Creating and Profiting from Technology; Harvard Business Press: Brighton, MA, USA, 2006. [Google Scholar]
- Yun, J.J.; Zhao, X. Business Model Innovation through a Rectangular Compass: From the Perspective of Open Innovation with Mechanism Design. J. Open Innov. Technol. Mark. Complex. 2020, 6, 131. [Google Scholar] [CrossRef]
- Yun, J.; Yang, J.; Park, K. Open Innovation to Business Model: New Perspective to Connect between Technology and Market. Sci. Technol. Soc. 2016, 21. [Google Scholar] [CrossRef]
- Eppler, M.; Hoffmann, F.; Bresciani, S. New Business Models through Collaborative Idea Generation. Int. J. Innov. Manag. 2011, 15. [Google Scholar] [CrossRef]
- Saebi, T.; Foss, N. Business models for open innovation: Matching heterogenous open innovation strategies with business model dimensions. Eur. Manag. J. 2014, 33. [Google Scholar] [CrossRef]
- Fettke, P. How conceptual modeling is used. Commun. Assoc. Inf. Syst. 2009, 25, 43. [Google Scholar] [CrossRef]
- Florez, H.; Sánchez, M.; Villalobos, J. iArchiMate: A Tool for Managing Imperfection in Enterprise Models. In Proceedings of the 2014 IEEE 18th International Enterprise Distributed Object Computing Conference Workshops and Demonstrations, Ulm, Germany, 1–2 September 2014; pp. 201–210. [Google Scholar]
- Thalheim, B. The Theory of Conceptual Models, the Theory of Conceptual Modelling and Foundations of Conceptual Modelling. In Handbook of Conceptual Modeling; Springer: Berlin/Heidelberg, Germany, 2011; pp. 543–577. [Google Scholar] [CrossRef]
- Teece, D.J. Business Models, Business Strategy and Innovation. Long Range Plan. 2010, 43, 172–194. [Google Scholar] [CrossRef]
- Ghaziani, A.; Ventresca, M. Keywords and Cultural Change: Frame Analysis of Business Model Public Talk, 1975–2000. Sociol. Forum 2005, 20, 523–559. [Google Scholar] [CrossRef]
- Timmers, P. Business models for electronic markets. Electron. Mark. 1998, 8, 3–8. [Google Scholar] [CrossRef]
- Hedman, J.; Kalling, T. The Business Model Concept: Theoretical Underpinnings and Empirical Illustrations. Eur. J. Inf. Syst. 2003, 12, 49–59. [Google Scholar] [CrossRef]
- Johannesson, P. The Role of Business Models in Enterprise Modelling. In Conceptual Modelling in Information Systems Engineering; Krogstie, J., Opdahl, A.L., Brinkkemper, S., Eds.; Springer: Berlin/Heidelberg, Germany, 2007; pp. 123–140. [Google Scholar] [CrossRef]
- Morris, M.; Schindehutte, M.; Allen, J. The Entrepreneur’s Business Model: Toward a Unified Perspective. J. Bus. Res. 2005, 58, 726–735. [Google Scholar] [CrossRef]
- Pateli, A.G.; Giaglis, G.M. A research framework for analysing eBusiness models. Eur. J. Inf. Syst. 2004, 13, 302–314. [Google Scholar] [CrossRef]
- Goyal, S.; Kapoor, A.; Esposito, M.; Sergi, B. Understanding business model—Literature review of concept and trends. Int. J. Compet. 2017, 1, 99. [Google Scholar] [CrossRef]
- Burkhart, T.; Krumeich, J.; Werth, D.; Loos, P. Analyzing the Business Model Concept—A Comprehensive Classification of Literature. In Proceedings of the International Conference on Information Systems 2011, ICIS 2011, Shanghai, China, 4–7 December 2011; Volume 5. [Google Scholar]
- Al-Debei, M.; Haddadeh, R.; Avison, D. Defining the Business Model in the New World of Digital Business. In Proceedings of the AMCIS 2008, Toronto, ON, Canada, 14–17 August 2008; Volume 3, p. 300. [Google Scholar]
- Klang, D.; Wallnöfer, M.; Hacklin, F. The Business Model Paradox: A Systematic Review and Exploration of Antecedents. Int. J. Manag. Rev. 2014, 16, 454–478. [Google Scholar] [CrossRef]
- Osterwalder, A.; Pigneur, Y. An e-Business Model Ontology for Modeling e-Business; Industrial Organization 0202004; University Library of Munich: Munich, Germany, 2002. [Google Scholar]
- Gordijn, J.; Akkermans, H.; Van Vliet, J. Designing and evaluating e-business models. IEEE Intell. Syst. 2001, 16, 11–17. [Google Scholar] [CrossRef]
- Linder, J.; Cantrell, S. Changing Business Models: Surveying the Landscape; Accenture Institute for Strategic Change: Cambridge, MA, USA, 2000. [Google Scholar]
- Mahadevan, B. Business Models for Internet-Based E-Commerce: An Anatomy. Calif. Manag. Rev. 2000, 42. [Google Scholar] [CrossRef]
- Afuah, A.; Tucci, C. Internet Business Models and Strategies; McGraw-Hill: Boston, MA, USA, 2001. [Google Scholar]
- Amit, R.; Zott, C. Value creation in E-business. Strateg. Manag. J. 2001, 22, 493–520. [Google Scholar] [CrossRef]
- Johnson, M.; Christensen, C.; Kagermann, H. Reinventing Your Business Model. Harv. Bus. Rev. 2008, 87, 52–60. [Google Scholar]
- Babur, O.; Cleophas, L.; Brand, M. Hierarchical Clustering of Metamodels for Comparative Analysis and Visualization. In Proceedings of the ECMFA 2016: 12th European Conference on Modelling Foundations and Applications, Vienna, Austria, 4–8 July 2016; Springer: Berlin/Heidelberg, Germany, 2016; Volume 9764, pp. 3–18. [Google Scholar] [CrossRef]
- Feinerer, I.; Hornik, K. Wordnet: WordNet Interface. R Package Version 0.1-11. 2016. Available online: http://wordnetweb.princeton.edu/perl/webwn (accessed on 18 February 2020).
- Selic, B. The pragmatics of model-driven development. IEEE Softw. 2003, 20, 19–25. [Google Scholar] [CrossRef]
- Täuscher, K.; Abdelkafi, N. Visual tools for business model innovation: Recommendations from a cognitive perspective. Creat. Innov. Manag. 2017, 26, 160–174. [Google Scholar] [CrossRef]
- Bala, B.K.; Arshad, F.M.; Noh, K.M. Stock and Flow Diagram. In System Dynamics: Modelling and Simulation; Springer: Singapore, 2017; pp. 53–118. [Google Scholar] [CrossRef]
- Cosenz, F.; Noto, G. A dynamic business modelling approach to design and experiment new business venture strategies. Long Range Plan. 2018, 51, 127–140. [Google Scholar] [CrossRef]
- Abdelkafi, N.; Täuscher, K. Business Models for Sustainability From a System Dynamics Perspective. Organ. Environ. 2016, 29, 74–96. [Google Scholar] [CrossRef]
- Moellers, T.; Burg, L.; Bansemir, B.; Pretzl, M.; Gassmann, O. System dynamics for corporate business model innovation. Electron. Mark. 2019. [Google Scholar] [CrossRef]
- Romero, M.C.; Sánchez, M.; Villalobos, J. Business Model Pattern Execution-A System Dynamics Application. In Proceedings of the International Conference on Enterprise Information Systems, Porto, Portugal, 26–29 April 2017; Volume 2, pp. 440–447. [Google Scholar]
- Moody, D. The “Physics” of Notations: Toward a Scientific Basis for Constructing Visual Notations in Software Engineering. IEEE Trans. Softw. Eng. 2009, 35, 756–779. [Google Scholar] [CrossRef]
- Software Architecture Description. In Software Architecture; Springer: Berlin/Heidelberg, Germany, 2008; pp. 117–168. [CrossRef]
- Schalles, C. A Framework for Usability Evaluation of Modeling Languages (FUEML). In Usability Evaluation of Modeling Languages; Springer Fachmedien Wiesbaden: Wiesbaden, Germany, 2013; pp. 43–68. [Google Scholar] [CrossRef]
- Pfleeger, S.L.; Kitchenham, B.A. Principles of Survey Research: Part 1: Turning Lemons into Lemonade. SIGSOFT Softw. Eng. Notes 2001, 26, 16–18. [Google Scholar] [CrossRef]
- Kitchenham, B.A.; Pfleeger, S.L. Principles of Survey Research Part 2: Designing a Survey. SIGSOFT Softw. Eng. Notes 2002, 27, 18–20. [Google Scholar] [CrossRef]
- Kitchenham, B.A.; Pfleeger, S.L. Principles of Survey Research: Part 3: Constructing a Survey Instrument. SIGSOFT Softw. Eng. Notes 2002, 27, 20–24. [Google Scholar] [CrossRef]
- Kitchenham, B.; Pfleeger, S.L. Principles of Survey Research Part 4: Questionnaire Evaluation. SIGSOFT Softw. Eng. Notes 2002, 27, 20–23. [Google Scholar] [CrossRef]
- Kitchenham, B.; Pfleeger, S.L. Principles of Survey Research: Part 5: Populations and Samples. SIGSOFT Softw. Eng. Notes 2002, 27, 17–20. [Google Scholar] [CrossRef]
- Kitchenham, B.; Pfleeger, S.L. Principles of Survey Research Part 6: Data Analysis. SIGSOFT Softw. Eng. Notes 2003, 28, 24–27. [Google Scholar] [CrossRef]
- Smith, S. Determining Sample Size: How to Ensure You Get the Correct Sample Size. Available online: https://www.qualtrics.com/experience-management/research/determine-sample-size (accessed on 26 October 2020).
- Chesbrough, H. Open Business Models: How to Thrive in the New Innovation Landscape; Harvard Business Press: Brighton, MA, USA, 2006. [Google Scholar]
- Remané, G.; Hanelt, A.; Tesch, J.F.; Kolbe, L.M. The Business Model Pattern Database: A Tool for Systematic BMI. In Business Model Innovation in the Era of the Internet of Things: Studies on the Aspects of Evaluation, Decision Making and Tooling; Tesch, J.F., Ed.; Springer: Cham, Switzerland, 2019; pp. 89–144. [Google Scholar] [CrossRef]
- Weking, J.; Hein, A.; Böhm, M.; Krcmar, H. A hierarchical taxonomy of business model patterns. Electron. Mark. 2018, 30, 447–468. [Google Scholar] [CrossRef]
- Lüdeke-Freund, F.; Carroux, S.; Joyce, A.; Massa, L.; Breuer, H. The sustainable business model pattern taxonomy—45 patterns to support sustainability-oriented business model innovation. Sustain. Prod. Consum. 2018, 15, 145–162. [Google Scholar] [CrossRef]
- Mettler, T.; Eurich, M. A “design-pattern”-based approach for analyzing e-health business models. Health Policy Technol. 2012, 1, 77–85. [Google Scholar] [CrossRef]
- Reijers, H.A.; Mansar, S.L. Best practices in business process redesign: An overview and qualitative evaluation of successful redesign heuristics. Omega 2005, 33, 283–306. [Google Scholar] [CrossRef]
- Rosemann, M. Explorative process design patterns. In Business Process Management, Proceedings of the 18th International Conference, BPM 2020; Fahland, D., Ghidini, C., Becker, J., Dumas, M., Eds.; Lecture Notes in Computer Science (Including Subseries Lecture Notes in Artificial Intelligence and Lecture Notes in Bioinformatics); Springer: Cham, Switzerland, 2020; pp. 349–367. [Google Scholar] [CrossRef]
- Gschwind, T.; Koehler, J.; Wong, J. Applying Patterns during Business Process Modeling. In Business Process Management; Dumas, M., Reichert, M., Shan, M.C., Eds.; Springer: Berlin/Heidelberg, Germany, 2008; pp. 4–19. [Google Scholar]
- Nowak, A.; Leymann, F.; Schleicher, D.; Schumm, D.; Wagner, S. Green Business Process Patterns. ACM Int. Conf. Proc. Ser. 2011. [Google Scholar] [CrossRef]
Publisher’s Note: MDPI stays neutral with regard to jurisdictional claims in published maps and institutional affiliations. |
© 2021 by the authors. Licensee MDPI, Basel, Switzerland. This article is an open access article distributed under the terms and conditions of the Creative Commons Attribution (CC BY) license (http://creativecommons.org/licenses/by/4.0/).



























