Four-Step Current Commutation Strategy for a Matrix Converter Based on Enhanced-PWM MCU Peripherals
Abstract
:1. Introduction
2. Matrix Converter
3. ePWM Module
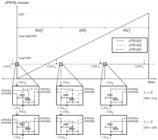
3.1. ePWM Configuration
3.1.1. BDS
3.1.2. BDS
3.1.3. BDS
3.2. Current Sign Detection
4. Experimental Results
5. Discussion
6. Conclusions
Author Contributions
Funding
Acknowledgments
Conflicts of Interest
References
- Wheeler, P.; Rodriguez, J.; Clare, J.; Empringham, L.; Weinstein, A. Matrix converters: A technology review. IEEE Trans. Ind. Electron. 2002, 49, 276–288. [Google Scholar] [CrossRef]
- Empringham, L.; Kolar, J.W.; Rodriguez, J.; Wheeler, P.W.; Clare, J.C. Technological Issues and Industrial Application of Matrix Converters: A Review. IEEE Trans. Ind. Electron. 2013, 60, 4260–4271. [Google Scholar] [CrossRef]
- Simon, O.; Mahlein, J.; Muenzer, M.N.; Bruckmann, M. Modern solutions for industrial matrix-converter applications. IEEE Trans. Ind. Electron. 2002, 49, 401–406. [Google Scholar] [CrossRef]
- Schauder, C.D. Theory and Design of a 30-hp Matrix Converter. IEEE Trans. Ind. Appl. 1992, 28, 546–551. [Google Scholar] [CrossRef]
- Nagai, S.; Yamada, Y.; Hiraiwa, M.; Ueno, H.; Choe, S.; Kawai, Y.; Tabata, O.; Yamada, G.; Negoro, N.; Ishida, M. A compact GaN Bi-directional switching diode with a GaN Bi-directional power switch and an Isolated gate driver. In Proceedings of the International Symposium on Power Semiconductor Devices and ICs, Prague, Czech Republic, 12–16 June 2016; pp. 183–186. [Google Scholar] [CrossRef]
- Raheja, U.; Gohil, G.; Han, K.; Acharya, S.; Baliga, B.J.; Battacharya, S.; Labreque, M.; Smith, P.; Lal, R. Applications and characterization of four quadrant GaN switch. In Proceedings of the 2017 IEEE Energy Conversion Congress and Exposition (ECCE), Cincinnati, OH, USA, 1–5 October 2017; Volume 1, pp. 1967–1975. [Google Scholar] [CrossRef]
- Umeda, H.; Yamada, Y.; Asanuma, K.; Kusama, F.; Kinoshita, Y.; Ueno, H.; Ishida, H.; Hatsuda, T.; Ueda, T. High power 3-phase to 3-phase matrix converter using dual-gate GaN bidirectional switches. In Proceedings of the IEEE Applied Power Electronics Conference and Exposition—APEC, San Antonio, TX, USA, 4–8 March 2018; pp. 894–897. [Google Scholar] [CrossRef]
- Fernandez, M.; Perpina, X.; Vellvehi, M.; Sanchez, D.; Jorda, X.; Millan, J.; Cabeza, T.; Llorente, S. Analysis of bidirectional switch solutions based on different power devices. In Proceedings of the 2017 Spanish Conference on Electron Devices, CDE 2017, Barcelona, Spain, 8–10 February 2017. [Google Scholar] [CrossRef]
- Burany, N. Safe control of four-quadrant switches. In Proceedings of the Conference Record of the IEEE Industry Applications Society Annual Meeting, Philadelphia, PA, USA, 6–10 November 1989; pp. 1190–1194. [Google Scholar] [CrossRef]
- Wheeler, P.W.; Clare, J.C.; Empringham, L.; Bland, M.; Apap, M. Gate drive level intelligence and current sensing for matrix converter current commutation. IEEE Trans. Ind. Electron. 2002, 49, 382–389. [Google Scholar] [CrossRef]
- Wheeler, P.; Clare, J.; Empringham, L. Enhancement of Matrix Converter Output Waveform Quality Using Minimized Commutation Times. IEEE Trans. Ind. Electron. 2004, 51, 240–244. [Google Scholar] [CrossRef]
- Youm, J.-H.; Kwon, B.-H. Switching technique for current-controlled AC-to-AC converters. IEEE Trans. Ind. Electron. 1999, 46, 309–318. [Google Scholar] [CrossRef]
- Ziegler, M.; Hofmann, W. Implementation of a two steps commutated matrix converter. In Proceedings of the 30th Annual IEEE Power Electronics Specialists Conference, Charleston, SC, USA, 1 July 1999; Volume 1, pp. 175–180. [Google Scholar] [CrossRef]
- Mahlein, J.; Igney, J.; Weigold, J.; Braun, M.; Simon, O. Matrix converter commutation strategies with and without explicit input voltage sign measurement. IEEE Trans. Ind. Electron. 2002, 49, 407–414. [Google Scholar] [CrossRef]
- Wei, L.W.L.; Lipo, T.; Chan, H.C.H. Robust voltage commutation of the conventional matrix converter. In Proceedings of the IEEE 34th Annual Conference on Power Electronics Specialist, PESC ’03, Acapulco, Mexico, 15–19 June 2003; Volume 2, pp. 717–722. [Google Scholar] [CrossRef]
- She, H.; Lin, H.; He, B.; Wang, X.; Yue, L.; An, X. Implementation of voltage-based commutation in space-vector-modulated matrix converter. IEEE Trans. Ind. Electron. 2012, 59, 154–166. [Google Scholar] [CrossRef]
- Ziegler, M.; Hofmann, W. New one-step commutation strategies in matrix converters. In Proceedings of the 4th IEEE International Conference on Power Electronics and Drive Systems, IEEE PEDS 2001, Denpasar, Indonesia, 25–25 October 2001; Volume 2, pp. 560–564. [Google Scholar] [CrossRef]
- Zhou, D.; Sun, K.; Huang, L.; Sasagawa, K. A novel commutation method of matrix converter fed induction motor drive using RB-IGBT. In Proceedings of the Fourtieth IAS Annual Meeting, Conference Record of the 2005 Industry Applications Conference, Hong Kong, China, 2–6 October 2005; Volume 4, pp. 2347–2354. [Google Scholar] [CrossRef]
- Baranwal, R.; Basu, K.; Sahoo, A.K.; Mohan, N. A modified four-step commutation to suppress common-mode voltage during commutations in open-end winding matrix converter drives. In Proceedings of the 2015 IEEE Energy Conversion Congress and Exposition, ECCE 2015, Montreal, QC, Canada, 20–24 September 2015; pp. 4455–4462. [Google Scholar] [CrossRef]
- Herrero, L.C.; De Pablo, S.; Martín, F.; Ruiz, J.M.; González, J.M.; Rey, A.B. Comparative analysis of the techniques of current commutation in matrix converters. IEEE Int. Symp. Ind. Electron. 2007, 521–526. [Google Scholar] [CrossRef]
- Hamouda, M.; Blanchette, H.F.; Al-Haddad, K.; Fnaiech, F. An efficient DSP-FPGA-based real-time implementation method of SVM algorithms for an indirect matrix converter. IEEE Trans. Ind. Electron. 2011, 58, 5024–5031. [Google Scholar] [CrossRef]
- Cárdenas, R.; Peña, R.; Wheeler, P.; Clare, J. Experimental validation of a space-vector-modulation algorithm for four-leg matrix converters. IEEE Trans. Ind. Electron. 2011, 58, 1282–1293. [Google Scholar] [CrossRef]
- Metidji, B.; Taib, N.; Baghli, L.; Rekioua, T.; Bacha, S. Novel single current sensor topology for venturini controlled direct matrix converters. IEEE Trans. Power Electron. 2013, 28, 3509–3516. [Google Scholar] [CrossRef]
- Ormaetxea, E.; Andreu, J.; Kortabarria, I.; Bidarte, U.; De Alegría, I.M.; Ibarra, E.; Olaguenaga, E. Matrix converter protection and computational capabilities based on a system on chip design with an FPGA. IEEE Trans. Power Electron. 2011, 26, 272–287. [Google Scholar] [CrossRef]
- Gulbudak, O.; Santi, E. FPGA-Based Model Predictive Controller for Direct Matrix Converter. IEEE Trans. Ind. Electron. 2016, 63, 4560–4570. [Google Scholar] [CrossRef]
- Rodriguez, J.; Rivera, M.; Kolar, J.W.; Wheeler, P.W. A review of control and modulation methods for matrix converters. IEEE Trans. Ind. Electron. 2012, 59, 58–70. [Google Scholar] [CrossRef]
- Zhang, L.; Watthanasarn, C.; Shepherd, W. Analysis and comparison of control techniques for AC–AC matrix converters. IEE Proc. Electr. Power Appl. 1998, 145, 284. [Google Scholar] [CrossRef]
- Hojabri, H.; Mokhtari, H.; Chang, L. A generalized technique of modeling, analysis, and control of a matrix converter using SVD. IEEE Trans. Ind. Electron. 2011, 58, 949–959. [Google Scholar] [CrossRef]
- Instruments, T. C2000 Real-Time Control Peripherals Reference Guide. 2018. Available online: http://www.ti.com/lit/ug/spru566m/spru566m.pdf (accessed on 14 May 2019).
- Instruments, T. Technical Reference Manual TMS320F2837xD Dual-Core Delfino Microcontrollers. 2017. Available online: http://www.ti.com/lit/ug/spruhm8h/spruhm8h.pdf (accessed on 14 May 2019).
- Arevalo, S.L.; Zanchetta, P.; Wheeler, P.W.; Trentin, A.; Empringham, L. Control and implementation of a matrix-converter-based AC ground power-supply unit for aircraft servicing. IEEE Trans. Ind. Electron. 2010, 57, 2076–2084. [Google Scholar] [CrossRef]
- Li, X.; Su, M.; Sun, Y.; Dan, H.; Xiong, W. Modulation Strategy Based on Mathematical Construction for Matrix Converter Extending the Input Reactive Power Range. IEEE Trans. Power Electron. 2014, 29, 654–664. [Google Scholar] [CrossRef]
- You, K.; Xiao, D.; Rahman, M.F.; Uddin, M.N. Applying reduced general direct space vector modulation approach of AC-AC matrix converter theory to achieve direct power factor controlled three-phase AC-DC matrix rectifier. IEEE Trans. Ind. Appl. 2014, 50, 2243–2257. [Google Scholar] [CrossRef]
- Dasgupta, A.; Sensarma, P. Filter design of direct matrix converter for synchronous applications. IEEE Trans. Ind. Electron. 2014, 61, 6483–6493. [Google Scholar] [CrossRef]
- Sahoo, A.K.; Basu, K.; Mohan, N. Systematic Input Filter Design of Matrix Converter by Analytical Estimation of RMS Current Ripple. IEEE Trans. Ind. Electron. 2015, 62, 132–143. [Google Scholar] [CrossRef]












© 2019 by the authors. Licensee MDPI, Basel, Switzerland. This article is an open access article distributed under the terms and conditions of the Creative Commons Attribution (CC BY) license (http://creativecommons.org/licenses/by/4.0/).
Share and Cite
Merchan-Villalba, L.R.; Lozano-Garcia, J.M.; Gutierrez-Torres, D.A.d.J.; Avina-Cervantes, J.G.; Pizano-Martinez, A. Four-Step Current Commutation Strategy for a Matrix Converter Based on Enhanced-PWM MCU Peripherals. Electronics 2019, 8, 547. https://doi.org/10.3390/electronics8050547
Merchan-Villalba LR, Lozano-Garcia JM, Gutierrez-Torres DAdJ, Avina-Cervantes JG, Pizano-Martinez A. Four-Step Current Commutation Strategy for a Matrix Converter Based on Enhanced-PWM MCU Peripherals. Electronics. 2019; 8(5):547. https://doi.org/10.3390/electronics8050547
Chicago/Turabian StyleMerchan-Villalba, Luis Ramon, Jose Merced Lozano-Garcia, Diego Armando de Jesus Gutierrez-Torres, Juan Gabriel Avina-Cervantes, and Alejandro Pizano-Martinez. 2019. "Four-Step Current Commutation Strategy for a Matrix Converter Based on Enhanced-PWM MCU Peripherals" Electronics 8, no. 5: 547. https://doi.org/10.3390/electronics8050547
APA StyleMerchan-Villalba, L. R., Lozano-Garcia, J. M., Gutierrez-Torres, D. A. d. J., Avina-Cervantes, J. G., & Pizano-Martinez, A. (2019). Four-Step Current Commutation Strategy for a Matrix Converter Based on Enhanced-PWM MCU Peripherals. Electronics, 8(5), 547. https://doi.org/10.3390/electronics8050547

