A Configurable Resolution Time-to-Digital Converter with Low PVT Sensitivity for LiDAR Applications
Abstract
1. Introduction
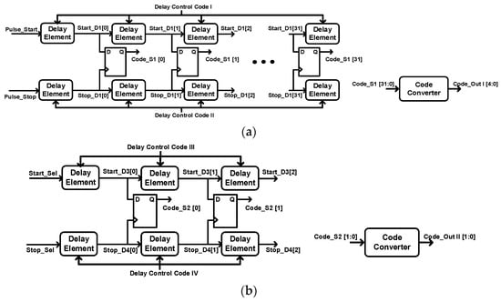
2. TDC Architecture Overview
3. Circuit Design
4. Experimental Results
5. Conclusions
Author Contributions
Funding
Data Availability Statement
Acknowledgments
Conflicts of Interest
References
- Cova, S.; Bertolaccini, M.; Bussolati, C. The measurement of luminescence waveforms by single-photon techniques. Phys. Status Solidi 1973, 18, 11–62. [Google Scholar] [CrossRef]
- Tamborini, D.; Buttafava, M.; Ruggeri, A.; Zappa, F. Compact, low-power and fully reconfigurable 10 ps resolution, 160 μs range, time-resolved single-photon counting system. IEEE Sens. J. 2016, 16, 3827–3833. [Google Scholar] [CrossRef]
- Seo, M.W.; Kagawa, K.; Yasutomi, K.; Kawata, Y.; Teranishi, N.; Li, Z.; Halin, R.A.; Kawahito, S. A 10 ps time-resolution CMOS image sensor with two-tap true-CDS lock-in pixels for fluorescence lifetime imaging. IEEE J. Solid-State Circuits 2016, 51, 141–154. [Google Scholar] [CrossRef]
- Niclass, C.; Soga, M.; Matsubara, H.; Kato, S.; Kagami, M. A 100-m range 10-frame/s 340 × 96-pixel time-off-flight depth sensor in 0.18-µm CMOS. IEEE J. Solid-State Circuits 2013, 48, 559–572. [Google Scholar] [CrossRef]
- Niclass, C.; Soga, M.; Matsubara, H.; Ogawa, M.; Kagami, M. A 0.18-µm CMOS SoC for a 100-m-range 10-frame/s 200 × 96-Pixel time-of-flight depth sensor. IEEE J. Solid-State Circuits 2014, 49, 315–330. [Google Scholar] [CrossRef]
- Zhang, C.; Lindner, S.; Antolović, I.M.; Pavia, J.M.; Wolf, M.; Charbon, E. A 30-frames/s, 252 × 144 SPAD flash LiDAR with 1728 dual-clock 48.8-ps TDCs, and pixel-wise integrated histogramming. IEEE J. Solid-State Circuits 2019, 54, 1137–1151. [Google Scholar] [CrossRef]
- Seo, H.; Yoon, S.; Kim, D.; Kim, J.; Kim, S.-J.; Chun, J.-H.; Choi, J. Direct TOF scanning LiDAR sensor with two-step multievent histogramming TDC and embedded interference Filter. IEEE J. Solid-State Circuits 2021, 56, 1022–1035. [Google Scholar] [CrossRef]
- Perenzoni, M.; Perenzoni, D.; Stoppa, D. A 64 × 64-Pixels digital silicon photomultiplier direct TOF sensor with 100-MPhotons/s/pixel background rejection and imaging/altimeter mode with 0.14% precision up to 6 km for spacecraft navigation and landing. IEEE J. Solid-State Circuits 2017, 52, 151–160. [Google Scholar] [CrossRef]
- Zhang, W.; Ma, R.; Wang, X.; Zheng, H.; Zhu, Z. A High Linearity TDC With a United-Reference Fractional Counter for LiDAR. IEEE Trans. Circuits Syst. I Regul. Pap. 2022, 69, 564–572. [Google Scholar] [CrossRef]
- Arvani, F.; Carusone, T.C. A reconfigurable 5-channel ring-oscillator-based TDC for direct time-of-flight 3D imaging. IEEE Trans. Circuits Syst. II Express Briefs 2022, 69, 2408–2412. [Google Scholar] [CrossRef]
- Hu, J.; Li, D.; Wang, X.; Ma, R.; Liu, Y.; Zhu, Z. A 40-ps resolution robust continuous running VCRO-based TDC for LiDAR applications. IEEE Trans. Circuits Syst. II Express Briefs 2023, 70, 426–430. [Google Scholar] [CrossRef]
- Arvani, F.; Carusone, A.C. Peak-SNR analysis of CMOS TDCs for SPAD-based TCSPC 3D imaging applications. IEEE Trans. Circuits Syst. II Express Briefs 2023, 70, 426–430. [Google Scholar] [CrossRef]
- Cheng, Z.; Zheng, X.; Deen, M.J.; Peng, H. Recent developments and design challenges of high-performance ring oscillator CMOS time-to-digital converters. IEEE Trans. Electron Devices 2016, 63, 235–251. [Google Scholar] [CrossRef]
- Cheng, C.C.; Hou, C.-Y. An all-digital delay-locked loop for 3-D ICs die-to-die clock deskew applications. Microelectron. J. 2017, 70, 63–71. [Google Scholar] [CrossRef]
- Sheng, D.; Cheng, C.-C.; Lee, C.-Y. An ultra-low-power and portable digitally controlled oscillator for SoC applications. IEEE Trans. Circuits Syst. II Express Briefs 2007, 54, 954–958. [Google Scholar] [CrossRef]













| 1st DCDC | 2nd DCDC | 3rd DCDC | 4th DCDC | |
|---|---|---|---|---|
| Range (ps) | 1595.2 | 578.5 | 223.4 | 26.3 |
| Resolution (ps) | 227.8 | 82.6 | 14.8 | 3.76 |
| Performance Indices | Proposed | [11] | [6] | [4] |
|---|---|---|---|---|
| Process | 0.18 μm CMOS | 0.18 μm CMOS | 0.18 μm CMOS | 0.18 μm CMOS |
| Resolution (ps) | 36~1190 | 40 | 48.8 | 208 |
| Range (μs) | 0.1~36 | N/A | 50 | N/A |
| Number of Bits | 7 | 11 | 12 | 12 |
| Configurable Resolution | Yes | No | No | No |
| Power Consumption (mW) | 28.4 | 2.19 | 0.3 | N/A |
| Area | 0.79 mm2 | 1350 μm2 | 4200 μm2 | N/A |
| PVT Sensitivity | Low | Low | High | High |
Disclaimer/Publisher’s Note: The statements, opinions and data contained in all publications are solely those of the individual author(s) and contributor(s) and not of MDPI and/or the editor(s). MDPI and/or the editor(s) disclaim responsibility for any injury to people or property resulting from any ideas, methods, instructions or products referred to in the content. |
© 2024 by the authors. Licensee MDPI, Basel, Switzerland. This article is an open access article distributed under the terms and conditions of the Creative Commons Attribution (CC BY) license (https://creativecommons.org/licenses/by/4.0/).
Share and Cite
Sheng, D.; Huang, H.-T.; Liu, R.-L.; Cheng, C.-I.; Wang, X.-T. A Configurable Resolution Time-to-Digital Converter with Low PVT Sensitivity for LiDAR Applications. Electronics 2024, 13, 2923. https://doi.org/10.3390/electronics13152923
Sheng D, Huang H-T, Liu R-L, Cheng C-I, Wang X-T. A Configurable Resolution Time-to-Digital Converter with Low PVT Sensitivity for LiDAR Applications. Electronics. 2024; 13(15):2923. https://doi.org/10.3390/electronics13152923
Chicago/Turabian StyleSheng, Duo, Hao-Ting Huang, Ruey-Lin Liu, Cheng-I Cheng, and Xiao-Ti Wang. 2024. "A Configurable Resolution Time-to-Digital Converter with Low PVT Sensitivity for LiDAR Applications" Electronics 13, no. 15: 2923. https://doi.org/10.3390/electronics13152923
APA StyleSheng, D., Huang, H.-T., Liu, R.-L., Cheng, C.-I., & Wang, X.-T. (2024). A Configurable Resolution Time-to-Digital Converter with Low PVT Sensitivity for LiDAR Applications. Electronics, 13(15), 2923. https://doi.org/10.3390/electronics13152923

