TA-Quatro: Soft Error-Resilient and Power-Efficient SRAM Cell for ADC-Less Binary Weight and Ternary Activation In-Memory Computing
Abstract
1. Introduction
- We develop a TA-Quatro IMC circuit. Recently, TAIM [1] implemented a cell-level ternary activation IMC using a 6T SRAM. Although the cell area of our TA-Quatro is larger than the 6T SRAM used in TAIM, our TA-Quatro IMC circuit delivers several advantages in addition to the soft error resilience over TAIM, which is discussed in this work.
- We aggressively scale down the supply power (VDD) of our TA-Quatro IMC circuit to 0.7V, thus significantly enhancing the power efficiency. In the SRAM-based IMC architecture, where multiple wordlines are simultaneously activated, cell-to-cell interference causes data flipping, thus making it challenging to lower the VDD. In low-voltage operations, the variability of analog computing is also problematic. Our TA-Quatro IMC circuit manages these problems efficiently.
- Our TA-Quatro IMC circuit achieves ternary activation outputs without analog-to-digital converters (ADCs). The ADC-less ternary activation output can be obtained due to the differential-end computing architecture of our TA-Quatro IMC circuit.
2. Motivation and Overview
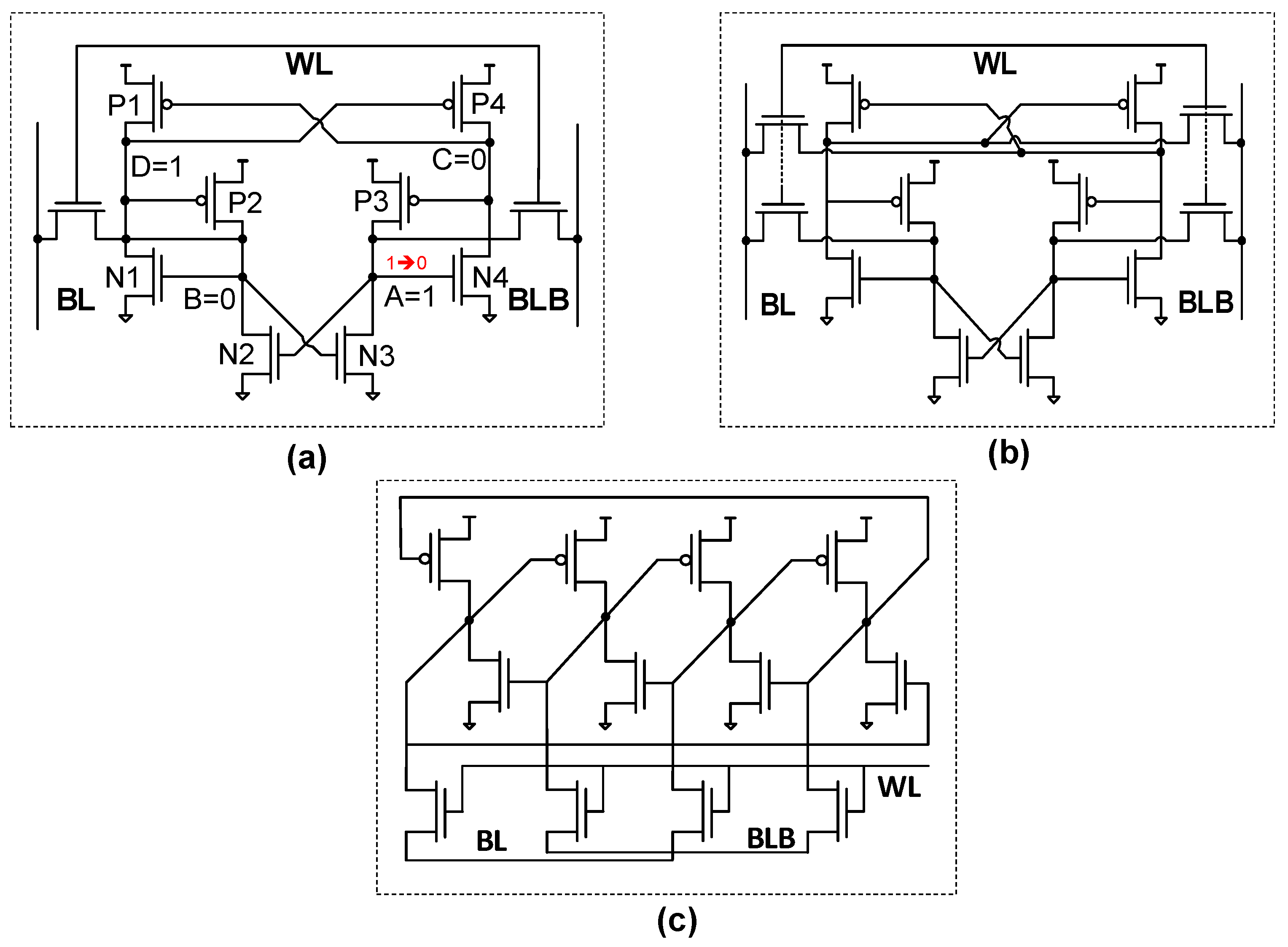
2.1. Soft Error-Resilient SRAM Cells
2.2. Ternary Activation IMC Based on SRAM Cells
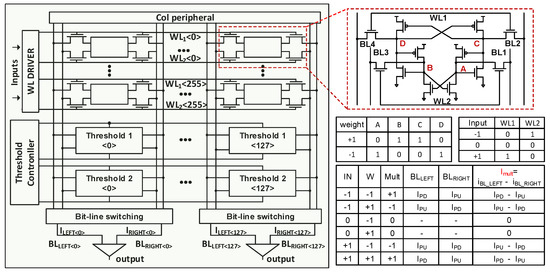
3. Our TA-Quatro IMC Operation
3.1. Write and Read Operations
3.2. In-Memory Computing Operation
4. Evaluation
4.1. The Effects of Cell-to-Cell Interference in Our TA-Quatro IMC Circuit
4.2. Power Efficiency of the Proposed TA-Quatro
4.2.1. The Optimization of Supply Voltage
4.2.2. Leakage Power Consumption
4.2.3. Power Consumption Comparison
4.3. Comparison with Recent Works on Ternary Activation and Binary Weight for In-Memory SRAM Computing and Discussion
- Step 1: Hspice simulation of TA-Quatro SRAM Cell: Firstly, we perform a circuit simulation of the TA-Quatro SRAM cell, thus incorporating process variation analysis through 1000 Monte Carlo simulations. These simulations utilize statistical models derived from 28 nm FDSOI technology.
- Step 2: Obtaining statistical parameters from Step 1 results: The simulation results indicate that the currents of the TA-Quatro SRAM cells (‘’ and ‘’) follow normal distributions, as shown in Figure 8d. The mean () and standard deviation () values of these distributions are extracted for further steps.
- Step 3: Input parameters from Step 2 for the variation-aware BTN framework: The obtained mean and standard deviation values are used as input parameters in a variation-aware inference framework for a binary weights and ternary activations neural network (BTN), as outlined in the forward propagation process in Algorithm 1 of the technique presented in [27]. Notably, we employ a ternary activation function instead of the binary activation function employed in [27]. Within this BTN framework, deep neural networks (DNNs) such as CONVNET and VGG-9 are mapped onto TA-Quatro SRAM-based IMC arrays, which are configured in a 256 × 128 array size.
- Step 4: Conduct variation-aware inferences: This step involves conducting variation-aware inferences to determine the Top-1 accuracy of the models. The inference process is repeated 100 times to enhance the reliability of the evaluation process. Each time, the Top 1 Accuracy metric is evaluated across 50,000 validation images on VGG-9 with the CIFAR-10 dataset and 10,000 validation images on CONVNET with the MNIST dataset.
- Step 5: Averaging the results: The Top-1 accuracy results from the 100 inference times are averaged to obtain a final accuracy value, thus ensuring a reliable and comprehensive evaluation.

5. Conclusions
Author Contributions
Funding
Data Availability Statement
Conflicts of Interest
Abbreviations
| CIS | CMOS image sensor |
| AOB | lways-on-block |
| IMC | In-memory computing |
| DNNs | Deep neural networks |
| TA | Ternary activation |
| BWNs | Binary weight networks |
| ADCs | Analog-to-digital converters |
| CSA | Current sense amplifier |
References
- Kang, N.; Kim, H.; Oh, H.; Kim, J.-J. TAIM: Ternary Activation In-Memory Computing Hardware with 6T SRAM Array. In Proceedings of the 59th ACM/IEEE DAC Conference, San Francisco, CA, USA, 10–14 July 2022; pp. 1081–1086. [Google Scholar] [CrossRef]
- Yin, S.; Jiang, Z.; Seo, J.-S.; Seok, M. XNOR-SRAM: In-Memory Computing SRAM Macro for Binary/Ternary Deep Neural Networks. IEEE J.-Solid-State Circuits 2020, 6, 1733–1743. [Google Scholar] [CrossRef]
- Song, S.; Kim, Y. Novel In-Memory Computing Adder Using 8+T SRAM. Electronics 2022, 11, 929. [Google Scholar] [CrossRef]
- Lee, S.; Kim, Y. Charge-Domain Static Random Access Memory-Based In-Memory Computing with Low-Cost Multiply-and-Accumulate Operation and Energy-Efficient 7-Bit Hybrid Analog-to-Digital Converter. Electronics 2024, 13, 666. [Google Scholar] [CrossRef]
- Chen, R.; Chen, L.; Han, J.; Wang, X.; Liang, Y.; Ma, Y.; Shangguan, S. Comparative Study on the “Soft Errors” Induced by Single-Event Effect and Space Electrostatic Discharge. Electronics 2021, 10, 802. [Google Scholar] [CrossRef]
- Marques, C.M.; Wrobel, F.; Aguiar, Y.Q.; Michez, A.; Saigné, F.; Boch, J.; Dilillo, L.; Alía, R.G. Evaluation of a Simplified Modeling Approach for SEE Cross-Section Prediction: A Case Study of SEU on 6T SRAM Cells. Electronics 2024, 13, 1954. [Google Scholar] [CrossRef]
- Saleh, A.M.; Serrano, J.J.; Patel, J.H. Reliability of scrubbing recovery-techniques for memory systems. IEEE Trans. Reliab. 1990, 39, 114–122. [Google Scholar] [CrossRef]
- Giordano, R.; Barbieri, D.; Perrella, S.; Catalano, R. Custom Scrubbing for Robust Configuration Hardening in Xilinx FPGAs. Instruments 2019, 3, 56. [Google Scholar] [CrossRef]
- Alnatsheh, N.; Kim, Y.; Cho, J.; Choi, K.K. A Novel 8T XNOR-SRAM: Computing-in-Memory Design for Binary/Ternary Deep Neural Networks. Electronics 2023, 12, 877. [Google Scholar] [CrossRef]
- Dang, L.D.T.; Kim, J.S.; Chang, I.J. We-Quatro: Radiation-Hardened SRAM Cell with Parametric Process Variation Tolerance. IEEE Trans. Nucl. Sci. 2017, 9, 2489–2496. [Google Scholar] [CrossRef]
- Jahinuzzaman, S.M.; Rennie, D.J.; Sachdev, M. A Soft Error Tolerant 10T SRAM Bit-Cell with Differential Read Capability. IEEE Trans. Nucl. Sci. 2009, 56, 3768–3773. [Google Scholar] [CrossRef]
- Yao, R.; Lv, H.; Zhang, Y.; Chen, X.; Zhang, Y.; Liu, X.; Bai, G. A High-Reliability 12T SRAM Radiation-Hardened Cell for Aerospace Applications. Micromachines 2023, 14, 1305. [Google Scholar] [CrossRef] [PubMed]
- Jahinuzzaman, S.M.; Rennie, D.J.; Sachdev, M. Upset Hardened Memory Design for Submicron CMOS Technology. IEEE Trans. Nucl. Sci. 1996, 43, 2874–2878. [Google Scholar]
- Weste, N.; Harris, D. CMOS VLSI Design: A Circuits and Systems Perspective, 4th ed.; Pearson Education: London, UK, 2011. [Google Scholar]
- Ottati, F.; Turvani, G.; Masera, G.; Vacca, M. Custom Memory Design for Logic-in-Memory: Drawbacks and Improvements over Conventional Memories. Electronics 2021, 10, 2291. [Google Scholar] [CrossRef]
- Wang, J.; Wang, X.; Ecker, C.; Subramaniyan, A.; Das, R.; Blaauw, D.; Sylvester, D. A 28-nm Compute SRAM with Bit-Serial Logic/Arithmetic Operations for Programmable In Memory Vector Computing. IEEE J.-Solid-State Circuits 2020, 55, 76–86. [Google Scholar] [CrossRef]
- Kang, M.; Gonugondla, S.K.; Patil, A.; Shanbhag, N.R. A Multi-Functional In-Memory Inference Processor Using a Standard 6T SRAM Array. IEEE J.-Solid-State Circuits 2018, 53, 642–655. [Google Scholar] [CrossRef]
- Jhang, C.-J.; Xue, C.-X.; Hung, J.-M.; Chang, F.-C.; Chang, M.-F. Challenges and Trends of SRAM-Based Computing-In-Memory for AI Edge Devices. IEEE Trans. Circuits Syst. I Regul. Pap. 2021, 68, 1773–1786. [Google Scholar] [CrossRef]
- Nguyen, T.-D.; Le, M.-S.; Pham, T.-N.; Chang, I.-J. TRIO: A Novel 10T Ternary SRAM Cell for Area-Efficient In-memory Computing of Ternary Neural Networks. In Proceedings of the 2023 IEEE 5th International Conference on Artificial Intelligence Circuits and Systems (AICAS), Hangzhou, China, 11–13 June 2023. [Google Scholar]
- Kim, H.; Kim, Y.; Kim, J.-J. In memory batch-normalization for resistive memory based binary neural network hardware. In Proceedings of the 24th Asia and South Pacific Design Automation Conference, Tokyo, Japan, 21–24 January 2019; pp. 645–650. [Google Scholar]
- Sari, E.; Belbahri, M.; Nia, V.P. How Does Batch Normalization Help Binary Training? arXiv 2020, arXiv:1909.09139. [Google Scholar]
- Qin, H.; Gong, R.; Liu, X.; Bai, X.; Song, J.; Sebe, N. Binary neural networks: A survey. Pattern Recognit. 2020, 105, 107281. [Google Scholar] [CrossRef]
- Oh, H.; Kim, H.; Ahn, D.; Park, J.; Kim, Y.; Lee, I.; Kim, J.-J. Energy-Efficient In-Memory Binary Neural Network Accelerator Design Based on 8T2C SRAM Cell. IEEE Solid-State Circuits Lett. 2022, 5, 70–73. [Google Scholar] [CrossRef]
- Gou, J.; Yu, B.; Stephen; Maybank, J.; Tao, D. Knowledge Distillation: A Survey. Int. J. Comput. Vis. 2021, 129, 1789–1819. [Google Scholar] [CrossRef]
- Beyer, L.; Zhai, X.; Markeeva, L.; Anil, R.; Kolesnikov, A. Knowledge distillation: A good teacher is patient and consistent. In Proceedings of the IEEE/CVF Conference on Computer Vision and Pattern Recognition, New Orleans, LA, USA, 21–24 June 2022; pp. 10915–10924. [Google Scholar]
- Dang, L.D.T.; Linh, T.D.; Dat, N.T.; Min, C.; Kim, J.; Chang, I.-J.; Han, J.-w. Comparing Variation-tolerance and SEU/TID-Resilience of Three SRAM Cells in 28nm FD-SOI Technology: 6T, Quatro, and we-Quatro. In Proceedings of the IEEE International Reliability Physics Symposium, Dallas, TX, USA, 28 April–30 May 2020. [Google Scholar]
- Le, M.-S.; Pham, T.-N.; Nguyen, T.-D.; Chang, I.-J. PR-CIM: A Variation-Aware Binary-Neural-Network Framework for Process-Resilient Computation-in-memory. arXiv 2021, arXiv:2110.09962. [Google Scholar]
- Kok, C.L.; Kok, C.L. Designing a Twin Frequency Control DC-DC Buck Converter Using Accurate Load Current Sensing Technique. Electronics 2024, 13, 45. [Google Scholar] [CrossRef]
- Kok, C.L.; Tang, H.; Teo, T.H.; Koh, Y.Y. A DC-DC Converter with Switched-Capacitor Delay Deadtime Controller and Enhanced Unbalanced-Input Pair Zero-Current Detector to Boost Power Efficiency. Electronics 2024, 13, 1237. [Google Scholar] [CrossRef]
- Teo, B.C.T.; Lim, W.C.; Venkadasamy, N.; Lim, X.Y.; Kok, C.L.; Siek, L. A CMOS Rectifier with a Wide Dynamic Range Using Switchable Self-Bias Polarity for a Radio Frequency Harvester. Electronics 2024, 13, 1953. [Google Scholar] [CrossRef]








| Operation | WL1 | WL2 | BL1 | BL2 | BL3 | BL4 | SW1 | SW2 | SW3 | SW4 | SW5 | SW6 |
|---|---|---|---|---|---|---|---|---|---|---|---|---|
| Write “+1” | VDD | VDD | GND | VDD | VDD | GND | OFF | OFF | OFF | OFF | ON | ON |
| Write “−1” | VDD | VDD | VDD | GND | GND | VDD | OFF | OFF | OFF | OFF | ON | ON |
| Read | VDD | GND | PRE | PRE | PRE | PRE | OFF | ON | OFF | ON | OFF | OFF |
| IMC | GND/VDDL | GND/VDDL | PRE | PRE | PRE | PRE | ON | ON | ON | ON | OFF | OFF |
| TAIM with ADCs | TA-Quatro with ADCs | TA-Quaro with Two-Cycle CSA | |
|---|---|---|---|
| Supply Voltage | 1.0V | 0.7V | 0.7V |
| Input/weight precision | Ternary/Binary | Ternary/Binary | Ternary/Binary |
| Array size | 256 × 128 | 256 × 128 | 256 × 128 |
| Cell area (m2) | 0.3 | 0.785 | 0.785 |
| Array leakage power consumption (W) | 12.15 | 9.83 | 9.83 |
| TOPS/W | 1244.7 * | 1298.6* | 1755.3 * |
| XNOR-SRAM [2] | TAIM [1] | This Work | |
|---|---|---|---|
| Technology | 65 nm CMOS | 28 nm CMOS | 28 nm FD-SOI |
| Number of cell transistors | 12 | 6 | 12 |
| Supply voltage | 1.0V | 1.0V | 0.7V |
| Column sensing | ADCs | ADCs | Sense Amplifiers |
| Input/weight precision | Ternary/Binary | Ternary/Binary | Ternary/Binary |
| Consume power when input is ‘0’ | Yes | No | No |
| TOPS/W | 403 | 1087 | 1755.3 |
| MNIST accuracy | 98.84% | 98.24% | 98.42% |
| CIFAR 10 accuracy | 88.78% | NA | 88.5% |
| SEU-resilient | Low | Low | High |
Disclaimer/Publisher’s Note: The statements, opinions and data contained in all publications are solely those of the individual author(s) and contributor(s) and not of MDPI and/or the editor(s). MDPI and/or the editor(s) disclaim responsibility for any injury to people or property resulting from any ideas, methods, instructions or products referred to in the content. |
© 2024 by the authors. Licensee MDPI, Basel, Switzerland. This article is an open access article distributed under the terms and conditions of the Creative Commons Attribution (CC BY) license (https://creativecommons.org/licenses/by/4.0/).
Share and Cite
Nguyen, T.-D.; Le, M.-S.; Pham, T.-N.; Chang, I.-J. TA-Quatro: Soft Error-Resilient and Power-Efficient SRAM Cell for ADC-Less Binary Weight and Ternary Activation In-Memory Computing. Electronics 2024, 13, 2904. https://doi.org/10.3390/electronics13152904
Nguyen T-D, Le M-S, Pham T-N, Chang I-J. TA-Quatro: Soft Error-Resilient and Power-Efficient SRAM Cell for ADC-Less Binary Weight and Ternary Activation In-Memory Computing. Electronics. 2024; 13(15):2904. https://doi.org/10.3390/electronics13152904
Chicago/Turabian StyleNguyen, Thanh-Dat, Minh-Son Le, Thi-Nhan Pham, and Ik-Joon Chang. 2024. "TA-Quatro: Soft Error-Resilient and Power-Efficient SRAM Cell for ADC-Less Binary Weight and Ternary Activation In-Memory Computing" Electronics 13, no. 15: 2904. https://doi.org/10.3390/electronics13152904
APA StyleNguyen, T.-D., Le, M.-S., Pham, T.-N., & Chang, I.-J. (2024). TA-Quatro: Soft Error-Resilient and Power-Efficient SRAM Cell for ADC-Less Binary Weight and Ternary Activation In-Memory Computing. Electronics, 13(15), 2904. https://doi.org/10.3390/electronics13152904

