Specific Point in Time Excitation Control Method for Spatial Multi-Degree-of-Freedom Systems under Continuous Operation
Abstract
:1. Introduction
2. Response of the Container Gantry Crane in the System Setting State
2.1. The Solution of the Response of Rotary Mechanism in the Initial Setting State

2.2. Response of the Lifting Mechanism in the Initial Setting State of the System
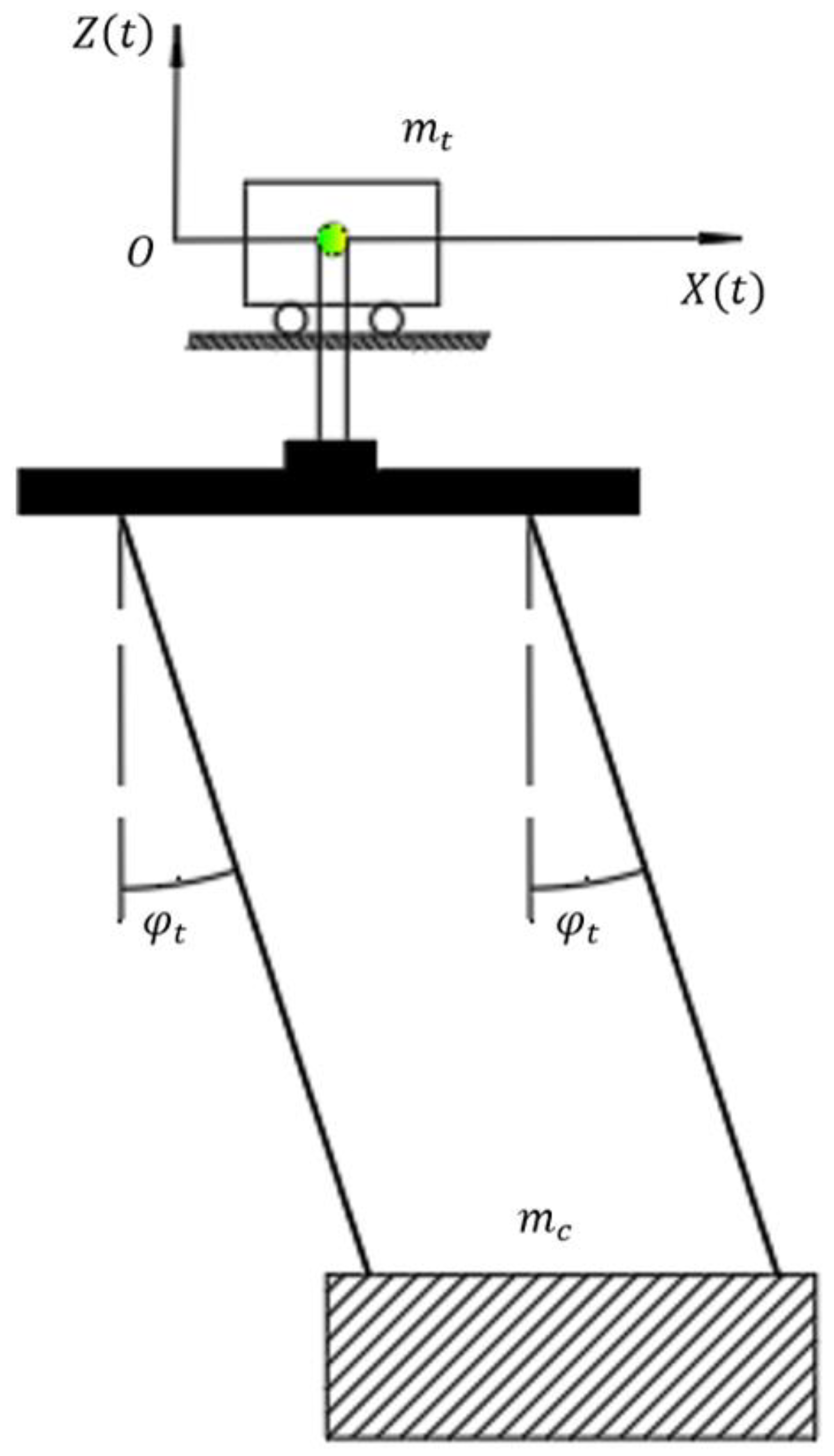
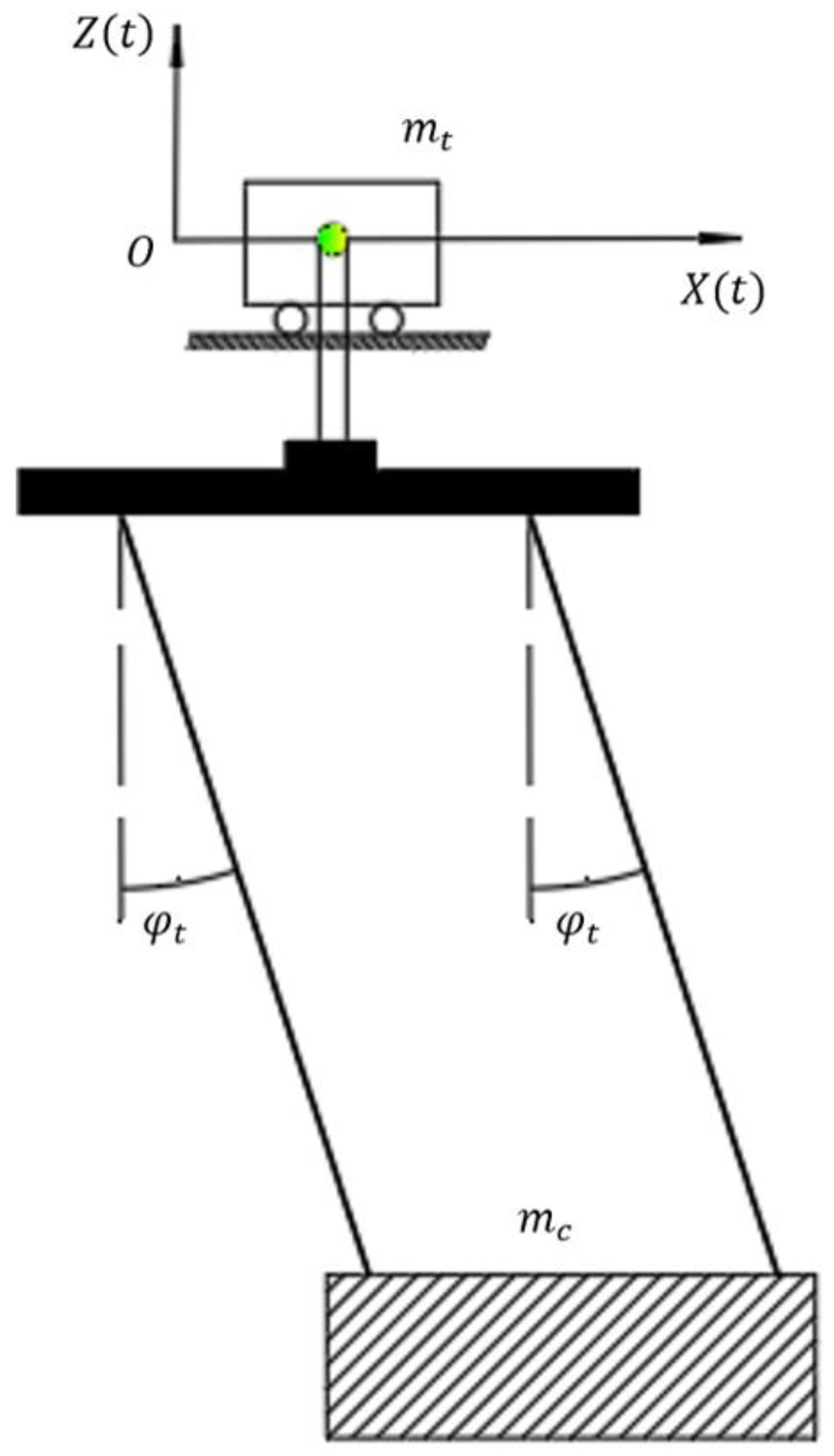
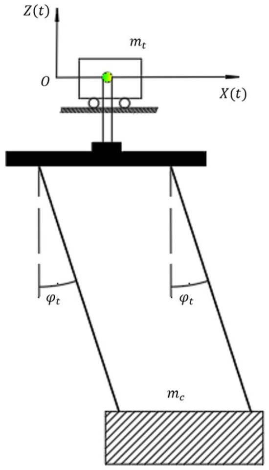
2.3. Crane Trolley Operation Mechanism
2.4. The Response Caused by the Crane Operating Mechanism in the System Setting State
3. The Proposed Method of SPE Stability Control for Multi-Degree-of-Freedom System under Specific Conditions
4. Stability Verification of Container Crane System under the Action of SPE
4.1. Dynamic Simulation Results of Container Gantry Crane Model under SPE Action
4.2. Numerical Results of Container Gantry Crane under SPE Action
5. Conclusions and Prospects
Author Contributions
Funding
Data Availability Statement
Conflicts of Interest
Appendix A
Appendix B
References
- Pham, T.Y. A smart port development: Systematic literature and bibliometric analysis. Asian J. Shipp. Logist. 2023, 39, 57–62. [Google Scholar] [CrossRef]
 - Zhang, Y. Analysis of Intelligent Logistics and Supply Chain Management Reform in the Digital Era. Sci. Soc. Res. 2023, 5, 18–22. [Google Scholar] [CrossRef]
 - Benkert, J.; Maack, R.; Meisen, T. Chances and Challenges: Transformation from a Laser-Based to a Camera-Based Container Crane Automation System. J. Mar. Sci. Eng. 2023, 11, 1718. [Google Scholar] [CrossRef]
 - Donta, P.K.; Sedlak, B.; Casamayor Pujol, V.; Dustdar, S. Governance and sustainability of distributed continuum systems: A big data approach. J. Big Data 2023, 10, 53. [Google Scholar] [CrossRef]
 - Casamayor Pujol, V.; Morichetta, A.; Murturi, I.; Kumar Donta, P.; Dustdar, S. Fundamental Research Challenges for Distributed Computing Continuum Systems. Information 2023, 14, 198. [Google Scholar] [CrossRef]
 - Wang, T.; Zhou, J.; Wu, Z.; Liu, R.; Zhang, J.; Liang, Y. A Time-Varying PD Sliding Mode Control Method for the Container Crane Based on a Radial-Spring Damper. Electronics 2022, 11, 3543. [Google Scholar] [CrossRef]
 - Yin, Y.; Tao, Y.; Wang, C. Relatively maximal perturbation bounds for global robustness of max-plus linear systems. Int. J. Robust Nonlinear Control 2021, 31, 4170–4183. [Google Scholar] [CrossRef]
 - Ngo, Q.H.; Nguyen, N.P.; Truong, Q.B.; Kim, G.-H. Application of Fuzzy Moving Sliding Surface Approach for Container Cranes. Int. J. Control Autom. Syst. 2020, 19, 1133–1138. [Google Scholar] [CrossRef]
 - Ngo, Q.H.; Nguyen, N.P.; Nguyen, C.N.; Tran, T.H.; Bui, V.H. Payload pendulation and position control systems for an offshore container crane with adaptive-gain sliding mode control. Asian J. Control 2020, 22, 2119–2128. [Google Scholar] [CrossRef]
 - Yu, Z.; Dong, H.M.; Liu, C.M. Research on Swing Model and Fuzzy Anti Swing Control Technology of Bridge Crane. Machines 2023, 11, 579. [Google Scholar] [CrossRef]
 - Fasih ur Rehman, S.M.; Mohamed, Z.; Husain, A.R.; Jaafar, H.I.; Shaheed, M.H.; Abbasi, M.A. Input shaping with an adaptive scheme for swing control of an underactuated tower crane under payload hoisting and mass variations. Mech. Syst. Signal Process. 2022, 175, 109106. [Google Scholar] [CrossRef]
 - Xin, X.; Makino, K.; Izumi, S.; Yamasaki, T.; Liu, Y. Anti-Swing control of the Pendubot using damper and spring with positive or negative stiffness. Int. J. Robust Nonlinear Control 2021, 31, 4227–4246. [Google Scholar] [CrossRef]
 - Susanto, E.; Wibowo, A.S.; Rachman, E.G. Fuzzy Swing Up Control and Optimal State Feedback Stabilization for Self-Erecting Inverted Pendulum. IEEE Access 2020, 8, 6496–6504. [Google Scholar] [CrossRef]
 - Li, H.; Hui, Y.B.; Wang, Q.; Wang, H.X.; Wang, L.J. Design of Anti-Swing PID Controller for Bridge Crane Based on PSO and SA Algorithm. Electronics 2022, 11, 3143. [Google Scholar] [CrossRef]
 - Guo, Q.; Chai, L.; Liu, H. Anti-swing sliding mode control of three-dimensional double pendulum overhead cranes based on extended state observer. Nonlinear Dyn. 2022, 111, 391–410. [Google Scholar] [CrossRef]
 - Sun, Z.; Ling, Y.; Tan, X.; Zhou, Y.; Sun, Z. Designing and application of type-2 fuzzy PID control for overhead crane systems. Int. J. Intell. Robot. Appl. 2021, 5, 10–22. [Google Scholar] [CrossRef]
 - Wu, Q.; Wang, X.; Hua, L.; Xia, M. Modeling and nonlinear sliding mode controls of double pendulum cranes considering distributed mass beams, varying roped length and external disturbances. Mech. Syst. Signal Process. 2021, 158, 107756. [Google Scholar] [CrossRef]
 - Wu, Q.; Wang, X.; Hua, L.; Xia, M. Improved time optimal anti-swing control system based on low-pass filter for double pendulum crane system with distributed mass beam. Mech. Syst. Signal Process. 2021, 151, 107444. [Google Scholar] [CrossRef]
 - Miranda-Colorado, R. Robust observer-based anti-swing control of 2D-crane systems with load hoisting-lowering. Nonlinear Dyn. 2021, 104, 3581–3596. [Google Scholar] [CrossRef]
 - Ramli, L.; Mohamed, Z.; Efe, M.; Lazim, I.M.; Jaafar, H. Efficient swing control of an overhead crane with simultaneous payload hoisting and external disturbances. Mech. Syst. Signal Process. 2020, 135, 106326. [Google Scholar] [CrossRef]
 - Tian, Z.; Yu, L.; Ouyang, H.; Zhang, G. Swing suppression control in tower cranes with time-varying rope length using real-time modified trajectory planning. Autom. Constr. 2021, 132, 103954. [Google Scholar] [CrossRef]
 - Hu, D.; Qian, Y.; Fang, Y.; Chen, Y. Modeling and nonlinear energy-based anti-swing control of underactuated dual ship-mounted crane systems. Nonlinear Dyn. 2021, 106, 323–338. [Google Scholar] [CrossRef]
 - Jensen, K.J.; Ebbesen, M.K.; Hansen, M.R. Anti-swing control of a hydraulic loader crane with a hanging load. Mechatronics 2021, 77, 102599. [Google Scholar] [CrossRef]
 - Li, C.; Xia, Y.; Wang, W. H-infinity Output-Feedback Anti-Swing Control for a Nonlinear Overhead Crane System with Disturbances Based on T-S Fuzzy Model. IEEE Access 2021, 9, 135571–135584. [Google Scholar] [CrossRef]
 - Meisuh, B.K.; Huh, J.; Haldar, A.; Kim, I.T. Comparison of seismic responses of a jumbo-size container crane retrofitted with braces, dampers, and isolation systems. Ocean Eng. 2022, 262, 112222. [Google Scholar] [CrossRef]
 - Meisuh, B.K.; Seo, J.; Huh, J.; Kim, J.; Kim, J.M. Seismic response of a container crane subjected to ground motions. Appl. Ocean Res. 2022, 126, 103270. [Google Scholar] [CrossRef]
 - Nguyen, V.B.; Huh, J.; Meisuh, B.K.; Tran, Q.H. Shake table testing for the seismic response of a container crane with uplift and derailment. Appl. Ocean Res. 2021, 114, 102811. [Google Scholar] [CrossRef]
 - Su, N.; Peng, S.; Hong, N. Stochastic dynamic transient gusty wind effect on the sliding and overturning of quayside container cranes. Struct. Infrastruct. Eng. 2021, 17, 1271–1283. [Google Scholar] [CrossRef]
 - Zhou, Y.; Fu, Z.; Zhang, J.; Li, W.; Gao, C. A Digital Twin-Based Operation Status Monitoring System for Port Cranes. Sensors 2022, 22, 3216. [Google Scholar] [CrossRef] [PubMed]
 - Tong, M.; Shen, Y. Research on coupled vibration of wheel–rail beam system in the high-speed quayside container crane. Mech. Adv. Mater. Struct. 2020, 27, 1473–1482. [Google Scholar] [CrossRef]
 - Li, W.; Quan, L.; Hu, X.; Men, X. A comprehensive framework for model validation and reliability assessment of container crane structures. Struct. Multidiscip. Optim. 2020, 62, 2817–2832. [Google Scholar] [CrossRef]
 - Kim, G.-H. Continuous Integral Sliding Mode Control of an Offshore Container Crane with Input Saturation. Int. J. Control Autom. Syst. 2020, 18, 2326–2336. [Google Scholar] [CrossRef]
 - Fasih ur Rehman, S.M.; Mohamed, Z.; Husain, A.R.; Ramli, L.; Abbasi, M.A.; Anjum, W.; Shaheed, M.H. Adaptive input shaper for payload swing control of a 5-DOF tower crane with parameter uncertainties and obstacle avoidance. Autom. Constr. 2023, 154, 104963. [Google Scholar] [CrossRef]
 - La, V.D.; Nguyen, K.T. Combination of input shaping and radial spring-damper to reduce tridirectional vibration of crane payload. Mech. Syst. Signal Process. 2019, 116, 310–321. [Google Scholar] [CrossRef]
 - Hamza, M.F.; Yap, H.J.; Choudhury, I.A.; Isa, A.I.; Zimit, A.Y.; Kumbasar, T. Current development on using Rotary Inverted Pendulum as a benchmark for testing linear and nonlinear control algorithms. Mech. Syst. Signal Process. 2019, 116, 347–369. [Google Scholar] [CrossRef]
 - Sun, M.; Wang, S.; Han, G.; An, L.; Chen, H.; Sun, Y. Modeling and Dynamic Analysis of a Triple-Tagline Anti-Swing System for Marine Cranes in an Offshore Environment. J. Mar. Sci. Eng. 2022, 10, 1146. [Google Scholar] [CrossRef]
 - Lu, B.; Lin, J.; Fang, Y.; Hao, Y.; Cao, H. Online trajectory planning for three-dimensional offshore boom cranes. Autom. Constr. 2022, 140, 104372. [Google Scholar] [CrossRef]
 - Li, G.; Ma, X.; Li, Z.; Li, Y. Optimal trajectory planning strategy for underactuated overhead crane with pendulum-sloshing dynamics and full-state constraints. Nonlinear Dyn. 2022, 109, 815–835. [Google Scholar] [CrossRef]
 - Wang, S.; Ren, Z.; Jin, G.; Chen, H. Modeling and Analysis of Offshore Crane Retrofitted with Cable-Driven Inverted Tetrahedron Mechanism. IEEE Access 2021, 9, 86132–86143. [Google Scholar] [CrossRef]
 - Li, Z.; Ma, X.; Li, Y. Nonlinear partially saturated control of a double pendulum offshore crane based on fractional-order disturbance observer. Autom. Constr. 2022, 137, 104212. [Google Scholar] [CrossRef]
 - Shi, H.; Yao, F.; Yuan, Z.; Tong, S.; Tang, Y.; Han, G. Research on nonlinear coupled tracking controller for double pendulum gantry cranes with load hoisting/lowering. Nonlinear Dyn. 2022, 108, 223–238. [Google Scholar] [CrossRef]
 


















| Maximum lifting weight | 40 t | 
| Initial lifting speed | 10 m/min | 
| Lifting speed control interval | 8 m/min–12 m/min | 
| Motor power of lifting mechanism | 55 KW | 
| Maximum lifting height | 18 m | 
| Working level of lifting mechanism | M6 | 
| Initial speed of rotating mechanism | 2 r/min | 
| Rotating mechanism speed range | 1.5 r/min–2.5 r/min | 
| Motor power of rotary mechanism | 3 KW | 
| Working level of rotary mechanism | M7 | 
| Initial running speed of the lifting trolley | 60 m/min | 
| Speed control range of hoisting trolley | 45 m/min–75 m/min | 
| Lifting trolley motor power | 15 KW | 
| Working level of lifting trolley | M7 | 
| Initial running speed of the crane | 75 m/min | 
| Crane speed control range | 60 m/min–80 m/min | 
| Crane motor power | 26 KW | 
| Working level of crane | M7 | 
| Trolley running span | 30 m | 
| Crane run across the span | 150 m | 
Disclaimer/Publisher’s Note: The statements, opinions and data contained in all publications are solely those of the individual author(s) and contributor(s) and not of MDPI and/or the editor(s). MDPI and/or the editor(s) disclaim responsibility for any injury to people or property resulting from any ideas, methods, instructions or products referred to in the content.  | 
© 2023 by the authors. Licensee MDPI, Basel, Switzerland. This article is an open access article distributed under the terms and conditions of the Creative Commons Attribution (CC BY) license (https://creativecommons.org/licenses/by/4.0/).
Share and Cite
Zhang, S.; Qin, Y. Specific Point in Time Excitation Control Method for Spatial Multi-Degree-of-Freedom Systems under Continuous Operation. Electronics 2023, 12, 4860. https://doi.org/10.3390/electronics12234860
Zhang S, Qin Y. Specific Point in Time Excitation Control Method for Spatial Multi-Degree-of-Freedom Systems under Continuous Operation. Electronics. 2023; 12(23):4860. https://doi.org/10.3390/electronics12234860
Chicago/Turabian StyleZhang, Shengtao, and Yixiao Qin. 2023. "Specific Point in Time Excitation Control Method for Spatial Multi-Degree-of-Freedom Systems under Continuous Operation" Electronics 12, no. 23: 4860. https://doi.org/10.3390/electronics12234860
APA StyleZhang, S., & Qin, Y. (2023). Specific Point in Time Excitation Control Method for Spatial Multi-Degree-of-Freedom Systems under Continuous Operation. Electronics, 12(23), 4860. https://doi.org/10.3390/electronics12234860
        
