AM/AM and AM/PM Characterization of a GaN Phase and Amplitude Setting Circuit
Abstract
:1. Introduction
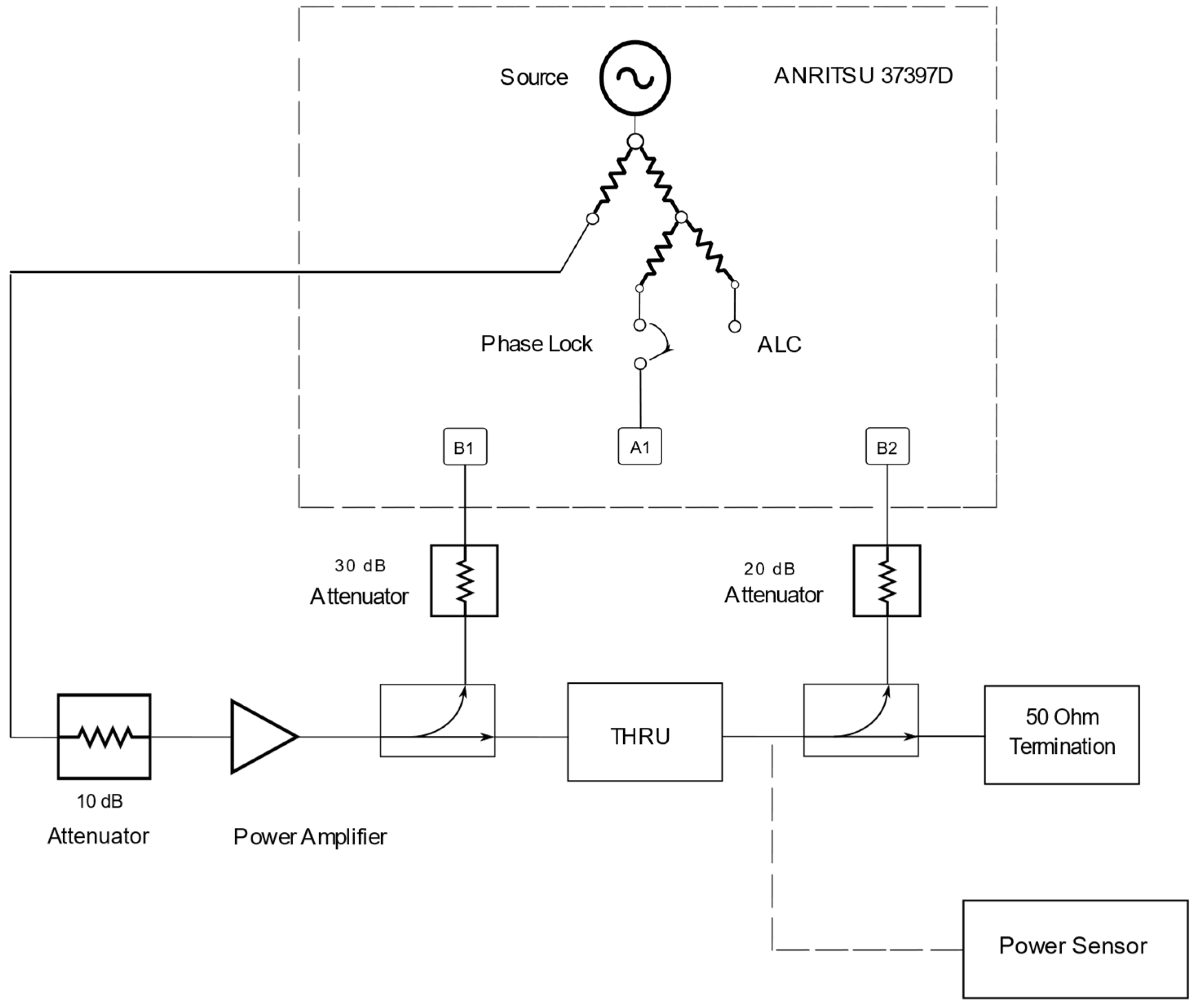
2. Measurement Setup
3. Calibration of the Test Bench
- In the first step, acquisitions were made from 12 GHz to 16 GHz with a 1 GHz step at a fixed −20 dBm source power level and stored in a file (labeled CALA file) collecting the readings made by the detector-b1 and the USB power sensor U2022XA (the dotted path in Figure 2).
- In the second step, acquisitions were made from 12 GHz to 16 GHz with a 1 GHz step and from −20 dBm up to 10 dBm (to verify the linearity of the driver amplifier) while setting an exit condition at 1 dB of gain compression of the driver amplifier. This second set of data is stored in a file (labeled CALB file), collecting the readings made using the detectors a1, b1, and b2 (refer to Figure 3).
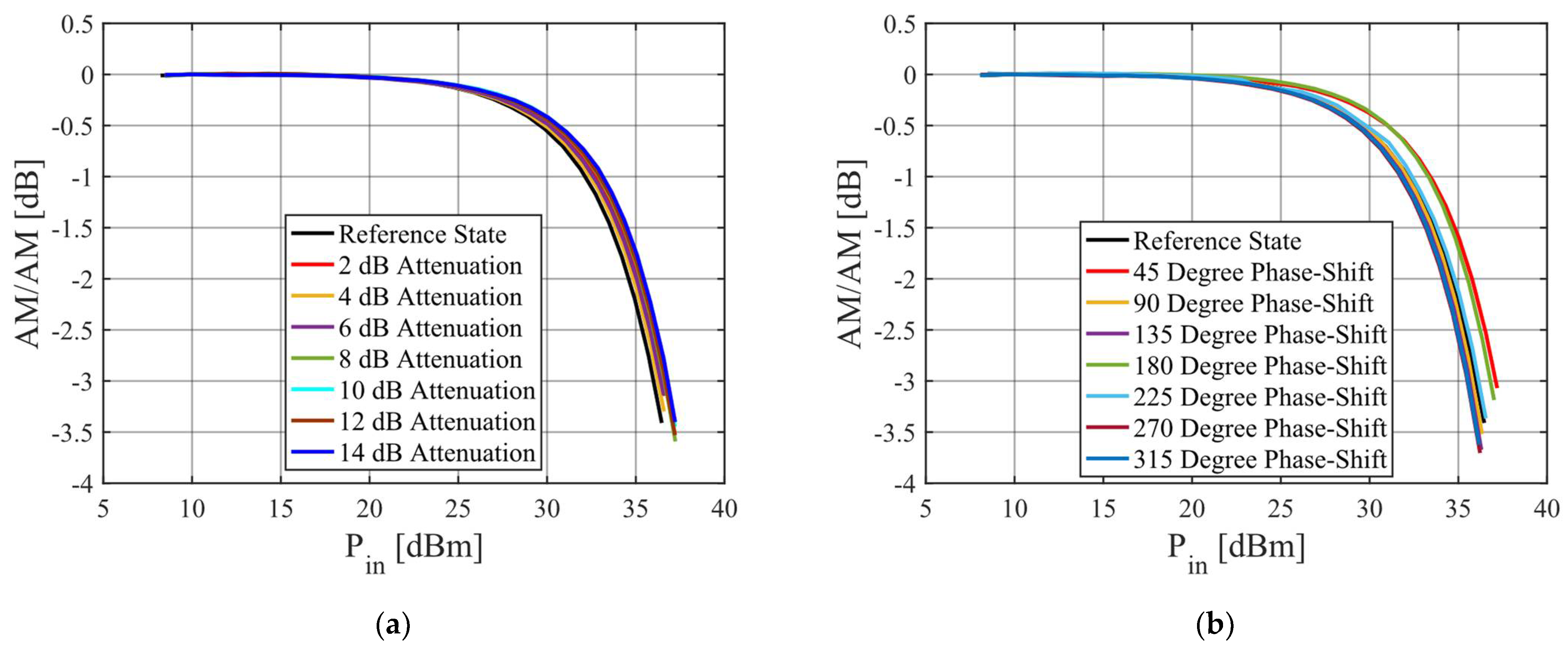
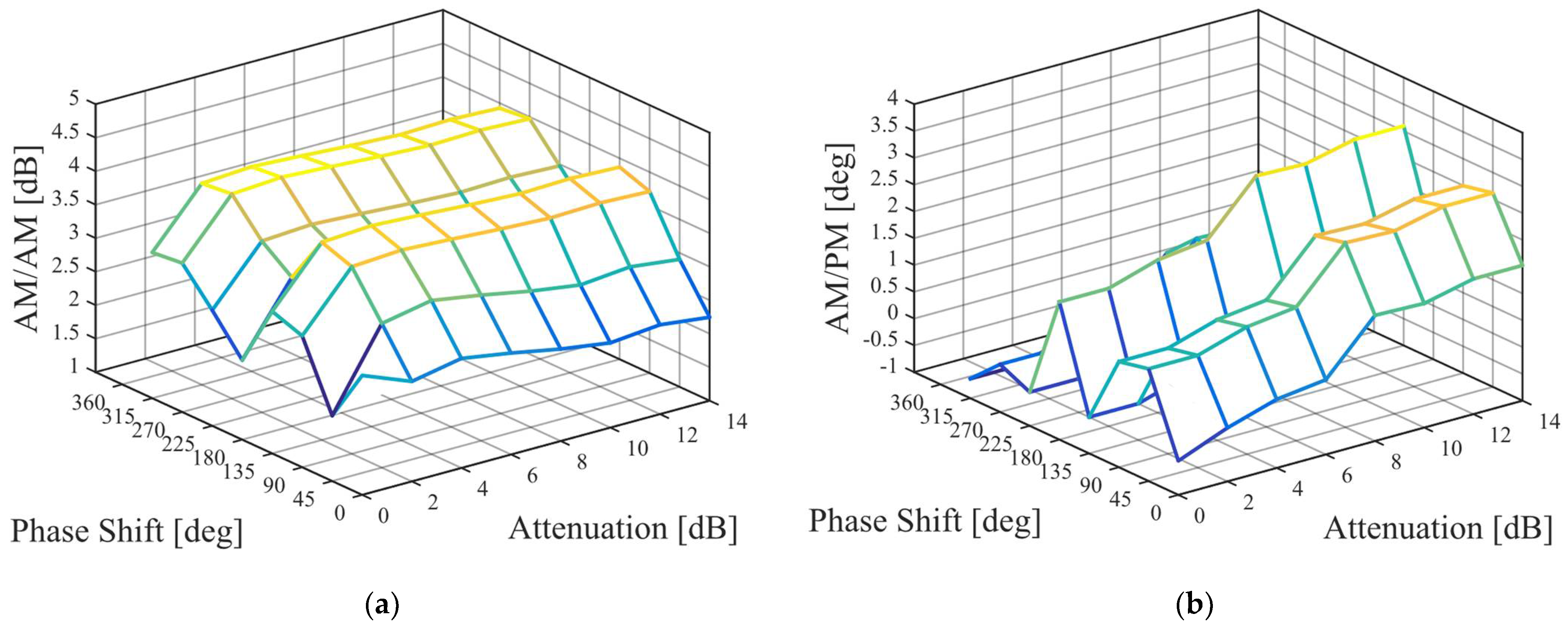
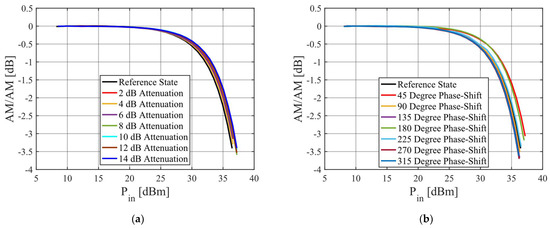
4. Test Vehicle Measurement Campaign
5. Conclusions
Author Contributions
Funding
Data Availability Statement
Conflicts of Interest
References
- De Padova, A.; Longhi, P.E.; Colangeli, S.; Ciccognani, W.; Limiti, E. Design of a GaN-on-Si Single-Balanced Resistive Mixer for Ka-band Satcom. IEEE Microw. Wirel. Compon. Lett. 2019, 29, 56–58. [Google Scholar] [CrossRef]
- Sudow, M.; Andersson, K.; Fagerlind, M.; Thorsell, M.; Nilsson, P.; Rorsman, N. A single-ended resistive X-band AlGaN/GaN HEMT MMIC mixer. IEEE Trans. Microw. Theory Tech. 2008, 56, 2201–2206. [Google Scholar] [CrossRef]
- Cheng, Z.Q.; Cai, Y.; Liu, J.; Zhou, Y.; Lau, K.M.; Chen, K.J. A low phase-noise X-band MMIC VCO using high-linearity and low-noise composite-channel Al0.3Ga0.7N/Al0.05Ga0.95N/GaN HEMTs. IEEE Trans. Microw. Theory Tech. 2007, 55, 23–29. [Google Scholar] [CrossRef]
- Kim, D.; Jeon, S. W- and G-Band GaN Voltage-Controlled Oscillators with High Output Power and High Efficiency. IEEE Trans. Microw. Theory Tech. 2021, 69, 3908–3916. [Google Scholar] [CrossRef]
- Chiu, H.-C.; Chen, C.-M.; Chang, L.-C.; Kao, H.-L. A 5-bit x-band gan hemt-based phase shifter. Electronics 2021, 10, 658. [Google Scholar] [CrossRef]
- Hettak, K.; Ross, T.N.; Cormier, G.; Wight, J.S. A new type of Robust broadband GaN HEMT-based high power high-pass/low-pass 22.5 phase shifter. Microw. Opt. Technol. Lett. 2014, 56, 347–349. [Google Scholar] [CrossRef]
- Ross, T.N.; Hettak, K.; Cormier, G.; Wight, J.S. Design of X-band GaN phase shifters. IEEE Trans. Microw. Theory Tech. 2015, 63, 244–255. [Google Scholar] [CrossRef]
- Sun, P.; Liu, H.; Zhang, Z.; Geng, M.; Zhang, R.; Luo, W. X-band 5-bit MMIC phase shifter with GaN HEMT technology. Solid State Electron. 2017, 136, 18–23. [Google Scholar] [CrossRef]
- Luo, W.; Liu, H.; Zhang, Z.; Sun, P.; Liu, X. High-Power X-Band 5-b GaN Phase Shifter with Monolithic Integrated E/D HEMTs Control Logic. IEEE Trans. Electron Devices 2017, 64, 3627–3633. [Google Scholar] [CrossRef]
- Berthelot, B.; Tartarin, J.-G.; Viallon, C.; Leblanc, R.; Maher, H.; Boone, F. GaN MMIC Differential Multi-function Chip for Ka-Band Applications. In Proceedings of the 2019 IEEE MTT-S International Microwave Symposium (IMS), Boston, MA, USA, 2–7 June 2019; pp. 1399–1402. [Google Scholar] [CrossRef]
- König, H.; Gerhard, S.; Ali, M.; Heine, U.; Tautz, S.; Eichler, C.; Brüderl, G.; Peter, M.; Lell, A.; Behringer, M.; et al. Blue high power InGaN semiconductor laser diodes: Design optimization of laser bars and single emitters for best per-formance and reliability. In High-Power Diode Laser Technology XVIII; Zediker, M.S., Ed.; SPIE: Bellingham, WA, USA, 2020; p. 25. [Google Scholar] [CrossRef]
- Piprek, J. Energy Efficiency Analysis of GaN-based Superluminescent Diodes. In Proceedings of the 2019 International Conference on Numerical Simulation of Optoelectronic Devices (NUSOD), Ottawa, ON, Canada, 8–12 July 2019; pp. 79–80. [Google Scholar] [CrossRef]
- Hagino, H.; Kawaguchi, M.; Nozaki, S.; Mochida, A.; Kano, T.; Yamaguchi, H.; Fukakusa, M.; Takigawa, S.; Koga, T.; Katayama, T. A High Brightness GaN Laser Array with Lateral-Corrugated Waveguides. IEEE Photonics Technol. Lett. 2022, 34, 779–782. [Google Scholar] [CrossRef]
- Watson, S.; Yadav, A.; Docherty, K.E.; Rafailov, E.; Perlin, P.; Najda, S.P.; Leszczynski, M.; Haji, M.; Kelly, A.E.; Gwyn, S.; et al. Applications of Single Frequency Blue Lasers. In Proceedings of the 2019 21st International Conference on Transparent Optical Networks (ICTON), Angers, France, 9–13 July 2019; pp. 1–4. [Google Scholar] [CrossRef]
- Matsubara, H.; Yoshimoto, S.; Saito, H.; Jianglin, Y.; Tanaka, Y.; Noda, S. GaN Photonic-Crystal Surface-Emitting Laser at Blue-Violet Wavelengths. Science 2008, 319, 445–447. [Google Scholar] [CrossRef]
- Zhou, S.; Liao, Z.; Sun, K.; Zhang, Z.; Qian, Y.; Liu, P.; Du, P.; Jiang, J.; Lv, Z.; Qi, S. High-Power AlGaN-Based Ultrathin Tunneling Junction Deep Ultraviolet Light-Emitting Diodes. Laser Photonics Rev. 2023. [Google Scholar] [CrossRef]
- Fan, B.; Zhao, X.; Zhang, J.; Sun, Y.; Yang, H.; Guo, L.J.; Zhou, S. Monolithically Integrating III-Nitride Quantum Structure for Full-Spectrum White LED via Bandgap Engineering Heteroepitaxial Growth. Laser Photonics Rev. 2023, 17, 2200455. [Google Scholar] [CrossRef]
- Nagata, K.; Makino, H.; Miwa, H.; Matsui, S.; Boyama, S.; Saito, Y.; Kushimoto, M.; Honda, Y.; Takeuchi, T.; Amano, H. Reduction in operating voltage of AlGaN homojunction tunnel junction deep-UV light-emitting diodes by controlling impurity concentrations. Appl. Phys. Express 2021, 14, 084001. [Google Scholar] [CrossRef]
- Pandey, A.; Shin, W.; Gim, J.; Hovden, R.; Mi, Z. High-efficiency AlGaN/GaN/AlGaN tunnel junction ultraviolet light-emitting diodes. Photonics Res. 2020, 8, 331–337. [Google Scholar] [CrossRef]
- Sarwar, A.T.M.G.; May, B.J.; Deitz, J.I.; Grassman, T.J.; McComb, D.W.; Myers, R.C. Tunnel junction enhanced nanowire ultraviolet light emitting diodes. Appl. Phys. Lett. 2015, 107, 101103. [Google Scholar] [CrossRef]
- Ozgur, Ü.; Liu, H.; Li, X.; Ni, X.; Morkoç, H. GaN-Based Light-Emitting Diodes: Efficiency at High Injection Levels. Proc. IEEE 2010, 98, 1180–1196. [Google Scholar] [CrossRef]
- Lai, W.-C.; Jang, S.-L.; Lin, K.-J.; Wang, B.-J. GaN HEMT Oscillator in Phase Locked Loop for Solar-cell and PV Unit application. In Proceedings of the 2019 IEEE International Conference on Consumer Electronics—Taiwan (ICCE-TW), Yilan, Taiwan, 20–22 May 2019; pp. 1–2. [Google Scholar] [CrossRef]
- Fioretti, A.N.; Chien, T.-C.C.; Xiao, Y.; Ballif, C.; Boccard, M. Gallium Nitride as Transparent Electron-Selective Contact in Silicon Heterojunction Solar Cells. In Proceedings of the 2019 IEEE 46th Photovoltaic Specialists Conference (PVSC), Chicago, IL, USA, 16–21 June 2019; pp. 2608–2612. [Google Scholar] [CrossRef]
- Nicoletto, M.; Caria, A.; De Santi, C.; Buffolo, M.; Huang, X.; Fu, H.; Chen, H.; Zhao, Y.; Meneghesso, G.; Zanoni, E.; et al. Optically Induced Degradation Due to Thermally Activated Diffusion in GaN-Based InGaN/GaN MQW Solar Cells. IEEE Trans. Electron Devices 2023, 70, 1115–1120. [Google Scholar] [CrossRef]
- Herd, J.S.; Conway, M.D. The Evolution to Modern Phased Array Architectures. Proc. IEEE 2016, 104, 519–529. [Google Scholar] [CrossRef]
- Ramella, C.; Longhi, P.E.; Pace, L.; Nasri, A.; Ciccognani, W.; Pirola, M.; Limiti, E. Ultralow-Power Digital Control and Signal Conditioning in GaAs MMIC Core Chip for X-Band AESA Systems. IEEE Trans. Microw. Theory Tech. 2022, 70, 367–379. [Google Scholar] [CrossRef]
- Piacibello, A.; Rubio, J.J.M.; Quaglia, R.; Camarchia, V. AM/PM Characterization of Wideband Power Amplifiers. In Proceedings of the 2022 IEEE Topical Conference on RF/Microwave Power Amplifiers for Radio and Wireless Applications (PAWR), Las Vegas, NV, USA, 16–19 January 2022; pp. 82–85. [Google Scholar] [CrossRef]
- Clark, C.; Silva, C.; Moulthrop, A.; Muha, M. Power-amplifier characterization using a two-tone measurement technique. IEEE Trans. Microw. Theory Tech. 2002, 50, 1590–1602. [Google Scholar] [CrossRef]
- Nunes, L.C.; Cabral, P.M.; Pedro, J.C. AM/PM distortion in GaN Doherty power amplifiers. In Proceedings of the 2014 IEEE MTT-S International Microwave Symposium (IMS2014), Tampa, FL, USA, 1–6 June 2014; pp. 1–4. [Google Scholar] [CrossRef]
- Farsi, S.; Wang, Y.; Ali-Ahmad, W. Characterization and Estimation of EVM Hump Based on Transmitter AM-AM and AM-PM Characteristics. In Proceedings of the 2022 IEEE/MTT-S International Microwave Symposium—IMS 2022, Denver, CO, USA, 19–24 June 2022; pp. 778–780. [Google Scholar] [CrossRef]
- Arno, P.; Launay, F.; Fournier, J.; Grasset, J. A simple method based on AM-AM, AM-PM measurements and CDMA signal statistics for RF power amplifier characterization. In Proceedings of the 2004 47th Midwest Symposium on Circuits and Systems, 2004, MWSCAS ’04, Hiroshima, Japan, 25–28 July 2004; pp. III_1–III_4. [Google Scholar] [CrossRef]
- Ciccognani, W.; Colantonio, P.; Giannini, F.; Limiti, E.; Rossi, M. AM/AM and AM/PM power amplifier characterisation technique. In Proceedings of the 15th International Conference on Microwaves, Radar and Wireless Communications (IEEE Cat. No.04EX824), Warsaw, Poland, 17–19 May 2004; pp. 678–681. [Google Scholar] [CrossRef]
- Sen, S.; Devarakond, S.; Chatterjee, A. Low cost AM/AM and AM/PM distortion measurement using distortion-to-amplitude transformations. In Proceedings of the 2009 International Test Conference, Austin, TX, USA, 1–6 November 2009; pp. 1–10. [Google Scholar] [CrossRef]
- Letailleur, L.; Villegas, M.; Al Hajjar, A.; Kacou, C.E. Characterization of GaN Power Amplifier Using 5G mm-Wave Modulated Signals. In Proceedings of the 2023 IEEE Topical Conference on RF/Microwave Power Amplifiers for Radio and Wireless Applications, Las Vegas, NV, USA, 22–25 January 2023; pp. 4–6. [Google Scholar] [CrossRef]
- Acciari, G.; Colantonio, P.; De Dominicis, M.; Rossi, M. A Fast AM/AM and AM/PM Characterization Technique. In Proceedings of the Gallium Arsenide Applications Symposium (GAAS), Munich, Germany, 6–10 October 2003. [Google Scholar] [CrossRef]
- Danieli, R.; Piazzon, L.; Giofrè, R.; Colantonio, P.; Giannini, F. Low-Cost AM/AM and AM/PM Characterization Setup Based on Scalar Measurements, European Microwave Conference (EuMC). In Proceedings of the 16th European Microwave Week (EuMW 2013), Nuremberg, Germany, 6–10 October 2013. [Google Scholar]
- Bensmida, S.; Ghannouchi, F.M.; Bergeault, E. An Original Setup for Power Amplifier AM-AM and AM-PM Characterization. In Proceedings of the 2008 IEEE Instrumentation and Measurement Technology Conference, Victoria, BC, Canada, 12–15 May 2008; pp. 54–57. [Google Scholar] [CrossRef]
- Ghisotti, S.; Pisa, S.; Colantonio, P. S Band Hybrid Power Amplifier in GaN Technology with Input/Output Multi Harmonic Tuned Terminations. Electronics 2021, 10, 2318. [Google Scholar] [CrossRef]
- Hraimel, B.; Zhang, X. Characterization and compensation of AM-AM and AM-PM distortion in mixed polarization radio over fiber systems. In Proceedings of the 2012 IEEE/MTT-S International Microwave Symposium Digest, Montreal, QC, Canada, 17–22 June 2012; pp. 1–3. [Google Scholar] [CrossRef]
- Alleva, V.; Bettidi, A.; Ciccognani, W.; De Dominicis, M.; Ferrari, M.; Lanzieri, C.; Limiti, E.; Peroni, M. High-power monolithic AlGaN/GaN high electron mobility transistor switches. Int. J. Microw. Wirel. Technol. 2009, 1, 339–345. [Google Scholar] [CrossRef]
- Alleva, V.; Megna, A.; Peroni, M.; Romanini, P.; Bettidi, A.; Cetronio, A.; Ciccognani, W.; De Dominicis, M.; Ferrari, M.; Giovine, E.; et al. High Power Microstrip GaN-HEMT Switches for Microwave Applications. In Proceedings of the 2008 European Microwave Integrated Circuit Conference, Amsterdam, The Netherlands, 27–28 October 2008; pp. 194–197. [Google Scholar] [CrossRef]
- Cassinese, A.; Barra, M.; Ciccognani, W.; Cirillo, M.; De Dominicis, M.; Limiti, E.; Prigiobbo, A.; Russo, R.; Vaglio, R. Miniaturized Superconducting Filter Realized by Using Dual-Mode and Stepped Resonators. IEEE Trans. Microw. Theory Tech. 2004, 52, 97–104. [Google Scholar] [CrossRef]
- Pace, L.; Longhi, P.E.; Ciccognani, W.; Colangeli, S.; Deborgies, F.; Limiti, E. E- to K-band GaAs Sub-Harmonic Mixer Design and Characterization. In Proceedings of the 2022 International Workshop on Integrated Nonlinear Microwave and Millimetre-Wave Circuits (INMMiC), Cardiff, UK, 7–8 April 2022; pp. 1–3. [Google Scholar] [CrossRef]
- Apollonio, D.; Arena, S.; Biondi, A.; Cavanna, T.; Ciccognani, W.; Limiti, E.; Ranieri, P.; Scappaviva, F.; Suriani, A.; Vitulli, F. QV band receiver converter for satellite communications. In Proceedings of the 2014 11th European Radar Conference, Rome, Italy, 8–10 October 2014; pp. 360–363. [Google Scholar] [CrossRef]
- Qi, H.; Junning, C.; Hao, P.; Jian, M. A 1.2 V High Linearity Mixer Design. In Proceedings of the 2007 8th International Conference on Electronic Measurement and Instruments, Xi’an, China, 16–18 August 2007; pp. 2-74–2-77. [Google Scholar] [CrossRef]
- Hsiao, H.-F.; Tu, C.-H.; Tsai, H.-H.; Cheng, H.-C.; Chang, D.-C.; Juang, Y.-Z. Down-converted mixer verification using the measured X-parameter for system engineering designers. In Proceedings of the 2013 Asia-Pacific Microwave Conference Proceedings (APMC), Seoul, Republic of Korea, 5–8 November 2013; pp. 854–856. [Google Scholar] [CrossRef]
- Rolain, Y.; Vael, P.; Van Nioer, W.; Barel, A. Complete 3-port measurement of microwave mixers using a non-linear vectorial network analyser. In Proceedings of the 1998 IEEE MTT-S International Microwave Symposium Digest (Cat. No. 98CH36192), Baltimore, MD, USA, 7–12 June 1998; Volume 3, pp. 1491–1494. [Google Scholar] [CrossRef]
- Kim, J.; Jeong, J.; Kim, S.; Park, C.; Lee, K. Prediction of error vector magnitude using AM/AM, AM/PM distortion of RF power amplifier for high order modulation OFDM system. In Proceedings of the IEEE MTT-S International Microwave Symposium Digest, Long Beach, CA, USA, 17 June 2005; pp. 2027–2030. [Google Scholar] [CrossRef]
- Sombrin, J.B. Effective AM/AM and AM/PM curves derived from EVM simulations or measurements on constellations. In Proceedings of the 99th ARFTG Microwave Measurement Conference: From Fundamental to Cutting-Edge Microwave Measurement Techniques to Support 6G and Beyond, ARFTG 2022, Denver, CO, USA, 24 June 2022. [Google Scholar] [CrossRef]
- ERZIA. ERZ HPA 0600 1800 40 E Datasheet. Available online: https://www.erzia.com/products/hpa/545 (accessed on 8 October 2023).
- Anritsu Company. Series 37XXXD Vector Network Analyzer Operation Manual. 2007. Available online: http://www.us.anritsu.com (accessed on 8 October 2023).
- Teppati, V.; Ferrero, A.; Sayed, M. Modern RF and Microwave Measurement Techniques; Cambridge University Press (CUP): Cambridge, UK, 2013; ISBN 9781107036413. [Google Scholar]









| Ref. | DUT | Power | Frequency | AM/AM Deviation | AM/PM Deviation |
|---|---|---|---|---|---|
| [9] | GaN-based 5-bit Phase Shifter | 34.8 dBm | 8–12 GHz | 0.8 dB | 6.4 degrees |
| [10] | GaN-Si 100 nm Attenuator and Phase-Shifter | 28 dBm (*) | 30–40 GHz | 1 dB | 8 degrees |
| [29] | Doherty Power Amplifier | 33 dBm | 900 MHz | 2 dB | 14 degrees |
| [32] | Power Amplifier | 37 dBm | 2 GHz | ~ | 9 degrees |
| [33] | Power Amplifier | 5.92 dBm | 2.4 GHz | 0.65 dB | 1.4 degrees |
| [36] | Power Amplifier | 31 dBm | 3 GHz | 0.3 dB | 0.25 degrees |
| [37] | Power Amplifier | 5 dBm | 2 GHz | 0.05 dB | 0.5 degrees |
| [40] | GaN HEMT switch–SPDT | 39 dBm | 2–18 GHz | 0.3 dB | ~ |
| [41] | GaN HEMT switch–SPDT | 39 dBm | 9 GHz | 0.91 dB | ~ |
| [46] | Mixer | 5 dBm | 11.5 GHz | ~ | 18 degrees |
| [T.W.] ** | GaN-SiC 150 nm PAS | 37.8 dBm | 12–16 GHz | 3.7 dB | 2.8 Degrees |
Disclaimer/Publisher’s Note: The statements, opinions and data contained in all publications are solely those of the individual author(s) and contributor(s) and not of MDPI and/or the editor(s). MDPI and/or the editor(s) disclaim responsibility for any injury to people or property resulting from any ideas, methods, instructions or products referred to in the content. |
© 2023 by the authors. Licensee MDPI, Basel, Switzerland. This article is an open access article distributed under the terms and conditions of the Creative Commons Attribution (CC BY) license (https://creativecommons.org/licenses/by/4.0/).
Share and Cite
Colangeli, S.; Das, A.; Longhi, P.E.; Ciccognani, W.; De Angelis, E.; Bolli, F.; Limiti, E. AM/AM and AM/PM Characterization of a GaN Phase and Amplitude Setting Circuit. Electronics 2023, 12, 4746. https://doi.org/10.3390/electronics12234746
Colangeli S, Das A, Longhi PE, Ciccognani W, De Angelis E, Bolli F, Limiti E. AM/AM and AM/PM Characterization of a GaN Phase and Amplitude Setting Circuit. Electronics. 2023; 12(23):4746. https://doi.org/10.3390/electronics12234746
Chicago/Turabian StyleColangeli, Sergio, Anjeeshnu Das, Patrick Ettore Longhi, Walter Ciccognani, Enzo De Angelis, Filippo Bolli, and Ernesto Limiti. 2023. "AM/AM and AM/PM Characterization of a GaN Phase and Amplitude Setting Circuit" Electronics 12, no. 23: 4746. https://doi.org/10.3390/electronics12234746
APA StyleColangeli, S., Das, A., Longhi, P. E., Ciccognani, W., De Angelis, E., Bolli, F., & Limiti, E. (2023). AM/AM and AM/PM Characterization of a GaN Phase and Amplitude Setting Circuit. Electronics, 12(23), 4746. https://doi.org/10.3390/electronics12234746

