Optimizing Autonomous Vehicle Communication through an Adaptive Vehicle-to-Everything (AV2X) Model: A Distributed Deep Learning Approach
Abstract
:1. Introduction
- The suggested approach mixes an optimization technique with a deep learning algorithm to create a new, effective way to improve connectivity between AVs and everything (X).
- To determine the reliability and efficiency of the communication between AVs and everything, an optimization problem is established utilizing the Lagrange optimization technique and a 1D Convolutional Neural Network (1D-CNN) network.
- The suggested approach attempts to improve communication between AVs and destinations (AV2X) in terms of energy efficiency (EE) and achievable data rate (R). This can be accomplished by identifying the shortest possible distance between AVs and anything in order to maximize total EE and R. Alternately, other factors should be taken into account like transmission power, interference distances that could arise from existing transmission devices sharing the same spectrum, the necessary signal-to-interference-plus-noise ratio (SINRth), and path loss.
- Through the deep learning model, AVs will be able predict the maximum suitable permissible transmission distance while taking into consideration various environmental conditions.
- The proposed approach is examined in terms of energy efficiency and overall achievable data rate under various environmental conditions, such as transmission power, transmission ranges, and needed SINRth values. These discoveries allow for the enhancement of AV networks’ performance.
2. Related Work
3. Materials and Methods
3.1. System Model and Problem Formulation
3.1.1. AV2X Communication Scenario
3.2. Dataset Generation
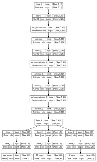
3.3. Proposed Deep Learning Model
4. Results and Discussion
5. Conclusions
Funding
Data Availability Statement
Conflicts of Interest
Glossary
| List of symbols | |
| System bandwidth | |
| I2X | Interference at any destination |
| I2Xmax | The maximum permitted interference |
| C1, C2 | Lagrangian optimization constraints |
| dRXi | The transmission distance between relay-vehicle and the required destination between everything of the i-th |
| The maximum interfered D2D transmission power (Dtx). | |
| The maximum interfered CUE transmission power | |
| The maximum interfered V2V transmission power | |
| The channel gain coefficient between transmission D2D device (Dtx) and the destination | |
| The channel gain coefficient between CUE and the destination | |
| The channel gain coefficient between transmitted V2V (Vtx) and the destination | |
| Autonomous vehicle transmission | |
| Maximum autonomous vehicle transmission | |
| Signal-to-interference-plus-noise ratio between autonomous vehicle-relay-vehicle (AR) | |
| The combined signal-to-interference-plus-noise ratio between autonomous vehicle-everything (AX) and relay-vehicle-everything (RX) | |
| The channel gain between autonomous vehicle and relay-vehicle | |
| The channel gain between autonomous vehicle and everything | |
| The channel gain between relay vehicle and everything | |
| I1 | The interference that occurs between autonomous vehicle and relay-vehicle link |
| I2 | The interference that occurs between autonomous vehicle and everything link |
| I3 | The interference that occurs between relay vehicle and everything link |
| N | The noise power |
| The achievable data rate between relay-vehicle and everything | |
| The achievable data rate between autonomous vehicle and everything | |
| PA | Autonomous vehicle transmission power |
| Po | Internal circuitry power |
| EE | System energy efficiency |
| R | Overall achievable data rate |
| The interfere transmission device (Dtx) transmission power | |
| The interfere transmission CUE transmission power | |
| The interfere transmission vehicle (Vtx) transmission power | |
| The channel gain coefficient between interfere transmission device (Dtx) and everything | |
| The channel gain coefficient interfere transmission CUE and everything | |
| The channel gain coefficient between interfere transmission vehicle (Vtx) and everything | |
| PLo | The path loss constant |
| SINRth | The required signal-to-interference-plus-noise-ratio threshold |
| n | The total number of recorded data |
| The actual value | |
| The predicted value | |
| λ1, λ2 | non-negative Lagrangian multipliers |
| α | Path loss exponent |
References
- Guevara, L.; Cheein, F.A. The Role of 5G Technologies: Challenges in Smart Cities and Intelligent Transportation Systems. Sustainability 2020, 12, 6469. [Google Scholar] [CrossRef]
- Hancock, P.A.; Nourbakhsh, I.; Stewart, J. On the future of transportation in an era of automated and autonomous vehicles. Proc. Natl. Acad. Sci. USA 2019, 116, 7684–7691. [Google Scholar] [CrossRef]
- Bagloee, S.A.; Tavana, M.; Asadi, M.; Oliver, T. Autonomous vehicles: Challenges, opportunities, and future implications for transportation policies. J. Mod. Transp. 2016, 24, 284–303. [Google Scholar] [CrossRef]
- Osman, R.A.; Abdelsalam, A.K. A Novel Adaptive Approach for Autonomous Vehicle Based on Optimization Technique for Enhancing the Communication between Autonomous Vehicle-to-Everything through Cooperative Communication. Appl. Sci. 2021, 11, 9089. [Google Scholar] [CrossRef]
- Malik, S.; Khan, M.A.; El-Sayed, H. Collaborative Autonomous Driving—A Survey of Solution Approaches and Future Challenges. Sensors 2021, 21, 3783. [Google Scholar] [CrossRef] [PubMed]
- Ngo, H.; Fang, H.; Wang, H. Cooperative Perception with V2V Communication for Autonomous Vehicles. IEEE Trans. Veh. Technol. 2023, 72, 11122–11131. [Google Scholar] [CrossRef]
- Khayyam, H.; Javadi, B.; Jalili, M.; Jazar, R.N. Artificial intelligence and internet of things for autonomous vehicles. In Nonlinear Approaches in Engineering Applications: Automotive Applications of Engineering Problems; Springer: Cham, Switzerland, 2020; pp. 39–68. [Google Scholar] [CrossRef]
- Almotairi, K.H. Application of internet of things in healthcare domain. J. Umm Al-Qura Univ. Eng. Archit. 2023, 14, 1–12. [Google Scholar] [CrossRef]
- Liu, R.; Dou, J.; Li, P.; Wu, J.; Cui, Y. Simulation and field trial results of reconfigurable intelligent surfaces in 5G networks. IEEE Access 2022, 10, 122786–122795. [Google Scholar] [CrossRef]
- Alotaibi, S. Network capacity improvement in 5G by using dynamic fractional frequency reuse (FFR). J. Umm Al-Qura Univ. Eng. Archit. 2023, 14, 105–114. [Google Scholar] [CrossRef]
- Cheng, X.; Huang, Z.; Chen, S. Vehicular communication channel measurement, modelling, and application for beyond 5G and 6G. IET Commun. 2020, 14, 3303–3311. [Google Scholar] [CrossRef]
- Balkus, S.V.; Wang, H.; Cornet, B.D.; Mahabal, C.; Ngo, H.; Fang, H. A survey of collaborative machine learning using 5G vehicular communications. IEEE Commun. Surv. Tutor. 2022, 24, 1280–1303. [Google Scholar] [CrossRef]
- Jebamikyous, H.H.; Kashef, R. Autonomous vehicles perception (avp) using deep learning: Modeling, assessment, and challenges. IEEE Access 2022, 10, 10523–10535. [Google Scholar] [CrossRef]
- Al-Ashhab, M.S.; Alhejaili, A.F.; Munshi, S.M. Developing a multi-objective flexible job shop scheduling optimization model using Lexicographic procedure considering transportation time. J. Umm Al-Qura Univ. Eng. Archit. 2023, 14, 57–70. [Google Scholar] [CrossRef]
- Zheng, M.; Yu, J. A probabilistic multi-objective optimization mechanical design. J. Umm Al-Qura Univ. Eng. Archit. 2023, 14, 115–121. [Google Scholar] [CrossRef]
- Sun, W.; Wang, S.; Shao, Y.; Sun, Z.; Levin, M.W. Energy and mobility impacts of connected autonomous vehicles with co-optimization of speed and powertrain on mixed vehicle platoons. Transp. Res. Part C Emerg. Technol. 2022, 142, 103764. [Google Scholar] [CrossRef]
- Osman, R.A.; Zaki, A.I.; Abdelsalam, A.K. Novel Road Traffic Management Strategy for Rapid Clarification of the Emergency Vehicle Route Based on V2V Communications. Sensors 2021, 21, 5120. [Google Scholar] [CrossRef]
- Osman, R.A.; Peng, X.H.; Omar, M.A. Adaptive cooperative communications for enhancing QoS in vehicular networks. Phys. Commun. 2019, 34, 285–294. [Google Scholar] [CrossRef]
- Abuhdima, E.; Liu, J.; Zhao, C.; Elqaouaq, A.; Comert, G.; Huang, C.T.; Pisu, P.; Nazeri, A.H. Impact of dust and sand on 5G communications for connected vehicles applications. IEEE J. Radio Freq. Identif. 2022, 6, 229–239. [Google Scholar] [CrossRef]
- Osman, R.A.; Saleh, S.N.; Saleh, Y.N.M.; Elagamy, M.N. Enhancing the Reliability of Communication between Vehicle and Everything (V2X) Based on Deep Learning for Providing Efficient Road Traffic Information. Appl. Sci. 2021, 11, 11382. [Google Scholar] [CrossRef]
- Liu, B.; Han, C.; Liu, X.; Li, W. Vehicle artificial intelligence system based on intelligent image analysis and 5G network. Int. J. Wirel. Inf. Netw. 2023, 30, 86–102. [Google Scholar] [CrossRef]
- Anbalagan, S.; Raja, G.; Gurumoorthy, S.; Suresh, R.D.; Dev, K. IIDS: Intelligent Intrusion Detection System for Sustainable Development in Autonomous Vehicles. IEEE Trans. Intell. Transp. Syst. 2023. [Google Scholar] [CrossRef]
- Bagheri, H.; Noor-A-Rahim, M.; Liu, Z.; Lee, H.; Pesch, D.; Moessner, K.; Xiao, P. 5G NR-V2X: Toward connected and cooperative autonomous driving. IEEE Commun. Stand. Mag. 2021, 5, 48–54. [Google Scholar] [CrossRef]
- Yu, K.; Lin, L.; Alazab, M.; Tan, L.; Gu, B. Deep learning-based traffic safety solution for a mixture of autonomous and manual vehicles in a 5G-enabled intelligent transportation system. IEEE Trans. Intell. Transp. Syst. 2020, 22, 4337–4347. [Google Scholar] [CrossRef]
- Miao, J.; Wang, Z.; Ning, X.; Xiao, N.; Cai, W.; Liu, R. Practical and secure multifactor authentication protocol for autonomous vehicles in 5G. Softw. Pract. Exp. 2022. [Google Scholar] [CrossRef]
- Szalay, Z.; Ficzere, D.; Tihanyi, V.; Magyar, F.; Soós, G.; Varga, P. 5G-Enabled Autonomous Driving Demonstration with a V2X Scenario-in-the-Loop Approach. Sensors 2020, 20, 7344. [Google Scholar] [CrossRef] [PubMed]
- Algarni, A.; Thayananthan, V. Improvement of 5G Transportation Services with SDN-Based Security Solutions and beyond 5G. Electronics 2021, 10, 2490. [Google Scholar] [CrossRef]
- Wang, P.; Wu, W.; Liu, J.; Chai, G.; Feng, L. Joint Spectrum and Power Allocation for V2X Communications with Imperfect CSI. IEEE Trans. Veh. Technol. 2023. [Google Scholar] [CrossRef]
- Wang, S.; Wang, D.; Li, C.; Xu, W. Full Duplex AF and DF Relaying Under Channel Estimation Errors for V2V Communications. IEEE Access 2018, 6, 65321–65332. [Google Scholar] [CrossRef]
- Kiela, K.; Barzdenas, V.; Jurgo, M.; Macaitis, V.; Rafanavicius, J.; Vasjanov, A.; Kladovscikov, L.; Navickas, R. Review of V2X–IoT standards and frameworks for ITS applications. Appl. Sci. 2020, 10, 4314. [Google Scholar] [CrossRef]
- Yang, Y.; Fei, D.; Dang, S. Inter-vehicle cooperation channel estimation for IEEE 802.11 p V2I communications. J. Commun. Netw. 2017, 19, 227–238. [Google Scholar] [CrossRef]
- Mensi, N.; Rawat, D.B. On the performance of partial ris selection vs. partial relay selection for vehicular communications. IEEE Trans. Veh. Technol. 2022, 71, 9475–9489. [Google Scholar] [CrossRef]
- Sachan, S.; Sharma, R.; Sehgal, A. SINR based energy optimization schemes for 5G vehicular sensor networks. Wirel. Pers. Commun. 2022, 127, 1023–1043. [Google Scholar] [CrossRef]
- Baştürk, İ.; Chen, Y. Energy efficiency for MISO-OFDMA-based user-relay assisted cellular networks. IEEE Syst. J. 2020, 14, 5274–5283. [Google Scholar] [CrossRef]
- Chae, S.H.; Jeon, S.-W.; Jeong, C. Efficient Resource Allocation for IoT Cellular Networks in the Presence of Inter-Band Interference. IEEE Trans. Commun. 2019, 67, 4299–4308. [Google Scholar] [CrossRef]












| Technique Used | Optimization Problem | Deep Learning Technique | Metric for System Evaluation | Investigation Scenario | |
|---|---|---|---|---|---|
| [4] | Multihop relaying between AV2X; direct AV2X and V2V communications. | Improving system QoS by determining the best autonomous inter-vehicle position from which to connect with or relay information to any destination. | N/A |
| Communication between AV2X is relayed with direct communication between V2V. |
| [17] | Multihop V2V communication. | Finding the maximum distance between the emergency vehicle and the nearest vehicle through Lagrance optimization. | N/A |
| V2V communication is used to find the nearest vehicle to communicate with in order to get information about road traffic conditions. |
| [18] | Cooperative communications for a combined V2I with V2V approach. | Minimizing total energy consumed per bit given a target outage probability, or maximizing end-to-end throughput | N/A |
|
|
| [19] | Direct V2V communication. | N/A | N/A |
| Investigate the effect of dust and sand on the quality of the received signal throughout the communication between V2V. |
| [20] | A distributed deep learning technique is used to control interference power. | Maximizing V2X system performance; determining the optimal needed interference power. | 1D-CNN |
| V2X communication, in which vehicles on the road share information with everything. |
| [21] | Direct communication between V2X. | N/A | Data-driven |
| Communication between vehicles and everything to collect data from various sources to increase driver awareness and decrease collision. |
| [22] | Direct communication between V2X | N/A | CNN |
| Direct communication between vehicles and everything to collect data from various source. |
| [24] | Direct V2V and communicates with infrastructure through relays. | N/A | LSTM |
|
|
| [25] | Direct communication between AV and infrastructure. | N/A | N/A |
| Direct communication between AV and infrastructure and between UE and infrastructure. |
| [26] | Direct communication between V2X | N/A | N/A |
| Direct communication between vehicles and everything to collect data from various sources. |
| [27] | Direct communication. | N/A | SDN |
| From legacy systems, a flexible foundation of 5G automobile services. |
| [28] | Direct V2V communication and communication with I through NodeB. |
| N/A |
| A single cellular vehicle network is thought to exist where VUEs achieve V2V communication. Furthermore, the New Radio Uu interface is used to deliver V2I messages. |
| Proposed model | Communication between AV2X or using any other vehicle to relay the information to any destination. | Lagrange optimization is used in order to maximize energy efficiency and achievable data rate. | 1D-CNN |
| AV2X communication can be relayed or can be direct based on the system requirements. |
Disclaimer/Publisher’s Note: The statements, opinions and data contained in all publications are solely those of the individual author(s) and contributor(s) and not of MDPI and/or the editor(s). MDPI and/or the editor(s) disclaim responsibility for any injury to people or property resulting from any ideas, methods, instructions or products referred to in the content. |
© 2023 by the author. Licensee MDPI, Basel, Switzerland. This article is an open access article distributed under the terms and conditions of the Creative Commons Attribution (CC BY) license (https://creativecommons.org/licenses/by/4.0/).
Share and Cite
Osman, R.A. Optimizing Autonomous Vehicle Communication through an Adaptive Vehicle-to-Everything (AV2X) Model: A Distributed Deep Learning Approach. Electronics 2023, 12, 4023. https://doi.org/10.3390/electronics12194023
Osman RA. Optimizing Autonomous Vehicle Communication through an Adaptive Vehicle-to-Everything (AV2X) Model: A Distributed Deep Learning Approach. Electronics. 2023; 12(19):4023. https://doi.org/10.3390/electronics12194023
Chicago/Turabian StyleOsman, Radwa Ahmed. 2023. "Optimizing Autonomous Vehicle Communication through an Adaptive Vehicle-to-Everything (AV2X) Model: A Distributed Deep Learning Approach" Electronics 12, no. 19: 4023. https://doi.org/10.3390/electronics12194023
APA StyleOsman, R. A. (2023). Optimizing Autonomous Vehicle Communication through an Adaptive Vehicle-to-Everything (AV2X) Model: A Distributed Deep Learning Approach. Electronics, 12(19), 4023. https://doi.org/10.3390/electronics12194023

