Thermal Analysis Kinetics and Luminescence Properties of Y2O3-Coated MgO: Ce+3 Particles
Abstract
1. Introduction
2. Results and Discussion
2.1. Phase Analysis of Calcination Temperature Samples
2.2. TEM Morphology of Samples with Different Precipitants
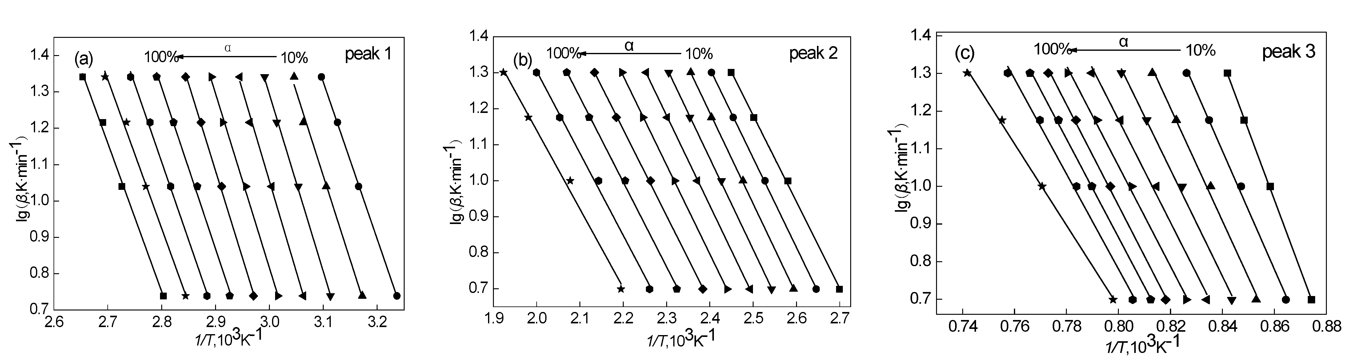
2.3. Apparent Activation Energy of Different Precipitant Samples
2.4. Activation Energy of Grain Growth for Samples with Different Precipitants
2.5. Luminescence Performance of Samples with Different Precipitants
3. Conclusions
- Adopting the co-precipitation calcination process, ammonia water is used as a single-phase precipitant, and ammonia water and ammonium bicarbonate are used as multi-phase precipitants, dropped into the mother salt solution at a titration rate of 2 mL/min; under the conditions of a system temperature of 0 °C, precursor aging for 12 h, and calcination at 1000 °C for 1.5 h, Y2O3-coated MgO: Ce+3 particles were obtained with coating thicknesses of approximately 2.5 nm and 5 nm, respectively.
- The apparent activation energies of the precursors of single-phase and multi-phase precipitants at each reaction stage were calculated using the Ozawa method and the Kissinger method, which were 95.61, 74.90, 275.27 kJ·mol−1 and 74.90, 56.06, 240.14 kJ·mol−1, respectively; the activation energies for the grain growth of the two are 30.56 kJ·mol−1 and 26.27 kJ·mol−1, respectively. The data show that the apparent activation energy and grain growth activation energy of the latter are lower than those of the former in each reaction stage, indicating that the composite precipitant can reduce the synthesis energy of the powder and improve the surface activity of Y2O3/MgO: Ce+3 particles.
- The luminescence intensity of the multi-phase precipitant sample is significantly better than that of the single-phase precipitant sample. When Ce+3 is 0.3 mol%, the relative luminescence intensity of the sample is the highest, and the relative peak values of the excitation spectra are 393 and 445 nm wavelengths, corresponding to the energy level transitions of 2F5/2→5d and 2F7/2→5d, respectively. The emission spectra obtained by excitation at 393 nm and 445 wavelengths are two broad spectral bands, and the peak positions of luminescence with different doping levels are basically the same, with differences in relative luminescence intensity. When the concentration of Ce+3 ions is greater than 0.3 mol%, concentration quenching occurs in the luminescence.
Author Contributions
Funding
Institutional Review Board Statement
Informed Consent Statement
Data Availability Statement
Conflicts of Interest
References
- Wu, N.; Li, X.; Zhang, M. Synthesis of nanopowders with low agglomeration by elaborating φ values for producing Gd2O3-MgO nanocomposites with extremely fine grain sizes and high mid-infrared transparency. J. Eur. Ceram. Soc. 2021, 41, 2898–2907. [Google Scholar] [CrossRef]
- Xie, J.; Mao, X.; Zhu, Q. Influence of synthesis conditions on the properties of Y2O3-MgO nanopowders and sintered nanocomposites. J. Eur. Ceram. Soc. 2017, 37, 4095–4101. [Google Scholar] [CrossRef]
- Wang, Z.; Fu, H.; Zhan, X. Photoluminescence and ratiometric thermo-response of Eu2+ and Eu3+ in BaAl2B2O7: Eu2+, Eu3+ phosphor materials. J. Rare Earth 2024, 42, 1240–1249. [Google Scholar] [CrossRef]
- Chen, S.; Yang, S.; Chen, L. MgO-Y2O3: Eu composite ceramics with high quantum yield and excellent thermal performance. J. Eur. Ceram. Soc. 2023, 43, 3553–3562. [Google Scholar] [CrossRef]
- Zhao, X.; Liu, H.; He, P. Synthesis and enhanced electrochemical properties of LiNi0.6Co0.2Mn0.2O2 cathode materials via SDBS-assisted hydrothermal method. J. Solid State Electr. 2023, 27, 2479–2488. [Google Scholar] [CrossRef]
- Shi, S.; Ma, W.; Ma, L.; Sun, Y.; Li, X.; Han, F.; Guan, R. The influence of activation energy of BaHfO3: Ce powder on sintering transparency. J. Inorg. Chem. 2014, 30, 885–894. [Google Scholar]
- Kato, T.; Okada, G.; Kawaguchi, N. Dosimeter properties of Ce-doped MgO transparent ceramics. J. Lumin. 2017, 192, 316–320. [Google Scholar] [CrossRef]
- Wang, F.Y.; Cheng, S.; Chung, C.H. Y2O3 and MgO co-doped ceria based electrolytes. J. Solid State Electr. 2006, 10, 879–885. [Google Scholar] [CrossRef]
- Ma, N.; Liang, H.; Luo, Z. Structure and tunable white-light emission of the Ce3+/Dy3+ co-doped MgO-K2O-B2O3-P2O5 borophosphate glassed modulating Mg/K ratio. Opt. Mater. 2023, 11, 114437. [Google Scholar] [CrossRef]
- Okada, G.; Kawaguchi, N.; Yanagida, T. Storage-luminescence centres of Ce-doped MgO-CaO-SiO2 Ceramics. Opt. Mater. 2019, 87, 84–89. [Google Scholar] [CrossRef]
- Oliveira, L.C.; Yukihara, E.G.; Baffa, O. MgO:Li, Ce, Sm as a high-sensitivity material for optically stimulated luminescence dosimetry. Sci. Rep. 2016, 6, 24348. [Google Scholar] [CrossRef] [PubMed]
- Jiang, H.; Qin, H.; Feng, S. Y2O3-MgO multiphase ceramics prepared by core-shell nano powder. J. Lumin. 2021, 42, 997–1006. [Google Scholar]
- Shen, S.; Ma, W.; Wen, L.; Guo, Y.; Wang, H.; Yin, K. Preparation and spectral characteristics of (Y, Gd)2O3: Eu3+ nanoparticles by micro lotion method. Chin. J. Nonferrous Met. 2008, 18, 1931–1936. [Google Scholar]
- Pour, R.; Hassanzadeh, S.A.; Ebrahimi, R. Polycrystalline infrared-transparent MgO fabricated by spark plasma sintering. Ceram. Int. 2019, 45, 18943–18950. [Google Scholar]
- Ozawa, T. Kinetics in differential thermal analysis. Bull. Chem. Soc. Jpn. 1965, 38, 1881–1886. [Google Scholar] [CrossRef]
- Doyle, C.D. Kinetic analysis of thermogravimetric data. J. Appl. Polym. Sci. 1961, 5, 285–292. [Google Scholar] [CrossRef]
- Kissinger, H.E. Line broadening in irradiated molybdenum (Line broadening in irradiated molybdenum-X-ray diffraction analysis). J. Res. Nat. Bur. Stand. 1965, 57, 217–219. [Google Scholar] [CrossRef]
- Xu, Y.; Wang, Y.; Chen, H. Effect of Holding Time on Particle Size and Morphology in High Temperature Rapid Annealing Preparation of AgNPs/SiO2. Mater. Introd. 2023, 7, 137–141. [Google Scholar]
- Yao, B.; Xu, P.; Liu, C. Study on the synthesis of La2Ce2O7 nano powder by microemulsion method and its sintering properties. Chin. J. Rare Earth 2023, 5, 912–920. [Google Scholar]
- Chen, X.; Zhang, G.R.; Tomala, R. Yb doped MgO transparent ceramics generated through the SPS method. J. Eur. Ceram. Soc. 2022, 42, 4320–4327. [Google Scholar] [CrossRef]










| Crystallization Temperature/°C | 700 | 800 | 900 | 1000 |
|---|---|---|---|---|
| Particle size/nm | 19 | 20 | 23 | 25 |
| α/% | β/(K·min−1) | |||||||||||
|---|---|---|---|---|---|---|---|---|---|---|---|---|
| 5 | 10 | 15 | 20 | |||||||||
| T/K | T/K | T/K | T/K | |||||||||
| Ⅰ | Ⅱ | Ⅲ | Ⅰ | Ⅱ | Ⅲ | Ⅰ | Ⅱ | Ⅲ | Ⅰ | Ⅱ | Ⅲ | |
| 10 | 405.2 | 892.7 | 1133.8 | 410.3 | 886.9 | 959.3 | 468.9 | 899.7 | 1110.3 | 451.6 | 866.1 | 1065.4 |
| 20 | 417.5 | 909.9 | 1139.8 | 461.0 | 907.1 | 1068.9 | 473.0 | 912.7 | 1118.2 | 458.4 | 877.2 | 1075.6 |
| 30 | 410.9 | 922.7 | 1152.6 | 468.7 | 910.2 | 1097.5 | 481.9 | 920.1 | 1125.5 | 464.3 | 888.8 | 1087.4 |
| 40 | 414.5 | 927.2 | 1164.4 | 478.3 | 921.9 | 1115.6 | 488.1 | 934.9 | 1234.2 | 449.9 | 898.9 | 1098.5 |
| 50 | 427.3 | 945.2 | 1175.9 | 483.2 | 927.0 | 1129.2 | 493.3 | 949.7 | 1133.8 | 457.4 | 909.4 | 1108.2 |
| 60 | 423.8 | 948.5 | 1177.5 | 487.1 | 943.1 | 1139.6 | 506.7 | 966.1 | 1148.1 | 462.8 | 924.6 | 1117.1 |
| 70 | 429.7 | 968.0 | 1187.0 | 491.9 | 952.1 | 1152.6 | 512.0 | 980.3 | 1161.6 | 475.2 | 929.4 | 1129.1 |
| 80 | 439.1 | 995.3 | 1196.4 | 496.3 | 966.9 | 1162.9 | 514.7 | 1003.8 | 1173.2 | 481.2 | 941.1 | 1142.1 |
| 90 | 447.8 | 1020.6 | 1210.2 | 500.3 | 985.2 | 1167.5 | 517.6 | 1016.6 | 1185.5 | 488.1 | 952.7 | 1156.2 |
| 100 | 465.6 | 1040.1 | 1221.6 | 506.6 | 1005.4 | 1184.5 | 520.8 | 1023.2 | 1200.0 | 504.1 | 964.0 | 1168.3 |
| α/% | β/(K·min−1) | |||||||||||
|---|---|---|---|---|---|---|---|---|---|---|---|---|
| 5 | 10 | 15 | 20 | |||||||||
| T/K | T/K | T/K | T/K | |||||||||
| Ⅰ | Ⅱ | Ⅲ | Ⅰ | Ⅱ | Ⅲ | Ⅰ | Ⅱ | Ⅲ | Ⅰ | Ⅱ | Ⅲ | |
| 10 | 368.2 | 844.9 | 1057.3 | 430.3 | 810.0 | 1098.4 | 381.4 | 862.2 | 1102.2 | 448.2 | 861.6 | 1143.2 |
| 20 | 392.7 | 861.3 | 1069.2 | 448.7 | 835.0 | 1111.7 | 399.2 | 877.8 | 1113.3 | 469.1 | 883.4 | 1153.7 |
| 30 | 416.8 | 875.0 | 1080.7 | 467.3 | 860.2 | 1126.3 | 416.8 | 894.4 | 1122.3 | 488.3 | 904.8 | 1164.9 |
| 40 | 444.3 | 892.7 | 1093.8 | 485.9 | 882.4 | 1140.2 | 433.6 | 909.2 | 1131.6 | 509.8 | 924.7 | 1174.0 |
| 50 | 465.6 | 908.5 | 1108.4 | 502.5 | 906.1 | 1152.9 | 448.6 | 922.8 | 1141.2 | 527.3 | 946.2 | 1186.6 |
| 60 | 489.8 | 916.3 | 1119.1 | 522.9 | 930.7 | 1164.6 | 466.6 | 942.4 | 1152.4 | 545.9 | 966.6 | 1197.8 |
| 70 | 536.1 | 930.9 | 1141.7 | 541.5 | 953.2 | 1178.3 | 484.1 | 956.2 | 1161.5 | 564.8 | 988.1 | 1208.1 |
| 80 | 559.2 | 945.7 | 1152.3 | 559.8 | 979.0 | 1192.1 | 502.8 | 971.6 | 1173.5 | 584.1 | 1020.5 | 1218.9 |
| 90 | 596.3 | 972.7 | 1163.9 | 380.9 | 1016.0 | 1213.2 | 322.0 | 995.3 | 1195.4 | 601.5 | 1044.4 | 1231.6 |
| 100 | 617.6 | 992.0 | 1173.7 | 608.0 | 1050.7 | 1224.0 | 550.9 | 1019.2 | 1208.6 | 631.5 | 1074.3 | 1244.5 |
| α (%) | Single-Phase Precipitant | Composite Precipitant | ||||||||||
|---|---|---|---|---|---|---|---|---|---|---|---|---|
| E1 (kJ/mol) | r1 | E2 (kJ/mol) | r2 | E3 (kJ/mol) | r3 | E1 (kJ/mol) | r1 | E2 (kJ/mol) | r2 | E3 (kJ/mol) | r3 | |
| 10 | 99.79 | 0.9912 | 74.95 | 0.9892 | 355.19 | 0.9962 | 51.73 | 0.9987 | 56.92 | 0.9977 | 320.57 | 0.9986 |
| 20 | 98.18 | 0.9981 | 76.90 | 0.9901 | 310.17 | 0.9965 | 57.37 | 0.9912 | 58.43 | 0.9987 | 269.61 | 0.9947 |
| 30 | 103.98 | 0.9938 | 73.92 | 0.9898 | 284.89 | 0.9971 | 61.94 | 0.9971 | 59.18 | 0.9987 | 256.55 | 0.9922 |
| 40 | 106.68 | 0.9914 | 73.08 | 0.9939 | 270.58 | 0.9957 | 64.10 | 0.9943 | 58.21 | 0.9985 | 240.98 | 0.9942 |
| 50 | 104.59 | 0.9943 | 74.80 | 0.9911 | 264.90 | 0.9955 | 60.49 | 0.9951 | 58.80 | 0.9988 | 231.37 | 0.9913 |
| 60 | 94.21 | 0.9988 | 71.36 | 0.9958 | 257.50 | 0.9961 | 60.40 | 0.9970 | 58.24 | 0.9988 | 225.53 | 0.9945 |
| 70 | 86.36 | 0.9968 | 69.71 | 0.9840 | 256.19 | 0.9965 | 53.96 | 0.9932 | 56.80 | 0.9980 | 227.31 | 0.9967 |
| 80 | 88.98 | 0.9957 | 68.43 | 0.9907 | 248.68 | 0.9975 | 50.37 | 0.9949 | 56.02 | 0.9980 | 221.18 | 0.9975 |
| 90 | 91.31 | 0.9968 | 69.24 | 0.9927 | 245.70 | 0.9950 | 47.75 | 0.9925 | 44.75 | 0.9952 | 213.30 | 0.9925 |
| 100 | 97.13 | 0.9982 | 73.54 | 0.9957 | 262.71 | 0.9898 | 47.48 | 0.9944 | 53.03 | 0.9901 | 180.19 | 0.9972 |
| Average | 97.22 | 72.89 | 275.75 | 55.66 | 57.14 | 238.66 | ||||||
| β/(K·min−1) | Single-Phase Precipitant | Composite Precipitant | ||||
|---|---|---|---|---|---|---|
| Tm1/K | Tm2/K | Tm3/K | Tm1/K | Tm2/K | Tm3/K | |
| 5 | 317.08 | 414.34 | 1229.49 | 339.87 | 380.77 | 1237.3 |
| 10 | 323.99 | 429.25 | 1261.63 | 347.95 | 400.38 | 1269.7 |
| 15 | 327.83 | 438.34 | 1280.55 | 352.27 | 409.93 | 1290.23 |
| 20 | 330.83 | 444.02 | 1294.38 | 356.09 | 419.07 | 1305.76 |
| E1 = 95.99 | E2 = 76.90 | E3 = 274.87 | E1 = 94.13 | E2 = 54.97 | E3 = 241.61 | |
| r1 = 0.9995 | r2 = 0.9984 | r3 = 0.9995 | r1 = 0.9987 | r2 = 0.9954 | r3 = 0.9995 | |
| Method | Single-Phase Precipitant | Composite Precipitant | ||||
|---|---|---|---|---|---|---|
| E1 (kJ/mol) | E2 (kJ/mol) | E3 (kJ/mol) | E1 (kJ/mol) | E2 (kJ/mol) | E3 (kJ/mol) | |
| Ozawa | 97.22 | 72.89 | 275.66 | 55.66 | 57.14 | 238.66 |
| Kissinger | 95.99 | 76.90 | 274.87 | 94.13 | 54.97 | 241.61 |
| Average | 96.61 | 74.90 | 275.27 | 74.90 | 56.06 | 240.14 |
Disclaimer/Publisher’s Note: The statements, opinions and data contained in all publications are solely those of the individual author(s) and contributor(s) and not of MDPI and/or the editor(s). MDPI and/or the editor(s) disclaim responsibility for any injury to people or property resulting from any ideas, methods, instructions or products referred to in the content. |
© 2025 by the authors. Licensee MDPI, Basel, Switzerland. This article is an open access article distributed under the terms and conditions of the Creative Commons Attribution (CC BY) license (https://creativecommons.org/licenses/by/4.0/).
Share and Cite
Zhang, Q.; Ma, W.; He, L.; Tan, G.; Lu, Y.; Wu, N. Thermal Analysis Kinetics and Luminescence Properties of Y2O3-Coated MgO: Ce+3 Particles. Coatings 2025, 15, 122. https://doi.org/10.3390/coatings15020122
Zhang Q, Ma W, He L, Tan G, Lu Y, Wu N. Thermal Analysis Kinetics and Luminescence Properties of Y2O3-Coated MgO: Ce+3 Particles. Coatings. 2025; 15(2):122. https://doi.org/10.3390/coatings15020122
Chicago/Turabian StyleZhang, Quanqing, Weimin Ma, Lijie He, Guanglei Tan, Yang Lu, and Nan Wu. 2025. "Thermal Analysis Kinetics and Luminescence Properties of Y2O3-Coated MgO: Ce+3 Particles" Coatings 15, no. 2: 122. https://doi.org/10.3390/coatings15020122
APA StyleZhang, Q., Ma, W., He, L., Tan, G., Lu, Y., & Wu, N. (2025). Thermal Analysis Kinetics and Luminescence Properties of Y2O3-Coated MgO: Ce+3 Particles. Coatings, 15(2), 122. https://doi.org/10.3390/coatings15020122
