Mechanical Performance Assessment of a Hot-Mix Asphalt Modified with Biochar Obtained from Pine Wood Shavings
Abstract
1. Introduction
2. Materials and Methods
2.1. Materials
2.2. Modified Asphalt and Properties
2.3. Control and Modified HMA Design
2.4. Mechanical Resistance
3. Results
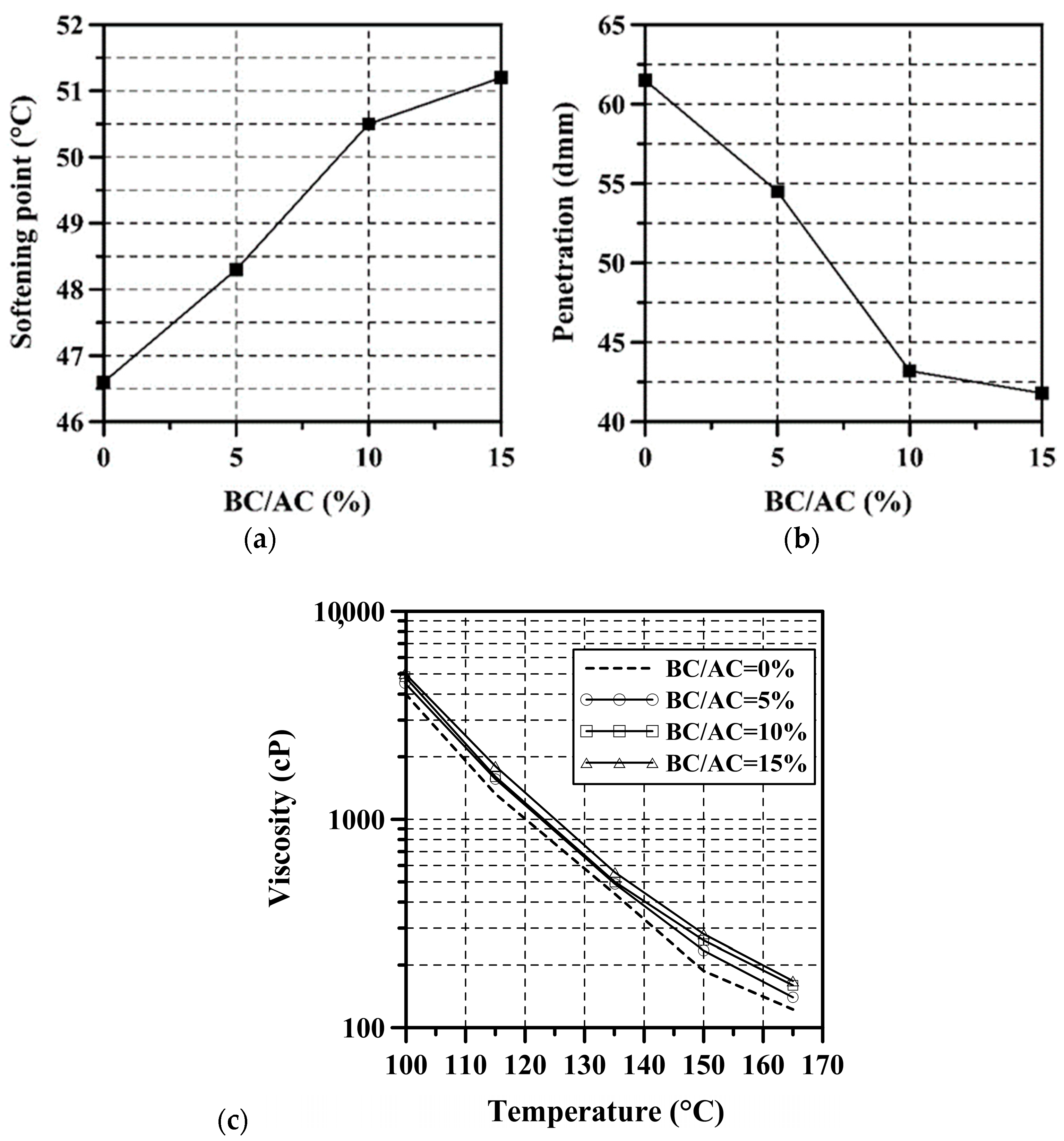
3.1. Modified Asphalt Properties
3.2. Design of HMAs
3.3. ITS and Cantabro Tests
3.4. RM and Permanent Deformation Tests
3.5. Fatigue Test
4. Conclusions
- Using 10% BC-PWS, the asphalt binder exhibited good performance, and the BC/AC = 10% ratio was defined as optimal.
- Concerning the unmodified AC, the modified binder exhibited higher stiffness and PG at high temperatures, maintaining the PG at intermediate temperatures. Also, the trend in the rheology test showed a modified binder that was more resistant to thermo-oxidative aging.
- BC-PWS shows high compatibility with AC, did not generate lumps in the binder, and did not hinder the mixing and compaction process of the HMA (under the same mixing and compaction temperatures, there was no loss of workability, and the volumetric composition was maintained).
- The modified HMA (BC/AC = 10%) exhibited higher stiffness under monotonic (higher S and S/F ratio) and cyclic loading (increased resilient modulus), and higher resistance to rutting. In other words, it is recommended for use in areas where elevated temperature climate prevails.
- The modified HMA showed better performance by increasing the parameters ITSD, ITSC, a, σ5, σ6, and σ7 (increased indirect tensile strength and fatigue resistance under stress-controlled mode). This is an indicator of reliable performance in temperate climates and thick asphalt layers.
- The modified HMA exhibited higher resistance to moisture damage (increased TSR parameter), and similar abrasion and raveling resistance (decreased CL parameter), which are aspects associated with durability.
- All changes in the parameters measured and evaluated were statistically significant according to ANOVA analysis, except for the volumetric composition of HMA and CL parameter.
- BC-PWS is considered a promising material and a potential asphalt binder modifier. It has the potential to contribute to the circular economy. From a technical perspective, it can demonstrate reliable performance and durability in both temperate and elevated temperature climates. Additionally, it may eliminate the need to increase the OAC and the mixing and compaction temperatures.
Author Contributions
Funding
Institutional Review Board Statement
Informed Consent Statement
Data Availability Statement
Acknowledgments
Conflicts of Interest
References
- Zhou, H.; Shen, Y.; Zhang, N.; Liu, Z.; Bao, L.; Xia, Y. Wood fiber biomass pyrolysis solution as a potential tool for plant disease management: A review. Heliyon 2024, 10, e25509. [Google Scholar] [CrossRef] [PubMed]
- Barua, A.; Tarek, A.; Chowdhury, A.; Mehidi, S.H.; Muhiuddin, H.M. Residue reduction and reuse in wooden furniture manufacturing industry. Int. J. Sci. Eng. Res. 2014, 5, 291–301. [Google Scholar]
- Erhabor, T.A. Evaluation of wood wastes from sawmilling operations in Benin City, Edo State. J. For. Res. Manag. 2015, 12, 113–124. [Google Scholar]
- López, L.T.; Vega, L.Y.; Rendón, C.D.; Tobón, S. Aprovechamiento de Residuos Madereros: Cuantificación, Caracterización y Valorización, 1st ed.; Corporación Universitaria Remington: Medellín, Colombia; Servicio Nacional de Aprendizaje (SENA): Medellín, Colombia, 2019; 344p. [Google Scholar]
- Sarmiento-Oviedo, M.B. Alternativas de compostaje de aserrin de pino caribe (Pinus caribaea) en la industria maderera Refocosta S.A., municipio de Villanueva, Casanare, Colombia. Rev. Investig. Agrar. Ambient. 2011, 2, 21–32. [Google Scholar] [CrossRef][Green Version]
- Mallakpour, S.; Sirous, F.; Hussain, C.M. Sawdust, a versatile, inexpensive, readily available bio-waste: From mother earth to valuable materials for sustainable remediation technologies. Adv. Colloid Interface Sci. 2021, 295, 102492. [Google Scholar] [CrossRef] [PubMed]
- Boloy, R.A.M.; da Cunha Reis, A.; Rios, E.M.; Martins, J.; Soares, L.O.; de Sá Machado, V.A.; de Moraes, D.R. Waste-to-energy technologies towards circular economy: A systematic literature review and bibliometric analysis. Water Air Soil Poll. 2021, 232, 306. [Google Scholar] [CrossRef]
- Silva, U.V.; Nascimento, M.F.; Oliveira, P.R.; Panzera, T.H.; Rezende, M.O.; Silva, D.A.L.; de Moura Aquino, V.B.; Lahr, F.A.R.; Christoforo, A.L. Circular vs. linear economy of building materials: A case study for particleboards made of recycled wood and biopolymer vs. conventional particleboards. Constr. Build. Mater. 2021, 285, 122906. [Google Scholar] [CrossRef]
- Cheah, W.Y.; Siti-Dina, R.P.; Leng, S.T.K.; Er, A.C.; Show, P.L. Circular bioeconomy in palm oil industry: Current practices and future perspectives. Environ. Technol. Inno. 2023, 30, 103050. [Google Scholar] [CrossRef]
- Olsthoorn, D.; Haghighat, F.; Moreau, A.; Lacroix, G. Abilities and limitations of thermal mass activation for thermal comfort, peak shifting and shaving: A review. Built. Environ. 2017, 118, 113–127. [Google Scholar] [CrossRef]
- Mensah, R.A.; Shanmugam, V.; Narayanan, S.; Razavi, S.M.J.; Ulfberg, A.; Blanksvärd, T.; Sayahi, F.; Simonsson, P.; Reinke, B.; Försth, M.; et al. Biochar-Added cementitious materials—A review on mechanical, thermal, and environmental properties. Sustainability 2021, 13, 9336. [Google Scholar] [CrossRef]
- Legan, M.; Gotvajn, A.Ž.; Zupan, K. Potential of biochar use in building materials. J. Environ. Manag. 2022, 309, 114704. [Google Scholar] [CrossRef] [PubMed]
- Yaro, N.S.A.; Sutanto, M.H.; Habib, N.Z.; Napiah, M.; Usman, A.; Jagaba, A.H.; Al-Sabaeei, A.M. Application and circular economy prospects of palm oil waste for eco-friendly asphalt pavement industry: A review. J. Road Eng. 2022, 2, 309–331. [Google Scholar] [CrossRef]
- Kochanek, J.; Soo, R.M.; Martinez, C.; Dakuidreketi, A.; Mudge, A.M. Biochar for intensification of plant-related industries to meet productivity, sustainability and economic goals: A review. Resour. Conserv. Recycl. 2022, 179, 106109. [Google Scholar] [CrossRef]
- Zhou, X.; Moghaddam, T.B.; Chen, M.; Wu, S.; Adhikari, S. Biochar removes volatile organic compounds generated from asphalt. Sci. Total Environ. 2020, 745, 141096. [Google Scholar] [CrossRef]
- Zhou, Y.; Shen, C.; Wang, T.; Xue, Y. Inhibition effect of three types of biochar on volatile organic compounds from asphalt: Revealing chemical adsorption as the primary mechanism. Constr. Build. Mater. 2024, 411, 134322. [Google Scholar] [CrossRef]
- Marzeddu, S.; Cappelli, A.; Ambrosio, A.; D’ecima, M.A.; Viotti, P.; Boni, M.R. A life cycle assessment of an energy-biochar chain involving a gasification plant in Italy. Land 2021, 10, 1256. [Google Scholar] [CrossRef]
- Chen, L.; Zhou, T.; Yang, J.; Qi, J.; Zhang, L.; Liu, T.; Dai, S.; Zhao, Y.; Huang, Q.; Liu, Z.; et al. A review on the roles of biochar incorporated into cementitious materials: Mechanisms, application and perspectives. Constr. Build. Mater. 2023, 409, 134204. [Google Scholar] [CrossRef]
- Aprianti, N.; Kismanto, A.; Supriatna, N.K.; Yarsono, S.; Nainggolan, L.M.T.; Purawiardi, R.I.; Fariza, O.; Ermada, F.J.; Zuldian, P.; Raksodewanto, A.A.; et al. Prospect and challenges of producing carbon black from oil palm biomass: A review. Bioresour. Technol. Rep. 2023, 23, 101587. [Google Scholar] [CrossRef]
- Torres-Morales, E.; Khatiwada, D.; Xylia, M.; Johnson, F.X. Investigating biochar as a net-negative emissions strategy in Colombia: Potentials, costs, and barriers. Curr. Res. Environ. Sus. 2023, 6, 100229. [Google Scholar] [CrossRef]
- Ge, L.; Yao, Y.; Xu, L.; Zhou, Z.; Li, J.; Zhang, X.; Liu, C.; Lv, H. Mitigation of asphalt volatile organic compounds emissions and health hazards using a TiO2-doped biochar composite: Microscopic and physiological insights. Environ. Technol. Inno. 2024, 36, 103763. [Google Scholar] [CrossRef]
- Yaphary, Y.L.; He, M.; Lu, G.; Zou, F.; Liu, P.; Tsang, D.C.W.; Leng, Z. Experiment and multiscale molecular simulations on the Cu absorption by biochar-modified asphalt: An insight into removal capability and mechanism of heavy metals from stormwater runoff. Chem. Eng. J. 2023, 462, 142205. [Google Scholar] [CrossRef]
- Spokas, K.A. Review of the stability of biochar in soils: Predictability of O: C molar ratios. Carbon Manag. 2010, 1, 289–303. [Google Scholar] [CrossRef]
- Gupta, S.; Kua, H.W. Factors determining the potential of biochar as a carbon capturing and sequestering construction material: Critical review. J. Mater. Civ. Eng. 2017, 29, 04017086. [Google Scholar] [CrossRef]
- Restuccia, L.; Ferro, G.A.; Suarez-Riera, D.; Sirico, A.; Bernardi, P.; Belletti, B.; Malcevschi, A. Mechanical characterisation of different biochar-based cement composites. Procedia Struct. Integr. 2020, 25, 226–233. [Google Scholar] [CrossRef]
- Maljaee, H.; Madadi, R.; Paiva, H.; Tarelho, L.; Ferreira, V.M. Incorporation of biochar in cementitious materials: A roadmap of biochar selection. Constr. Build. Mater. 2021, 283, 122757. [Google Scholar] [CrossRef]
- Rondón-Quintana, H.A.; Reyes-Lizcano, F.A.; Chaves-Pabón, S.B.; Bastidas-Martínez, J.G.; Zafra-Mejía, C.A. Use of biochar in asphalts: Review. Sustainability 2022, 14, 4745. [Google Scholar] [CrossRef]
- He, L.; Tao, M.; Liu, Z.; Cao, Z.; Zhu, J.; Gao, J.; Van den bergh, W.; Chailleux, E.; Huang, Y.; Vasconcelos, K.; et al. Biomass valorization toward sustainable asphalt pavements: Progress and prospects. Waste Manag. 2023, 165, 159–178. [Google Scholar] [CrossRef]
- Zakaria, M.R.; Farid, M.A.A.; Andou, Y.; Ramli, I.; Hassan, M.A. Production of biochar and activated carbon from oil palm biomass: Current status, prospects, and challenges. Ind. Crops Prod. 2023, 199, 116767. [Google Scholar] [CrossRef]
- Zhu, H.; An, Q.; Nasir, A.S.M.; Babin, A.; Saucedo, S.L.; Vallenas, A.; Li, L.; Baldwin, S.A.; Lau, A.; Bi, X. Emerging applications of biochar: A review on techno-environmental-economic aspects. Bioresour. Technol. 2023, 388, 129745. [Google Scholar] [CrossRef]
- Singhal, S. Biochar as a cost-effective and eco-friendly substitute for binder in concrete: A review. Eur. J. Environ. Civ. Eng. 2023, 27, 984–1009. [Google Scholar] [CrossRef]
- Çeloğlu, M.E.; Mehmet, Y.; Kök, B.V.; Yalçin, E. Effects of various biochars on the high temperature performance of bituminous binder. In Proceedings of the 6th Euraphalt & Eurobitume Congress, Prague, Czech Republic, 1–3 June 2016. [Google Scholar] [CrossRef]
- Gan, X.; Zhang, W. Application of biochar from crop straw in asphalt modification. PLoS ONE 2021, 16, e0247390. [Google Scholar] [CrossRef] [PubMed]
- Ma, F.; Dai, J.; Fu, Z.; Li, C.; Wen, Y.; Jia, M.; Wang, Y.; Shi, K. Biochar for asphalt modification: A case of high-temperature properties improvement. Sci. Total Environ. 2022, 804, 150194. [Google Scholar] [CrossRef] [PubMed]
- Wu, Y.; Cao, P.; Shi, F.; Liu, K.; Wang, X.; Leng, Z.; Tan, Z.; Zhou, C. Modeling of the complex modulus of asphalt mastic with biochar filler based on the homogenization and random aggregate distribution methods. Adv. Mater. Sci. Eng. 2020, 2020, 2317420. [Google Scholar] [CrossRef]
- Walters, R.C.; Fini, E.H.; Abu-Lebdeh, T. Enhancing asphalt rheological behavior and aging susceptibility using biochar and Nano-clay. Am. J. Appl. Sci. 2014, 7, 66–76. [Google Scholar] [CrossRef]
- Walters, R.C.; Begum, S.A.; Fini, E.H.; Abu-Lebdeh, T. Investigating bio-char as flow modifier and water treatment agent for sustainable pavement design. Am. J. Appl. Sci. 2015, 8, 138–146. [Google Scholar] [CrossRef]
- Zhang, R.; Dai, Q.; You, Z.; Wang, H.; Peng, C. Rheological performance of bio-char modified asphalt with different particle sizes. Appl. Sci. 2018, 8, 1665. [Google Scholar] [CrossRef]
- Zhang, R.; Wang, H.; Ji, J.; Wang, H. Viscoelastic properties, rutting resistance, and fatigue resistance of Waste Wood-based biochar-modified asphalt. Coatings 2022, 12, 89. [Google Scholar] [CrossRef]
- Zhou, X.; Moghaddam, T.B.; Chen, M.; Wu, S.; Zhang, Y.; Zhang, X.; Adhikari, S.; Zhang, X. Effects of pyrolysis parameters on physicochemical properties of biochar and bio-oil and application in asphalt. Sci. Total Environ. 2021, 780, 146448. [Google Scholar] [CrossRef]
- Rondón-Quintana, H.A.; Romero-Patiño, N.E.; Bastidas-Martínez, J.G. Performance properties of a hot-mix asphalt modified with oil palm kernel shell based biochar for road pavements. J. Transp. Eng. B Pavements, 2025; accepted to publish. [Google Scholar] [CrossRef]
- Zhou, X.; Adhikari, S. Flow-induced crystallization of biochar in bio-asphalt under various aging conditions. Sci. Total Environ. 2019, 695, 133943. [Google Scholar] [CrossRef]
- Zhou, X.; Zhao, G.; Wu, S.; Tighe, S.; Pickel, D.; Chen, M.; Adhikari, S.; Gao, Y. Effects of biochar on the chemical changes and phase separation of bio-asphalt under different aging conditions. J. Clean. Prod. 2020, 263, 121532. [Google Scholar] [CrossRef]
- Dong, W.; Ma, F.; Li, C.; Fu, Z.; Huang, Y.; Liu, J. Evaluation of anti-aging performance of biochar modified asphalt binder. Coatings 2020, 10, 1037. [Google Scholar] [CrossRef]
- Thengane, S.K.; Kung, K.S.; Gupta, A.; Ateia, M.; Sanchez, D.L.; Mahajani, S.M.; Lim, C.J.; Sokhansanj, S.; Ghoniem, A.F. Oxidative torrefaction for cleaner utilization of biomass for soil amendment. Clean. Eng. Technol. 2020, 1, 100033. [Google Scholar] [CrossRef]
- Linhoss, J.E.; Mohammadi-Aragh, M.K.; Evans, J.D. Influence of pine and miscanthus biochar on the water activity and moisture sorption isotherms of used broiler litter. Heliyon 2023, 9, e22618. [Google Scholar] [CrossRef]
- Maaoui, A.; Trabelsi, A.B.H.; Abdallah, A.B.; Chagtmi, R.; Lopez, G.; Cortazar, M.; Olazar, M. Assessment of pine wood biomass wastes valorization by pyrolysis with focus on fast pyrolysis biochar production. J. Energy Inst. 2023, 108, 101242. [Google Scholar] [CrossRef]
- Sharma, A.K.; Ghodke, P.K.; Goyal, N.; Bobde, P.; Kwon, E.E.; Lin, K.A.; Chen, W. A critical review on biochar production from pine wastes, upgradation techniques, environmental sustainability, and challenges. Bioresour. Technol. 2023, 387, 129632. [Google Scholar] [CrossRef]
- Chen, X.; Li, S.; Lin, Y.; Gao, S.; Liu, J.; Xue, Y.; Gao, X. Pyrolysis and catalytic upgrading of pine wood sawdust over modified biochar catalyst in a tandem microreactor. J. Anal. Appl. Pyrol. 2024, 181, 106607. [Google Scholar] [CrossRef]
- INVIAS–Instituto Nacional de Vías. Especificaciones Generales de Construcción de Carreteras; INVIAS–Instituto Nacional de Vías: Bogotá, Colombia, 2022.
- IDU–Instituto de Desarrollo Urbano. Especificaciones Técnicas Generales de Materiales y Construcción, para Proyectos de Infraestructura Vial y de Espacio Público, para Bogotá D.C.; IDU—Instituto de Desarrollo Urbano: Bogotá, Colombia, 2018.
- Romero-Patiño, N.E. Evaluación de la Resistencia Mecánica de una Mezcla Densa en Caliente MDC-19 Fabricada con un Cemento Asfáltico (CA) Modificado con Biocarbón (BC). Master’s Thesis, Universidad Distrital Francisco José de Caldas, Bogotá, Colombia, 2024. [Google Scholar]
- Huari, R.A. Evaluación del Desempeño Físico-Químico y Reológico de un Asfalto Convencional Modificado por vía Húmeda con Biochar de Palma Africana y Cascara de Arroz. Master’s Thesis, Pontificia Universidad Javeriana, Bogotá, Colombia, 2024. [Google Scholar]
- Rincón-Estepa, J.A.; González-Salcedo, E.V.; Rondón-Quintana, H.A.; Reyes-Lizcano, F.A.; Bastidas-Martínez, J.G. Mechanical behavior of low-density polyethylenewaste modified hot mix asphalt. Sustainability 2022, 14, 4229. [Google Scholar] [CrossRef]
- Doyle, J.D.; Howard, I.L. Characterization of dense-graded asphalt with the Cantabro test. J. Test. Eval. 2016, 44, 77–88. [Google Scholar] [CrossRef]
- Cox, B.C.; Smith, B.T.; Howard, I.L.; James, R.S. State of knowledge for Cantabro testing of dense graded asphalt. J. Mater. Civ. Eng. 2017, 29, 04017174. [Google Scholar] [CrossRef]
- Zhao, S.; Huang, B.; Ye, X.P.; Shu, X.; Jia, X. Utilizing bio-char as a bio-modifier for asphalt cement: A sustainable application of bio-fuel by-product. Fuel 2014, 133, 52–62. [Google Scholar] [CrossRef]
- Kumar, A.; Choudhary, R.; Narzari, R.; Kataki, R.; Shukla, S.K. Evaluation of bio-asphalt binders modified with biochar: A pyrolysis by-product of Mesua ferrea seed cover waste. Cogent Eng. 2018, 5, 1548534. [Google Scholar] [CrossRef]
- Yaro, N.S.A.; Sutanto, M.H.; Habib, N.Z.; Usman, A.; Tanjung, L.E.; Aliyu, I.; Jagaba, A.H. Optimizing biochar-based geopolymer composites for enhanced water resistance in asphalt mixes: An experimental, microstructural, and multi-objective analysis. J. Eng. Appl. Sci. 2023, 70, 151. [Google Scholar] [CrossRef]
- Rondón-Quintana, H.A.; Zafra-Mejía, C.A.; Urazán-Bonells, C.F. Aging resistance evaluation of an asphalt mixture modified with zinc oxide. Infrastructures 2024, 9, 81. [Google Scholar] [CrossRef]
- Rajib, A.; Saadeh, S.; Katawal, P.; Mobasher, B.; Fini, E.H. Enhancing biomass value chain by utilizing biochar as a free radical scavenger to delay ultraviolet aging of bituminous composites used in outdoor construction. Resour. Conserv. Recycl. 2021, 168, 105302. [Google Scholar] [CrossRef]
- Zhao, S.; Huang, B.; Shu, X.; Ye, P. Laboratory investigation of biochar-modified asphalt mixture. Transp. Res. Rec. 2014, 2445, 56–63. [Google Scholar] [CrossRef]
- Saadeh, S.; Al-Zubi, Y.; Zaatarah, B. Performance Testing of Hot Mix Asphalt Containing Biochar; Final Report 20–28; Mineta Transportation Institute: San Jose, CA, USA, 2020. [Google Scholar] [CrossRef]
- Saadeh, S.; Al-Zubi, Y.; Katawal, P.; Zaatarah, B.; Fini, E. Biochar effects on the performance of conventional and rubberized HMA. Road Mater. Pavement Des. 2023, 24, 156–172. [Google Scholar] [CrossRef]
- Bastidas-Martínez, J.G.; Rondón-Quintana, H.A. Assessment of asphalt binder content, temperature and loading rate in indirect tensile strength and resilient modulus tests of a hot-mix asphalt—Comparison with Marshall design method. Constr. Build. Mater. 2024, 426, 136158. [Google Scholar] [CrossRef]
- Bastidas-Martínez, J.G.; Rondón-Quintana, H.A.; Muniz de Farias, M. Behavior of asphalt mastics containing different materials as Filler. Can. J. Civ. Eng. 2021, 48, 347–355. [Google Scholar] [CrossRef]
- Barman, M.; Ghabchi, R.; Singh, D.; Zaman, M.; Commuri, S. An alternative analysis of indirect tensile test results for evaluating fatigue characteristics of asphalt mixes. Constr. Build. Mater. 2018, 166, 204–213. [Google Scholar] [CrossRef]
- Bastidas-Martinez, J.G.; Camapum de Carvalho, J.; Cristhiane, L.L.; Muniz de Farias, M.; Rondón-Quintana, H.A. Effects of iron ore tailing on performance of hot-mix asphalt. J. Mater. Civ. Eng. 2022, 34, 04021405. [Google Scholar] [CrossRef]
- Bharath, G.; Reddy, K.S.; Tandon, V.; Reddy, M.A. Aggregate gradation effect on the fatigue performance of recycled asphalt mixtures. Road Mater. Pavement Des. 2021, 22, 165–184. [Google Scholar] [CrossRef]
- Rondón-Quintana, H.A.; Ruge-Cárdenas, J.C.; Reyes-Lizcano, F.A.; Bastidas-Martínez, J.G.; Zafra-Mejía, C.A. Mechanical resistance of hot-mix asphalt using phosphorite as filler. J. Mater. Civ. Eng. 2023, 35, 04023274. [Google Scholar] [CrossRef]










| Test | Standard | Unit | Requirement | Result |
|---|---|---|---|---|
| Specific gravity | AASHTO T 228 | - | - | 1.024 |
| Penetration (25 °C, 100 g, 5 s) | ASTM D-5 | dmm | 60–70 | 61.5 |
| Softening point | ASTM D-36 | °C | 46–54 | 46.6 |
| Absolute viscosity (60 °C) | ASTM D-4402 | Pa-s | 140–240 | 175 |
| Ductility (25 °C, 5 cm/min) | ASTM D-113 | cm | Minimum 100 | 122 |
| Ignition point | ASTM D-92 | °C | Minimum 232 | 267 |
| Mass loss | ASTM D 2872 | % | Maximum 0.80 | 0.17 |
| Test | Standard | Requirement | Result |
|---|---|---|---|
| Specific gravity of fine aggregate | AASHTO T 84 | - | 2.580 |
| Absorption of fine aggregate | AASHTO T 84 | - | 1.35% |
| Specific gravity of coarse aggregate | AASHTO T 85 | - | 2.623 |
| Absorption of coarse aggregate | AASHTO T 85 | - | 1.77% |
| Fractured particles (1 side) | ASTM D5821 | 85% minimum | 92.2% |
| Soundness of aggregate (magnesium sulfate) | AASHTO T 104 | 18.0% maximum | 4.8% |
| Plasticity index | ASTM D4318 | Not plastic | Not plastic |
| 10% of fines (dry resistance) | DNER-ME 096 | 100 kN minimum | 266.3 kN |
| 10% of fines (wet resistance) | DNER-ME 096 | 75 kN minimum | 234.7 kN |
| Micro-Deval | AASHTO T 327 | 20% maximum | 7.3% |
| Abrasion in Los Angeles machine | AASHTO T 96 | 25% maximum | 18.0% |
| Sample/ Element | C | O | Si | Ca | K | Mg | Al | Fe |
|---|---|---|---|---|---|---|---|---|
| PWS1 | 92.4 ± 5.1 | 6.0 ± 1.1 | - | 0.54 ± 0.17 | 0.42 ± 0.15 | 0.27 ± 0.11 | - | - |
| PWS2 | 65.2 ± 4.7 | 24.3 ± 3.5 | 2.72 ± 0.5 | 1.32 ± 0.4 | 0.74 ± 0.2 | - | 1.51 ± 0.23 | 1.0 ± 0.15 |
| Temperature (°C) | BC/AC (%) | |||
|---|---|---|---|---|
| 0 | 5 | 10 | 15 | |
| |G*|/sinδ (kPa)—Virgin asphalt binder | ||||
| 58 | 2.42 | 4.69 | 4.90 | 4.90 |
| 64 | 1.11 | 2.06 | 2.97 | 2.99 |
| 70 | 0.55 | 1.22 | 1.51 | 1.56 |
| |G*|/sinδ (kPa)—After RTFO test | ||||
| 58 | 4.75 | 7.75 | 8.66 | 9.21 |
| 64 | 2.26 | 3.32 | 4.39 | 4.84 |
| 70 | 1.14 | 2.02 | 2.48 | 3.14 |
| |G*| sinδ (kPa)—After RTFOT + PAV | ||||
| 16 | 6253 | 6086 | 6151 | 6678 |
| 19 | 4618 | 4621 | 4644 | 4919 |
| 22 | 3252 | 3444 | 3643 | 3787 |
| AC (%) | Va | VMA | VFA | S | F | S/F |
|---|---|---|---|---|---|---|
| FT | ||||||
| 4.5 | 2.93 | 1.77 | 3.86 | 0.14 | 0.50 | 0.41 |
| 5.0 | 3.40 | 6.42 | 2.29 | 0.48 | 1.00 | 0.07 |
| 5.5 | 0.01 | 0.13 | 0.04 | 21.07 | 5.00 | 11.39 |
| 6.0 | 0.04 | 0.66 | 0.15 | 12.70 | 1.00 | 13.29 |
| Comparison | 10 °C | 20 °C | 30 °C | ||||||
|---|---|---|---|---|---|---|---|---|---|
| 2.5 Hz | 5 Hz | 10 Hz | 2.5 Hz | 5 Hz | 10 Hz | 2.5 Hz | 5 Hz | 10 Hz | |
| Control vs. BC/AC = 10% | 11.85 | 8.75 | 9.18 | 17.85 | 14.51 | 16.60 | 25.65 | 25.34 | 17.51 |
| Mixture | VTM (%) | R-Squared (r2) | a | b | σ5 (kPa) | σ6 (kPa) | σ7 (kPa) |
|---|---|---|---|---|---|---|---|
| Control | 4.71 ± 0.11 | 0.969 | 3839.7 | −0.224 | 291.3 | 173.9 | 103.8 |
| BC/AC = 10% | 4.80 ± 0.09 | 0.985 | 5071.7 | −0.234 | 342.9 | 200.1 | 116.7 |
Disclaimer/Publisher’s Note: The statements, opinions and data contained in all publications are solely those of the individual author(s) and contributor(s) and not of MDPI and/or the editor(s). MDPI and/or the editor(s) disclaim responsibility for any injury to people or property resulting from any ideas, methods, instructions or products referred to in the content. |
© 2024 by the authors. Licensee MDPI, Basel, Switzerland. This article is an open access article distributed under the terms and conditions of the Creative Commons Attribution (CC BY) license (https://creativecommons.org/licenses/by/4.0/).
Share and Cite
Chaves-Pabón, S.B.; Rondón-Quintana, H.A.; Bastidas-Martínez, J.G. Mechanical Performance Assessment of a Hot-Mix Asphalt Modified with Biochar Obtained from Pine Wood Shavings. Coatings 2024, 14, 1212. https://doi.org/10.3390/coatings14091212
Chaves-Pabón SB, Rondón-Quintana HA, Bastidas-Martínez JG. Mechanical Performance Assessment of a Hot-Mix Asphalt Modified with Biochar Obtained from Pine Wood Shavings. Coatings. 2024; 14(9):1212. https://doi.org/10.3390/coatings14091212
Chicago/Turabian StyleChaves-Pabón, Saieth Baudilio, Hugo Alexander Rondón-Quintana, and Juan Gabriel Bastidas-Martínez. 2024. "Mechanical Performance Assessment of a Hot-Mix Asphalt Modified with Biochar Obtained from Pine Wood Shavings" Coatings 14, no. 9: 1212. https://doi.org/10.3390/coatings14091212
APA StyleChaves-Pabón, S. B., Rondón-Quintana, H. A., & Bastidas-Martínez, J. G. (2024). Mechanical Performance Assessment of a Hot-Mix Asphalt Modified with Biochar Obtained from Pine Wood Shavings. Coatings, 14(9), 1212. https://doi.org/10.3390/coatings14091212

