Abstract
This paper presents the influence of plasma electrolytic oxidation parameters (peak current density, process time, pulse frequency) on the tribological properties and surface wettability of the produced coatings. The process parameters were selected in accordance with Hartley’s research plan for three input variables with three variable values. Oxide coatings were made on the AZ31B magnesium alloy using a trapezoidal voltage waveform and a two-component alkaline electrolyte. The tribological properties of the coatings were determined as a result of tribological tests carried out on the T-17 tester in reciprocating motion. The tribological partner for the coatings was a PEEK/HPV pin. As a result of tribological tests, the friction coefficient µ, the mass wear of the pin and the average change in sample mass were determined. The tests showed changes in both the friction coefficient and pin wear. Before and after tribological tests, profilographometric measurements of the coatings were performed. The tests allowed for the determination of roughness parameters and the load–bearing curve of the sample surfaces. Surface wettability tests were carried out by determining the contact angles.
1. Introduction
Magnesium alloys, due to their unique properties, along with aluminium alloys, play a key role in many industrial fields, including automotive [], aerospace [], electronics [] and biomedical engineering [,]. However, due to their susceptibility to corrosion and low wear resistance, improving their tribological properties and surface wettability is extremely important for their widespread use. In recent years, intensive research has focused on the use of plasma electrolytic oxidation (PEO) to produce oxide coatings on magnesium alloys to improve their tribological properties and corrosion resistance []. PEO is an extension to a surface processing technique known as anodising, whereby a positive bias is applied between a workpiece to be treated and a suitable counter electrode (cathode). The positive potential induces anodic oxidation of the substrate and the formation of a dielectric oxide coating on top of the workpiece []. If the treatment is carried out in a strongly passivating electrolyte (e.g., in a dilute alkaline silicate [], phosphate [] or borate [] aqueous solution), the oxide film will continually thicken and induce the voltage rise under galvanostatic conditions. The voltage rise increases the electric field strength within the growing dielectric film, and after breaching the breakdown potential value, the formation of surface plasma microdischarges is observed []. The individual surface sparks are short-lived (lifetimes typically between 6 and 400 μs in cascades spanning up to dozens of milliseconds []) and move quickly across the treated surface, bringing about changes in the chemical and phase composition of the oxide film as it grows [,,,,]. Among the various magnesium alloys, the AZ31B alloy is of particular interest due to its good strength properties, low specific gravity and corrosion resistance []. The PEO process allows for the controlled generation of oxides on the surface of magnesium alloys, leading to improved tribological properties [] and corrosion resistance []. The nature of the formed coatings and the ultimate corrosion resistance depends both on the fabrication parameters (electrolyte composition, current density, shape of current passes, fabrication time) and on the specific substrate of the Mg alloy []. The AZ31 alloy was popular among researchers in the PEO processing route with the use of non-soluble additives [,,] or with layered double hydroxides (LDH) [], SiC [], and diamond-like carbon [,]. It is generally found that these additives provide superior tribological behaviour to the coating systems. Other additive options include graphite [,] and organofluorine materials [,]. Although the presence of the additives is beneficial, it is important to study the standalone coatings to provide the best possible base for further processing. AZ31 alloy was also tested for its performance after PEO with different additives (silicate, aluminate and hexafluorozirconate salts) to the alkaline Na3PO4 solution. K2ZrF6 proved to be the best in terms of tribological behaviour, while NaAlO2 was the most effective in terms of corrosion resistance []. Wu et al. showed that for Al-Mg-Sc alloys, the effect of increasing current density is such that it decreases the resulting PEO coating porosity and increases the roughness. The wear properties were found to be optimal for higher current densities (10 A/dm2), which was attributed to the higher thickness and good adhesion of the oxide film to the substrate []. A similar study was also conducted for AZ31 alloy [], where pore sizes were larger at higher current densities, while their number decreased, and the same current density was found to be optimal.
However, despite numerous studies on this process, there are many aspects that still require in-depth research or optimisation. In the study by Jiang et al., an optimisation procedure was reported on ZM5 alloy (similar in the chemical makeup to the AZ31 family) regarding the electrolytic bath composition (Si, P, F, Al and B compounds as well as KOH) using an orthogonal experimental design with a four-factor and three-level orthogonal scheme. It determined that, in general, the coatings based on the aluminate baths are harder, with the effects of different additives contributing to the tribological properties of the outer, loose oxide layer []. However, in the context of tribology research, the analysis of the influence of fabrication parameters of oxide coatings produced on magnesium alloys is crucial for understanding the mechanisms occurring during abrasion and lubrication processes. Furthermore, the study of the surface wettability of oxides fabricated on magnesium alloys is essential for assessing the interaction between their wetting angles and tribological properties. This is crucial for many industrial applications, such as the manufacture of machine components, biomedicine or the automotive industry. Through an in-depth analysis of these issues, the following article contributes to the further development of knowledge on the use of plasma electrolytic oxidation to improve the tribological properties and wettability of magnesium alloy surfaces, thus opening new perspectives for their industrial and technological applications.
This paper uses statistical methods applied to the design and analysis of DOE (Design of Experiments), which are useful for optimising the process and for finding relationships between input variables and measured parameters. The DOE methodology is described, for example, in studies [,]. However, to the best of the author’s knowledge, such a study has not yet been reported for the magnesium-based substrate. The results allow for precisely isolating the most important contributions to the desired tribological behavior depending on the imposed PEO processing conditions.
2. Materials and Methods
2.1. Research Material
The test material was oxide coatings produced on Mg-AZ31B alloy substrates. Specimens were cut from a 5 mm thick rolled sheet to dimensions of 62.5 mm × 16 mm × 5 mm, which were the surfaces to be oxidised. Prior to the actual oxidation process, the samples were prepared by grinding on a polishing machine using 240-grit SiC water sandpaper at 150 rpm. Then, for degreasing, the samples were placed in an ultrasonic cleaner for 5 min, using isopropyl alcohol as the working medium. Surface preparation of the samples was completed with a thorough rinse in distilled water and allowed to dry.
To produce oxide coatings on the Mg-AZ31B alloy, the samples were subjected to plasma electrolytic oxidation with a trapezoidal voltage waveform using a KIKUSUI PCR2000WEA (Kikusui Electronics Corporation, Kikusui, Japan) power supply. A voltage limit of 400 V was applied to the positive current cycles. During the process, samples made of magnesium alloy served as the anode, while stainless steel was used as the cathode. The plasma electrolytic oxidation process was carried out in a two-component electrolyte consisting of an aqueous solution of sodium metasilicate (Na2SiO3) at a concentration of 5 g/L and sodium hydroxide (NaOH) at a concentration of 5 g/L. The electrolyte temperature was stabilised with a cryostat, and the temperature was 303 ± 5 K. The electrolyte was additionally stirred using a pump. The oxidation parameters (peak current density, process time, pulse frequency) were selected based on Hartley’s hypercube-based test plan for three input variables with three variable values (Table 1). Peak current densities of 10, 15 and 20 A/dm2; pulse frequencies of 50, 75 and 100 Hz; and process times of 30, 45 and 60 min were used.
Table 1.
Hartley’s test plan.
A characteristic feature of the oxide coatings produced is the porosity of the surface with different pore sizes. Figure 1a shows the surface morphology of an example oxide coating, and Figure 1b shows a cross-section of the surface. The images were taken using scanning microscopy at 2000× magnification.
Figure 1.
Images SEM of an example oxide coating for: (a) surface morphology, (b) cross-section.
A plastic called PEEK-HPV in the form of a mandrel was used as a partner in tribological tests. The composite material is mainly made of polyetheretherketone, reinforced with carbon fibres and additives such as graphite lubricants and PTFE. These additives give it excellent wear resistance, reduce its coefficient of friction and provide the best machinability for all PEEK polymers. In addition, the material has high mechanical strength and stiffness []. Thanks to these properties, it finds a wide range of applications, including wear guides, bearings, bushings and rollers, as well as valves and seals.
2.2. Research Methodology
The thickness of the coatings was measured using the contact method with a Fischer Dualoscope MP40 (Helmut Fischer GmbH + Co. KG, Sindelfignen, Germany). The instrument measures based on the eddy current method. Ten measurements were taken on the surface of each sample, which were then used to calculate the average coating thickness together with the standard deviations.
Microscopic studies were carried out using a Hitachi TM3000 scanning electron microscope (Hitachi, Tokyo, Japan). A photograph of the surface morphology was taken at 2000× magnification to observe the pores.
The amplitude parameters and the Abbott Firestone load–bearing curve, along with the roughness profiles, were determined using profilographometric measurements before and after the tribological test. Measurements were made using a Form TalySurf Series 2 50i contact profilographometer (Taylor Hobson Ltd., Leicester, UK).
The surface wettability of the samples was determined by measuring the wetting angle using the sitting drop method. A video-based goniometer OCA 15EC (DataPhysics Instruments GmbH, Filderstadt, Germany) was used. Measurements were performed at a constant ambient temperature of 298 K. One polar liquid (distilled water) and one non-polar liquid (diiodomethane) were used. Ten drops of each liquid were applied along the length of each sample using a micropipette with an automatic feeder. After each drop was applied, a photograph was taken and exported to a computer. The software used allowed for the wetting angle to be automatically measured on both the right and left sides of the droplet, which was then averaged. The averages of the angles from the 10 drops were used to calculate the average wetting angle for a given sample.
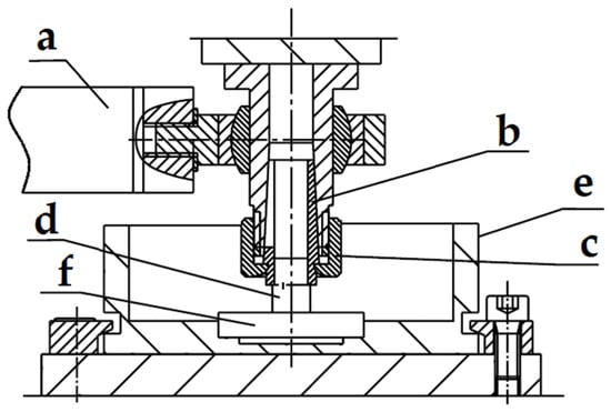
Tribological tests were carried out on a T-17 pin-plate tester in post-sliding motion (Figure 2) over a friction path of 15 km using a constant feed rate of 0.2 m/s and a constant unit pressure of 0.5 MPa. Technically dry friction conditions were used; the ambient temperature during the tribological run was 298 ± 1 K, and the humidity was 40 ± 10%. The frictional force was measured using a Spider 8 transducer, which allows for the data to be exported to a computer and saved in Catman 4.5 software. Friction coefficients were calculated from a stabilised range of frictional force values (600–1200 min). The average mass wear of the pin and the average change in sample mass were determined using the weight method.
Figure 2.
Diagram of the friction junction of the T-17 tester: (a) force sensor, (b) collet, (c) clamping nut, (d) upper pin, (e) reservoir, (f) plate [].
In order to determine the influence of input quantities on the friction coefficient and average mass wear of the pin, an experiment based on the Hartley plan with three three-valued input quantities was analysed in the Statistica program. This plan belongs to the group of small central compositional plans, the main task of which is to determine the response area. In other words, a model is fitted to the experimental values of the output quantity, which includes the following:
- Main effects for input quantities (, , );
- Their interactions (, , );
- Square words (, , ).
An analysis of the experience with a compositional master plan was chosen. An evaluation of the effects of the trivalent input variables (—peak current density (A/dm2); —pulse frequency (Hz); oraz —process time (min)) on the dependent output variables (friction coefficient and pin wear) was carried out. The fit (adequacy, consistency) of the model to the response surface is illustrated in the spatial plots. A Pareto diagram was plotted to determine which data (of those listed in 1–3) would be included in the model. Marginal mean plots with 95% confidence intervals were also used to visualise the statistical analysis of the results.
3. Results and Discussion
3.1. The Thickness of the Oxide Coating
Table 2 summarises the average results of oxide coating thickness measurements produced according to the Hartley plan, together with the standard deviations. The highest oxide film thickness was measured for sample F, produced at a peak current density of 20 A/dm2 at a frequency of 75 Hz for a time of 45 min, and the lowest for sample H, produced at a peak current density of 15 A/dm2 at a frequency of 100 Hz and a time of 45 min. The small deviations are indicative of even coating buildup over the entire sample surface.
Table 2.
List of the thickness of oxide coatings produced in the oxidation process.
3.2. Tribological Tests
As a result of the tests, a sliding film was applied to the coating surfaces for an example sample (Figure 3). The mechanism of applying the sliding film is characteristic of sliding associations with polymers. The ability to create and maintain a sliding film results from the coating production parameters. The different nature of applying the sliding film to the coating surface translates into differences in pin wear and movement resistance.
Figure 3.
SEM image of the sample surface after sliding cooperation for magnification: (a) 50×; (b) 1000×.
Figure 4 shows a graph of the coefficient of friction µ versus the duration of the test for sample E. The characteristics for all samples are very similar, with the coefficient of friction increasing at the beginning, reaching a peak value of approximately 100 min. From the 100th minute of the test, the coefficient of friction decreases and stabilises around the 600th minute. It was the stabilisation range that was used to determine the average coefficient of friction for the samples. The initial increase coefficient of friction results from the shearing of the sample tops, and further decrease and stabilisation are achieved by applying a polymer sliding film and changing the interaction between the coating–polymer and polymer–polymer.
Figure 4.
Chart of the change in the coefficient of friction in test time.
Table 3 shows the friction coefficient with standard deviation for all coatings after sliding cooperation with PEEK-HPV plastic. The oxidation parameters affect the friction coefficient values µ. The highest coefficient of friction for the coatings was obtained for sample B, produced at a current density of 20 A/dm2 at a frequency of 50 Hz for 30 min, while the lowest was determined for sample E, produced at a current density of 10 A/dm2 at a frequency of 75 Hz for 45 min.
Table 3.
The values of the coefficient of friction µ of the coatings oxide when working with the PEEK-HPV material.
In order to determine the dependence of the friction coefficient µ on the oxide coating fabrication parameters (peak current density, pulse frequency, process time), a Pareto plot was performed (Figure 5). The Pareto chart allowed the dependence of the absolute values of the standardised effects on the friction coefficient to be presented between the factors studied. In a Pareto chart, if the bars are crossed by a reference line, from a statistical point of view, this means that the changes in the output are statistically significant at the α = 0.05 level, i.e., there is a 5% risk that the effects shown do not actually occur. This graph, along the horizontal axis, shows the effect estimators included in the analysis. In the Pareto plot, the two bars of absolute values, ([HZ](Q), the squared expression of the variable current frequency and 1Lby3L (linear interaction between the variables: peak current density and time), are not crossed by a reference line. Therefore, they were not included in the response surface modelling. The analysis of the compositional master plan included a model with the remaining linear/quadratic main effects along with interactions—the remaining bars intersected by the reference line. The greatest quadratic relationship to the friction coefficient was determined for the time of the oxidation process. A linear and quadratic relationship between the peak current density, process time and pulse frequency with respect to the friction coefficient was demonstrated. A common dependence of the pulse frequency and process time, as well as the peak current density and process frequency, on the friction coefficient was found.
Figure 5.
Pareto chart of absolute values of standardised effects affecting the friction coefficient.
Figure 6 shows the response surface models for the three frequencies used. These models can be compared as they have the same dependent variable (friction coefficient) and the same sample range. The influence of the oxidation parameters (process time, peak current magnitude) is independent of frequency. According to the modelling, the highest friction coefficient occurs for the highest peak current densities at extreme process times (lowest and highest).
Figure 6.
Response surface models for samples produced at a pulse frequency of (a) 50 Hz, (b) 75 Hz, (c) 100 Hz.
Figure 7 shows marginal average graphs for the friction coefficient for three process durations. The graphs show that with the lowest process time of 30 min, the 50 Hz frequency and the highest peak current density produce the coating with the highest friction coefficient. In turn, the lowest friction coefficient is achieved by coatings produced in 45 min at the lowest peak current density values.
Figure 7.
Plot of marginal means and confidence interval (95%) for the friction coefficient.
Table 4 shows the average change in sample mass and the average pin wear for all coatings produced in the plasma electrolytic oxidation process after sliding cooperation with PEEK-HPV material. The standard deviation for all samples was 0.1 mg. Oxidation parameters influence both the average change in sample mass and the average mass wear of the pin. The highest average change in sample mass (0.9 mg) was recorded for sample J, oxidised at a peak current density of 15 A/dm2 and a frequency of 75 Hz for 60 min. This means that sample J had the most sliding film deposited on it among all the coatings. This sample was characterised by low pin wear (4.8 mg), which proves very good cooperation between the partners. However, the lowest change in sample mass was 0.2 mg and was recorded for sample H, produced at a peak current density of 15 A/dm2 and a frequency of 100 Hz for 45 min. This means almost five times less sliding film is applied. The wear of the pin was similar to that of sample J, which suggests much poorer cooperation between the coating of sample H and the PEKK-HPV pin. The highest average pin wear was recorded for sample C (7 mg), oxidised at a peak current density of 10 A/dm2 and a frequency of 100 Hz for 30 min, and the lowest for sample A (3.2 mg), produced at a peak current density of 10 A/dm2 and frequency 50 Hz for 60 min.
Table 4.
Mean values of sample average change in sample mass and average mass wear of polymer pins.
3.3. Surface Roughness Tests
Table 5 presents selected amplitude parameters (Rq—mean square deviation of the profile from the mean line along the measurement or elementary section; Rsk—roughness profile skewness coefficient; Rku—roughness profile slope coefficient) with the greatest impact on the tribological cooperation–bearing curve parameters (Abotta Firestone a): Rk—depth of the roughness core; Rpk—reduced height of hills; Rvk—average depth of pits before and after tribological tests.
Table 5.
Amplitude parameters and parameters of the load capacity curve of layers before and after friction.
Six parameters were selected to analyse the geometric structure of the surface before and after tribological cooperation: Rq, Rsk, Rku, Rk, Rpk, Rvk. The analysis of Pareto diagrams for the surface before tribological cooperation showed a linear and/or quadratic dependence of the parameters (Rq, Rku) on the peak current density and a quadratic dependence of the Rpk parameter on frequency and the influence of the interaction between frequency and process time on the nature of this parameter. Figure 8 shows examples of Pareto charts for the Rq parameter (Figure 8a) and Rku (Figure 8b), respectively.
Figure 8.
Pareto charts for the surface before friction for the parameters Rq (a) and Rku (b), depending on the coating production parameters.
Similar analyses were performed for surfaces after friction, which showed a significant dependence of the parameters Rq, Rku, Rk, Rpk and Rvk on the coating production parameters (Figure 9). The analysis of Pareto charts for the surface after tribological cooperation showed the highest linear dependence of the Rq parameter on frequency, as well as quadratic and linear dependence on process time and quadratic dependence on peak current density and frequency (Figure 9a). The highest linear dependence of the Rku parameter was demonstrated on the process time, and a quadratic dependence on the peak current density was also found (Figure 9b). For the Rk parameter, the highest linear relationship was determined for frequency; a linear and quadratic relationship was found for the process time, and a quadratic relationship for the peak current density and frequency was demonstrated (Figure 9c). The highest linear relationship for the Rpk parameter occurred with respect to frequency. A quadratic relationship for frequency is also indicated, as well as a common relationship between frequency and process time. A linear dependence of the peak current density and a quadratic dependence of the process time on the Rpk parameter was also found (Figure 9d). For the Rvk parameter, the highest linear dependence was determined for frequency, and linear and quadratic dependence was determined for process time (Figure 9e).

Figure 9.
Pareto charts for the surface after friction: (a) Rq; (b) Rku; (c) Rk; (d) Rpk; (e) Rvk depending on the coating production parameters.
Using the correlation coefficient, the strength of the relationship between the profilographometric parameters and the output values, friction coefficient, mass wear of the pin and change in sample mass was determined. Figure 10 shows a significant relationship (0.6 < r < 0.8) [] between the parameters Rk, Rku and Rq of the surface before the tribological test and the friction coefficient.
Figure 10.
Charts of the correlation coefficient between the friction coefficient and the parameter: (a) Rq; (b) Rku; (c) Rk before the tribological test.
Figure 11 shows a significant relationship (0.6 < r < 0.8) [] between the parameters Rk, Rq and Rvk of the surface after the tribological test for mass wear of the pin.
Figure 11.
Charts of the correlation coefficient between the average pin wear and the parameter: (a) Rk; (b) Rq; (c) Rvk after the tribological test.
Figure 12 shows a significant relationship (0.4 < r < 0.6) [] between the parameters Rq and Rk of the surface, respectively, before and after the tribological test on the mass wear of the sample.
Figure 12.
Charts of the correlation coefficient between the average change in sample mass and the parameter: (a) Rq before the tribological test; (b) Rk after the tribological test.
The tribological properties of oxide coatings are largely dependent on the surface roughness parameters. Thanks to the images of roughness profiles (Figure 13), it was possible to present differences in the roughness of the coatings resulting from the applied manufacturing parameters and surface changes occurring as a result of the tribological test. Roughness profiles before the tribological test show differences, among others, in the number and size of peaks and the depth of depressions, which are the result of the use of various parameters for the production of oxide coatings. Tribological tests contributed to smoothing the coating surfaces and cutting off the roughness peaks. On the surface of sample B before the tribological test, characterised by the highest friction coefficient, a significant number of sharp peaks are visible, which, when working with the PEEK-HPV material, generated resistance to movement and contributed to the increase in the friction coefficient. Sample E (with the lowest friction coefficient) has a completely different roughness profile, where the roughness is much lower, with a much smaller number of peaks, and, therefore, lower resistance to movement. The highest wear of the pin was observed in samples C and D, where the number of peaks before the tribological test is insignificant and the profile depressions are large. The tribological test caused the peaks to be sheared and the cavities to be partially filled. In this case, the emerging cavities act as reservoirs for solid lubricant resulting from the abrasion of the material with the addition of graphite and PTFE, which is confirmed by the increase in the mass of the sample after the tribological test (Table 4). Sample B was characterised by the highest and sample E by the lowest surface wettability, which is consistent with the Wenzel model [].

Figure 13.
Roughness profiles: (a–k) markings according to Table 1; 1—before the tribological test; 2—after the tribological test.
3.4. Measurements of Wettability
Table 6 shows the results of contact angle measurements using distilled water and diiodomethane, along with the deviations. The highest contact angle measured using distilled water was determined for sample E (110.38°) oxidised at a peak current density of 10 A/dm2 and a frequency of 75 Hz for 45 min (Figure 14a). This proves the strongly hydrophobic properties of the coating. This sample was characterised by the lowest friction coefficient. The lowest contact angle value was measured for sample B (65.38°), which was produced at a peak current density of 20 A/dm2 and a frequency of 50 Hz for 30 min (Figure 14b). This sample also had the highest friction coefficient. The highest contact angle measured using diiodomethane was determined for sample E (97.66°) and the lowest for sample D (63.13°), produced at a peak current density of 20 A/dm2 and a frequency of 100 Hz for 60 min.
Table 6.
Contact angles of oxide coatings measured with distilled water and diiodomethane.
Figure 14.
Photo of a water drop while measuring the contact angle of coatings: (a) sample E; (b) sample B.
In order to determine the relationship between oxidation parameters and contact angle measurements, Pareto charts were made for contact angles determined for water (Figure 15a) and for diiodomethane (Figure 15b). Analysis of Pareto charts for contact angles measured with water showed the highest quadratic dependence on process time, as well as quadratic dependence on frequency and peak current density. A linear dependence on the process time was also demonstrated. Taking into account the relationships determined using the Pareto chart for contact angles measured using diiodomethane, the highest square relationship occurs for frequency. A linear and quadratic dependence on the peak current density was determined, as well as a common dependence of the frequency with the process time and the peak current density with the frequency.
Figure 15.
Pareto charts for contact angles measured on the coating surface using (a) distilled water and (b) diiodomethane, depending on the coating production parameters.
Figure 16 shows marginal average graphs for contact angles measured using distilled water (Figure 16a) and diiodomethane (Figure 16b) for three process durations. By far, the highest contact angles measured using distilled water were determined for coatings produced within 45 min. For extreme manufacturing parameters (peak current density, process time, pulse frequency), the coatings achieved the lowest contact angles. By analysing the values of contact angles measured using diiodomethane, it is possible to notice similar relationships as in the case of distilled water; in other words, the highest angles were determined for a process duration of 45 min, and similarly extreme production conditions influence the production of coatings with the highest wettability determined using diiodomethane.
Figure 16.
Charts of marginal means and confidence interval (95%) for the contact angle measured using (a) distilled water and (b) diiodomethane.
4. Conclusions
This paper presents the influence of the parameters of plasma electrolytic oxidation of the Mg-AZ31B alloy on the tribological properties and wettability of the surface of the produced coatings. The influence of the most important parameters (peak current density, process time, pulse frequency) on the oxidation process was assessed. It has been shown that the proposed parameters for producing coatings do not have a significant impact on their thickness. The thickness of the coatings was the same, which is important for tribological applications of the coatings. The oxidation parameters of the alloy surface affect the wettability of the coating surfaces, which affects the ability to create a sliding film, reducing the resistance to movement. The highest values of surface contact angles were demonstrated for average values of production parameters, which, in the case of an intermediate value of production time, translates into the lowest values of the friction coefficient. High values of contact angles indicate the highly hydrophobic properties of the coating, i.e., features that reduce friction forces in sliding associations in the case of technically dry friction. Low friction forces were also demonstrated for the minimum peak values of current density and process time at maximum frequency and for the maximum peak values of current density and process time at minimum frequency. Such parameters are, therefore, the most favourable for the combination of sliding oxide coatings produced by the PEO method based on the Mg-AZ31B alloy with PEEK-HPV material. It is worth emphasising that in the case of technically dry friction, hydrophobic surfaces are desirable because there is lower resistance to movement between the mating surfaces, which results in a lower friction coefficient. The innovation of this article lies in the integrated and multi-aspect approach to the optimisation and characterisation of coatings produced by plasma electrolytic oxidation, which may lead to new applications and improvements in protective coating technology. A very important aspect of the research was the connection of tribological properties with surface wettability.
Author Contributions
Conceptualization, M.N., M.S. and W.S.; Methodology, M.N., M.S., A.O. and W.S.; Software, M.N., J.K., S.K. and A.O.; Formal analysis, M.N. and M.B.; Writing—original draft, M.N., M.B. and J.K.; Writing—review & editing, M.N., M.B., J.K. and M.S.; Visualization, M.N., J.K. and S.K.; Supervision, M.N. All authors have read and agreed to the published version of the manuscript.
Funding
This research received no external funding.
Institutional Review Board Statement
Not applicable.
Informed Consent Statement
Not applicable.
Data Availability Statement
The data presented in this study are available upon request from the corresponding author. The data is not public due to its very large amount, but it can be made available upon request.
Conflicts of Interest
The authors declare no conflict of interest.
References
- Liu, B.; Yang, J.; Zhang, X.; Yang, Q.; Zhang, J.; Li, X. Development and application of magnesium alloy parts for automotive OEMs: A review. J. Magnes. Alloy 2023, 1, 15–47. [Google Scholar] [CrossRef]
- Bai, J.; Yang, Y.; Wen, C.; Chen, J.; Zhou, G.; Jiang, B.; Peng, X.; Pan, F. Applications of magnesium alloys for aerospace: A review. J. Magnes. Alloy 2023, 10, 3609–3619. [Google Scholar] [CrossRef]
- Landkof, B. Magnesium applications in aerospace and electronic industries. In Magnesium Alloys and Their Applications; Wiley-VCH Verlag GmbH: Weinheim, Germany, 2000. [Google Scholar]
- Barylski, A.; Aniołek, K.; Dercz, G.; Matuła, I.; Rak, J.; Mazur, I. The Effect of Changes in the Aging Temperature Combined with Deep Cryogenic Treatment on the Structure, Phase Composition, and Micromechanical Properties of the WE43 Magnesium Alloy. Materials 2023, 16, 7447. [Google Scholar] [CrossRef] [PubMed]
- Barylski, A.; Aniołek, K.; Dercz, G.; Matuła, I.; Kaptacz, S.; Rak, J.; Paszkowski, R. Improving the Tribological Properties of WE43 and WE54 Magnesium Alloys by Deep Cryogenic Treatment with Precipitation Hardening in Linear Reciprocating Motion. Materials 2024, 17, 2011. [Google Scholar] [CrossRef]
- Heydarian, A.; Rahmati, M.; Atapour, M.; Hakimizad, A.; Raeissi, K. Effect of electrochemical parameters on wear and tribocorrosion capabilities of the PEO coatings generated through pulsed waveforms on AZ91 magnesium alloy. J. Mater. Res. Technol. 2023, 27, 6148–6158. [Google Scholar] [CrossRef]
- Yerokhin, A.L.; Nie, X.; Leyland, A.; Matthews, A.; Dowey, S.J. Plasma electrolysis for surface engineering. Surf. Coat. Technol. 1999, 12, 73–93. [Google Scholar] [CrossRef]
- Bala Srinivasan, P.; Blawert, C.; Störmer, M.; Dietzel, W. Characterisation of tribological and corrosion behaviour of plasma electrolytic oxidation coated AM50 magnesium alloy. Surf. Eng. 2010, 26, 340–346. [Google Scholar] [CrossRef]
- Godja, N.; Kiss, N.; Löcker, C.; Schindel, A.; Gavrilovic, A.; Wosik, J.; Mann, R.; Wendrinsky, J.; Merstallinger, A.; Nauer, G.E. Preparation and characterization of spark-anodized Al-alloys: Physical, chemical and tribological properties. Tribol. Int. 2010, 43, 1253–1261. [Google Scholar] [CrossRef]
- Shen, M.J.; Wang, X.J.; Zhang, M.F. High-compactness coating grown by plasma electrolytic oxidation on AZ31 magnesium alloy in the solution of silicate–borax. Appl. Surf. Sci. 2012, 259, 362–366. [Google Scholar] [CrossRef]
- Hermanns, P.; Boeddeker, S.; Bracht, V.; Bibinov, N.; Grundmeier, G.; Awakowicz, P. Investigation of the frequency dependent spatio-temporal dynamics and controllability of microdischarges in unipolar pulsed plasma electrolytic oxidation. J. Phys. D Appl. Phys. 2021, 54, 045205. [Google Scholar] [CrossRef]
- Ye, H.; Sun, X.; Liu, Y.; Rao, X.; Gu, Q. Effect of ultrasonic surface rolling process on mechanical properties and corrosion resistance of AZ31B Mg alloy. Surf. Coat. Technol. 2019, 372, 288–298. [Google Scholar] [CrossRef]
- Tekin, K.; Malayoglu, U.; Shrestha, S. Tribological properties of plasma electrolytic oxide coatings on magnesium alloys. Tribol. Mater. Surf. Interfaces 2012, 6, 67–74. [Google Scholar] [CrossRef]
- Ghasemi, A.; Raja, V.S.; Blawert, C.; Dietzel, W.; Kainer, K.U. Study of the structure and corrosion behavior of PEO coatings on AM50 magnesium alloy by electrochemical impedance spectroscopy. Surf. Coat. Technol. 2008, 202, 3513–3518. [Google Scholar] [CrossRef]
- Hussein, R.O.; Northwood, D.O.; Nie, X. The effect of processing parameters and substrate composition on the corrosion resistance of plasma electrolytic oxidation (PEO) coated magnesium alloys. Surf. Coat. Technol. 2013, 237, 357–368. [Google Scholar] [CrossRef]
- Zhuang, J.; Song, R.; Li, H.; Xiang, N. Effect of Various Additives on Performance of Plasma Electrolytic Oxidation Coatings Formed on AZ31 Magnesium Alloy in the Phosphate Electrolytes. J. Wuhan Univ. Technol. Mater. Sci. Ed. 2018, 33, 703–709. [Google Scholar] [CrossRef]
- Zhuang, J.; Song, R.; Xiang, N.; Xiong, Y.; Hu, Q. Effect of current density on microstructure and properties of PEO ceramic coatings on magnesium alloy. Surf. Eng. 2016, 33, 744–752. [Google Scholar] [CrossRef]
- Jiang, B.; Wen, Z.; Wang, P.; Huang, X.; Yang, X.; Yuan, M.; Xi, J. Study on the Optimization of the Preparation Process of ZM5 Magnesium Alloy Micro-Arc Oxidation Hard Ceramic Coatings and Coatings Properties. Metals 2024, 14, 594. [Google Scholar] [CrossRef]
- Zhao, C.; Wang, X.; Li, C.; Liu, Y.; Sun, S.; Yang, S.; Sun, Y.; Peng, Z.; Yu, Q.; Cai, M.; et al. Superior tribological and anti-corrosion performance of corrosion inhibitors intercalated LDH-MAO coating on AZ31 Mg alloys. Tribol. Int. 2024, 191, 109–126. [Google Scholar] [CrossRef]
- Vatan, H.N.; Ebrahimi-kahrizsangi, R.; Kasiri-asgarani, M. Structural, tribological and electrochemical behavior of SiC nanocomposite oxide coatings fabricated by plasma electrolytic oxidation (PEO) on AZ31 magnesium alloy. J. Alloys Compd. 2016, 683, 241–255. [Google Scholar] [CrossRef]
- Bhowmick, S.; Muhaffel, F.; Eskandari, B.; Cimenoglu, H.; Alpas, A.T. Low Friction and High Wear Resistance of Plasma Electrolytic Oxidation (PEO)-Coated AZ31 Mg Alloy Sliding against Hydrogenated DLC (a-C-H) at Elevated Temperatures. Coatings 2022, 12, 607. [Google Scholar] [CrossRef]
- Bhowmick, S.; Muhaffel, F.; Sun, G.; Cimenoglu, H.; Alpas, A.T. Role of counterfaces with DLC and N-based coatings on frictional behaviour of AZ31 magnesium alloy subjected to plasma electrolytic oxidation (PEO) process. Surf. Coat. Technol. 2020, 397, 125997. [Google Scholar] [CrossRef]
- Tonelli, L.; Pezzato, L.; Dolcet, P.; Dabalà, M.; Martini, C. Effects of graphite nano-particle additions on dry sliding behaviour of plasma-electrolytic-oxidation-treated EV31A magnesium alloy against steel in air. Wear 2018, 404–405, 122–132. [Google Scholar] [CrossRef]
- Peitao, G.; Mingyang, T.; Chaoyang, Z. Tribological and corrosion resistance properties of graphite composite coating on AZ31 Mg alloy surface produced by plasma electrolytic oxidation. Surf. Coat. Technol. 2019, 359, 197–205. [Google Scholar] [CrossRef]
- Gnedenkov, S.V.; Sinebryukhov, S.L.; Mashtalyar, D.V.; Nadaraia, K.V.; Kiryukhin, D.P.; Kichigina, G.A.; Kushch, P.P.; Buznik, V.M. Composite coatings formed on the PEO-layers with the use of solutions of tetrafluoroethylene telomers. Surf. Coat. Technol. 2018, 346, 53–62. [Google Scholar] [CrossRef]
- Protective Composite Coatings Formed on Mg Alloy Surface by PEO Using Organofluorine Materials. J. Mater. Sci. Technol. 2017, 33, 661–667. [CrossRef]
- Wu, M.; Jiang, F.; Tang, Z.; Long, M.; Wu, F.; Su, Y. Effect of current density on tribological properties of micro-arc oxidation ceramic film on Al-Mg-Sc alloy. Surf. Topogr. 2023, 11, 015020. [Google Scholar] [CrossRef]
- Radek, N.; Pietraszek, J.; Antoszewski, B. The average friction coefficient of laser textured surfaces of silicon carbide identified by RSM methodology. Adv. Mat. Res. 2014, 874, 29–34. [Google Scholar] [CrossRef]
- Pietraszek, J.; Szczotok, A.; Radek, N. The fixed-effects analysis of the relation between SDAS and carbides for the airfoil blade traces. Arch. Metall. Mater. 2017, 62, 235–239. [Google Scholar] [CrossRef]
- Zhang, Z.; Breidt, C.; Chang, L.; Friedrich, K. Wear of PEEK composites related to their mechanical performances. Tribol. Int. 2004, 37, 271–277. [Google Scholar]
- Niedźwiedź, M.; Bara, M.; Skoneczny, W.; Kaptacz, S.; Dercz, G. Influence of Anodizing Parameters on Tribological Properties and Wettability of Al2O3 Layers Produced on the EN AW-5251 Aluminum Alloy. Materials 2022, 15, 7732. [Google Scholar] [CrossRef]
- Evans, J.D. Straightforward Statistics for the Behavioral Sciences; Thomson Brooks/Cole Publishing Co.: Belmont, CA, USA, 1996. [Google Scholar]
- Han, S.; Yang, R.; Li, C.; Yang, L. The Wettability and Numerical Model of Different Silicon Microstructural Surfaces. Appl. Sci. 2019, 9, 566. [Google Scholar] [CrossRef]
Disclaimer/Publisher’s Note: The statements, opinions and data contained in all publications are solely those of the individual author(s) and contributor(s) and not of MDPI and/or the editor(s). MDPI and/or the editor(s) disclaim responsibility for any injury to people or property resulting from any ideas, methods, instructions or products referred to in the content. |
© 2024 by the authors. Licensee MDPI, Basel, Switzerland. This article is an open access article distributed under the terms and conditions of the Creative Commons Attribution (CC BY) license (https://creativecommons.org/licenses/by/4.0/).