Next Article in Journal
Factors Influencing the Droplet Size of Asphalt Emulsion during Fabrication
Previous Article in Journal
Influence of Texture and Thickness of Pyrocarbon Coatings as Interphase on the Mechanical Behavior of Specific 2.5D SiC/SiC Composites Reinforced with Hi-Nicalon S Fibers
 
 
Font Type:
Arial Georgia Verdana
Font Size:
Aa Aa Aa
Line Spacing:
Column Width:
Background:
Article

Impact of Nitrocarburizing on Hardening of Reciprocating Compressor’s Valves

1
Department of Applied Materials Science and Technology of Constructional Materials, Sumy State University, 2, Rymskogo-Korsakova St., 40007 Sumy, Ukraine
2
Department of Automobile and Manufacturing Technologies, Technical University of Kosice, 1, Bayerova St., 080 01 Presov, Slovakia
3
Department of Computational Named after Volodymyr Martsynkovskyy, Sumy State University, 2, Rymskogo-Korsakova St., 40007 Sumy, Ukraine
4
Department of Manufacturing Engineering, Machines and Tools, Sumy State University, 2, Rymskogo-Korsakova St., 40007 Sumy, Ukraine
5
Department of Applied Hydroaeromechanics, Sumy State University, 2, Rymskogo-Korsakova St., 40007 Sumy, Ukraine
*
Author to whom correspondence should be addressed.
Coatings 2022, 12(5), 574; https://doi.org/10.3390/coatings12050574
Submission received: 17 March 2022 / Revised: 8 April 2022 / Accepted: 20 April 2022 / Published: 23 April 2022

Abstract

:
One of the urgent problems in reciprocating machinery is ensuring the functional properties of direct-flow valves. Coatings of these parts should increase energy efficiency, reduce compressed gas temperature, and increase compressor performance. In this article, the effect of nitrocarburizing in pastes on increasing the performance and resource of such valves was studied. The primary research methods were metallographic and electron-metallographic research of the surface layer structure of steel 60Si2Cr. Comparison with similar characteristics obtained for stainless steel 09Cr15Ni8Al was also performed. As a result, it was determined that nitrocarburizing of carbon spring steel 60Si2Cr leads to a greater depth of the diffusion layer than nitrocarburizing of alloyed chromium-nickel steel 09Cr15Ni8Al. Simultaneously, the diffusion layers of both types of steel are almost the same. Simultaneously, the increase in the endurance limit of 60Si2Cr steel during nitrocarburizing is about 1.3 times compared to untreated material. Finally, the predictive maintenance showed that the evaluated lifetime of nitrocarburized valves increases by 5.7 times compared with untreated valves.

1. Introduction

Direct-flow valves are the closing device in the gas path of the reciprocating compressor cylinder. They are designed to control the suction and discharge of air and gas reciprocating compressors, operating in a non-aggressive environment, with a crankshaft rotation speed not exceeding 1000 rpm [1]. The valves are structurally simple and consist of limiters and seats connected by different rings [2].
The gas flow passing through the valve practically does not change its direction. Simultaneously, low pressure and power losses are ensured by a large hydraulic cross-section of the valve. The operational experience of reciprocating compressors shows that direct-flow valves, compared with valves of other designs (poppet, plate, etc.), are more reliable and differ in operational durability. According to the supplier information, the direct-flow valves operate almost silently, with an energy efficiency increased by up to 40% compared to valves of other designs, for example, ring, band, plug, and poppet valves. When using direct-flow valves, the specific power consumption is reduced by 5–12%, the temperature of the compressed gas is reduced, and the compressor performance is increased by 6–10% [3]. The temperature of the compressed gas and the compressor performance are also decreased.
Depending on the operating environment, the housings of the valves are made of brass, aluminum, or steel [4]. Plates are made of high-quality spring or stainless steel. The design of a direct flow valve may have spring plates in the form of rectangular strips. The valve plate blocks the flow of gas in the direction of its movement. The manufacture of the plates for direct-flow valves is simpler than for other valves, such as ring valves, but the material must have higher elastic properties.
The plate is made of a thin steel spring strip. The thickness of the plate is selected depending on its height (the height depends on the type of the direct-flow valve): at the height of 40 mm, the thickness is 0.2 or 0.3 mm; at the height of 60 mm—0.3 or 0.4 mm. The thickness of the plate limits the scope of direct-flow valves in terms of a pressure drop not higher than 4.0 MPa. At high-pressure drops, plates of the specified thicknesses are destroyed, and an increase in thickness leads to an increase in rigidity and rapid failure due to the appearance of fatigue cracks.
Technological methods of hardening the surface layers of elastic elements of direct-flow strip valves, providing a change in their mechanical properties, play an important role in increasing their wear resistance and durability.
Increasing the fatigue strength of plates is an urgent need to ensure the valves’ reliable operation.
It is possible to optimize the fatigue characteristics of steel by selecting chemical–thermal treatment modes. The chemical–thermal treatment increases the wear resistance of machine parts, mainly due to an increase in the hardness of the surface layer [5]. However, surface treatment leads to the formation of layers and diffusion zones with significantly different properties and failure mechanisms than the untreated steel, including increased fatigue characteristics [6].
Additionally, the full potential of the possibilities of applied coatings and products manufactured with their use is not yet fully used. This is because the features of using various types and variants of coatings in combination with different materials of products have not been studied thoroughly. Additionally, the advantages of using complex technologies for the manufacture of coated products have not been analyzed. Qualitatively, new properties of coated products are provided at all stages of the technological process, namely, coating, processing the product, and preparing it for operation. This gives grounds to conduct further research in this area to improve coating technologies and create fundamentally new variants to improve the quality of products for various purposes.
The highly efficient way of saturating the surface layers of steel with carbon and nitrogen is nitrocarburizing. By varying the temperature, duration of the process, and the composition of the gaseous environment, it is possible to obtain various concentrations of nitrogen and carbon in the surface layer and different diffusion layer depths.
The object of the study is the impact of chemical–thermal treatment (nitrocarburizing) on fatigue and strength properties of valve plates under cyclic loading. The subject of the study is the characteristics of the plates of the direct-flow valves of reciprocating compressors.
The article aims at substantiating the impact of nitrocarburizing on the hardening of valves for a reciprocating compressor. The following objectives have been formulated to achieve this goal. Firstly, fatigue processes occurring in plates under cyclic loading should be analyzed. Secondly, an approach for increasing the fatigue strength of the valve sections should be developed. Finally, the technology of hardening the valve plates of direct-flow compressor strip valves by low-temperature nitrocarburizing under production conditions should be proven.
In practice, a gas atmosphere is used for nitrocarburizing. In this case, an operating environment is obtained by thermal dissociating a liquid hydrocarbon (e.g., syntin, kerosene) with ammonia. A mixture of natural gas and ammonia or endogas, methane, and ammonia mixtures are also used in mass production.
The disadvantage of nitrocarburizing is the instability of the process. This fact is due to the impossibility of ensuring the exact composition of a nitrocarburizing environment. However, it is possible for gas carburizing. Therefore, despite the significant process intensity, nitrocarburizing is rarely used in mass production using permanent furnaces with a controlled environment. In addition, gas nitrocarburizing, such as carburizing, is carried out at temperatures above 800 °C, most often from 840 to 900 °C. Instead of gas nitrocarburizing, using low-temperature nitrocarburizing in pastes is advisable. The paste is applied directly to the reinforcing surfaces, which brings the reaction of generating active nitrogen and carbon atoms as close as possible to the steel surface, where they are immediately adsorbed and diffuse to the depth of the product. The consumption of components of the saturating medium with such a mechanism is minimal, and the saturating capacity is high [7,8].
The results of steel saturation with nitrogen and carbon during nitrocarburizing and process modes (temperatures, carburization potentials, and time) are determined by the content of alloying elements [7]. Particularly, when studying the carburization of high-chromium steels, the chromium content affects the depth of saturation and the carbon concentration in the diffusion layers.
An increase in the alloying degree leads to an increase in the ability of steel to incorporate carbon from the carburizer. This carbon is found in solid solutions and in carbides which, in high-chromium steel, can occupy 80–90% of the volume [8].
The carbide layer on the surface of nitrocarburized chromium steels significantly increases the hardness and wear resistance. However, due to its high fragility, it reduces fatigue strength. Moreover, the best fatigue characteristics are reached for nitrocarburized layers, the carbon content of which is about 0.7%. An increase in the carbon content above this value leads to a decrease in the cyclic strength of nitrocarburized steel. This is due to the increased retained austenite in the alloy [8,9].
When carrying out nitrocarburizing of parts by increasing the yield strength of the diffusion layers and the internal compressive stresses of these layers as a result of processing, it is possible to increase the fatigue strength. A favorable combination of mechanical characteristics of the valve plates (tensile strength, yield stress, and endurance limit) is created by the applied surface layers of nitrocarburized parts.
During the nitrocarburizing of steels, nitrogenous martensite and small dispersed particles of carbonitrides are formed in the diffusion layers. As a result, a multiphase system is formed with enhanced mechanical properties. Simultaneously, compression stress occurs in the nitrocarburized layer [8]. Additionally, in [10,11], the high fatigue strength of carburized and nitrocarburized parts is explained by the high yield point of the surface layer.
Remarkably, using low-temperature (550–650 °C) chemical–thermal treatment for machine parts is advisable for parts requiring a high endurance limit and not allowing deformations during treatment. In this case, the part’s surface acquires higher strength, and the core does not lose the properties given after previous treatment.
Currently, nitrocarburized coatings are widely used to improve the quality of products in various branches of engineering. This is because the applied coatings increase the fatigue strength of products, such as thin-section plates.
Since, for the elastic elements of direct-flow strip valves of compressors, it is necessary to carry out hardening not entirely over the entire surface but of individual sections (plates), it is promising to develop the technology of hardening by nitrocarburizing in the past. Additionally, to increase the fatigue strength of thin valve plates during low-temperature nitrocarburizing, it is possible to use a pasty carburizer, which has inexpensive and non-toxic components in its composition: carbamide, ferrocyanide potassium, carbon black, and dextrin glue as a liquid component to obtain a pasty consistency.
Therefore, the study of hardening by nitrocarburizing of elastic elements of direct-flow strip valves of compressors is relevant.

2. Materials and Methods

2.1. Laboratory Equipment and Characteristics of Materials

Valve plates are usually made of corrosion-resistant steel of austenitic-martensitic class 09Cr15Ni8Al. This material can be replaced with high-quality spring steel 60Si2Cr (analog of silicon-manganese steel AISI 9254) (Table 1).
Thermal treatment (quenching from 860–870 °C and tempering at 350–400 °C) provides higher strength and a longer elastic regime before yielding. Additionally, hardening increases the surface strength of steel parts operating under tension and compression [12].
Even in a single strip, the properties of steels 09Cr15Ni8Al and 60Si2Cr have a relatively wide dispersion range. As a result, an error in assessing the fatigue properties of the material can reach unacceptable values (80–90%). Therefore, an urgent objective arises—controlling the strip, detecting sections with approximately the same properties, and completing the valves with uniform plates.
Samples from selected types of steel were exposed to mechanical stress due to cold plastic deformation. After, hardness was determined by the microhardness tester “PMT-3” (“Standard-M”, Zaporizhzhia, Ukraine) with the following parameters: load range 19.6 mN–4.9 N; magnification ratio—×130, ×500, and ×800.
Due to the small thickness of the plates, a load of 2 N was applied. On each sample, measurements were made by the indenter of the hardness tester at five points. The results were averaged and converted to HRC.
Additionally, two sets of steels were strengthened, 09Cr15Ni8Al and 60Si2Cr (5 pieces per lot), to increase the fatigue strength of the valve plates. Nitrocarburizing was carried out for steel samples, cut from strips, and worked out to the required shape and size to manufacture valve plates. They were covered with paste and packed in airtight containers (the composition of the paste is specified in Section 3.2).
The following nitrocarburizing modes were used: temperatures—550 °C, and 650 °C; duration—1, 3, and 5 h.
Two containers were loaded into the furnace: firstly, a container with plates from steel 09Cr15Ni8Al, and secondly steel 60Si2Cr. The countdown of the nitrocarburization began after the container with the parts was preheated.
The container with the samples was heated by the muffle shaft furnace “SShOL-12-M3-C4” (“TeploMarket”, Kyiv, Ukraine, Figure 1) with the following parameters: nominal heating power—2.5 kW; nominal power for temperature regulation—1.5 kW; nominal temperature—1250 °C; preheating time—130 min; temperature unevenness—15 °C; accuracy of automatic temperature regulation—1.5 °C; operating environment—air.
The container was placed in a furnace preheated to the required temperature. After equalizing the temperature, the saturation time was started. After nitrocarburizing, cooling of samples was carried out in the water, for which a separator was used (Figure 2).
After removing from the furnace, the container with the lid was placed in the socket of the separator. Then, the lid was removed, and the container was placed inside the separator. The contents of the container are poured onto the inclined lattice. Filler and waste coating spilled down into the metal container, and the samples slid and fell into a tank with cold water. The samples did not have time to cool before entering the water due to a low time (less than a minute) for unpacking.
After nitrocarburizing and cooling in water, the microslices were made on the samples. After that, the microstructure of the diffusion layers was studied, and the microhardness was measured. The following equipment was used: microhardness tester “PMT-3”, metallographic microscope “MIM-7” (“Asma-Prylad, Ltd.”, Svitlovodsk, Ukraine), eyepiece micrometer “MOV-1-16” (JSC “Lomo”, Saint-Petersburg, Russia; accuracy—0.3 μm). Polished sections were etched by the 3–5% nitric acid (HNO3) solution in ethylene to detect the microstructure of nitrocarburized steel 60Si2Cr.

2.2. Mathematical Model of Tightness

The main requirements for valves are maximum flow area; minimum dead volumes introduced by valves; the most significant straightness of the gas flow; small displacements and small mass of closing organs (decrease in impact force during landing); tightness, simplicity of design, and low labor intensity of its manufacture. Therefore, significant attention is paid to the tightness of a direct-flow valve since the plates must provide the required tightness and rigidity when opening and closing, ensuring the timely closing of the valve. Valves are among the wear parts of compressors, and their failure accounts for a large proportion of compressor failures.
According to the general assumptions of the reliability theory [13,14], the most common approach to studying the reliability of the mechanical system under dynamic loading can be determined under the following hypothesis: a decrease in the reliability in time is proportional to a reliability factor. In this case, if the considered factor is tightness T, its negative time derivative d T d t is proportional to the value T with the arbitrary coefficient b:
d T ( t ) d t = b · T ( t ) ,
where t—time; T(t)—unknown time-variable tightness function; b—a particular proportionality coefficient.
The separation of integration variables allows determining the solution of this first-order differential equation:
d T ( t ) T ( t ) = b · d t .
Particularly, for the initial condition T(0) = T0, the general solution is as follows:
T ( t ) = T 0 e b t .
In the applied formula, the main parameters acquire the following physical meanings: T0, T—initial and current tightness, respectively, s; t—time, 103 h; b—performance loss rate for the valve, 10–3 h–1.
Applying this exponential distribution reliability function is also justified by the more general case of reliability estimation based on unit generalized exponential distribution [15]. However, the final justification of the proposed hypothesis and the corresponding Formulas (1)–(3) should be realized below by the best fit with the obtained experimental data.
For this purpose, the experimental data presented below allows evaluating the unknown parameters T0 and k using the linear regression procedure [16] based on the condition of minimizing the least-square error:
R ( T 0 , k ) = i = 1 n [ l n ( T 0 T i ) b t i ] 2 ,
where i, n—a current and the total experiment number; Ti—experimental tightness, s, after a lifetime of ti, 103 h.
The necessary and sufficient conditions for the minimum of this functional
{ R T 0 = 2 i = 1 n [ l n ( T 0 T i ) b t i ] = 0 ; R k = 2 i = 1 n [ l n ( T 0 T i ) b t i ] t i = 0
after identical transformation and the use of the reverse matrix method led to the following regression dependencies for evaluating the unknown parameters:
T 0 = e x p { i = 1 n t i 2   i = 1 n l n ( T i ) i = 1 n t i   i = 1 n t i l n ( T i )   ( i = 1 n t i   ) 2 n i = 1 n t i 2   } ;
b = n i = 1 n t i l n ( T i ) i = 1 n t i   i = 1 n l n ( T i )   ( i = 1 n t i   ) 2 n i = 1 n t i 2  
The maximum lifetime tmax of a valve can be estimated analytically from the following condition:
T 0 e b t m a x = T m i n ,
where Tmin—a residual tightness of the valve. Particularly, Tmin = 10 s for valves from steel 09Cr15Ni8Al.
After identical transformations of the last equation, the maximum lifetime takes the form:
t m a x = 1 b l n ( T 0 T m i n   )
This formula allows rewriting the initial Equation (3) as follows:
T ( t ) = T 0 ( T 0 T m i n   ) t t m a x
The valve’s flow part design is directly related to the efficiency and reliability of the compressors. Therefore, the tightness of the valve when closing and the reliability of its operation are directly related to the operation of the plates, which is determined by the properties of the material from which they are made.

3. Results

3.1. Studies of the Physical and Mechanical Properties of Steels

In up-to-date production, the development of effective technological processes is essential to increase the durability and reliability of machine parts while permanently increasing the intensity of operating conditions. Regarding the elastic elements of reciprocating compressors, a large reserve for increasing reliability is the production of strips, including cold plastic deformation and advanced chemical–thermal treatment.
The destruction analysis of the elastic elements for compressor machines [17] shows that the material is characterized by different structural states and physical and mechanical properties. Simultaneously, fracture resistance depends on the loading mode, especially for transitional steel 09Cr15Ni8Al.
It is necessary to analyze the structure and properties of materials for elastic elements supplied by the industry in developing a particular structural state of a material that meets the fracture resistance requirements.
The strip has unstable properties, uneven phases, and thickness distribution in the delivery state. This can be related to the deformation intensity and the number of passes.
As a result, an increase in the degree of cold plastic deformation increases the amount of the martensite phase.
Strength characteristics obtained during testing samples from a strip of different groups for both types of steel are presented in Table 2.
Table 2 shows that the distribution of properties by groups of spring steel 60Si2Cr is more uniform than chromium-nickel steel 09Cr15Ni8Al. Nevertheless, the yield stress of the 2nd group is approximately 11% lower than the 1st group. However, this characteristic is practically the same during the tension (Table 3).
The difference in properties for different types of steel 60Si2Cr is explained by the difference in the microstructure of the rejected strip sections. The microstructural analysis has confirmed that strips from the 1st group have a finer-grained and more uniform structure than the 2nd group. Defects of the last one cause a decrease in mechanical properties.
Thus, it can be concluded that spring alloys used to manufacture elastic elements for compressor machines are characterized by different structures (especially steel 09Cr15Ni8Al). The surface design structures are also different, even if used to manufacture similar elastic elements, such as direct-flow valves. Therefore, steels 09Cr15Ni8Al and 60Si2Cr have different structure modes, causing different mechanical properties in the delivery state.

3.2. Development of an Environment for Low-Temperature Nitrocarburizing

For nitrocarburizing valve plates, it can be recommended a paste of the following composition: carbamide—20–25%; ferrocyanide potassium—25–20%; carbon black—55%. Dextrin glue was also used as a liquid component to obtain a paste-like consistency.
The results of nitrocarburizing steel 60Si2Cr in such saturating medium are presented in Table 4.
Thus, both nitrocarburizing factors (temperature and duration) significantly impact the carbonitride zone depth for steel 60Si2Cr. Particularly, the temperature intensively increases the total depth of the nitrocarburized layer on both types of steel. In this case, the growth of the diffusion layer on spring steel 60Si2Cr is 2.0–2.5 times higher than on alloy steel 09Cr15Ni8Al. Therefore, alloying elements reduce the carbon and nitrogen diffusion ratio of the solid solution. This regularity is observed even when increasing the carbonitride zone thickness and saturation temperature (Figure 3).
However, with an increase in the nitrocarburizing temperature, the intensity of the carbonitride zone growth is significantly lower than for the diffusion layer. The kinetics of carbon and nitrogen saturation of valve’s steel 60Si2Cr is presented in Figure 4.
With an increase in the duration of the nitrocarburizing process, an increase in the depth of nitrocarburizing occurs. This fact relates to all the temperatures.

3.3. Features of the Structure of Nitrocarburized Layers for Steel 60Si2Cr

At the beginning of low-temperature nitrocarburizing, nitrogen diffuses into iron. This is because the diffusion rate for nitrogen in ferrite is significantly higher than for carbon. As ferrite is rapidly saturated with nitrogen, austenitization of the diffusion layer begins. As a result, carbon diffusion over austenitic zones occurs. These zones expand intensively due to the contraction of the ferritic ones. With an excess of carbon and nitrogen (above the solubility limits), carbonitride phases are formed on the surface.
The kinetics of the nitrocarburizing process can be conditionally divided into two stages. The first stage is the complete austenitization of the surface (until the disappearance of ferrite zones) and the formation of a carbonitride crust. The second is increased layer thickness due to the nitrogen and carbon diffusion through carbonitrides and austenite.
Since the diffusion rate for nitrogen in austenite is slightly lower than in ferrite, the diffusion layer depth after its austenitization and the formation of a carbonitride crust increases relatively slowly. Therefore, an increase in the duration of low-temperature nitrocarburizing above a particular rational value is not practical (in contrast to the nitriding process). At low temperatures, the saturation rate is limited by the duration of the 1st stage of nitrocarburizing. The saturating environment activity limits this duration.
With an increase in the duration of nitrocarburizing in the carbon environment, carbon diffusion into steel through the austenitic layer occurs. In this case, desorption of nitrogen occurs [18]. Desorption is not a consequence of a change in the saturating medium composition but is the result of the kinetic interaction of nitrogen and carbon atoms in steel.
The primary feature of the diffusion layers structure for steels obtained by nitrocarburizing in nitrogen-carbon paste is the presence of heterogeneous zones. Remarkably, their number and type depend mainly on the nitrocarburizing temperature.
On steel 60Si2Cr, structures of nitrocarburized layers obtained at temperatures 550 °C and 650 °C are qualitatively identical to the layers for steel 09Cr15Ni8Al at the same temperatures.
Figure 5 presents structure when measuring hardness after the nitrocarburizing process and microhardness distribution curves over the cross-section of nitrocarburized samples obtained on oblique thin sections using the microhardness tester “PMT-3” (Figure 6).
The main difference between these types of steel is that the carbonitride zones of the solid solution on steel 60Si2Cr are much larger than on steel 09Cr15Ni8Al. This is due to alloying elements (especially chromium), which significantly reduce carbon’s and nitrogen’s diffusion rate.
Moreover, nitrocarburized layers on steel 60Si2Cr are less complicated than the same layers on steel 09Cr15Ni8Al. This is because alloying elements (e.g., about 1% of Cr) assimilate carbon and nitrogen by the carbonitride and lead to the better hardenability of the solid solution.
Notably, a carbonitride crust can be obtained only by nitrocarburizing steels on the diffusion layer surface in environments with a relatively high ability to saturate the metal surface with nitrogen. The activity of carbon increases with an increase in the nitrocarburizing temperature. As a result, cementite forms on the surface of the diffusion layer, and some carbon atoms in the crystal lattice are replaced by nitrogen. However, carbonitride, isomorphic with cementite, is formed only on the layer surface. Following this, a much larger area of homogeneous ε-carbonitride forms.
At the bottom of the ε-carbonitride zone, austenite with 0.95–1.10% of Ni and about 0.6% of C is formed [19]. Supercooled austenite is very stable. Therefore, neither pearlite nor bainite is formed near the carbonitride layer. However, austenite is transformed into martensite. In this case, the temperature of the martensitic transformations at a high nitrogen content decreases significantly. Therefore, residual austenite forms (30–50% with rapid cooling in water and up to 70–90% when cooled in the air).
In the structure of the nitrocarburized layer in spring steel 60Si2Cr, numerous dispersed particles as separate carbonitride inclusions in the martensitic-austenitic zone are formed. These particles can occur only with a sufficiently high content of the nitrogen diffusion layer. Therefore, the diffusion of carbon through the carbonitride layer is easier than for alloy steel.

3.4. Effect of Nitrocarburizing on Fatigue Properties of Valve Plates from Steel 60Si2Cr

The specific structure of diffusion layers of nitrocarburized steels 09Cr15Ni8Al and 60Si2Cr used to manufacture valve plates predetermine the specific fatigue properties of these plates.
Two batches of 5 samples obtained from steel strips 60Si2Cr were tested to determine the effect of nitrocarburizing on the fatigue strength of valves. These samples were nitrocarburized in nitrogen-carbon paste in various modes (a sample per mode). Finally, the nitrocarburized samples were tested for fatigue strength. The experimental results are presented in Table 5.
The dependencies of the endurance limit for steel 60Si2Cr on nitrocarburizing modes, obtained in the study of a wide range of temperatures and duration of nitrocarburizing, are summarized in Figure 7.
An increase in the nitrocarburizing duration leads to a decrease in fatigue strength. This is due to coagulation of precipitating phase, a decrease in the dislocation density, and partial transition of martensite to austenite. As a result, the degree of blocking of dislocations and resistance to the plastic deformation decreases, especially after chemical–thermal treatment at 650 °C.
The impact of the temperature on the sample’s elongation allows substantiating the use of nitrocarburizing for steels 09Cr15Ni8Al and 60Si2Cr at temperatures of 550–650 °C. Such a chemical-thermal treatment allows for increasing the plasticity of the material under operating conditions for the elastic elements of compressors without reducing the fatigue properties.
Thus, nitrocarburizing impacts the fatigue strength of the valve steels ambiguously. Particularly, nitrocarburizing of steel 09Cr15Ni8Al at 550 and 650 °C increases the fatigue strange 1.4–1.8 times the initial value. However, at a higher temperature, this chemical-thermal treatment leads to an unacceptable decrease in fatigue strength.
The same pattern is observed for steel 60Si2Cr. Nevertheless, the range of favorable nitrocarburizing modes (in terms of fatigue strength) is less than for alloy steel 09Cr15Ni8Al. Notably, an increase in the fatigue limit for steel 60Si2Cr, which can be obtained by nitrocarburizing, is up to 1.3 times.

3.5. Determination of the Fatigue Strength of Steel Parts

It is well-known that the fatigue strength of a steel product is determined mainly by the residual stress in the surface layer. Residual stresses were carried out according to Severin’s approach [20]. According to this approach, a sample plate with a thickness of 2-mm was processed by one-sided electrolytic etching. During the experiment, internal stresses were determined by bending. This approach was improved for continuous observation of the sample bend while removing surface layers.
The sample is insulated by two layers of varnish and fixed with the lower end of the contact device. This device is placed in a bath with electrolytes (H2SO4—40%, NaCl—5%, current density—0.5 A/cm2).
The magnitude of the sample’s movement was measured using the microscope and the eyepiece micrometer described above. Residual stresses were measured every minute of the electrolytic etching. In this case, it was assumed that the dissolution rate of the sample surface was constant.
Figure 8 presents residual stress distribution over the cross-section of specimens from steels 09Cr15Ni8Al and 60Si2Cr, strengthened by nitrocarburizing.
The experimental results show that significant residual compressive stresses occur on the nitrocarburized layers surface for both types of steel. Remarkably, in the diffusion layer of steel 09Cr15Ni8Al, the stress (from –600 MPa to –650 MPa) has a much higher magnitude than steel 60Si2Cr (from –400 MPa to –500 MPa). This fact is due to alloying elements in the carbonitrides of steel 09Cr15Ni8Al, which increase the specific volume of carbonitride inclusions.
As the distance from the surface increases, the internal compressive stresses in the diffusion layers practically become equal. The compressive stress transforms into a tensile one when reaching the base metal. The tensile stress is kept constant in the plate’s core. Tensile stresses are relatively low (from +150 MPa to +180 MPa).

3.6. Characteristics after Nitrocarburizing

Temperature increases the overall depth of the nitrocarburized layer on spring steel 60Si2Cr. Notably, the growth rate of the diffusion layer is approximately 2.0–2.5 times higher than on alloy steel 09Cr15Ni8Al (Figure 9).
Therefore, alloying elements included in the composition reduce carbon and nitrogen diffusion rates in a solid solution.
Figure 10 shows that an increase in temperature leads to an almost directly proportional increase in the thickness of the carbonitride zone on steel 60Si2Cr.
At the beginning of saturation on the surface of steel 60Si2Cr, the nitrocarburized layer depth and the carbonitride zone thickness grow intensively. Nevertheless, the growth rate for diffusion layers decreases with an increase in the saturation time.
The primary feature of the diffusion layers for valve steels obtained by nitrocarburizing in nitrogen-carbon paste is the presence of inhomogeneous zones. The number and type of these zones depend mainly on the nitrocarburizing temperature.
Overall, nitrocarburizing affects the fatigue strength of valve steels ambiguously. The increase in the fatigue strength for steel 60Si2Cr obtained by nitrocarburizing is up to 1.3 times.

3.7. Practical Implementation of the Achieved Results

The developed technology of nitrocarburizing plates for direct-flow valves of compressors has been tested in production conditions. Two manufactured plates for valves “PIC 220-0.6” (“Vienybe, AB”, Ukmerge, Lithuania) were examined with the following characteristics: material—steel 60Si2Cr; contact diameter—220 mm; maximum pressure difference—0.6 MPa; chemical–thermal treatment—nitrocarburizing.
Instead of standard disc-shaped, direct-flow valves assembled from nitrocarburized plates (Figure 11) were installed on the compressor 5G-100/8.
The direct-flow valves with plates from steel 60Si2Cr without nitrocarburizing were installed on a compressor of the same type.
According to the technical requirements for the operation and maintenance of the reciprocating compressors, the valves were dismantled and tested for tightness every 2000 h (Figure 12).
The stand consists of a calibrated container with a seat for fastening the valve to be controlled. Air is supplied through a valve closed after filling the container. The container is filled with air under a pressure of 0.6–0.8 MPa. A pressure gauge controls the tightness by counting the pressure drop time, which occurs due to leaks through the gaps in the closed valve. The tightness of the valve was determined by the duration of pressure drop in the reservoir from 0.4 MPa to 0.2 MPa.
The closed valve tightness criterion is determined by the pressure drop time [20]:
t = [ ( p 1 p 2 ) k 1 2 1 ] A V δ T ,  
where p1,2—initial and final air pressure in the container, MPa; p2k—dimensionless parameter; A = 0.435 s·K0.5/m—empirical constant; V—capacity, m3; δ = 2.0 × 10–6 m—the nominal gap between the seat and the plate in the closed valve; Σ—the sum of slot perimeters, m; —air temperature in the container, K.
The operating time of valves with non-cemented plates does not exceed 1 year (8760 h). After, plates require replacement either due to cracks or elasticity loss.
Valves with nitrocarburized plates after more than 3 years (26,280 h) were still retained a relatively high tightness. They were fully functional and did not require the replacement of plates.
The monitoring results are summarized in Table 6.
Therefore, nitrocarburizing allows increasing tightness of valves by 29–54% for their lifecycle of 2000 h. Moreover, after 4000 h, valves without chemical–thermal treatment become inoperable. However, nitrocarburized valves remain effective even after 6000 h of their lifetime. In this case, the tightness decreases only by 22–35%.

3.8. Parameter Identification of the Mathematical Model

For the carried-out experiment (Table 6), and considering the obtained dependencies (6), (7), and (10), the calculation results are graphically presented in Figure 13. The evaluated data are summarized in Table 7.
These data allow for validating the applied mathematical model (3). Particularly, according to the recommendations about quantitative evaluation on valve leakage of the reciprocating compressor using the system characteristic diagnosis method [21], the following correlation coefficient has been calculated:
r = i = 1 n ( t i t ¯ ) ( T i T ¯ ) i = 1 n ( t i t ¯ ) 2 i = 1 n ( T i T ¯ ) 2 ,    
where t ¯ = 2.6 h, and T ¯ = 13.6 s—mean values of time t and tightness T, respectively.
According to this validation approach, the closer the parameter |r| to 1.0, the stronger the correlation. Notably, for the considered data presented in Figure 13, the evaluated correlation coefficient |r| = 0.90.
Hence, the reliability of the proposed approach for estimating the tightness of the considered reciprocating compressor’s valves has been proven.
Overall, after justification of the proposed approach, the maximum lifetime of a nitrocarburized valve is 5.7 times more than for an untreated one.

4. Discussion

For developing technology for creating a specific structural state of a material that meets the requirements of resistance to fracture under fatigue for a certain time, it is necessary to analyze the structure and properties of the materials of the elastic elements considered in this article.
As delivered, the strip has unstable properties and uneven distribution of phases over the thickness of the strip, which may be due to the intensity of deformation and the number of passes.
The article substantiates that the difference in the phase composition of the melted metal predetermines the instability of the structure and properties of the corrosion-resistant chromium-nickel steel 09Cr15Ni8Al. Consequently, this fact leads to the dispersion of its durability compared with high-quality spring steel 60Si2Cr.
A surface hardening method by low-temperature nitrocarburizing in pastes has been applied to increase the fatigue strength of thin valve plates. The carburizer includes carbamide (20–25%), ferrocyanide potassium (25–20%), and carbon black (55%). It also contains dextrin glue as a liquid component for obtaining paste-like consistency. All the components are non-toxic and inexpensive.
Analyzing the obtained experimental data, we can conclude that the depth of the carbonitride zone of both steels is significantly affected by both factors of nitrocarburizing, that is, the temperature and duration of the process.
The temperature intensively increases the total depth of the nitrocarburized layer on both steels (along a parabola); the growth rate of the diffusion layer on spring steel 60Si2Cr is approximately by 2.0–2.5 times higher than on alloy steel 09Cr15Ni8Al. Obviously, alloying elements, which are present in large amounts in the latter’s composition, reduce the diffusion coefficients of both carbon and nitrogen in the solid solution.
Regularity is also observed in the process of increasing the thickness of the carbonitride zone on the surface of nitrocarburized steels with an increase in the saturation temperature. Only in this case, the rate of growth of the carbonitride zone is significantly lower than the rate of growth of the depth of the diffusion layer with an increase in the nitrocarburizing temperature.
The main feature of the structure of the diffusion layers of these steels obtained by nitrocarburizing in a nitrogen-carbon paste is the presence of several distinct zones in these layers. The number and type of these zones depend mainly on the nitrocarburizing temperature.
Thus, the test results have presented the nitrocarburizing modes for steel plates. As a result, the rational mode for carrying out nitrocarburizing of plates has been determined for steel 60Si2Cr: temperature—550 °C; duration—3 h. Therefore, a thin coating layer releases active elements at relatively low heating. This leads to active nitrogen and carbon atoms forming near the saturable surface. The last effect significantly facilitates the adsorption and diffusion and increases the saturation rate.
At the beginning of low-temperature nitrocarburizing, mainly nitrogen diffuses into iron. The diffusion rate of nitrogen in ferrite is several orders of magnitude higher than the diffusion rate of carbon. As the ferrite is saturated with nitrogen, which occurs very quickly, austenitization of the diffusion layer begins, and diffusion of carbon over the austenitic regions becomes possible. The austenitic areas are intensively expanded due to the contraction of the ferritic ones. As the diffusion layer is saturated with carbon and nitrogen, with an excess of these elements above the solubility limits, carbonitride phases are formed on the surface.
According to the kinetics of the process, nitrocarburizing can be rather conditionally divided into two stages. The first stage is the complete austenitization of the surface zone of the part (until the ferrite sections disappear) and the formation of a carbonitride crust on the surface. The second stage is an increase in layer thickness due to the diffusion of nitrogen and carbon through carbonitrides and austenite.
Since the diffusion rate of nitrogen in austenite is slightly lower than in ferrite, the depth of the diffusion layer, after its austenitization and the formation of a carbonitride zone, increases very slowly. Therefore, an increase in the duration of low-temperature nitrocarburizing above a certain optimal value does not make sense (in contrast to the nitriding process). At low temperatures, the saturation rate is limited by the duration of the first stage of nitrocarburizing, which, in turn, is limited by the activity of the saturating medium. With an increase in the duration of nitrocarburizing in an environment rich in active carbon, its predominant diffusion into steel through the austenite layer occurs.
Nitrocarburizing carbon steel 60Si2Cr in the carburizer from carbamide, ferrocyanide potassium, and carbon black gives a greater depth of the diffusion layer than nitrocarburizing of alloy steel 09Cr15Ni8Al. This has been observed at temperatures 550 °C and 650 °C. In this case, the diffusion layers for both types of steel are almost the same.
Studies in the structures of diffusion layers after nitrocarburizing for steels 60Si2Cr and 09Cr15Ni8Al prove the presence of several distinct zones in these layers. This fact strongly agrees with the data obtained in [9,19]. First, an outer white layer is formed because of the saturating elements C and N diffusion in the ferrite and their simultaneous chemical reaction with the main element Fe of the steel. This layer mainly consists of Fe2–3(C, N) carbonitride, which contributes to the wear resistance of the steel surface. The diffusion of nitrogen characterizes the transition layer since ferrite is usually in equilibrium concentration concerning carbon. This inner layer mainly consists of solid solution α-(Fe, N). In addition, complex nitrides or carbonitrides can also be deposited in both the white layer and the transition layer. Nitrogen diffusing in space in this zone creates compressive stresses that improve the fatigue resistance of the steel.
As a result of production tests of direct-flow valves with nitrocarburized plates, the following results were obtained. Their durability is more than 2.0 times higher than valves with unreinforced plates. The lifetime of untreated valves does not exceed 1 year; after, plates require replacement either due to cracks or elasticity loss. Contrariwise, valves with nitrocarburized plates after more than 3 years still retained a relatively high density. They are fully functional and do not require the replacement of plates.
The obtained research results prove that the proposed paste-like saturating environment is relatively effective for surface hardening of other types of steel [20] in the temperature range of 550–650 °C. Using this paste, solid carbonitrides formed on the surface of processed parts should increase their wear resistance.
The analysis of the conducted research and the received results states that the used modes of nitrocarburizing can be recommended for other grades of spring and stainless steels with similar carbon and alloying elements. The mechanisms of formation of nitrocarburized layers in them will be identical.
Additionally, low-temperature nitrocarburizing in pastes can be well applied to products of small thickness, so we used it to study thin plates up to 0.4 mm. For such products, at higher temperatures, their warping can be observed.
The composition of the carburetor proposed in work is environmentally friendly and does not contain toxic effects on humans, so it can be used for other similar steel grades.
Limitations on the use of the proposed method and modes may be due to the use of different times to strengthen the surfaces of parts from other grades of steel. Therefore, for such materials to clarify the optimal time will need to conduct additional research.

5. Conclusions

The article substantiates that the a surface hardening method by low-temperature nitrocarburizing in pastes has been applied to increase the fatigue strength of thin valve plates. The carburizer includes carbamide (20–25%), ferrocyanide potassium (25–20%), and carbon black (55%). It also contains dextrin glue as a liquid component for obtaining paste-like consistency. All the components are non-toxic and inexpensive.
It was found that nitrocarburizing has an ambiguous effect on the fatigue strength of valves. The main difference is that the carbonitride zones of the solid solution on steel 60Si2Cr are much larger than on steel 09Cr15Ni8Al. This circumstance is since alloying elements (especially chromium) significantly reduce carbon and nitrogen diffusion rates. Simultaneously, thin diffusion layers (20–40 μm) are formed on the surface of the plates. These layers have relatively high hardness and residual compressive stresses.
As a result, nitrocarburizing of steel 60Si2Cr at temperatures of 550 °C and 650 °C increases the fatigue strength against the initial value by up to 1.3 times. However, at a higher temperature, nitrocarburizing leads to an unacceptable decrease in the fatigue strength (even below the initial value).
The following rational mode for carrying out nitrocarburizing of steel 60Si2Cr was determined: temperature—550 °C; duration—3 h. Therefore, a thin layer of such a coating can release active elements at relatively low heating. As a result, the reactions of the formation of active nitrogen and carbon atoms proceed near the saturable surface. The last one significantly facilitates the adsorption and diffusion into the depth of the steel and increases the saturation rate.
Nitrocarburizing allows increasing tightness of valves by 29–54% for their lifecycle of 2000 h. Moreover, after 4000 h, valves without chemical-thermal treatment become inoperable. However, nitrocarburized valves remain effective even after 6000 h of their lifetime. In this case, the tightness decreases only by 22–35%.
Thus, the developed method of hardening valve plates by nitrocarburizing is highly effective. It is assumed that it can provide significant savings in funds and resources after its widespread implementation into production.

Author Contributions

Conceptualization, K.B. and M.H.; methodology, T.H. and I.P.; software, T.H. and M.H.; validation, I.P. and V.I.; formal analysis, V.I. and O.G.; investigation, K.B., T.H., F.B. and O.G.; resources, M.H., F.B. and O.G.; data curation, V.I.; writing—original draft preparation, I.P. and O.G.; writing—review and editing, T.H. and V.I.; visualization, K.B., V.I. and F.B.; supervision, M.H. and I.P.; project administration, M.H. and I.P.; funding acquisition, M.H. All authors have read and agreed to the published version of the manuscript.

Funding

This research was funded by the Scientific Grant Agency of the Ministry of Education, Science, Research and Sport of the Slovak Republic VEGA 1/0080/20 and by the Cultural and Educational Grant Agency MŠVVaŠ SR KEGA 014TUKE-4/2020.

Institutional Review Board Statement

Not applicable.

Informed Consent Statement

Not applicable.

Data Availability Statement

The data presented in this study are available on request from the corresponding author.

Acknowledgments

The results have been obtained within the project “Fulfillment of tasks of the perspective plan of development of a scientific direction “Technical sciences” Sumy State University” funded by the Ministry of Education and Science of Ukraine (State reg. no. 0121U112684). The research was partially supported by the Research and Educational Center for Industrial Engineering (Sumy State University) and International Association for Technological Development and Innovations.

Conflicts of Interest

The authors declare no conflict of interest.

References

  1. Gabibov, I.A.; Seidahmedov, N.S. Motion equations of plates of directflow valves for reciprocating compressors, working in the gas-lift oil well operation system. East. Eur. J. Enterp. Technol. 2015, 4, 34–38. [Google Scholar] [CrossRef] [Green Version]
  2. Zhao, B.; Jia, X.; Sun, S.; Wen, J.; Peng, X. FSI model of valve motion and pressure pulsation for investigating thermodynamic process and internal flow inside a reciprocating compressor. Appl. Therm. Eng. 2018, 131, 998–1007. [Google Scholar] [CrossRef]
  3. Compressor Valves—Engineered for better Efficiency and Reliability. Available online: https://www.hoerbiger.com (accessed on 6 December 2021).
  4. Compressor Technologies. Available online: https://klapan-pik.ru/en/ (accessed on 6 December 2021).
  5. Zhang, J.W.; Lu, L.T.; Shiozawa, K.; Zhou, W.N.; Zhang, W.H. Effect of nitrocarburizing and post-oxidation on fatigue behavior of 35CrMo alloy steel in very high cycle fatigue regime. Int. J. Fatigue 2011, 33, 880–886. [Google Scholar] [CrossRef]
  6. Veiga, A.; Luno-Bilbao, C.; Sainz, S.; Castro, F. Effect of low-pressure carburizing and plasma nitriding on mechanical properties and fatigue endurance limits of low alloy sintered steels. Powder Metall. 2020, 63, 75–79. [Google Scholar] [CrossRef]
  7. Czerwinski, F. Thermochemical Treatment of Metals; IntechOpen: London, UK, 2012; pp. 73–112. [Google Scholar] [CrossRef] [Green Version]
  8. Krmela, J.; Hovorun, T.; Berladir, K.; Artyukhov, A.; Kasian, S. Influence of nitrocarburizing on increasing the service life of elastic elements of direct flow valves. Manuf. Technol. 2021, 21, 647–656. [Google Scholar] [CrossRef]
  9. Pantazopoulos, G.; Psyllaki, P. An overview on the tribological behaviour of nitro-carburised steels for various industrial applications. Tribol. Ind. 2015, 37, 299–308. [Google Scholar]
  10. Grosch, J. 4—Fatigue Resistance of Carburized and Nitrided Steels. In Thermochemical Surface Engineering of Steels; Eric, J., Mittemeijer, M., Somers, A.J., Eds.; Woodhead Publishing: Sawston, UK, 2015; pp. 209–240. [Google Scholar] [CrossRef]
  11. Nobuki, T.; Hatate, M.; Ikuta, A.; Kawasaki, Y.; Hamasaka, N. Effects of nitriding and nitro-carburizing on the fatigue properties of ductile cast iron. Int. J. Met. 2017, 11, 52–60. [Google Scholar] [CrossRef]
  12. Hurey, I.; Gurey, V.; Bartoszuk, M.; Hurey, T. Formation of residual stresses during discontinuous friction treatment. J. Eng. Sci. 2021, 8, C38–C44. [Google Scholar] [CrossRef]
  13. Schenkelberg, F. Using the Exponential Distribution Reliability Function. Available online: https://accendoreliability.com/using-the-exponential-distribution-reliability-function (accessed on 6 April 2022).
  14. Liu, Y.; Ye, G.; Zhao, Z. Prediction of hydraulic automatic transmission reliability using failure data based on exponential decay oscillation distribution model. Adv. Mater. Sci. Eng. 2021, 2021, 9424957. [Google Scholar] [CrossRef]
  15. Jha, M.K.; Dey, S.; Alotaibi, R.; Alomani, G.; Tripathi, Y.M. Multicomponent stress-strength reliability estimation based on unit generalized exponential distribution. Ain Shams Eng. J. 2022, 13, 101627. [Google Scholar] [CrossRef]
  16. Eledum, H. Leverage and influential observations on the Liu type estimator in the linear regression model with the severe collinearity. Heliyon 2021, 7, e07792. [Google Scholar] [CrossRef] [PubMed]
  17. Fedak, V.; Zaskalicky, P.; Gelvanic, Z. Analysis of Balancing of Unbalanced Rotors and Long Shafts Using GUI MATLAB; IntechOpen: London, UK, 2014; pp. 535–564. [Google Scholar] [CrossRef] [Green Version]
  18. Somers, M.A.J. Development of compound layer during nitriding and nitrocarburizing—current understanding and future challenges. HTM—Haerterei-Tech. Mitt. 2011, 66, 56–67. [Google Scholar] [CrossRef]
  19. Prochazka, J.; Pokorny, Z.; Jasenak, J.; Majerik, J.; Neumann, V. Possibilities of the utilization of ferritic nitrocarburizing on case-hardening steels. Materials 2021, 14, 3714. [Google Scholar] [CrossRef] [PubMed]
  20. Kostin, N.A. Pack cyaniding of steel 6Kh4M2FS in order to increase heavily-loaded die durability. Met. Sci. Heat Treat. 2020, 62, 331–335. [Google Scholar] [CrossRef]
  21. Han, L.; Jiang, K.; Wang, Q.; Wang, X.; Zhou, Y. Quantitative evaluation on valve leakage of reciprocating compressor using system characteristic diagnosis method. Appl. Sci. 2020, 10, 1946. [Google Scholar] [CrossRef] [Green Version]
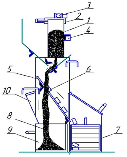
Figure 1. The design scheme of the stand for nitrocarburizing of valve plates: 1—plate; 2—carbon-nitrogen coating; 3—filler (sand with carbon black); 4—container; 5—electric heater; 6—furnace lining; 7—furnace housing; 8—furnace lid; 9—container lid; 10—sand-clay seal; 11—thermocouple; 12—temperature controller.
Figure 1. The design scheme of the stand for nitrocarburizing of valve plates: 1—plate; 2—carbon-nitrogen coating; 3—filler (sand with carbon black); 4—container; 5—electric heater; 6—furnace lining; 7—furnace housing; 8—furnace lid; 9—container lid; 10—sand-clay seal; 11—thermocouple; 12—temperature controller.
Coatings 12 00574 g001
Figure 2. The design scheme of the separator: 1—container; 2—socket; 3—shaft; 4—limiter; 5—inclined lattice; 6—parts; 7—hardening tank; 8—carburizer; 9—metal container; 10—lid.
Figure 2. The design scheme of the separator: 1—container; 2—socket; 3—shaft; 4—limiter; 5—inclined lattice; 6—parts; 7—hardening tank; 8—carburizer; 9—metal container; 10—lid.
Coatings 12 00574 g002
Figure 3. Dependencies of the carbonitride zone depth in nitrocarburized layers of Steel 60Si2Cr on nitrocarburizing temperature for different duration: ●—1 h; ○—3 h; ■—5 h.
Figure 3. Dependencies of the carbonitride zone depth in nitrocarburized layers of Steel 60Si2Cr on nitrocarburizing temperature for different duration: ●—1 h; ○—3 h; ■—5 h.
Coatings 12 00574 g003
Figure 4. Dependences of the depth of nitrocarburizing steel 60Si2Cr on the duration of the process at different temperatures: ● and 1—the total depth of the diffusion layer and the depth of the carbonitride zone, respectively, temperature 550 °C; ○ and 2—temperature 600 °C; ■ and 3—temperature 650 °C.
Figure 4. Dependences of the depth of nitrocarburizing steel 60Si2Cr on the duration of the process at different temperatures: ● and 1—the total depth of the diffusion layer and the depth of the carbonitride zone, respectively, temperature 550 °C; ○ and 2—temperature 600 °C; ■ and 3—temperature 650 °C.
Coatings 12 00574 g004
Figure 5. A nitrocarburized layer with imprints of measured microhardness.
Figure 5. A nitrocarburized layer with imprints of measured microhardness.
Coatings 12 00574 g005
Figure 6. Distribution of microhardness over the diffusion layer cross-section for nitrocarburized steel 60Si2Cr: (a) temperature—550 °C, duration—3 h; (b) temperature—650 °C, duration—3 h.
Figure 6. Distribution of microhardness over the diffusion layer cross-section for nitrocarburized steel 60Si2Cr: (a) temperature—550 °C, duration—3 h; (b) temperature—650 °C, duration—3 h.
Coatings 12 00574 g006
Figure 7. The dependencies of the endurance limit for nitrocarburized steel 60Si2Cr on the duration of nitrocarburizing at different temperatures: ●—550 °C; ○—600 °C; ■—650 °C; □—without hardening treatment.
Figure 7. The dependencies of the endurance limit for nitrocarburized steel 60Si2Cr on the duration of nitrocarburizing at different temperatures: ●—550 °C; ○—600 °C; ■—650 °C; □—without hardening treatment.
Coatings 12 00574 g007
Figure 8. Distribution of internal stresses over the diffusion layer depth for nitrocarburized steels 09Cr15Ni8Al (1) and 60Si2Cr (2).
Figure 8. Distribution of internal stresses over the diffusion layer depth for nitrocarburized steels 09Cr15Ni8Al (1) and 60Si2Cr (2).
Coatings 12 00574 g008
Figure 9. Dependencies of the nitrocarburized layer depth on steel 60Si2Cr on the temperature at the different duration of the process: ●—1 h; ○—3 h; ■—5 h.
Figure 9. Dependencies of the nitrocarburized layer depth on steel 60Si2Cr on the temperature at the different duration of the process: ●—1 h; ○—3 h; ■—5 h.
Coatings 12 00574 g009
Figure 10. Structure and hardness of steel 60Si2Cr after nitrocarburizing under temperature 550 °C and duration 3 h.
Figure 10. Structure and hardness of steel 60Si2Cr after nitrocarburizing under temperature 550 °C and duration 3 h.
Coatings 12 00574 g010
Figure 11. A valve (a) and type of valve plates (b).
Figure 11. A valve (a) and type of valve plates (b).
Coatings 12 00574 g011
Figure 12. The design scheme of the stand for testing the tightness of direct-flow valves.
Figure 12. The design scheme of the stand for testing the tightness of direct-flow valves.
Coatings 12 00574 g012
Figure 13. Lifetime evaluation for the untreated and nitrocarburized valves.
Figure 13. Lifetime evaluation for the untreated and nitrocarburized valves.
Coatings 12 00574 g013
Table 1. The chemical composition of 60Si2Cr, % wt.
Table 1. The chemical composition of 60Si2Cr, % wt.
CSiMnCrNiCuSP
0.56–0.641.40–1.800.40–0.700.70–1.00≤0.25≤0.20≤0.025≤0.025
Table 2. Hardness and strength of strips from steels 09Cr15Ni8Al and 60Si2Cr for different group numbers.
Table 2. Hardness and strength of strips from steels 09Cr15Ni8Al and 60Si2Cr for different group numbers.
CharacteristicsSteel 09Cr15Ni8AlSteel 60Si2Cr
12312
Hardness, HRC48–5247–5139–4346–5049–59
Tensile stress, MPa15001840136016901720
Yield stress, MPa14401780128016301640
Table 3. Characteristics of strips from steel 60Si2Cr.
Table 3. Characteristics of strips from steel 60Si2Cr.
Strip Group of Steel 60Si2CrHardness, HRCYield Stress, MPaResidual Stress, MPa
Under Tension *Calculated
14816301038399
2471640932358
* characterizes the average strength over the entire section of the strip.
Table 4. Dependence of the diffusion layer depth on the nitrocarburizing temperature with a duration of 1 h for steel 60Si2Cr.
Table 4. Dependence of the diffusion layer depth on the nitrocarburizing temperature with a duration of 1 h for steel 60Si2Cr.
Nitrocarburizing Temperature, °CDiffusion Layer Depth, mm
TotalCarbonitride Zone
5500.0170.004
6500.1080.053
Table 5. Dependence of fatigue strength on nitrocarburizing modes for steel 60Si2Cr.
Table 5. Dependence of fatigue strength on nitrocarburizing modes for steel 60Si2Cr.
Temperature, °CTreatment Duration, hDepth of the Diffusion Layer, mmEndurance Limit, MPa
Without treatment-427
55010.031514
55030.038562
60010.053456
60030.083372
65010.079398
65030.132221
Table 6. Tightness of valves, s.
Table 6. Tightness of valves, s.
TreatmentValve No.Lifetime, 103 h
0246
Without treatment114115 *
213127 *
Nitrocarburizing318171514
420181413
* valves do not meet the tightness criterion of a minimum of 10 s for the valve “PIC 220-0.6”.
Table 7. Results of the regression analysis, s.
Table 7. Results of the regression analysis, s.
TreatmentInitial Tightness, sPerformance Loss Rate, 10–3 h–1Maximum Lifetime, 103 h
Without treatment14.70.2061.86
Nitrocarburizing19.10.06110.7
Publisher’s Note: MDPI stays neutral with regard to jurisdictional claims in published maps and institutional affiliations.

Share and Cite

MDPI and ACS Style

Berladir, K.; Hatala, M.; Hovorun, T.; Pavlenko, I.; Ivanov, V.; Botko, F.; Gusak, O. Impact of Nitrocarburizing on Hardening of Reciprocating Compressor’s Valves. Coatings 2022, 12, 574. https://doi.org/10.3390/coatings12050574

AMA Style

Berladir K, Hatala M, Hovorun T, Pavlenko I, Ivanov V, Botko F, Gusak O. Impact of Nitrocarburizing on Hardening of Reciprocating Compressor’s Valves. Coatings. 2022; 12(5):574. https://doi.org/10.3390/coatings12050574

Chicago/Turabian Style

Berladir, Kristina, Michal Hatala, Tetiana Hovorun, Ivan Pavlenko, Vitalii Ivanov, Frantisek Botko, and Oleksandr Gusak. 2022. "Impact of Nitrocarburizing on Hardening of Reciprocating Compressor’s Valves" Coatings 12, no. 5: 574. https://doi.org/10.3390/coatings12050574

APA Style

Berladir, K., Hatala, M., Hovorun, T., Pavlenko, I., Ivanov, V., Botko, F., & Gusak, O. (2022). Impact of Nitrocarburizing on Hardening of Reciprocating Compressor’s Valves. Coatings, 12(5), 574. https://doi.org/10.3390/coatings12050574

Note that from the first issue of 2016, this journal uses article numbers instead of page numbers. See further details here.

Article Metrics

Back to TopTop