Preparation Technology, Reactivity and Applications of Nano-Aluminum in Explosives and Propellants: A Review
Abstract
1. Introduction
2. Preparation Technology of Nano-Aluminum
2.1. Mechanical Pulverization Technology
2.1.1. Ball Milling Method
2.1.2. Ultrasonic Ablation (Scrub) Method
2.2. Evaporation–Condensation Technology
2.2.1. Laser Induction Composite Heating Method
2.2.2. High-Frequency Induction Method
2.2.3. Arc Method
2.2.4. Pulsed Laser Denudation
2.2.5. Resistance Heating Condensation Method
2.2.6. Wire Explosive Crushing Method
2.3. Chemical Reduction Technology
2.3.1. Gas-Phase Pyrolysis Method
2.3.2. Solid-Phase Chemical Reduction Method
2.3.3. Solution Chemical Reduction Method
2.4. Ionic Liquid Electrodeposition Method
3. Reactivity Differences Between Nano-Aluminum and Micro-Aluminum
3.1. Properties of Nano-Aluminum Powder
3.1.1. Differences Between Nano-Aluminum Powder and Micron-Sized Aluminum Powder in Ignition Tests
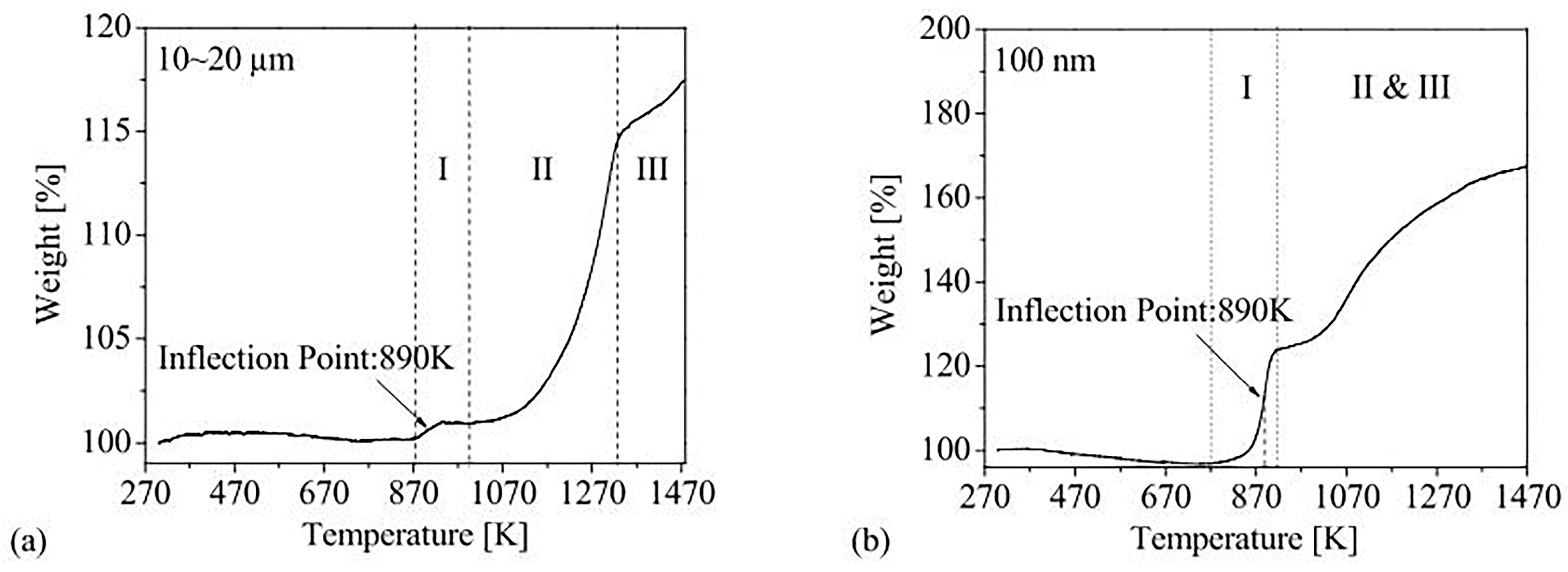
3.1.2. Differences in Nano-Aluminum Powder and Micron-Sized Aluminum Powder Based on Thermal Analysis
3.2. Difference in Reaction Completeness Between Nano-Aluminum Powder and Micro-Aluminum Powder
3.3. Surface Coating and Modification of Nano-Aluminum Powder
3.3.1. Protecting the Activity of Nano-Aluminum Powder
3.3.2. Improving the Reactivity of Nano-Aluminum Powder
3.3.3. Increasing the Reaction Degree of Nano-Aluminum Powder
4. Differences in Energy Release Characteristics Between Nano-Aluminum Powder and Micro-Aluminum Powder in Explosives and Propellants
4.1. Differences in Energy Release Characteristics Between Nano-Aluminum Powder and Micro-Aluminum Powder in Explosives
4.2. Differences in Energy Release Characteristics Between Nano-Aluminum Powder and Micro-Aluminum Powder in Propellants
5. Conclusions
Author Contributions
Funding
Data Availability Statement
Conflicts of Interest
Abbreviation
| A | |
| Accelerating rate calorimetry | ARC |
| Acetonitrile | ACN |
| B | |
| Ball–powder ratio | BPR |
| C | |
| Perfluoroalkyl-functionalized graphene oxide | CFGO |
| D | |
| Direct current | DC |
| 5,5-bitetrazole-1,1-diol dihydrate | DHBT |
| Differential scanning calorimetry | DSC |
| E | |
| Aluminum wire electroexplosive | EEW |
| Energetic metal–organic framework | EMOF |
| F | |
| Fluorinated acrylic ester | Al/PFDMA |
| Fluorinated polyurethane | FPU |
| H | |
| Hydroxyl-terminated polybutadiene | HTPB |
| Hydroxyl-terminated polybutadiene-toluene Diisocyanate | HTPB-TDI |
| M | |
| Minimum explosible concentration | MEC |
| Monomethylamine | MMA |
| N | |
| Nitrocellulose | NC |
| O | |
| Octadecylamine | ODA |
| P | |
| Perfluoosulfonic acid | PFSA |
| Perfluorotetradecanoic acid | PFTD |
| Polydopamine | PF |
| Polyethylene glycol | PEG |
| Polyvinylpyrrolidone | PVP |
| Polystyrene | PS |
| Polytetrafluoroethylene | PTFE |
| Poly(trimethylolpropane triacrylate) | PTMPTA |
| Polyvinylidene fluoride | PVDF |
| S | |
| Scanning electron microscopy | SEM |
| Tetrahydrofuran | THF |
| T | |
| Thermogravimetric | TG |
| Thermogravimetric analysis | TGA |
| Trimethylolpropane triacrylate | CH2 = CHCOOCH23CCH2CH3TMPTA |
| Transmission electron microscopy | TEM |
| Triisobutyl aluminum | TIBAL |
| Thermogravimetric–differential thermal analysis | TG-DTA |
| X | |
| X-ray diffraction | XRD |
| Y | |
| Yttrium-stabilized zirconia | YSZ |
References
- Stepanov, V.; Krasnoperov, L.N.; Elkina, I.B.; Zhang, X.Y. Production of nanocrystalline RDX by rapid expansion of supercritical solutions. Propellants Explos. Pyrotech. 2005, 30, 178–183. [Google Scholar] [CrossRef]
- Sun, Y.B.; Hui, J.M.; Cao, X.M. Military Mixed Explosives; Ordnance Industry Press: Beijing, China, 1995. [Google Scholar]
- Zeng, C.C.; Wang, J.; He, G.S.; Huang, C.; Yang, Z.J. Enhanced water resistance and energy performance of core-shell aluminum nanoparticles via in situ grafting of energetic glycidyl azide polymer. J. Mater. Sci. 2018, 53, 12091–12102. [Google Scholar] [CrossRef]
- Verma, S.; Ramakrishna, P.A. Effect of specific surface area of aluminum on composite solid propellant burning. J. Propul. Power 2013, 29, 1200–1206. [Google Scholar] [CrossRef]
- Mench, M.M.; Kuo, K.K.; Yeh, C.L.; Lu, Y.C. Comparison of the thermal behavior of regular and ultra-fine aluminum powders (Alex) made from plasma explosion process. Combust. Sci. Technol. 1998, 135, 269–292. [Google Scholar] [CrossRef]
- Pang, W.Q.; DeLuca, T.L.; Fan, X.Z.; Wang, K.; Li, J.Q. Progress on modification of high active aluminum powder and combustion agglomeration in chemical propellants. J. Solid Rocket Technol. 2019, 42, 42–53. [Google Scholar]
- Yang, V.; Brill, T.B.; Ren, W.Z. Solid Propellant Chemistry, Combustion, and Motor Interior Ballistics; American Institute of Aeronautics and Astronautics: Reston, VA, USA, 2000. [Google Scholar]
- Dokhan, A.; Price, E.W.; Seitzman, J.M.; Sigman, R.K. The effects of bimodal aluminum with ultrafine aluminum on the burning rates of solid propellants. Proc. Combust. Inst. 2002, 29, 2939–2946. [Google Scholar] [CrossRef]
- Negri, M.; Ciezki, H.K. Combustion of gelled propellants containing microsized and nanosized aluminum particles. J. Propul. Power 2015, 31, 400–407. [Google Scholar] [CrossRef]
- Wang, H.Y.; Rehwoldt, M.; Kline DJTao, W.u.; Wang, P.; Zachariah, M.R. Comparison study of the ignition and combustion characteristics of directly-written Al/PVDF, Al/Viton and Al/THV composites. Combust. Flame 2019, 201, 181–186. [Google Scholar] [CrossRef]
- Hu, X.L.; Xiao, L.Q.; Zhou, W.L. Research on the rheological properties of micro/nano aluminum/HTPB. In Proceedings of the 16th Annual Conference of the China Association for Science and Technology—Proceedings of the 9 Forum on the Development of Energy Containing Materials and Green Civil Explosive Industries, Kunming, China, 24–26 May 2014; pp. 1–6. [Google Scholar]
- Di, W.P.; Li, Y.Q.; Xu, H.T.; Yuan, X.Y.; Jin, S.Z.; Liu, R.T.; Ren, Y.D.; Zhou, Q.; Liu, X.Y. Study on Medium Collision Characteristics in Ball Mill Based on DEM. Nonferrous Met. (Miner. Process. Sect.) 2024, 9, 57–64. [Google Scholar]
- Yuan, W.J.; Zhou, Y.M. Optimizing technological parameters of preparation of Al nanoparticles by orthogonal experimental method. Light Alloy Fabr. Technol. 2009, 37, 33–36. [Google Scholar]
- Jiang, A.F.; Wang, F.; Xia, D.B.; Li, M.R.; Qiang, L.S.; Zhu, Z.Y.; Wang, P.; Fan, R.Q.; Lin, K.F.; Yang, Y.L. Aluminum nanoparticles manufactured using a ball-milling method with ammonium chloride as a milling aid: Achieving energy release at low temperature. New J. Chem. 2019, 43, 1851–1856. [Google Scholar] [CrossRef]
- Wang, F.Y. Study on Functionalization of Metal Nanopowders Prepared by Macros. Ph.D. Thesis, Lanzhou University, Lanzhou, China, 2018. [Google Scholar]
- Kumar, N.; Biswas, K. Cryomilling: An environment friendly approach of preparation large quantity ultrarefined pure aluminium nanoparticles. J. Mater. Res. Technol. 2019, 8, 63–74. [Google Scholar] [CrossRef]
- Yu, J.; McMahon, B.W.; Boatz, J.A.; Anderson, S.L. Aluminum nanoparticle production by acetonitrile-assisted milling: Effects of liquid- vs vapor-phase milling and of milling method on particle size and surface chemistry. J. Phys. Chem. C 2016, 120, 19613–19629-17. [Google Scholar] [CrossRef]
- McMahon, B.W.; Yu, J.; Boatz, J.A.; Anderson, S.L. Rapid aluminum nanoparticle production by milling in NH3 and CH3NH2 atmospheres: An experimental and theoretical study. ACS Appl. Mater. Interfaces 2015, 7, 16101. [Google Scholar] [CrossRef] [PubMed]
- Salas, S.M.; Rodríguez, P.H.; Martínez, A.C.R.; Honorato, E.L. Production of aluminum nanoparticles by wet mechanical milling. MRS Adv. 2020, 388, 3133. [Google Scholar] [CrossRef]
- Hajnorouzi, A.; Afzalzadeh, R. A novel technique to generate aluminum nanoparticles utilizing ultrasound ablation. Ultrason. Sonochem. 2019, 58, 104655. [Google Scholar] [CrossRef] [PubMed]
- Shen, X. Study on the Activity Maintenance of Nano-Aluminum and Charaterization of the Performance. Ph.D. Thesis, Huazhong University of Science & Technology, Wuhan, China, 2009. [Google Scholar]
- Chen, L. Establishment of Activity Evaluation Method for Nano Aluminum Powder and Study on Its Excess Stored Energy. Ph.D. Thesis, Huazhong University of Science & Technology, Wuhan, China, 2009. [Google Scholar]
- YB/T5320-2006; Metal Materials-Quantitative Phase Analysis-“Value K” Method of X-Ray Diffraction. Metallurgical Industry Press: Beijing, China, 2006.
- Duan, H. Study on Characterization Methods for the Activity of Aluminum Nanoparticles. Ph.D. Thesis, Huazhong University of Science & Technology, Wuhan, China, 2008. [Google Scholar]
- Zhang, X.T.; Song, W.L.; Guo, L.G.; Xie, C.S.; Hu, M.L. Preparation of carbon-coated aluminum nanoparticles. J. Solid Rocket Technol. 2007, 30, 338–341. [Google Scholar]
- Zhang, X.T. Research on Preparation of Carbon-Coated Aluminum Metal Nanopowders. Ph.D. Thesis, Huazhong University of Science & Technology, Wuhan, China, 2006. [Google Scholar]
- Wang, J.J.; Song, W.L.; Guo, L.G.; Xie, C.S. Study on preparation of surface passivated aluminum nanopowders and its oxidation mechanism. Surf. Technol. 2008, 37, 42–44. [Google Scholar]
- Guo, L.G.; Song, W.L.; Xie, C.S.; Hu, M.L.; Wang, J.J. Effect of particle size on activity of aluminum nanopowders produced by high frequency induction heating. Chin. J. Energ. Mater. 2006, 14, 276–279. [Google Scholar]
- Guo, L.G. Preparation of Core-Shell Structured Nano Aluminum Powder and Study on Its Activity Changes. Ph.D. Thesis, Huazhong University of Science & Technology, Wuhan, China, 2008. [Google Scholar]
- Kassaee, M.Z.; Buazar, F. Al nanoparticles: Impact of media and current on the arc fabrication. J. Manuf. Process. 2009, 11, 31–37. [Google Scholar] [CrossRef]
- Liang, L.; Wang, J.Y.; Dong, J.; An, C.W. Effects of nano-Al powder on the thermal decomposition catalytic performance of nitroamine explosives. Chin. J. Explos. Propellants (Huo Cha Yao Hsueh Pao) 2009, 32, 75–78. [Google Scholar]
- Fan, Y.P.; Ji, S.; Zhang, Y.S.; Ding, A.; Li, M.L. Activity and exothermic behavior of nano-aluminum powder. Ordnance Mater. Sci. Eng. 2011, 34, 93–95. [Google Scholar]
- Chen, Y.C. Preparation and Properties of Energetic Nano Aluminum Powder. Ph.D. Thesis, Dalian University of Technology, Dalian, China, 2015. [Google Scholar]
- Zhuang, Z.H. Preparation and Properties of Energetic Aluminum Nanocomposite Particles. Ph.D. Thesis, Dalian University of Technology, Dalian, China, 2016. [Google Scholar]
- Baladi, A.; Mamoory, R.S. Investigation of different liquid media and ablation times on pulsed laser ablation synthesis of aluminium nanoparticles. Appl. Surf. Sci. 2010, 256, 7559–7564. [Google Scholar]
- Huang, H. Plasma Synthesis and Combustion Characteristics of Nano-Sized Metal Particles. Ph.D. Thesis, Tsinghua University, Beijing, China, 2017. [Google Scholar]
- Mathe, V.L.; Varma, V.; Raut, S.; Nandi, A.K.; Pant, A.; Prasanth, H.; Pandey, R.K.; Bhoraskar, S.V.; Das, A.K. Enhanced active aluminum content and thermal behaviour of nano- aluminum particles passivated during synthesis using thermal plasma route. Appl. Surf. Sci. 2016, 368, 16–26. [Google Scholar] [CrossRef]
- Ma, J.H.; Yu, Y.G.; Zeng, K.L.; Ren, X.J. Study on surface passivated aluminium nano-particles and its characteristics. Non-ferr. Met. (Extr. Metall). 2006, S1, 2–4. [Google Scholar]
- Dong, S.S.; Zou, G.T.; Yang, H.B. Thermal characteristic of ultrafine-grained aluminum produced by wire electrical explosion. Scr. Mater. 2001, 44, 17–23. [Google Scholar] [CrossRef]
- Kwon, Y.S.; Jung, Y.H.; Yavorovsky, N.A.; Illyn, A.P.; Kim, J.S. Ultrafine powder by wire explosion method. Scr. Mater. 2001, 44, 2247. [Google Scholar] [CrossRef]
- Ivanov, V.; Kotov, Y.A.; Samatov, O.H.; Böhme, R.; Karow, H.U.; Schumacher, G. Synthesis and dynamic compaction of ceramic nano powders by techniques based on electric pulsed power. Nanostruct. Mater. 1995, 6, 287–290. [Google Scholar]
- Zeng, L.; Jiao, Q.J.; Ren, H.; Zhou, Q. Effect of particle size of nano-aluminum powder on oxide film thickness and active aluminum content. Chin. J. Explos. Propellants (Huo Cha Yao Hsueh Pao) 2011, 34, 26–29. [Google Scholar]
- Lv, F.W. Molecular Dynamics Simulation of A1 Nanopowder Preparation by Exploding Wire. Ph.D. Thesis, Harbin Engineering University, Harbin, China, 2020. [Google Scholar]
- Zhao, J.P.; Xu, Z.; Yan, W.Y.; Liu, H.Y.; Zhang, Q.G. Characteristics and diffusion of electrical explosion plasma of aluminum wire in argon gas. IEEE Trans. Plasma Sci. 2017, 45, 185–192. [Google Scholar] [CrossRef]
- Antony, J.K.; Vasa, N.J.; Chakravarthy, S.R.; Sarathi, R. Understanding the mechanism of nano-aluminum particle formation by wire explosion process using optical emission technique. J. Quant. Spectrosc. Radiat. Transfer. 2010, 111, 2509. [Google Scholar] [CrossRef]
- Li, X.D.; Wu, J.; Li, X.W.; Chen, L.; Shi, H.T. Influence of partial reheating on aluminum nanoparticles from electrical exploding wires. IEEE Trans. Nanotechnol. 2019, 18, 1103–1109. [Google Scholar] [CrossRef]
- Kaplowitz, D.A.; Jouet, R.J.; Zachariah, M.R. Aerosol synthesis and reactive behavior of faceted aluminum nanocrystals. J. Cryst. Growth 2010, 312, 3625–3630. [Google Scholar] [CrossRef]
- Li, X.; Zhao, F.Q.; Luo, Y.; Gao, H.X.; Yao, E.G. Solid phase chemical reduction synthesis and characterization of aluminum nanopowders and the effect on the thermal decomposition of ADN. Rare Met. Mater. Eng. 2015, 44, 1474–1478. [Google Scholar]
- Chu, F.F. Preparation and Characterization of Nano Aluminum Powder, Aluminum Hydride, and Rare Earth Nitride. Ph.D. Thesis, Liaoning Normal University, Dalian, China, 2006. [Google Scholar]
- Beaudette, C.A.; Andaraarachchi, H.P.; Wu, C.C.; Kortshagen, U. Inductively coupled nonthermal plasma synthesis of aluminum anoparticles. Nanotechnology 2021, 32, 395601. [Google Scholar] [CrossRef]
- Haber, J.A.; Buhro, W.E. Kinetic instability of nanocrystalwire aluminum prepared by chemical synthesis facile room-temperature grain growth. J. Am. Chem. Soc. 1998, 120, 10847–10855. [Google Scholar] [CrossRef]
- Li, Y. Preparation and Optical Properties Study of Al Nanomaterials. Ph.D. Thesis, Beijing University of Chemical Technology, Beijing, China, 2017. [Google Scholar]
- Li, X.H. Preparation and Activity Maintenance of Organic Compound Coated Nano Aluminum Powder. Ph.D. Thesis, Nanjing Normal University, Nanjing, China, 2017. [Google Scholar]
- Wang, F. Synthesis of Aluminum Nanoparticles Capped with Organic Agents and Dispersion in Hydrocarbon Fuels. Ph.D. Thesis, Tianjin University, Tianjin, China, 2016. [Google Scholar]
- Yu, H. Controlled-Synthesis, Optical Properties and Biological Applications of Aluminum Nanoparticles. Ph.D. Thesis, Jilin University, Changchun, China, 2020. [Google Scholar]
- E, X.T.F.; Zhang, L.; Wang, F.; Zhang, X.; Zou, J.J. Synthesis of aluminum nanoparticles as additive to enhance ignition and combustion of high energy density fuels. Front. Chem. Sci. Eng. 2018, 12, 358–366. [Google Scholar] [CrossRef]
- McClain, M.J.; Schlather, A.S.; Ringe, E.; King, N.S.; Liu, L.; Manjavacas, A.; Knight, M.W.; Kumar, I.; Whitmire, K.H.; Everitt, H.O. Aluminum nanocrystals. Nano Lett. 2015, 15, 2751. [Google Scholar] [CrossRef]
- Li, H.; Meziani, M.J.; Lu, F.; Bunker, C.E.; Guliants, E.A. Templated synthesis of aluminum nanoparticles—A new route to stable energetic materials. J. Phys. Chem. C 2009, 113, 20539–20542. [Google Scholar] [CrossRef]
- Klein, T.; Kickelbick, G. Synthesis of submicron aluminum particles via thermal decomposition of alkyl aluminum precursors in the presence of metal seeds and their application in the formation of ruthenium aluminides. Nanotechnology 2020, 31, 265605. [Google Scholar] [CrossRef]
- Klein, T.; Kickelbick, G. Aluminum nanoparticle preparation via catalytic decomposition of alane adducts—Influence of reaction parameters on nanoparticle size, morphology and reactivity. Dalton Trans. 2020, 49, 9820–9834. [Google Scholar] [CrossRef] [PubMed]
- Ghanta, S.R.; Muralidharan, K. Chemical synthesis of aluminum nanoparticles. J. Nanopart. Res. 2013, 15, 1715. [Google Scholar] [CrossRef]
- Cui, Y.; Zhao, S.L.; Tao, D.; Liang, Z.Q.; Huang, D.; Zheng, X. Synthesis of size-controlled and discrete core–shell aluminum nanoparticles with a wet chemical process. Mater. Lett. 2014, 121, 54–57. [Google Scholar] [CrossRef]
- Thomas, B.J.; Bunker, C.E.; Guliants, E.A.; Hayes, S.E.; Kheyfets, A.; Wentz, K.M.; Buckner, S.W.; Jelliss, P.A. Synthesis of aluminum nanoparticles capped with copolymerizable epoxides. J. Nanopart. Res. 2013, 15, 1729. [Google Scholar] [CrossRef]
- Zheng, Y.; Wang, Q.; Zheng, Y.J.; Zhang, C.S.; Wang, S.H. Research and application of ionic liquid in priparation of nano aluminum. Non-Ferr. Met. (Extr. Metall.) 2017, 12, 21–25. [Google Scholar]
- Abbott, A.P.; Qiu, F.L.; Abood, H.M.A.; Ali, M.R.; Ryder, K.S. Double layer, diluent and anode effects upon the electrodeposition of aluminium from chloroaluminate based ionic liquids. Phys. Chem. Chem. Phys. 2010, 12, 1862. [Google Scholar] [CrossRef]
- Li, Y. Study on the Action Mechanism of Additives in AlCl3-BMIC Ionic Liquid Electrorefining Aluminum. Ph.D. Thesis, Kunming University of Science and Technology, Kunming, China, 2011. [Google Scholar]
- Wang, M.M.; Xu, C.Y.; Hua, Y.X.; Li, F.Y.; Lu, D.H. Effect of toluene addition on electrodeposition behavior of aluminum in AlCl3-TEBAC ionic liquid. Non-Ferr. Met. (Extr. Metall.) 2016, 8, 64. [Google Scholar]
- Yin, X.M.; Xu, L.B.; Shan, N.N.; Cui, J.Z.; Chen, J.F. Constant current electrodeposition of aluminum from TMPAC-AICl3 ionic liquids. CIESC J. 2013, 64, 1022. [Google Scholar]
- Liu, Q.; Liu, K.R.; Han, Q.; Tu, G.F. Study on Electrodeposition of Al from trimethylphenylammonium chloride (TMPAC)–aluminum chloride (AlCl3) ionic liquids + benzene. China Surf. Eng. 2010, 24, 34–39. [Google Scholar]
- Zhang, Q.Q.; Wang, Q.; Zhang, S.J.; Lu, X.M. Electrodeposition in ionic liquids. Phys. Chem. Chem. Phys. 2015, 17, 335. [Google Scholar] [CrossRef] [PubMed]
- Zheng, Y.; Dong, K.; Wang, Q.; Zhang, J.; Lu, X. Density viscosity, and conductivity of Lewis acidic 1-butyl- and 1-hydrogen -3-methylimidazolium chloroaluminate ionic liquids. J. Chem. Eng. Data 2013, 58, 32–42. [Google Scholar] [CrossRef]
- Wang, Q.; Zhang, Q.Q.; Chen, B.; Lu, X.M.; Zhang, S.J. Electrodeposition of bright Al coatings from 1-butyl-3- methylimidazolium chloroaluminate ionic liquids with specific additives. J. Electrochem. Soc. 2015, 162, D320. [Google Scholar] [CrossRef]
- Zhang, Q.Q.; Wang, Q.; Zhang, S.J.; Lu, X.M. Effect of nicotinamide on electrodeposition of Al from aluminium chloride 1-butyl-3-methylimidazolium chloride ([Bmim]Cl) ionic liquids. J. Solid State Electrochem. 2014, 18, 257. [Google Scholar] [CrossRef]
- Wang, Q.; Chen, B.; Zhang, Q.Q.; Lu, X.M.; Zhang, S.J. Aluminum deposition from Lewis acidic 1-butyl-3-methylimidazolium chloroaluminate ionic liquid ([Bmim]Cl)/AlCl3) modified with methyl nicotinate. ChemElectroChem 2015, 2, 1794. [Google Scholar] [CrossRef]
- Wang, T.F. Study on the Combustion Characteristics of a New Type of High-Energy Fuel, Azide Glycidyl Polyether Boron and Aluminum Water Based Fuel. Ph.D. Thesis, University of Science and Technology of China, Hefei, China, 2008. [Google Scholar]
- Chen, C.; Hu, S.Q.; Fan, Y.R.; Chen, G.F.; Feng, Y.A. Study on the explosion characteristics of aluminum powder. Chem. Intermediat. 2013, 1, 36. [Google Scholar]
- Li, X.; Zhao, F.Q.; Hao, H.X.; Luo, Y.; Xu, S.Y.; Yao, E.G.; Li, N. Research on ignition and combustion properties of different micro/nano-aluminum powders. Acta Armamentarii 2014, 35, 640. [Google Scholar]
- Jin, X. Study on Laser Ignition and Combustion Characteristics of Nano-Metal Aluminum Powder. Master’s Thesis, Hangzhou Dianzi University, Hangzhou, China, 2019. [Google Scholar]
- Jin, X.; Li, S.J.; Yang, Y.H.; Huang, X.F. Comparison on laser ignition and combustion characteristics of nano- and micron-sized aluminum. Combust. Sci. Technol. 2021, 193, 341. [Google Scholar] [CrossRef]
- Martin, C.; Comet, M.; Schnell, F.; Berthe, J.E.; Spitzer, D. Aluminum nanopowder: A substance to be handled with care. J. Hazard. Mater. 2018, 342, 347. [Google Scholar] [CrossRef]
- Trunov, M.A.; Schoenitz, M.; Dreizin, E.L. Ignition of Aluminum Powders Under Different Experimental Conditions. Propellants Explos. Pyrotech. 2005, 30, 36–43. [Google Scholar] [CrossRef]
- Zhou, D.H. Investigation on laser-Induced Ignition and Combustion Characteristics of Micro/Nano-Sized Aluminum Particles at the Micro-Scale. Ph.D. Thesis, Hangzhou Dianzi University, Hangzhou, China, 2015. [Google Scholar]
- Fang, W.; Zhao, S.X.; Zhang, Q.; Jin, D.Y. Study on the explosive characteristics of micro/nano-aluminum dust. Initiat. Pyrotech. 2021, 2, 32–36. [Google Scholar]
- Xiao, W.; Chen, K.; Wang, B.L. Effects of the particle size and gas environment on afterburning reactions and explosion performance of aluminized HMX-based explosives. Combust. Explos. Shock Waves 2021, 57, 222–231. [Google Scholar] [CrossRef]
- Uhlenhake, K.E.; Collard, D.N.; Hoganson, A.C.; Brown, A.D.; Fox, S.; Ornek, M.; Rhoads, J.F.; Son, S.F. Additively Manufactured Micro- and Nano- Al/PVDF Ignition Sensitivity and Burning Characterization. Prop. Explo. Pyrotech. 2023, 48, e202200204. [Google Scholar] [CrossRef]
- Wang, M.Y.; Han, Z.W.; Li, X.; Wang, B.L. Influence of aluminum particle size on explosion performance and thermal stability of thermobaric explosive. Chin. J. High Press. Phys. 2018, 32, 109–116. [Google Scholar]
- Lu, H.X.; Hou, T.C.; Zeng, Z.H.; Zhang, Y.; Xu, H.L. Study on the oxidation characteristics of nano aluminum powder and micro aluminum powder. Light Alloy Fabr. Technol. 2007, 35, 41–43. [Google Scholar]
- Chang, P.J.; Mogi, T.; Dobashi, R. Flame propagation through dust clouds of nano and micron scale aluminum particles. J. Loss Prev. Process Ind. 2020, 68, 104266. [Google Scholar] [CrossRef]
- Zhou, Z.Q.; Chen, J.G.; Sun, Z.H.; Su, G.F.; Yuan, H.Y. Comparative study on reaction characteristics of micron-sized aluminum and nano-sized aluminum in O2 and CO2 environment. In Proceedings of the New Trends in Research of Energetic Materials, Pardubice, Czech Republic, 10–12 April 2019. [Google Scholar]
- Bockmon, B.S.; Pantoya, M.L.; Son, S.F.; Asay, B.W.; Mang, J.T. Combustion velocities and propagation mechanisms of metastable interstitial composites. J. Appl. Phys. 2005, 98, 064903. [Google Scholar] [CrossRef]
- Chen, L.; Zhang, S.Q.; Zhao, Y.H. Study of the metal acceleration capacities of aluminized explosives with spherical aluminum particles of different diameter. Explos. Shock Waves 1999, 19, 250. [Google Scholar]
- Yan, Z.X. Compare study on the explosion characteristics of nano-aluminum and micro-aluminum. Acta Phys. Sin. 2011, 60, 076202. [Google Scholar] [CrossRef]
- Zhu, Y.L.; Jiao, Q.J.; Huang, H. Effect of micro and nano aluminum powder on thermal decomposition kinetics of ammonium perchlorate. In Proceedings of the 6th National Conference on Strong Dynamic Load Effects and Protection and the Symposium of Innovative Research Groups on Dynamic Mechanical Behavior of Complex Media/Structures, Beijing, China, 3–15 July 2014. [Google Scholar]
- Galfetti, L.; DeLuca, L.T.; Severini, F.; Colombo, G.; Meda, L.; Marra, G. Pre and post-burning analysis of nano-aluminized solid rocket propellants. Aerosp. Sci. Technol. 2007, 11, 26–32. [Google Scholar] [CrossRef]
- Luo, Z.H. Assembly and Application of High Activity Nano-Aluminum Microspheres. Ph.D. Thesis, Southwest University of Science and Technology, Mianyang, China, 2021. [Google Scholar]
- Hao, J.; Ding, A.; Huang, J.H.; Zhang, Y.S.; Qian, K.M.; Ji, S. Cladding Assembly and Characterization of HTPB-TDI Coated High Activity Nano-Aluminum Powder. Chin. J. Rare Met. 2018, 42, 168–174. [Google Scholar]
- Zhang, K.; Fu, Q.; Fan, J.H.; Zhou, D.H. Preparation and characterization of nano-aluminum powder microcapsules. Chin. J. Energ. Mater. (Hanneng Cailiao) 2005, 13, 4–6. [Google Scholar]
- Zha, M.X. Study on Activity Retention and Properties of Nano-Aluminum Powder. Ph.D. Thesis, Nanjing Normal University, Nanjing, China, 2013. [Google Scholar]
- Li, X.H. Study on Preparation and Activity Maintenance of Nano-Aluminum Powder Coated with Organic Matter. Ph.D. Thesis, Nanjing Normal University, Nanjing, China, 2017. [Google Scholar]
- Kwon, Y.S.; Gromov, A.A.; Ilyin, A.P. Reactivity of superfine aluminum powders stabilized by aluminum diboride. Combust. Flame. 2002, 131, 349–352. [Google Scholar] [CrossRef]
- Zhang, W.P.; Huang, Y.F.; Guo, H.L. Study on burning-assisted technology of Aluminium. Non-Ferr. Met. (Extr. Metall) 2022, 8, 86–91. [Google Scholar]
- Wei, X. Study on Ignition and Combustion Characteristics of B/Al Metal Fuel. Ph.D. Thesis, Zhejiang University, Hangzhou, China, 2021. [Google Scholar]
- Song, Q.G.; Cao, W.; Wei, X.; Liu, J.Z.; Yuan, J.F.; Li, X.L.; Guo, X.L.; Gao, D.Y. Laser ignition and combustion characteristics of micro- and nano-sized boron under different atmospheres and pressures. Combust. Flame 2021, 230, 111420. [Google Scholar] [CrossRef]
- Gao, D.Y.; Wei, X.; Liu, J.Z.; Cao, W.; Yuan, J.F.; Song, Q.G.; Li, X.L.; Guo, X.L. Laser ignition and combustion characteristics of B-Al compound powder without and with HMX: A comparative study. Aerosp. Sci. Technol. 2022, 120, 107268. [Google Scholar] [CrossRef]
- Hammerstroem, D.W.; Burgers, M.A.; Chung, S.W.; Guliants, E.A.; Bunker, C.E.; Wentz, K.M.; Hayes, S.E.; Buckner, S.W.; Jelliss, P.A. Aluminum nanopartieles capped by polymerization of alkyl--substituted epoxides: Ratio-dependent stability and particle size. Inorg. Chem. 2011, 50, 5054–5059. [Google Scholar] [CrossRef]
- Liu, H.; Ye, H. Synthesis and property of poly(trimethylolpropane triaerylate)/A1 nanocomposite particle by in situ solution polymerization. Appl. Surf. Sci. 2008, 254, 4432–4438. [Google Scholar] [CrossRef]
- Zhang, X.T.; Song, W.L.; Guo, L.G.; Hu, M.L.; Xie, C.S. Preparation of carbon-coated Al nano powders by laser-induction complex heating method. J. Propul. Technol. 2007, 28, 333–336. [Google Scholar]
- Yao, E.G.; Zhao, F.Q.; Hao, H.X.; Xu, S.Y.; Gao, H.X. Preparation of aluminium nano powders coated with perfluorotetradecanoic acid and its ignition and combustion characteristics. Chin. J. Explos. Propellants 2012, 35, 70–75. [Google Scholar]
- Wang, Q.C.; Zhu, B.Z.; Sun, Y.L.; Wang, T. Thermal Reaction Characteristics and Ignition Combustion Characteristics of Nano-aluminum Powder Coated with Ammonium Perchlorate in Carbon Dioxide. Chin. J. Process Eng. 2017, 17, 271–277. [Google Scholar]
- Hao, D.Y. Study on Surface Functionalization and Combustion Performance of Fluorine-Containing Ferrocene/Nano-Aluminum Powder. Ph.D. Thesis, Harbin Institute of Technology, Harbin, China, 2019. [Google Scholar]
- Wang, X.X. Study on New Aluminum-containing Nano-composite Energetic Materials. Ph.D. Thesis, North University of China, Taiyuan, China, 2000. [Google Scholar]
- Wang, H.Y. Preparation of Nano Energetic Materials by Electrostatic Spraying and Characterization of Burning Characteristics. Ph.D. Thesis, Nanjing University of Science and Technology, Nanjing, China, 2015. [Google Scholar]
- Zhu, B.Z.; Li, F.; Sun, Y.L.; Wu, Y.X.; Wang, Q.C.; Han, W.W. The effects of additives on the combustion characteristics of aluminum powder in steam. RSC Adv. 2017, 10, 5725. [Google Scholar] [CrossRef]
- Mulamba, O.; Pantoya, M.L. Exothermic Surface Chemistry on Aluminum Particles Promoting Reactivity. Appl. Surf. Sci. 2014, 315, 90–94. [Google Scholar] [CrossRef]
- Cheng, J.L.; Hng, H.H.; Ng, H.Y.; Soon, P.C.; Lee, Y.W. Deposition of nickel nanoparticles onto aluminum powders using a modified polyol process. Mater. Res. Bull. 2009, 44, 95–99. [Google Scholar] [CrossRef]
- Qiu, H.L.; Yin, G. Preparation Method of Core-Shell Structure Functional Coated Nano Aluminum-Nickel Powder. CN200710056768, 9 February 2007. [Google Scholar]
- Kaplowitz, D.A.; Jian, G.Q.; Gaskell, K.; Jacob, R.; Zachariah, M.R. Synthesis and Reactive Properties of Iron Oxide–Coated Nanoaluminum. J. Energ. Mater. 2014, 32, 95–105. [Google Scholar] [CrossRef]
- Yang, H.T.; Huang, C.; Chen, H.H. Tuning reactivity of nanoaluminum with fluoropolymer via electrospray deposition. J. Therm. Anal. Calorim. 2017, 127, 2293–2299. [Google Scholar] [CrossRef]
- Li, Z.J.; Zhao, X.; Li, G.; Gong, F.Y.; Liu, Y.; Yan, Q.L.; Yang, Z.J.; Nie, F.D. Surface fluorination of n-Al particles with improved combustion performance and adjustable reaction kinetics. Chem. Eng. J. 2021, 425, 131619. [Google Scholar] [CrossRef]
- He, W.; Yang, G.C.; Yang, Z.J.; Guo, Z.Q.; Liu, P.J.; Yan, Q.L. Metastable energetic nanocomposites of MOF-activated aluminum featured with multi-level energy releases. Chem. Eng. J. 2020, 381, 122623. [Google Scholar] [CrossRef]
- Ruesch, M.D.; McDonald, A.J.; Mathews, G.C.; Son, S.F.; Goldenstein, C.S. Characterization of the inffuence of aluminum particle size on the temperature of composite-propellant flames using CO absorption and AlO emission spectroscopy. Proc. Combust. Inst. 2021, 38, 4365–4372. [Google Scholar] [CrossRef]
- Yan, T.; Ren, H.; Ma, A.E.; Jiao, Q.J.; Wang, H.X. Effect of Fluororubber Coating on the Properties of Nano-aluminum Powders. Acta Armamentarii 2019, 40, 1611–1617. [Google Scholar]
- Lv, Y.D.; Yu, X.F.; Yao, B.J.; Jiang, J.; Shi, Q. Preparation and properties study on core-shell structure Al@PEFE composites. Chin. J. Explos. Propellants 2021, 44, 811–818. [Google Scholar]
- Sun, W.Z.; Li, Y.N.; Li, W.K.; Han, Z.W. Preparation of n-Al@PVDF composites by electrospray method and study on its combustion properties. Chin. J. Explos. Propellants 2021, 44, 856–864. [Google Scholar]
- Chang, Z.P. Preparation of Nano-Al/fluoropolymer and Its Application in Solid Propellant. Ph.D. Thesis, Nanjing University of Science and Technology, Nanjing, China, 2019. [Google Scholar]
- Kim, K.T.; Kim, D.W.; Kim, C.K.; Choi, Y.J. A facile synthesis and efficient thermal oxidation of polytetrafluoro- ethylene-coated aluminum powders. Mater. Lett. 2016, 167, 262. [Google Scholar] [CrossRef]
- Kim, D.W.; Kim, K.T.; Lee, D.U. Influence of poly(vinylidene fluoride) coating layer on exothermic reactivity and stability of fine aluminum particles. Appl. Surf. Sci. 2021, 551, 149431. [Google Scholar] [CrossRef]
- Wang, J.; Qu, Y.; Gong, F.; Shen, J.; Zhang, L. A promising strategy to obtain high energy output and combustion properties by self-activation of nano-Al. Combust. Flame 2019, 204, 220. [Google Scholar] [CrossRef]
- Campbell, L.L.; Hill, K.J.; Smith, D.K.; Pantoya, M.L. Thermal analysis of microscale aluminum particles coated with perfuorotetradecanoic (PFTD) acid. J. Therm. Anal. Calorim. 2021, 145, 289–296. [Google Scholar] [CrossRef]
- Jiang, Y.; Wang, H.Y.; Baek, J.W.; Ka, D.W.; Huynh, A.H.; Wang, Y.J.; Zachariah, M.R.; Zheng, X.L. Perfluoroalkyl-Functionalized Graphene Oxide as a Multifunctional Additive for Promoting the Energetic Performance of Aluminum. ACS Nano 2022, 16, 14658–14665. [Google Scholar] [CrossRef] [PubMed]
- Jiang, Y.; Wang, H.Y.; Baek, J.W.; Wang, H.; Gottfried, J.; Wu, C.C.; Shi, X.; Zachariah, M.R.; Zheng, X.L. Ignition and combustion of Perfluoroalkyl-functionalized aluminum nanoparticles and nanothermite. Combust. Flame 2022, 242, 112170. [Google Scholar] [CrossRef]
- Wang, H.X.; Ren, H.; Yan, T.; Li, Y.R.; Zhao, W.J. A latent highly activity energetic fuel: Thermal stability and interfacial reaction kinetics of selected fluoropolymer encapsulated sub-micron sized Al particles. Sci. Rep. 2021, 11, 738. [Google Scholar] [CrossRef] [PubMed]
- Huang, C.; Yang, Z.J.; Li, Y.C.; Zheng, B.H.; Yan, Q.L.; Guan, L.F.; Luo, G.; Li, S.B.; Nie, F.D. Incorporation of high explosives into nano-aluminum based microspheres to improve reactivity. Chem. Eng. J. 2020, 383, 123110. [Google Scholar] [CrossRef]
- Uhlenhake, K.E.; Yehia, O.R.; Noel, A.; Terry, B.C.; Örnek, M.; Belal, H.M.; Gunduz, I.E.; Son, S.F. On the Use of Fluorine-Containing Nano-Aluminum Composite Particles to Tailor Composite Solid Rocket Propellants. Propellants Explos. Pyrotech. 2022, 47, e202100370. [Google Scholar] [CrossRef]
- Uhlenhake, K.E.; Olsen, D.; Gomez, M.; Rnek, M.; Son, S.F. Photoflash and laser ignition of full density nano-aluminum PVDF films. Combust. Flame 2021, 233, 111570. [Google Scholar] [CrossRef]
- Tang, G.; Wang, H.; Chen, C.Y.; Xu, Y.B.; Chen, D.P.; Wang, D.L.; Luo, Y.J.; Li, X.Y. Thermal decomposition of nano Al-based energetic composites with fluorinated energetic polyurethane binders: Experimental and theoretical understandings for enhanced combustion and energetic performance. RSC Adv. 2022, 12, 24163–24171. [Google Scholar] [CrossRef]
- Chen, X.Z.; Liu, J.X.; Xu, Y.B.; Zhang, D.; Tang, Y.; Shi, B.L.; Feng, Y.C.; Wu, Y.C.; Chu, Q.Z.; Chen, D.P. Exploring the combustion mechanism of single micron-sized aluminum particles with a numerical model. Fire. Phys. Chem. 2025, 5, 57–67. [Google Scholar] [CrossRef]
- Liu, D.Y.; Chen, L.; Wang, C.; Wu, J.Y. Aluminum acceleration and reaction characteristics for aluminized CL-20-based mixed explosives. Propellants Explos. Pyrotech. 2018, 43, 543–551. [Google Scholar] [CrossRef]
- Cao, S.T.; Niu, L.; Feng, X.S.; Niu, G.T.; Jin, D.Y. The influence of nano-aluminum on the detonation velocity of RDX-based explosive. Initiat. Pyrotech. 2019, 1, 50–52. [Google Scholar]
- Liu, D.Y.; Zhao, P.; Chan, S.H.Y.; Hng, H.H.; Chen, L. Effects of nano-sized aluminum on detonation characteristics and metal acceleration for RDX-based aluminized explosive. Def. Technol. 2021, 17, 327–337. [Google Scholar] [CrossRef]
- Brousseau, P.; Anderson, C.J. Nanometric Aluminum in Explosives. Prop. Explo. Pyrotech. 2002, 27, 300–306. [Google Scholar] [CrossRef]
- Bai, F.; Liu, Y.; Huang, F.L. Study on the Equation of State for Aluminized Explosives with Aluminum Powder Reaction. Acta Armamentarii 2017, 38 (Suppl. S1), 187. [Google Scholar]
- Wang, H.; Shen, F. Effect of active aluminum powder on the driving ability of RDX-based aluminized explosive. Sci. Technol. Eng. 2016, 16, 123. [Google Scholar]
- Huang, K.S.; Wan, L.L.; Chen, Y.; Peng, H.Z.; Yang, F.Y. Analysis of detonation performance of explosives containing metal powder. Ordn. Indus Auto 2020, 39, 94–96. [Google Scholar]
- Elert, M.; Furnish, M.D.; Holmes, R.C. Shock Compression of Condensed Matter; American Institute of Physics: College Park, MD, USA, 2007. [Google Scholar]
- Huang, K.S.; Peng, H.Z.; Yang, F.Y. Study on shock wave overpressure and shock wave sensitivity of explosives containing nano aluminum powder. In Proceedings of the Symposium on Energetic Materials and Insensitive Ammunition Technology, Chengdu, China, 12–14 June 2014. [Google Scholar]
- Simić, D.M.; Dimitrijević, I.D.; Sirovatka, R.S.; Knezevic, D.; Miskovic, K.; Totovski, L. Thermobaric performance of cast PBX with nanosized aluminium. In Proceedings of the 49th International Annual Conference of the Fraunhofer ICT, Karlsruhe, Germany, 25–28 June 2018. [Google Scholar]
- Fang, W.; Zhao, S.X.; Zhang, Q.; Jin, D.Y. Explosion characteristics of fuel-air explosive containing micro/nano-aluminum powder. Chin. J. Energ. Mater. 2021, 29, 971–976. [Google Scholar]
- Feng, X.S.; Tian, X.; Feng, B.; Xu, H.T.; Zhao, J. Effect of nano-aluminum on the underwater detonation energy of explosive. Explos. Mater. 2016, 45, 1–4. [Google Scholar]
- Niu, G.T.; Wang, S.P.; Jin, D.Y.; Niu, L.; Cao, S.T. Influence of the nano-aluminium on underwater energy of RDX-based pressed explosive. Chin. J. Explos. Propellants 2015, 38, 64–68. [Google Scholar]
- Niu, G.T.; Feng, X.S.; Cao, S.T.; Yao, L.N. Underwater explosion test on aluminized explosive with nano-aluminum. Initiat. Pyrotech. 2013, 4, 49–52. [Google Scholar]
- Liu, D.Y.; Chen, L.; Wang, C.; Wu, J.Y. Detonation reaction characteristics for CL-20 and CL-20-based aluminized mixed explosives. Cent. Eur. J. Energetic Mater. 2017, 14, 573–588. [Google Scholar] [CrossRef] [PubMed]
- Liu, D.Y.; Chen, L.; Wang, C.; Wu, J.Y. Effects of aluminum content and particle size on detonation reaction zone length and aluminum reaction time in CL-20-based explosives. In Proceedings of the 47th International Annual Conference of the Fraunhofer ICT, Karlsruhe, Germany, 28 June–1 July 2016. [Google Scholar]
- Jiang, Z.; Li, Y.F.; Li, K.; Wang, T.F.; Zhang, G.C.; Wang, H.; Ma, X.M. Research on the ignition and combustion properties of composite propellant containing nano metal powders. J. Solid Rocket Technol. 2004, 27, 117–120. [Google Scholar]
- Hao, H.X.; Yao, E.G.; Wang, B.X.; Zhao, F.Q.; Xu, S.Y. Laser ignition characteristics of AP/HTPB composite solid propellants containing metal nanopowders. Chin. J. Energ. Mater. 2015, 23, 908–914. [Google Scholar]
- Meda, L.; Marra, G.; Galfetti, L. Nano-aluminum as energetic material for rocket propellants. Mater. Sci. Eng. C 2007, 27, 1393–1396. [Google Scholar] [CrossRef]
- Wang, J.Y.; Lin, W.S.; Yan, Z.Y. Study on combustion stability of nano Al based metal fuel propellant. J. Ballist. 2022, 34, 99–105. [Google Scholar]
- Wang, J.Y. Study on Steady Combustion and Two-Phase Flow Characteristics of Nozzle in Nano-Metal Fuel Engine. Ph.D. Thesis, Harbin Engineering University, Harbin, China, 2019. [Google Scholar]
- Li, W.; Bao, X.; Tang, G.; Wu, F.; Xu, H.Y. Application of nano-aluminum powder in high energy solid propellant. Chin. J. Explos. Propellants 2011, 34, 67–70. [Google Scholar]
- Ramakrishnan, M.; Chakravarthy, S.R.; Kandasamy, J.; Sarathi, R. Development of nano-Al based highly metalized fuel-rich propellant for water ramjet propulsion applications. Propellants Explos. Pyrotech. 2020, 45, 1026–1039. [Google Scholar] [CrossRef]
- Zhang, W.; Xie, W.X.; Fan, X.Z.; Liu, F.L.; Pang, W.Q. Effects of nano-aluminum on combustion characteristics of low smoke NEPE propellants. J. Solid Rocket Technol. 2014, 37, 516–520. [Google Scholar]
- He, D.J. Investigation of the Burning Rate Model of Nano-Aluminum Ice Solid Propellants. Ph.D. Thesis, Harbin Engineering University, Harbin, China, 2014. [Google Scholar]
- Wang, C.X. Study on the Application of Nano-Aluminum in the Solid Propellant. Ph.D. Thesis, National University of Defense Technology, Changsha, China, 2008. [Google Scholar]
- Gao, D.L.; Zhang, W.; Zhu, H.; Liu, X.C. Application of nano-aluminum in composite propellant. J. Solid Rocket Technol. 2007, 30, 420–423. [Google Scholar]
- Jiang, Z.; Li, Y.F.; Zhao, F.Q.; Liu, Z.R.; Yin, C.M.; Luo, Y.; Li, S.W. Effect of nano aluminum and nickel powders on the combustion properties of composite propellant. J. Propul. Technol. 2004, 25, 368–372. [Google Scholar]
- Pivkina, A.N.; Frolov, Y.V.; Ivanov, D.A. Nanosized components of energetic systems: Structure, thermal behavior, and combustion. Combust., Explos. Shock Waves 2007, 43, 51–55. [Google Scholar] [CrossRef]
- Galfetti, L.; Severini, F.; Luca, L.T.D.; Meda, L. Nano-propellants for space propulsion. In Proceedings of the 4th International Spacecraft Propulsion Conference, Cagliari, Sardinia, Italy, 2–4 June 2004. [Google Scholar]
- Watson, K.W.; Pantoya, M.L.; Levitas, V.I. Fast Reactions with Nano- and Micrometer Aluminum: A Study on Oxidation Versus Fluorination. Combust. Flame 2008, 155, 619–634. [Google Scholar] [CrossRef]
- James, C.T.; Felix, A.R.; Eric, L.P. Metallic additives for solid-fuel propulsion applications. Combust. Sci. Technol. 2021, 195, 1279–1298. [Google Scholar] [CrossRef]
- Liu, T.K. Experimental and model study of agglomeration of burning aluminized propellants. J. Propul. Power 2005, 21, 797–806. [Google Scholar] [CrossRef]
- Liu, T.K.; Hsieh, C.F. Analysis of agglomerate size from burning aluminized AP/RDX/HTPB propellants in quench bomb. J. Propul. Power 1996, 12, 995–997. [Google Scholar] [CrossRef]
- Peuker, J.M.; Krier, H.; Glumac, N. Particle size and gas environment effects on blast and overpressure enhancement in aluminized explosives. Proc. Combust. Inst. 2013, 34, 2205. [Google Scholar] [CrossRef]






| Preparation Methods | Product Average Granularity | Product Purity | Manufacturability | Equipment Cost | Feasibility of Industrial Production | Environmental Friendliness | ||
|---|---|---|---|---|---|---|---|---|
| physical methods | mechanical pulverization method | ball milling method | low to medium to excellent | low to medium to good | easy | cheap | feasible | environmentally friendly |
| ultrasonic ablation (scrub) method | excellent | good | difficult | high costs | needs to be researched deeply | environmentally friendly | ||
| evaporation–condensation method | laser induction compound heating method | medium to excellent | low to medium | medium to difficult | high costs | feasible | environmentally friendly | |
| high-frequency induction method | medium to excellent | low to medium | medium to difficult | high costs | feasible | environmentally friendly | ||
| arc Method | low to medium to excellent | low to medium to good | medium to difficult | high costs | feasible | environmentally friendly | ||
| pulsed laser denudation | good | medium to good | medium to difficult | high costs | feasible | environmentally friendly | ||
| resistance heating condensation method | good | medium to good | medium to difficult | medium to high costs | feasible | environmentally friendly | ||
| wire explosive crushing method | low to medium | low to medium | low to medium | cheap to medium | feasible | environmentally friendly | ||
| chemical methods | gas-phase pyrolysis method | medium to good | low to medium | medium | cheap | suitable for the laboratory scale | waste | |
| solid-phase chemical reduction method | medium to good | low to medium | medium | cheap | suitable for the laboratory scale | waste | ||
| solution chemical reduction method | medium to excellent | medium | medium | cheap | suitable for the laboratory scale | waste liquid | ||
| ionic liquid electrodeposition method | nanofilms | good | medium | medium | feasible | waste liquid | ||
| Samples | The Photos of Ignition and Combustion Processes |
|---|---|
| lx-1 | ![]() |
| lx-2 | ![]() |
| lx-3 | ![]() |
| lx-4 | ![]() |
| lx-5 | ![]() |
| lx-6 | ![]() |
| No. | Concentration of Aluminum Dust/g·m−3 | Nano-Aluminum Content/% | Maximum Pressure/MPa | (dρ/dt)max/MPa·s−1 |
|---|---|---|---|---|
| 1# | 344 | 0 | 0.82 | 1.75 |
| 2# | 342 | 5 | 1.02 | 3.16 |
| 3# | 342 | 10 | 1.30 | 3.56 |
| 4# | 343 | 15 | 1.16 | 3.12 |
| Applications | Test Method | Results | References |
|---|---|---|---|
| flyer push test | The initial reaction time of small particles was earlier than that of large particles. | [138] | |
| detonation velocity | The detonation velocity of samples containing nano-aluminum powder was higher than those of containing micron-sized aluminum powder when the content of aluminum powder was below 10%. | [139] | |
| detonation pressure | When the content of nano-aluminum powder was 5 wt% and 10 wt%, the explosion pressure was higher than that of the composite without aluminum powder. | [140] | |
| flyer experiment | The free surface velocity of flyer was higher for aluminized explosives containing aluminum powder with a particle size of 50 nm than that of aluminized explosives containing aluminum powder with particle sizes of 5 μm and 50 μm. | [141] | |
| cylinder test | The expansion force of detonation products increased by 10.2% and 5.5%, respectively, after the aluminum powder in the composite was replaced by 5 wt% and 10 wt% nano-aluminum powder. | [142] | |
| explosives | arson effect | The arson effect of the composite containing nano-aluminum powder was better than composite containing micro-aluminum powder. | [144] |
| plate dent test | The dent volume of the composite with nano-aluminum on the witness plate was about twice that of the original composite. | [145] | |
| air explosion test | The peak value of shock wave overpressure of the sample containing nano-aluminum was much higher than that of the sample containing micro-aluminum for all the test data at all distances. | [146] | |
| The impulse of the composite with nano-aluminum powder was higher than that of micro-aluminum powder at all measuring points. | [147] | ||
| explosion chamber experiment | The peak value and the maximum rising rate of explosion pressure of composites with nano-aluminum were better than those of composites without nano-aluminum. | [148] | |
| underwater tests | The total energy of underwater explosion was higher than that of the composite containing micro-aluminum alone. | [149,150,151] | |
| C-J surface reaction tests | The degree of aluminum powder in the system containing nano-aluminum powder participating in C-J surface reaction was significantly higher than that in systems containing micro-aluminum powder, and the reaction start time of aluminum powder with a small particle size was earlier than that of aluminum powder with a large particle size. | [152,153] | |
| propellants | ignition tests | The ignition threshold of propellant containing nano-aluminum powder was several orders of magnitude smaller than that of propellant containing ordinary micro-aluminum powder, and adding nano-aluminum powder can significantly shorten the ignition delay time of propellant. The smaller the particle size of aluminum powder, the shorter the ignition delay time, and the lower the ignition temperature of the propellant. | [154,155,156] |
| The combustion rate and retrogression rate of propellant containing nano-aluminum were much faster than those of propellant containing micro-aluminum. | [157,158,159,160,161,162,163,164,165,166,167,168,169] | ||
| combustion rate experiment | The residue of propellants containing nano-aluminum powder was small and white, or mixed with a little gray, and the residue of propellants containing micro-aluminum powder was large and dark, indicating that nano-aluminum powder could burn more fully than micro-aluminum powder. | [95,154,170,171] |
Disclaimer/Publisher’s Note: The statements, opinions and data contained in all publications are solely those of the individual author(s) and contributor(s) and not of MDPI and/or the editor(s). MDPI and/or the editor(s) disclaim responsibility for any injury to people or property resulting from any ideas, methods, instructions or products referred to in the content. |
© 2025 by the authors. Licensee MDPI, Basel, Switzerland. This article is an open access article distributed under the terms and conditions of the Creative Commons Attribution (CC BY) license (https://creativecommons.org/licenses/by/4.0/).
Share and Cite
Guo, H.; Zhang, W.; Pang, W. Preparation Technology, Reactivity and Applications of Nano-Aluminum in Explosives and Propellants: A Review. Nanomaterials 2025, 15, 1564. https://doi.org/10.3390/nano15201564
Guo H, Zhang W, Pang W. Preparation Technology, Reactivity and Applications of Nano-Aluminum in Explosives and Propellants: A Review. Nanomaterials. 2025; 15(20):1564. https://doi.org/10.3390/nano15201564
Chicago/Turabian StyleGuo, Huili, Weipeng Zhang, and Weiqiang Pang. 2025. "Preparation Technology, Reactivity and Applications of Nano-Aluminum in Explosives and Propellants: A Review" Nanomaterials 15, no. 20: 1564. https://doi.org/10.3390/nano15201564
APA StyleGuo, H., Zhang, W., & Pang, W. (2025). Preparation Technology, Reactivity and Applications of Nano-Aluminum in Explosives and Propellants: A Review. Nanomaterials, 15(20), 1564. https://doi.org/10.3390/nano15201564







