Coating of Filter Materials with CeO2 Nanoparticles Using a Combination of Aerodynamic Spraying and Suction
Abstract
:1. Introduction
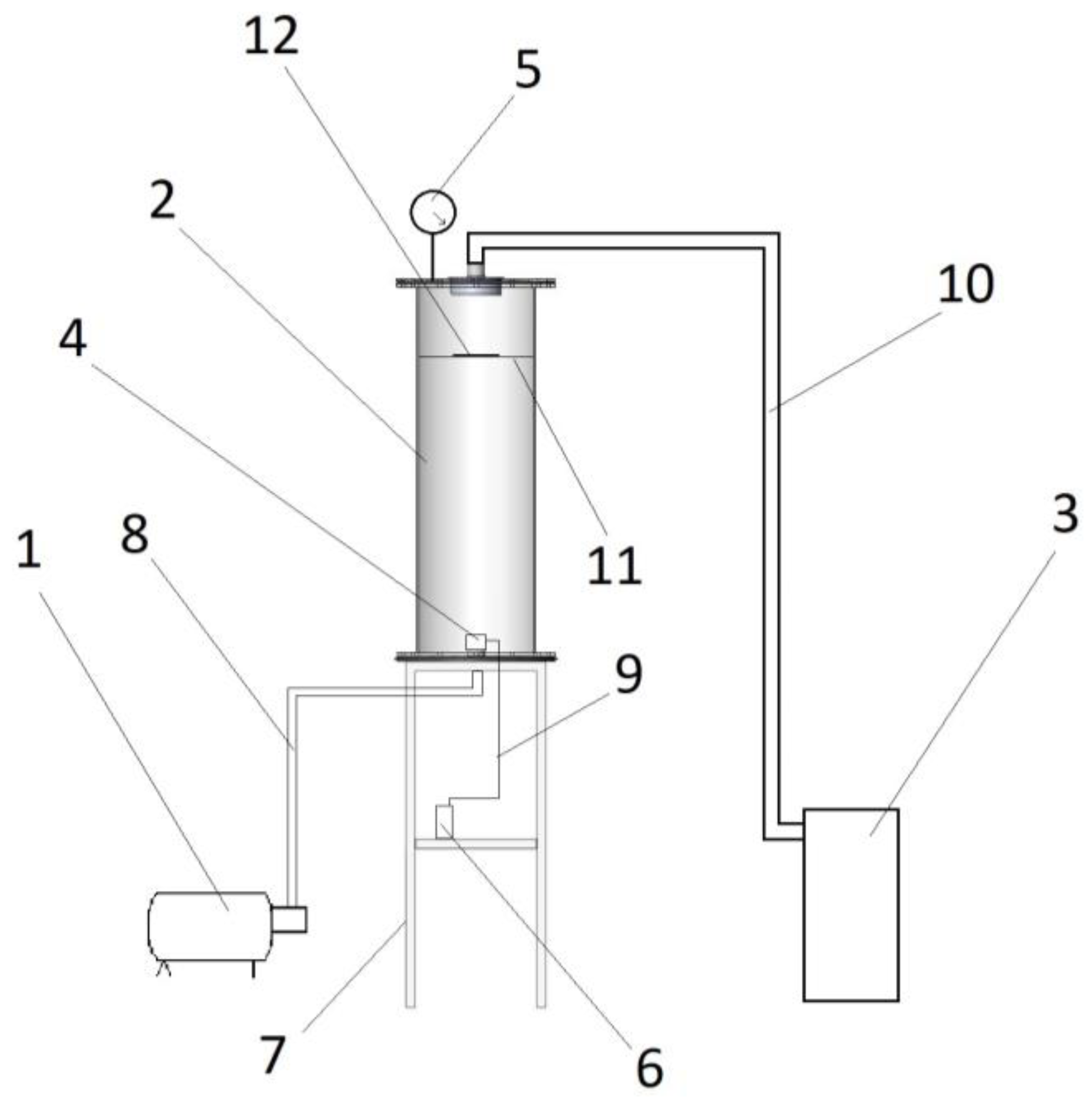
2. Materials and Methods
2.1. Synthesis
2.2. Methods
3. Results
4. Conclusions
Author Contributions
Funding
Data Availability Statement
Conflicts of Interest
References
- Hospital-Acquired Infections-Trends across Europe, Frost and Sullivan. Available online: http://www.reportlinker.com/p0249335-summary/Hospital-acquired-infections-trends-across-Europe.htmlS (accessed on 1 November 2012).
- In English: Nosocomial Infections: New Horizons of Prevention. Available online: http://www.zdrav.ru/articles/practice/detail.php?ID=77774&sphrase_id=5405168 (accessed on 8 September 2015).
- Avershina, E.; Shapovalova, V.; Shipulin, G. Fighting antibiotic resistance in hospital-acquired infections: Current state and emerging technologies in disease prevention, diagnostics and therapy. Front. Microbiol. 2021, 12, 707330. [Google Scholar] [CrossRef] [PubMed]
- Bonadonna, L.; Briancesco, R.; Coccia, A.M. Analysis of Microorganisms in Hospital Environments and Potential Risks. In Indoor Air Quality in Healthcare Facilities; Capolongo, S., Settimo, G., Gola, M., Eds.; SpringerBriefs in Public Health: Cham, Switzerland, 2017; pp. 53–62. [Google Scholar] [CrossRef]
- Airborne Infectious Disease Transmission in Hospitals, Hobel Blog. Available online: https://hobelblog.epfl.ch/airborne-infectious-disease-transmission-in-hospitals (accessed on 3 May 2021).
- Tsang, T.W.; Mui, K.W.; Wong, L.T. Computational Fluid Dynamics (CFD) studies on airborne transmission in hospitals: A review on the research approaches and the challenges. J. Build. Eng. 2023, 63, 105533. [Google Scholar] [CrossRef]
- Razzini, K.; Castrica, M.; Menchetti, L.; Maggi, L.; Negroni, L.; Orfeo, N.V.; Pizzoccheri, A.; Stocco, M.; Muttini, S.; Balzaretti, C.M. SARS-CoV-2 RNA detection in the air and on surfaces in the COVID-19 ward of a hospital in Milan, Italy. Sci. Total Environ. 2020, 742, 140540. [Google Scholar] [CrossRef] [PubMed]
- Eames, I.; Tang, J.W.; Li, Y.; Wilson, P. Airborne transmission of disease in hospitals. J. R. Soc. Interface 2009, 6 (Suppl. S6), 697–702. [Google Scholar] [CrossRef] [PubMed]
- Burnham, J.P.; Olsen, M.A.; Kollef, M.H. Re-estimating annual deaths due to multidrug-resistant organism infections. Infect. Control Hosp. Epidemiol. 2019, 40, 112–113. [Google Scholar] [CrossRef] [PubMed]
- Ebrahimi, M.; Akhavan, O. Nanomaterials for Photocatalytic Degradations of Analgesic, Mucolytic and Anti-Biotic/Viral/Inflammatory Drugs Widely Used in Controlling SARS-CoV-2. Catalysts 2022, 12, 667. [Google Scholar] [CrossRef]
- Morales-Paredes, C.A.; Rodríguez-Díaz, J.M.; Boluda-Botella, N. Pharmaceutical compounds used in the COVID-19 pandemic: A review of their presence in water and treatment techniques for their elimination. Sci. Total Environ. 2022, 814, 152691. [Google Scholar] [CrossRef]
- Tao, Y.; Lin, Y.; Huang, Z.; Ren, J.; Qu, X. Incorporating Graphene Oxide and Gold Nanoclusters: A Synergistic Catalyst with Surprisingly High Peroxidase-Like Activity over a Broad pH Range and Its Application for Cancer Cell Detection. Adv. Mater. 2013, 25, 2594–2599. [Google Scholar] [CrossRef] [PubMed]
- Manea, F.; Houillon, F.B.; Pasquato, L.; Scrimin, P. Nanozymes: Gold-Nanoparticle-Based Transphosphorylation Catalysts. Angew. Chem. Int. Ed. 2004, 43, 6165–6169. [Google Scholar] [CrossRef]
- Librando, I.L.; Mahmoud, A.G.; Carabineiro, S.A.; Guedes da Silva, M.F.C.; Maldonado-Hódar, F.J.; Geraldes, C.F.; Pombeiro, A.J. Heterogeneous gold nanoparticle-based catalysts for the synthesis of click-derived triazoles via the azide-alkyne cycloaddition reaction. Catalysts 2021, 12, 45. [Google Scholar] [CrossRef]
- Tada, H. Rational design for gold nanoparticle-based plasmonic catalysts and electrodes for water oxidation towards artificial photosynthesis. Dalton Trans. 2022, 51, 3383–3393. [Google Scholar] [CrossRef] [PubMed]
- Tada, H. Overall water splitting and hydrogen peroxide synthesis by gold nanoparticle-based plasmonic photocatalysts. Nanoscale Adv. 2019, 1, 4238–4245. [Google Scholar] [CrossRef]
- Jiang, B.; Duan, D.; Gao, L.; Zhou, M.; Fan, K.; Tang, Y.; Xi, J.; Bi, Y.; Tong, Z.; Gao, G.F.; et al. Standardized Assays for Determining the Catalytic Activity and Kinetics of Peroxidase-Like Nanozymes. Nat. Protoc. 2018, 13, 1506–1520. [Google Scholar] [CrossRef] [PubMed]
- Pirmohamed, T.; Dowding, J.M.; Singh, S.; Wasserman, B.; Heckert, E.; Karakoti, A.S.; King, J.E.; Seal, S.; Self, W.T. Nanoceria exhibit redox state-dependent catalase mimetic activity. Chem. Common. 2010, 46, 2736–2738. [Google Scholar] [CrossRef]
- He, X.; Tian, F.; Chang, J.; Bai, X.; Yuan, C.; Wang, C.; Neville, A. Haloperoxidase Mimicry by CeO2–x Nanorods of Different Aspect Ratios for Antibacterial Performance. ACS Sustain. Chem. Eng. 2020, 8, 6744–6752. [Google Scholar] [CrossRef]
- Balamurugan, A.; Sudha, M.; Surendhiran, S.; Anandarasu, R.; Ravikumar, S.; Khadar, Y.S. Hydrothermal synthesis of samarium (Sm) doped cerium oxide (CeO2) nanoparticles: Characterization and antibacterial activity. Mater. Today Proc. 2020, 26, 3588–3594. [Google Scholar] [CrossRef]
- Dar, M.A.; Gul, R.; Karuppiah, P.; Al-Dhabi, N.A.; Alfadda, A.A. Antibacterial activity of cerium oxide nanoparticles against ESKAPE pathogens. Crystals 2022, 12, 179. [Google Scholar] [CrossRef]
- Sebastiammal, S.; Bezy, N.A.; Somaprabha, A.; Henry, J.; Biju, C.S.; Fathima, A.L. Chemical and sweet basil leaf mediated synthesis of cerium oxide (CeO2) nanoparticles: Antibacterial action toward human pathogens. Phosphorus Sulfur Silicon Relat. Elem. 2022, 197, 237–243. [Google Scholar] [CrossRef]
- Fifere, N.; Airinei, A.; Dobromir, M.; Sacarescu, L.; Dunca, S.I. Revealing the effect of synthesis conditions on the structural, optical, and antibacterial properties of cerium oxide nanoparticles. Nanomaterials 2021, 11, 2596. [Google Scholar] [CrossRef] [PubMed]
- Nadeem, M.; Khan, R.; Afridi, K.; Nadhman, A.; Ullah, S.; Faisal, S.; Mabood, Z.U.; Hano, C.; Abbasi, B.H. Green synthesis of cerium oxide nanoparticles (CeO2 NPs) and their antimicrobial applications: A review. Int. J. Nanomed. 2020, 15, 5951–5961. [Google Scholar] [CrossRef]
- Thill, A.; Zeyons, O.; Spalla, O.; Chauvat, F.; Rose, J.; Auffan, M.; Flank, A.M. Cytotoxicity of CeO2 Nanoparticles for Escherichia coli. Physico-Chemical Insight of the Cytotoxicity Mechanism. Environ. Sci. Technol. 2006, 40, 6151. [Google Scholar] [CrossRef] [PubMed]
- Zhao, X.; Liu, Y.; Jiao, C.; Dai, W.; Song, Z.; Li, T.; He, X.; Yang, F.; Zhang, Z.; Ma, Y. Effects of surface modification on toxicity of CeO2 nanoparticles to lettuce. NanoImpact 2021, 24, 100364. [Google Scholar] [CrossRef] [PubMed]
- Hirst, S.M.; Karakoti, A.S.; Tyler, R.D.; Sriranganathan, N.; Seal, S.; Reilly, C.M. Anti-inflammatory Properties of Cerium Oxide Nanoparticles. Small 2009, 5, 2848. [Google Scholar] [CrossRef] [PubMed]
- Pelletier, D.A.; Suresh, A.K.; Holton, G.A.; McKeown, C.K.; Wang, W.; Gu, B.; Mortensen, N.P.; Allison, D.P.; Joy, D.C.; Allison, M.R.; et al. Effects of Engineered Cerium Oxide Nanoparticles on Bacterial Growth and Viability. Appl. Environ. Microbiol. 2010, 76, 7981–7989. [Google Scholar] [CrossRef] [PubMed]
- Kuang, Y.; He, X.; Zhang, Z.; Li, Y.; Zhang, H.; Ma, Y.; Wu, Z.; Chai, Z.; Nanosci, J. Comparison study on the antibacterial activity of nano- or bulk-cerium oxide. J. Nanosci. Nanotechnol. 2011, 11, 4103. [Google Scholar] [CrossRef] [PubMed]
- Zhuo, M.; Ma, J.; Quan, X. Cytotoxicity of functionalized CeO2 nanoparticles towards Escherichia coli and adaptive response of membrane properties. Chemosphere 2021, 281, 130865. [Google Scholar] [CrossRef]
- Leung, Y.H.; Yung, M.M.N.; Ng, A.M.C.; Ma, A.P.Y.; Wong, S.W.Y.; Chan, C.M.N.; Ng, Y.H.; Djurišić, A.B.; Guo, M.; Wong, M.T.; et al. Toxicity of CeO2 nanoparticles—The effect of nanoparticle properties. J. Photochem. Photobiol. B Biol. 2015, 145, 48–59. [Google Scholar] [CrossRef]
- Estes, L.M.; Singha, P.; Singh, S.; Sakthivel, T.S.; Garren, M.; Devine, R.; Brisbois, E.J.; Seal, S.; Handa, H. Characterization of a nitric oxide (NO) donor molecule and cerium oxide nanoparticle (CNP) interactions and their synergistic antimicrobial potential for biomedical applications. J. Colloid Interface Sci. 2021, 586, 163–177. [Google Scholar] [CrossRef]
- Derevianko, S.; Vasylchenko, A.; Kaplunenko, V.; Kharchuk, M.; Demchenko, O.; Spivak, M. Antiviral Properties of Cerium Nanoparticles. Acta Univ. Agric. Et Silvic. Mendel. Brun. 2022, 70, 187–204. [Google Scholar] [CrossRef]
- Nefedova, A.; Rausalu, K.; Zusinaite, E.; Vanetsev, A.; Rosenberg, M.; Koppel, K.; Lilla, S.; Visnapuu, M.; Smits, K.; Kisand, V.; et al. Antiviral efficacy of cerium oxide nanoparticles. Sci. Rep. 2022, 12, 18746. [Google Scholar] [CrossRef]
- Dupkalová, D.; Kosto, Y.; Kalinovych, V.; Deineko, A.; Franchi, S.; Nováková, J.; Matolínová, I.; Skála, T.; Prince, K.C.; Fučíková, A.; et al. Histidine-and glycine-functionalized cerium oxide nanoparticles: Physicochemical properties and antiviral activity. Appl. Surf. Sci. 2023, 636, 157793. [Google Scholar] [CrossRef]
- Matsumoto, T.; Sunada, K.; Nagai, T.; Isobe, T.; Matsushita, S.; Ishiguro, H.; Nakajima, A. Effects of cerium and tungsten substitution on antiviral and antibacterial properties of lanthanum molybdate. Mater. Sci. Eng. C 2020, 117, 111323. [Google Scholar] [CrossRef] [PubMed]
- Ji, Z.; Wang, X.; Zhang, H.; Lin, S.; Meng, H.; Sun, B.; George, S.; Xia, T.; Nel, A.E.; Zink, J.I. Designed Synthesis of CeO2 Nanorods and Nanowires for Studying Toxicological Effects of High Aspect Ratio Nanomaterials. ACS Nano 2012, 6, 5366–5380. [Google Scholar] [CrossRef] [PubMed]
- Wang, L.; Ai, W.; Zhai, Y.; Li, H.; Zhou, K.; Chen, H. Effects of Nano-CeO2 with Different Nanocrystal Morphologies on Cytotoxicity in HepG2 Cells. Int. J. Environ. Res. Public Health 2015, 12, 10806–10819. [Google Scholar] [CrossRef] [PubMed]
- Filippova, A.D.; Sozarukova, M.M.; Baranchikov, A.E.; Kottsov, S.Y.; Cherednichenko, K.A.; Ivanov, V.K. Peroxidase-like Activity of CeO2 Nanozymes: Particle Size and Chemical Environment Matter. Molecules 2023, 28, 3811. [Google Scholar] [CrossRef] [PubMed]
- Lang, J.; Ma, X.; Chen, P.; Sérota, M.D.; André, N.M.; Whittaker, G.R.; Yang, R. Haloperoxidase-mimicking CeO2−x nanorods for the deactivation of human coronavirus OC43. Nanoscale 2022, 14, 3731–3737. [Google Scholar] [CrossRef] [PubMed]
- Gupta, A.; Das, S.; Neal, C.J.; Seal, S. Controlling the surface chemistry of cerium oxide nanoparticles for biological applications. J. Mater. Chem. B 2016, 4, 3195–3202. [Google Scholar] [CrossRef]
- Sozarukova, M.M.; Proskurnina, E.V.; Popov, A.L.; Kalinkin, A.L.; Ivanov, V.K. New facets of nanozyme activity of ceria: Lipo- and phospholipoperoxidase-like behaviour of CeO2 nanoparticles. RSC Adv. 2021, 11, 35351–35360. [Google Scholar] [CrossRef]
- Henych, J.; Šťastný, M.; Ederer, J.; Němečková, Z.; Pogorzelska, A.; Tolasz, J.; Kormunda, M.; Ryšánek, P.; Bażanów, B.; Stygar, D.; et al. How the surface chemical properties of nanoceria are related to its enzyme-like, antiviral and degradation activity. Environ. Sci. Nano 2022, 9, 3485–3501. [Google Scholar] [CrossRef]
- Pakdel, E.; Fang, J.; Sun, L.; Wang, X. Nanocoatings for smart textiles. In Smart Textiles: Wearable Nanotechnology; Yilmaz, N.D., Ed.; John Wiley & Sons: Hoboken, NJ, USA, 2018; pp. 247–300. Available online: https://www.researchgate.net/publication/329046752_Nanocoatings_for_Smart_Textiles (accessed on 7 December 2023).
- Timoshina Yu, A.; Sergeeva, E.A. Production of antibacterial textile materials by deposition of silver nanoparticles under conditions of plasma of high-frequency induction discharge of reduced pressure. Bull. Kazan Technol. Univ. 2014. (In Russian). Available online: https://cyberleninka.ru/article/n/poluchenie-antibakterialnyh-tekstilnyh-materialov-metodom-naneseniya-nanochastits-serebra-v-usloviyah-plazmy-vysokochastotnogo (accessed on 5 October 2023).
- Abramova, A.; Gedanken, A.; Popov, V.; Ooi, E.H.; Mason, T.J.; Joyce, E.M.; Beddow, J.; Perelshtein, I.; Bayazitov, V. A sonochemical technology for coating of textiles with antibacterial nanoparticles and equipment for its implementation. Mater. Lett. 2013, 96, 121–124. [Google Scholar] [CrossRef]
- Patil, A.H.; Jadhav, S.A.; More, V.B.; Sonawane, K.D.; Vhanbatte, S.H.; Kadole, P.V.; Patil, P.S. A new method for single step sonosynthesis and incorporation of ZnO nanoparticles in cotton fabrics for imparting antimicrobial property. Chem. Pap. 2021, 75, 1247–1257. [Google Scholar] [CrossRef]
- Harifi, T.; Montazer, M. A review on textile sonoprocessing: A special focus on sonosynthesis of nanomaterials on textile substrates. Ultrason. Sonochemistry 2015, 23, 1–10. [Google Scholar] [CrossRef] [PubMed]
- Aminloo, E.S.; Montazer, M. Clean sono-synthesis of ZnO on cotton/nylon fabric using dopamine: Photocatalytic, hydrophilic, antibacterial features. Fibers Polym. 2021, 22, 97–108. [Google Scholar] [CrossRef]
- Morena, A.G.; Stefanov, I.; Ivanova, K.; Pérez-Rafael, S.; Sánchez-Soto, M.; Tzanov, T. Antibacterial Polyurethane Foams with Incorporated Lignin-Capped Silver Nanoparticles for Chronic Wound Treatment. Ind. Eng. Chem. Res. 2020, 59, 4504–4514. [Google Scholar] [CrossRef]
- Kumar, A.; Sharma, M.; Vaishm, R. Durable antibacterial cotton fabric via spray-coating of photocatalytic MoS2. Mater. Chem. Phys. 2022, 290, 126658. [Google Scholar] [CrossRef]
- Espanhol-Soares, M.; Costa, L.; Silva, M.R.A.; Soares Silva, F.; Ribeiro, L.M.S.; Gimenes, R. Super-hydrophobic coatings on cotton fabrics using sol–gel technique by spray. J. Sol-Gel Sci. Technol. 2020, 95, 22–33. [Google Scholar] [CrossRef]
- Shcherbakov, A.B.; Teplonogova, M.A.; Ivanova, O.S.; Shekunova, T.O.; Ivonin, I.V.; Baranchikov, A.Y.; Ivanov, V.K. Facile method for fabrication of surfactant-free concentrated CeO2 sols. Mater. Res. Express 2017, 4, 055008. [Google Scholar] [CrossRef]
- Lutterotti, L. Total pattern fitting for the combined size–strain–stress–texture determination in thin film diffraction. Nucl. Instrum. Methods Phys. Res. Sect. B Beam Interact. Mater. Atoms. 2010, 268, 334–340. [Google Scholar] [CrossRef]
- Abramova, A.V.; Abramov, V.O.; Fedulov, I.S.; Baranchikov, A.E.; Kozlov, D.A.; Veselova, V.O.; Kameneva, S.V.; Ivanov, V.K.; Cravotto, G. Strong Antibacterial Properties of Cotton Fabrics Coated with Ceria Nanoparticles under High-Power Ultrasound. Nanomaterials 2021, 11, 2704. [Google Scholar] [CrossRef]
- Zhang, M.; Zhang, C.; Zhai, X.; Luo, F.; Du, Y.; Yan, C. Antibacterial mechanism and activity of cerium oxide nanoparticles. Sci. China Mater. 2019, 62, 1727–1739. [Google Scholar] [CrossRef]
- Zholobak, N.M.; Ivanov, V.K.; Shcherbakov, A.B. Interaction of nanoceria with microorganisms. In Nanobiomaterials in Antimicrobial Therapy; Grumezescu, A.M., Ed.; William Andrew Publishing: Norwich, NY, USA, 2016; pp. 419–450. [Google Scholar] [CrossRef]
- Zhao, R.; Liu, Y.; Xie, Z.; Shen, P.; Qu, S. Microcalorimetric study of the action of Ce(III) ions on the growth of E. coli. Biol. Trace Elem. Res. 2002, 86, 167–175. [Google Scholar] [CrossRef]
- Yin, R.; Huang, Y.; Huang, C.; Tong, Y.; Tian, N. Preparation and characterization of novel gelatin/cerium (III) fiber with antibacterial activity. Mater. Lett. 2009, 63, 1335–1337. [Google Scholar] [CrossRef]
- Sargia, B.; Shah, J.; Singh, R.; Arya, H.; Shah, M.; Karakoti, A.S.; Singh, S. Phosphate-dependent modulation of antibacterial strategy: A redox state-controlled toxicity of cerium oxide nanoparticles. Bull. Mater. Sci. 2017, 40, 1231–1240. [Google Scholar] [CrossRef]






| Treatment Conditions | CeO2 | CeO2-Cit | ||
|---|---|---|---|---|
| Content, wt.% | Surface Concentration 10−4 g/cm2 | Content, wt.% | Surface Concentration 10−4 g/cm2 | |
| 50 cm, 20 s | 2.1 | 3.4 | 0.8 | 1.2 |
| 50 cm, 60 s | 4.2 | 6.7 | 0.7 | 1.1 |
| CFU before Incubation | CFU after 24 h | Antibacterial Activity | Average Antibacterial Activity for This Type of Sample | |
|---|---|---|---|---|
| Control | 2.0 × 108 | 2.2 × 106 | Not applicable | - |
| CeO2 1 | 2.6× 108 | 4.4 × 106 | No activity | 0.45 |
| CeO2 2 | 2.5 × 108 | 1.3 × 106 | 0.33 | |
| CeO2 3 | 2.2 × 108 | 3.7 × 105 | 0.82 | |
| CeO2 4 | 2.6 × 108 | 3.9 × 105 | 0.87 | |
| CeO2-Cit 1 | 2.7 × 108 | 2.0 × 102 | 4.17 | 4.15 |
| CeO2-Cit 2 | 2.6 × 108 | 1.5 × 102 | 4.28 | |
| CeO2-Cit 3 | 2.5 × 108 | 2.5 × 102 | 4.04 | |
| CeO2-Cit 4 | 2.6 × 108 | 2.3 × 102 | 4.09 |
Disclaimer/Publisher’s Note: The statements, opinions and data contained in all publications are solely those of the individual author(s) and contributor(s) and not of MDPI and/or the editor(s). MDPI and/or the editor(s) disclaim responsibility for any injury to people or property resulting from any ideas, methods, instructions or products referred to in the content. |
© 2023 by the authors. Licensee MDPI, Basel, Switzerland. This article is an open access article distributed under the terms and conditions of the Creative Commons Attribution (CC BY) license (https://creativecommons.org/licenses/by/4.0/).
Share and Cite
Abramova, A.V.; Kozlov, D.A.; Veselova, V.O.; Kozlova, T.O.; Ivanova, O.S.; Mikhalev, E.S.; Voytov, Y.I.; Baranchikov, A.E.; Ivanov, V.K.; Cravotto, G. Coating of Filter Materials with CeO2 Nanoparticles Using a Combination of Aerodynamic Spraying and Suction. Nanomaterials 2023, 13, 3168. https://doi.org/10.3390/nano13243168
Abramova AV, Kozlov DA, Veselova VO, Kozlova TO, Ivanova OS, Mikhalev ES, Voytov YI, Baranchikov AE, Ivanov VK, Cravotto G. Coating of Filter Materials with CeO2 Nanoparticles Using a Combination of Aerodynamic Spraying and Suction. Nanomaterials. 2023; 13(24):3168. https://doi.org/10.3390/nano13243168
Chicago/Turabian StyleAbramova, Anna V., Daniil A. Kozlov, Varvara O. Veselova, Taisiya O. Kozlova, Olga S. Ivanova, Egor S. Mikhalev, Yuri I. Voytov, Alexandr E. Baranchikov, Vladimir K. Ivanov, and Giancarlo Cravotto. 2023. "Coating of Filter Materials with CeO2 Nanoparticles Using a Combination of Aerodynamic Spraying and Suction" Nanomaterials 13, no. 24: 3168. https://doi.org/10.3390/nano13243168
APA StyleAbramova, A. V., Kozlov, D. A., Veselova, V. O., Kozlova, T. O., Ivanova, O. S., Mikhalev, E. S., Voytov, Y. I., Baranchikov, A. E., Ivanov, V. K., & Cravotto, G. (2023). Coating of Filter Materials with CeO2 Nanoparticles Using a Combination of Aerodynamic Spraying and Suction. Nanomaterials, 13(24), 3168. https://doi.org/10.3390/nano13243168

