Static and Free Vibration Analyses of Single-Walled Carbon Nanotube (SWCNT)–Substrate Medium Systems
Abstract
:1. Introduction
2. Nanobar–Substrate Medium Interaction
3. Modified Strain-Gradient Theory
4. Surface Elasticity Theory
5. Nanobar–Substrate Medium Model: Single-Walled Carbon Nanotube (SWCNT)–Substrate Medium System
5.1. Kinematics
5.2. Formulation: Hamilton’s Principle
5.3. Analytical Solution of the Nanobar–Substrate Medium System: Static Analysis
5.4. Analytical Solution of the Nanobar–Substrate Medium System: Free Vibration Analysis
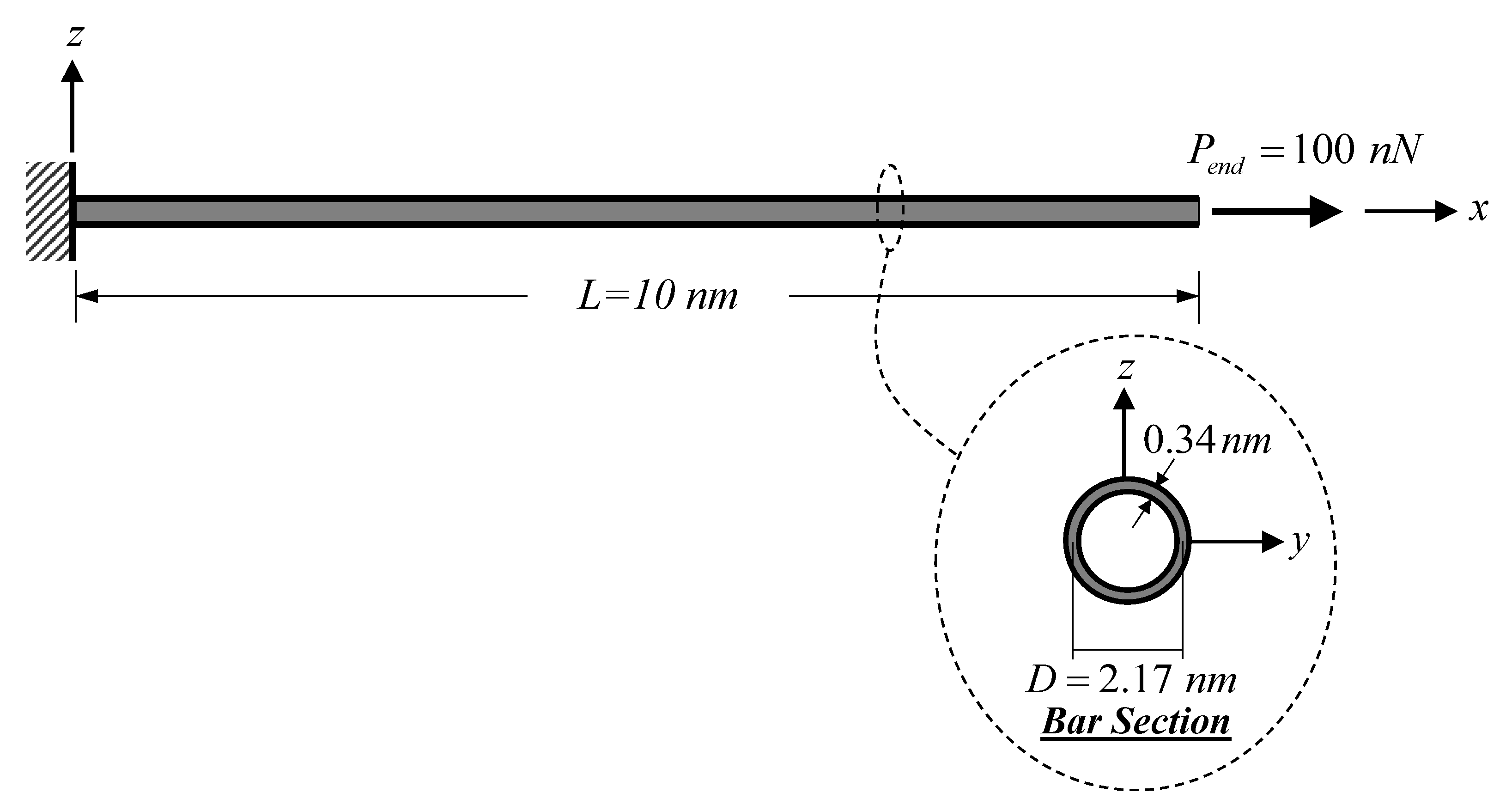
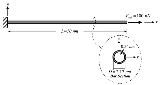
6. Numerical Simulations
6.1. Simulation I: Static Analysis
6.1.1. Paradox Resolved
6.1.2. Parametric Investigation of System Parameters on the Effective Young’s Modulus
6.2. Simulation II: Free Vibration Analysis
6.2.1. Effect of Material Length-Scale Parameters on the Fundamental Natural Frequency of SWCNT–Substrate Medium Systems
6.2.2. Effect of Surface-Free Energy on Natural Frequencies of SWCNT–Substrate Medium Systems
7. Conclusions
Author Contributions
Funding
Institutional Review Board Statement
Informed Consent Statement
Data Availability Statement
Acknowledgments
Conflicts of Interest
References
- Thostenson, E.T.; Ren, Z.; Chou, T.W. Advances in the science and technology of carbon nanotubes and their composites: A review. Compos. Sci. Technol. 2001, 61, 1899–1912. [Google Scholar] [CrossRef] [Green Version]
- Hornyak, G.L.; Moore, J.J.; Tibbals, H.F.; Dutta, J. Fundamentals of Nanotechnology; Taylor & Francis Inc.: Bosa Roca, FL, USA, 2008. [Google Scholar]
- Yurish, S.Y. Sensors and Biosensors, MEMS Technologies and Its Applications; International Frequency Sensor Association (Ifsa) Publishing: Barcelona, Spain, 2014. [Google Scholar]
- O’Donnell, J.; Kim, M.; Yoon, H.S. A review on electromechanical devices fabricated by additive manufacturing. J. Manuf. Sci. Eng. 2017, 139, 1080. [Google Scholar] [CrossRef]
- Zare, M.; Solaymani, S.; Shafiekhani, A.; Kulesza, S.; Ţălu, Ş.; Bramowicz, M. Evolution of rough-surface geometry and crystalline structures of aligned TiO2 nanotubes for photoelectrochemical water splitting. Sci. Rep. 2018, 8, 10870. [Google Scholar] [CrossRef] [PubMed] [Green Version]
- Ţălu, Ş.; Marković, Z.; Stach, S.; Marković, B.T.; Ţălu, M. Multifractal characterization of single wall carbon nanotube thin films surface upon exposure to optical parametric oscillator laser irradiation. Appl. Surf. Sci. 2014, 289, 97–106. [Google Scholar] [CrossRef]
- Kim, J.; Ahn, S.Y.; Um, S.H. Bead-immobilized multimodal molecular beacon-equipped DNA machinery for specific RNA target detection: A prototypical molecular nanobiosensor. Nanomaterials 2021, 11, 1617. [Google Scholar] [CrossRef]
- Liu, M.; Zhao, K. Engineering active micro and nanomotors. Micromachines 2021, 12, 687. [Google Scholar] [CrossRef]
- Chandrasekaran, A.R.; Trivedi, R.; Halvorsen, K. Ribonuclease-responsive DNA nanoswitches. Cell. Rep. Phys. Sci. 2020, 1, 100117. [Google Scholar] [CrossRef]
- Maity, R.; Maity, N.P.; Guha, K.; Baishya, S. Analysis of fringing capacitance effect on the performance of MEMS based micromachined ultrasonic air transducer. Micro Nano Lett. 2018, 13, 872–877. [Google Scholar] [CrossRef]
- Rackauskas, S.; Barbero, N.; Barolo, C.; Viscardi, G. ZnO nanowire application in chemoresistive sensing: A review. Nanomaterials 2017, 7, 381. [Google Scholar] [CrossRef] [Green Version]
- He, F.; Liu, J.; Zhu, K.D. Optomechanical atomic force microscope. Nanotechnology 2021, 32, 85505. [Google Scholar] [CrossRef]
- Lam, D.C.C.; Yang, F.; Chong, A.C.M.; Wang, J.; Tong, P. Experiments and theory in strain gradient elasticity. J. Mech. Phys. Solids 2003, 51, 1477–1508. [Google Scholar] [CrossRef]
- Li, X.F.; Wang, B.L.; Lee, K.Y. Size effects of the bending stiffness of nanowires. J. Appl. Phys. 2009, 105, 74306. [Google Scholar] [CrossRef]
- Abazari, A.M.; Fotouhi, M.; Tavakkoli, H.; Rezazadeh, G. An experimental study for characterization of size-dependence in microstructures via electrostatic pull-in instability technique. Appl. Phys. Lett. 2020, 116, 244102. [Google Scholar] [CrossRef]
- Diao, J.; Gall, K.; Dunn, M.L. Atomistic simulation of the structure and elastic properties of gold nanowires. J. Mech. Phys. Solids 2004, 52, 1935–1962. [Google Scholar] [CrossRef]
- Cleri, F.; Ishida, T.; Collard, D.; Fujita, H. Atomistic simulation of plasticity in silicon nanowires. Appl. Phys. Lett. 2010, 97, 153106. [Google Scholar] [CrossRef]
- Chang, K.H.; Wang, Y. Sensitivity analysis for coupled atomistic and continuum simulations using bridging scale decomposition. Mech. Based Des. Struct. Mach. 2012, 40, 292–333. [Google Scholar] [CrossRef]
- Madani, S.H.; Sabour, M.H.; Fadaee, M. Molecular dynamics simulation of vibrational behavior of annular graphene sheet: Identification of nonlocal parameter. J. Mol. Graphics Modell. 2018, 79, 264–272. [Google Scholar] [CrossRef]
- Bétermin, L.; Friedrich, M.; Stefanelli, U. Lattice ground states for embedded-atom models in 2D and 3D. Lett. Math. Phys. 2021, 111, 107. [Google Scholar] [CrossRef]
- Babaei, H.; Shahidi, A.R. Small-scale effects on the buckling of quadrilateral nanoplates based on nonlocal elasticity theory using the Galerkin method. Arch. Appl. Mech. 2011, 81, 1051–1062. [Google Scholar] [CrossRef]
- Akgöz, B.; Civale, Ö. Analysis of micro-sized beams for various boundary conditions based on the strain gradient elasticity theory. Arch. Appl. Mech. 2012, 82, 423–443. [Google Scholar] [CrossRef]
- Karami, B.; Janghorban, M. On the mechanics of functionally graded nanoshells. Int. J. Eng. Sci. 2020, 153, 103309. [Google Scholar] [CrossRef]
- Jazi, S.H. Nonlinear vibration of an elastically connected double Timoshenko nanobeam system carrying a moving particle based on modified couple stress theory. Arch. Appl. Mech. 2020, 90, 2739–2754. [Google Scholar]
- Juntarasaid, C.; Pulngern, T.; Chucheepsakul, S. A variational method for post-buckling analysis of end-supported nanorods under self-weight with surface stress effect. Arch. Appl. Mech. 2021, 91, 1021–1035. [Google Scholar] [CrossRef]
- Eringen, A.C. Nonlocal polar elastic continua. Int. J. Eng. Sci. 1972, 10, 1–16. [Google Scholar] [CrossRef]
- Eringen, A.C. On differential equations of nonlocal elasticity and solutions of screw dislocation and surface waves. J. Appl. Phys. 1983, 54, 4703–4710. [Google Scholar] [CrossRef]
- Mindlin, R.D. On the equations of elastic materials with micro-structure. Int. J. Solids Struct. 1965, 1, 73–78. [Google Scholar] [CrossRef]
- Mindlin, R.D. Influence of couple-stresses on stress concentrations. Exp. Mech. 1963, 3, 1–7. [Google Scholar] [CrossRef]
- Yang, F.; Chong, A.C.M.; Lam, D.C.C.; Tong, P. Couple stress based strain gradient theory for elasticity. Int. J. Solids Struct. 2002, 39, 2731–2743. [Google Scholar] [CrossRef]
- Reddy, J.N.; Pang, S.D. Nonlocal continuum theories of beams for the analysis of carbon nanotubes. J. Appl. Phys. 2008, 103, 23511. [Google Scholar] [CrossRef]
- Wang, C.M.; Kitipornchai, S.; Lim, C.W.; Eisenberger, M. Beam bending solutions based on nonlocal Timoshenko beam theory. J. Eng. Mech. 2008, 134, 475–481. [Google Scholar] [CrossRef]
- Juntarasaid, C.; Pulngern, T.; Chucheepsakul, S. Bending and buckling of nanowires including the effects of surface stress and nonlocal elasticity. Phys. E Low-Dimens. Syst. Nanostruc. 2012, 46, 68–76. [Google Scholar] [CrossRef]
- Barretta, R.; Feo, L.; Luciano, R.; Marotti de Sciarra, F. Application of an enhanced version of the Eringen differential model to nanotechnology. Composites Part B 2016, 96, 274–280. [Google Scholar] [CrossRef]
- Ebrahimi, F.; Shafiei, N. Application of Eringen’s nonlocal elasticity theory for vibration analysis of rotating functionally graded nanobeams. Smart Struct. Syst. 2016, 17, 837–857. [Google Scholar] [CrossRef]
- Limkatanyu, S.; Sae-Long, W.; Horpibulsuk, S.; Prachasaree, W.; Damrongwiriyanupap, N. Flexural responses of nanobeams with coupled effects of nonlocality and surface energy. ZAMM J. Appl. Math. Mech. 2018, 98, 1771–1793. [Google Scholar] [CrossRef]
- Nguyen, T.B.; Reddy, J.N.; Rungamornrat, J.; Lawongkerd, J.; Senjuntichai, T.; Luong, V.H. Nonlinear analysis for bending, buckling and post-buckling of nano-beams with nonlocal and surface energy effects. Int. J. Struct. Stab. Dyn. 2019, 19, 1950130. [Google Scholar] [CrossRef]
- Sayyad, A.S.; Ghugal, Y.M. Bending, buckling and free vibration analysis of size-dependent nanoscale FG beams using refined models and Eringen’s nonlocal theory. Int. J. Appl. Mech. 2020, 12, 2050007. [Google Scholar] [CrossRef]
- Lal, R.; Dangi, C. Dynamic analysis of bi-directional functionally graded Timoshenko nanobeam on the basis of Eringen’s nonlocal theory incorporating the surface effect. Appl. Math. Comput. 2021, 395, 125857. [Google Scholar] [CrossRef]
- Peddieson, J.; Buchanan, G.R.; McNitt, R.P. Application of nonlocal continuum models to nanotechnology. Int. J. Eng. Sci. 2003, 41, 305–312. [Google Scholar] [CrossRef]
- Romano, G.; Barretta, R.; Diaco, M.; De Sciarra, F.M. Constitutive boundary conditions and paradoxes in nonlocal elastic nanobeams. Int. J. Mech. Sci. 2017, 121, 151–156. [Google Scholar] [CrossRef]
- Koutsoumaris, C.C.; Eptaimeros, K.G.; Zisis, T.; Tsamasphyros, G.J. A straightforward approach to Eringen’s nonlocal elasticity stress model and applications for nanobeams. AIP Conf. Proc. 2016, 1790, 150018. [Google Scholar]
- Ma, H.M.; Gao, X.L.; Reddy, J.N. A microstructure-dependent Timoshenko beam model based on a modified couple stress theory. J. Mech. Phys. Solids 2008, 56, 3379–3391. [Google Scholar] [CrossRef]
- Cammarata, R.C. Surface and interface stress effects in thin films. Prog. Surf. Sci. 1994, 46, 1–38. [Google Scholar] [CrossRef] [Green Version]
- Miller, R.E.; Shenoy, V.B. Size-dependent elastic properties of nanosized structural elements. Nanotechnology 2000, 11, 139–147. [Google Scholar] [CrossRef]
- Tinte, S.; Stachiotti, M.G. Atomistic simulation of surface effects in BaTiO3. AIP Conf. Proc. 2000, 535, 273. [Google Scholar]
- Gurtin, M.E.; Murdoch, A.I. A continuum theory of elastic material surface. Arch. Ration. Mech. Anal. 1975, 57, 291–323. [Google Scholar] [CrossRef]
- Gurtin, M.E.; Murdoch, A.I. Surface stress in solids. Int. J. Solids Struct. 1978, 14, 431–440. [Google Scholar] [CrossRef]
- Bhushan, B. Springer Handbook of Nanotechnology; Springer: Berlin, Germany, 2010. [Google Scholar]
- Limkatanyu, S.; Damrongwiriyanupap, N.; Prachasaree, W.; Sae-Long, W. Modeling of axially loaded nanowires embedded in elastic substrate media with inclusion of nonlocal and surface effects. J. Nanomater. 2013, 2013, 635428. [Google Scholar] [CrossRef]
- Limkatanyu, S.; Prachasaree, W.; Damrongwiriyanupap, N.; Kwon, M. Exact stiffness matrix for nonlocal bars embedded in elastic foundation media: The virtual-force approach. J. Eng. Math. 2014, 89, 163–176. [Google Scholar] [CrossRef]
- Sae-Long, W.; Limkatanyu, S.; Prachasaree, W.; Rungamornrat, J.; Sukontasukkul, P. A thermodynamics-based nonlocal bar-elastic substrate model with inclusion of surface-energy effect. J. Nanomater. 2020, 2020, 8276745. [Google Scholar] [CrossRef]
- Limkatanyu, S.; Sae-Long, W.; Mohammad-Sedighi, H.; Rungamornrat, J.; Sukontasukkul, P.; Prachasaree, W.; Imjai, T. Strain-gradient bar-elastic substrate model with surface-energy effect: Virtual-force approach. Nanomaterials 2022, 12, 375. [Google Scholar] [CrossRef]
- Barretta, R.; De Sciarra, F.M. A nonlocal model for carbon nanotubes under axial loads. Adv. Mater. Sci. Eng. 2013, 2013, 360935. [Google Scholar] [CrossRef] [Green Version]
- Sae-Long, W.; Limkatanyu, S.; Sukontasukkul, P.; Damrongwiriyanupap, N.; Rungamornrat, J.; Prachasaree, W. A fourth-order strain gradient bar-substrate model with nonlocal and surface effects for the analysis of nanowires embedded in substrate media. Facta Univ. Ser. Mech. Eng. 2021, 19, 657–680. [Google Scholar] [CrossRef]
- Narendar, S.; Gopalakrishnan, S. Ultrasonic wave characteristics of nanorods via nonlocal strain gradient models. J. Appl. Phys. 2010, 107, 084312. [Google Scholar] [CrossRef]
- Winkler, E. Die Lehre von der und Festigkeit; Dominicus: Prague, Czech Republic, 1867. [Google Scholar]
- Altan, B.S.; Aifantis, E.C. On some aspects in the special theory of gradient elasticity. J. Mech. Behav. Mater. 1997, 8, 231–282. [Google Scholar] [CrossRef]
- Akgöz, B.; Civalek, Ö. Longitudinal vibration analysis for microbars based on strain gradient elasticity theory. J. Vib. Control 2014, 20, 606–616. [Google Scholar] [CrossRef]
- Limkatanyu, S.; Sae-Long, W.; Prachasaree, W.; Kwon, M. Improved nonlinear displacement-based beam element on a two-parameter foundation. Eur. J. Environ. Civ. Eng. 2015, 19, 649–671. [Google Scholar] [CrossRef]
- Dinçkal, C.; Alemder, B.N.; Gülkan, P.H. Dynamics of a beam-column element on an elastic foundation. Can. J. Civ. Eng. 2016, 43, 685–701. [Google Scholar] [CrossRef]
- Benvenuti, E.; Simone, A. One-dimensional nonlocal and gradient elasticity: Closed-form solution and size effect. Mech. Res. Commun. 2013, 48, 46–51. [Google Scholar] [CrossRef]
- Jena, S.K.; Chakraverty, S.; Malikan, M.; Tornabene, F. Stability analysis of single-walled carbon nanotubes embedded in winkler foundation placed in a thermal environment considering the surface effect using a new refined beam theory. Mech. Based Des. Struct. Mach. 2021, 49, 581–595. [Google Scholar] [CrossRef]
- Fleck, N.A.; Muller, G.M.; Ashby, M.F.; Hutchinson, J.W. Strain gradient plasticity: Theory and experiment. Acta. Metall. Mater. 1994, 42, 475–487. [Google Scholar] [CrossRef]
- Chong, A.C.M.; Lam, D.C.C. Strain gradient plasticity effect in indentation hardness of polymers. J. Mater. Res. 1999, 14, 4103–4110. [Google Scholar] [CrossRef]
- Anvari, A. The influence of CNT structural parameters on the properties of CNT and CNT-reinforced epoxy. Int. J. Aerosp. Eng. 2020, 2020, 4873426. [Google Scholar] [CrossRef]
- Demir, C.; Mercan, K.; Numanoglu, H.M.; Civalek, O. Bending response of nanobeams resting on elastic foundation. J. Appl. Comput. Mech. 2018, 4, 105–114. [Google Scholar]
- He, J.; Lilley, C.M. Surface effect on the elastic behavior of static bending nanowires. Nano. Lett. 2008, 8, 1798–1802. [Google Scholar] [CrossRef]
- Ponbunyanon, P.; Limkatanyu, S.; Kaewjuea, W.; Prachasaree, W.; Chub-Uppakarn, T. A novel beam-elastic substrate model with inclusion of nonlocal elasticity and surface energy effects. Arabian J. Sci. Eng. 2016, 41, 4099–4113. [Google Scholar] [CrossRef]
- Ebrahimi, F.; Shaghaghi, G.R.; Boreiry, M. A semi-analytical evaluation of surface and nonlocal effects on buckling and vibrational characteristics of nanotubes with various boundary conditions. Int. J. Struct. Stab. Dyn. 2016, 16, 1550023. [Google Scholar] [CrossRef]












Publisher’s Note: MDPI stays neutral with regard to jurisdictional claims in published maps and institutional affiliations. |
© 2022 by the authors. Licensee MDPI, Basel, Switzerland. This article is an open access article distributed under the terms and conditions of the Creative Commons Attribution (CC BY) license (https://creativecommons.org/licenses/by/4.0/).
Share and Cite
Limkatanyu, S.; Sae-Long, W.; Mohammad-Sedighi, H.; Rungamornrat, J.; Sukontasukkul, P.; Imjai, T.; Zhang, H. Static and Free Vibration Analyses of Single-Walled Carbon Nanotube (SWCNT)–Substrate Medium Systems. Nanomaterials 2022, 12, 1740. https://doi.org/10.3390/nano12101740
Limkatanyu S, Sae-Long W, Mohammad-Sedighi H, Rungamornrat J, Sukontasukkul P, Imjai T, Zhang H. Static and Free Vibration Analyses of Single-Walled Carbon Nanotube (SWCNT)–Substrate Medium Systems. Nanomaterials. 2022; 12(10):1740. https://doi.org/10.3390/nano12101740
Chicago/Turabian StyleLimkatanyu, Suchart, Worathep Sae-Long, Hamid Mohammad-Sedighi, Jaroon Rungamornrat, Piti Sukontasukkul, Thanongsak Imjai, and Hexin Zhang. 2022. "Static and Free Vibration Analyses of Single-Walled Carbon Nanotube (SWCNT)–Substrate Medium Systems" Nanomaterials 12, no. 10: 1740. https://doi.org/10.3390/nano12101740
APA StyleLimkatanyu, S., Sae-Long, W., Mohammad-Sedighi, H., Rungamornrat, J., Sukontasukkul, P., Imjai, T., & Zhang, H. (2022). Static and Free Vibration Analyses of Single-Walled Carbon Nanotube (SWCNT)–Substrate Medium Systems. Nanomaterials, 12(10), 1740. https://doi.org/10.3390/nano12101740

