A Novel Radio Network Information Service (RNIS) to MEC Framework in B5G Networks
Abstract
1. Introduction
- New RNIS as a service to the MEC framework in B5G networks
- Specification and architecture of the new RNIS improvements
- Implementation and validation of the RNIS available on public repository [25] in order to utilize the community to build on this knowledge.
2. Related Work
3. Our Proposed RNIS as a Service to MEC Framework in B5G Networks
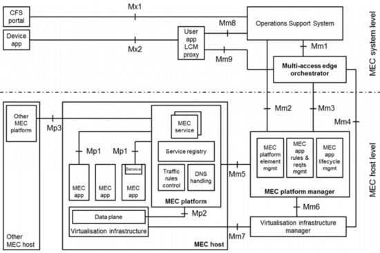
3.1. RNIS as a Service Architecture
3.2. RNIS as a Service Specification
- PLMN information: Retrieves the current state of Public Land Mobile Network (PLMN) information, which refers to a public mobile communication network;
- S1 Bearer information: Retrieves the current state of S1 Bearer information, which is a communication interface between different parts of a mobile communication network;
- Layer 2 measurements: Retrieves the current state of Layer 2 measurement information, which includes data about the data link layer in communication;
- All subscriptions for a subscriber: Retrieves a list of active subscriptions for a specific subscriber;
- POST Create a new subscription: Creates a new subscription for a subscriber;
- Existing subscription: Retrieves information about a specific subscription using the subscription ID;
- PUT Modify existing subscription by sending a new data structure: Modifies an existing subscription by sending a new data structure;
- DELETE Cancel the existing subscription: Cancels the existing subscription;
- Notification callback: Sends a notification using the callback reference provided by the client.
3.3. RNIS as a Service Implementation







4. Performance Evaluation and Results
4.1. Environment Setting
4.2. Results
5. Conclusions
Author Contributions
Funding
Institutional Review Board Statement
Informed Consent Statement
Data Availability Statement
Conflicts of Interest
Abbreviations
| B5G | Beyond the Fifth Generation |
| RNIS | Radio Network Information Service |
| RAN | Radio Access Network |
| 5G | Fifth Generation of mobile networks |
| eMBB | enhanced Mobile Broadband |
| uRLLC | Ultra-Reliable Low-Latency Communication |
| mMTC | massive Machine Type Communications |
| 6G | Sixth Generation of mobile networks |
| IoT | Internet of Things |
| MEC | Multi-Access Edge Computing |
| NG-RAN | Next Generation Radio Access Network |
| UE | User Equipment |
| MEC apps | MEC applications |
| WS | Web Service |
| SOA | Service-oriented Architecture |
| ERAB | E-UTRAN Radio Access Bearer |
| RRC | Radio Resource Control |
| S1AP | S1 Application Protocol |
| X2-AP | X2 Application Protocol |
| QoE | Quality of Experience |
| CCE | Congestion Control Engine |
| MEP | MEC Platform |
| MEO | Multi-Access Edge Orchestrator |
| PLMN | Public Land Mobile Network |
| CAPES | Coordination for the Improvement of Higher Education Personnel |
| FAPEG | Superior Council of the Research Support Foundation of the State of Goiás |
| Embrapa | Brazilian Agricultural Research Corporation |
References
- Gupta, A.; Jha, R.K. A survey of 5G network: Architecture and emerging technologies. IEEE Access 2015, 3, 1206–1232. [Google Scholar] [CrossRef]
- Meira, J.; Matos, G.; Perdigão, A.; Cação, J.; Resende, C.; Moreira, W.; Antunes, M.; Quevedo, J.; Moutinho, R.; Oliveira, J.; et al. Industrial Internet of Things over 5G: A Practical Implementation. Sensors 2023, 23, 5199. [Google Scholar] [CrossRef] [PubMed]
- Jiang, W.; Han, B.; Habibi, M.A.; Schotten, H.D. The road towards 6G: A comprehensive survey. IEEE Open J. Commun. Soc. 2021, 2, 334–366. [Google Scholar] [CrossRef]
- Chen, S.; Liang, Y.C.; Sun, S.; Kang, S.; Cheng, W.; Peng, M. Vision, requirements, and technology trend of 6G: How to tackle the challenges of system coverage, capacity, user data-rate and movement speed. IEEE Wirel. Commun. 2020, 27, 218–228. [Google Scholar] [CrossRef]
- Al-Ansi, A.; Al-Ansi, A.M.; Muthanna, A.; Elgendy, I.A.; Koucheryavy, A. Survey on intelligence edge computing in 6G: Characteristics, challenges, potential use cases, and market drivers. Future Internet 2021, 13, 118. [Google Scholar] [CrossRef]
- Wadatkar, P.V.; Garroppo, R.G.; Nencioni, G. 5G-MEC Testbeds for V2X Applications. Future Internet 2023, 15, 175. [Google Scholar] [CrossRef]
- Singh, R.; Sukapuram, R.; Chakraborty, S. A survey of mobility-aware multi-access edge computing: Challenges, use cases and future directions. Ad Hoc Netw. 2023, 140, 103044. [Google Scholar] [CrossRef]
- Pivoto, D.G.; Rezende, T.T.; Facina, M.S.; Moreira, R.; de Oliveira Silva, F.; Cardoso, K.V.; Correa, S.L.; Araujo, A.V.; Silva, R.S.; Neto, H.S.; et al. A detailed relevance analysis of enabling technologies for 6G architectures. IEEE Access 2023, 11, 89644–89684. [Google Scholar] [CrossRef]
- Zhang, Y. Mobile edge computing for beyond 5g/6g. In Mobile Edge Computing; Springer: Berlin/Heidelberg, Germany, 2022; pp. 37–45. [Google Scholar]
- Filali, A.; Abouaomar, A.; Cherkaoui, S.; Kobbane, A.; Guizani, M. Multi-access edge computing: A survey. IEEE Access 2020, 8, 197017–197046. [Google Scholar] [CrossRef]
- Jaiganesh, S.; Gunaseelan, K.; Ellappan, V. IOT agriculture to improve food and farming technology. In Proceedings of the 2017 Conference on Emerging Devices and Smart Systems (ICEDSS), Mallasamudram, Tiruchengode, India, 3–4 March 2017; IEEE: Piscataway, NJ, USA, 2017; pp. 260–266. [Google Scholar]
- ETSI. ETSI GS MEC 003 V2.2.1 (2020-12): Multi-access Edge Computing (MEC); Framework and Reference Architecture; ETSI: Sophia Antipolis, France, 2020. [Google Scholar]
- Pham, Q.V.; Fang, F.; Ha, V.N.; Piran, M.J.; Le, M.; Le, L.B.; Hwang, W.J.; Ding, Z. A survey of multi-access edge computing in 5G and beyond: Fundamentals, technology integration, and state-of-the-art. IEEE Access 2020, 8, 116974–117017. [Google Scholar] [CrossRef]
- ETSI. Multi-access Edge Computing (MEC); Framework and Reference Architecture; Technical report; ETSI: Sophia Antipolis, France, 2019. [Google Scholar]
- ETSI. ETSI GS MEC 012 V2.2.1 (2022-02): Multi-Access Edge Computing (MEC); Radio Network Information API; ETSI: Sophia Antipolis, France, 2022; Available online: https://www.etsi.org/deliver/etsi_gs/MEC/001_099/012/02.02.01_60/gs_MEC012v020201p.pdf (accessed on 8 April 2024).
- Pencheva, E.; Atanasov, I. An approach to design radio network information Web services for mobile edge computing. In Proceedings of the 2017 Global Internet of Things Summit (GIoTS), Geneva, Switzerland, 6–9 June 2017; IEEE: Piscataway, NJ, USA, 2017; pp. 1–6. [Google Scholar]
- Borsatti, D.; Davoli, G.; Cerroni, W.; Raffaelli, C. Enabling industrial IoT as a service with multi-access edge computing. IEEE Commun. Mag. 2021, 59, 21–27. [Google Scholar] [CrossRef]
- Arora, S.; Frangoudis, P.A.; Ksentini, A. Exposing radio network information in a MEC-in-NFV environment: The RNISaaS concept. In Proceedings of the 2019 IEEE Conference on Network Softwarization (NetSoft), Paris, France, 24–28 June 2019; IEEE: Piscataway, NJ, USA, 2019; pp. 306–310. [Google Scholar]
- Farooq, M.S.; Riaz, S.; Abid, A.; Abid, K.; Naeem, M.A. A Survey on the Role of IoT in Agriculture for the Implementation of Smart Farming. IEEE Access 2019, 7, 156237–156271. [Google Scholar] [CrossRef]
- Ferreira, A.C.; Ferreira, J.S.; Mendes, L.L.; Barbosa, T.C.; Mendes, L.L. 5G IoT Atividade 1.1-Levantamento de Aplicações do IoT em Areas Remotas/Rurais. Technical Report; CRR INATEL: Santa Rita do Sapucaí, Brazil, 2019. [Google Scholar]
- Xavier, R.; Silva, R.S.; Ribeiro, M.; Moreira, W.; Freitas, L.; Oliveira-Jr, A. Integrating Multi-Access Edge Computing (MEC) into Open 5G Core. Telecom 2024, 5, 433–450. [Google Scholar] [CrossRef]
- ETSI. ETSI GS MEC 012 V2.1.1: Multi-Access Edge Computing (MEC); Radio Network Information API; ETSI: Sophia Antipolis, France, 2019; Available online: https://www.etsi.org/deliver/etsi_gs/MEC/001_099/012/02.01.01_60/gs_mec012v020101p.pdf (accessed on 8 April 2024).
- ETSI. ETSI GR MEC 031 V2.1.1: Multi-Access Edge Computing (MEC); MEC 5G Integration; ETSI Group Report; ETSI: Sophia Antipolis, France, 2020. [Google Scholar]
- ETSI. ETSI GS MEC 012 V1.1.1: Mobile Edge Computing (MEC); Radio Network Information API; ETSI: Sophia Antipolis, France, 2017; Available online: https://www.etsi.org/deliver/etsi_gs/mec/001_099/012/01.01.01_60/gs_mec012v010101p.pdf (accessed on 8 April 2024).
- Cunha, K.M.R. MEC RNIS. Available online: https://github.com/LABORA-INF-UFG/MEC_RNIS (accessed on 4 April 2024).
- Emmi, L.; Paredes-Madrid, L.; Ribeiro, A.; Pajares, G.; Gonzalez-de Santos, P. Fleets of robots for precision agriculture: A simulation environment. Ind. Robot. Int. J. 2013, 40, 41–58. [Google Scholar] [CrossRef]
- Rommer, S.; Hedman, P.; Olsson, M.; Frid, L.; Sultana, S.; Mulligan, C. 5G Core Networks: Powering Digitalization; Academic Press: Cambridge, MA, USA, 2019. [Google Scholar]
- Kireva, D.; Pencheva, E.; Atanasov, I.; Nikolova, K. Deployment of mobile edge radio network information service. In Proceedings of the 2018 IX National Conference with International Participation (ELECTRONICA), Sofia, Bulgaria, 17–18 May 2018; IEEE: Piscataway, NJ, USA, 2018; pp. 1–4. [Google Scholar]
- Tan, Y.; Han, C.; Luo, M.; Zhou, X.; Zhang, X. Radio network-aware edge caching for video delivery in MEC-enabled cellular networks. In Proceedings of the 2018 IEEE Wireless Communications and Networking Conference Workshops (WCNCW), Barcelona, Spain, 15–18 April 2018; IEEE: Piscataway, NJ, USA, 2018; pp. 179–184. [Google Scholar]
- Nasimi, M.; Habibi, M.A.; Han, B.; Schotten, H.D. Edge-assisted congestion control mechanism for 5G network using software-defined networking. In Proceedings of the 2018 15th International symposium on wireless communication systems (ISWCS), Lisbon, Portugal, 28–31 August 2018; IEEE: Piscataway, NJ, USA, 2018; pp. 1–5. [Google Scholar]
- Atanasov, I.; Pencheva, E.; Asenov, I. Mobile Edge Assistance Information for Radio Access Network Optimization. In Proceedings of the 2019 10th IFIP International Conference on New Technologies, Mobility and Security (NTMS), Canary Islands, Spain, 24–26 June 2019; IEEE: Piscataway, NJ, USA, 2019; pp. 1–5. [Google Scholar]
- Pencheva, E.; Atanasov, I.; Asenov, I.; Trifonov, V. Provisioning of UE Behavior Prognostics at the Network Edge. In Proceedings of the 2019 IEEE XXVIII International Scientific Conference Electronics (ET), Sozopol, Bulgaria, 12–14 September 2019; IEEE: Piscataway, NJ, USA, 2019; pp. 1–4. [Google Scholar]
- Porambage, P.; Okwuibe, J.; Liyanage, M.; Ylianttila, M.; Taleb, T. Survey on multi-access edge computing for internet of things realization. IEEE Commun. Surv. Tutor. 2018, 20, 2961–2991. [Google Scholar] [CrossRef]
- 5G Vision-The 5G Infrastructure Public Private Partnership: The Next Generation of Communication Networks and Services. 2015. Available online: https://espas.secure.europarl.europa.eu/orbis/document/5g-vision-5g-infrastructure-public-private-partnership-next-generation-communication (accessed on 8 April 2024).
- Hu, Y.C.; Patel, M.; Sabella, D.; Sprecher, N.; Young, V. Mobile edge computing—A key technology towards 5G. ETSI White Pap. 2015, 11, 1–16. [Google Scholar]
- Cunha, K.M.; Moreira, W.; Freitas, L.A.; Oliveira-Jr, A. Uma análise sobre a integração da Computação de Borda Móvel e a Rede 6G utilizando RNIS. In Anais do II Workshop de Redes 6G; SBC: Porto Alegre, Brazil, 2022; pp. 19–24. [Google Scholar]












| Work | RNIS Integration with MEC Using 4G | RNIS Integration with MEC Using 5G | Using RNIS for MEC applications | New RNIS Functionality | Improvement of RNIS Information |
|---|---|---|---|---|---|
| Pencheva et al. [16] | X | X | |||
| Kireva et. al. [28] | X | X | |||
| Tan et. al. [29] | X | X | |||
| Nasimi et. al. [30] | X | X | |||
| Arora et al. [18] | X | X | |||
| Atanasov et. al. [31] | X | X | X | ||
| Atanasov et. al. [32] | X | X | X | ||
| Our Proposal | X | X | X | X |
| Resource Name | Resource URI | HTTP Method |
|---|---|---|
| RAB information | /queries/rab_info | GET |
| PLMN information | /queries/plmn_info | GET |
| S1 Bearer information | /queries/s1_bearer_info | GET |
| Layer 2 measurements | /queries/layer2_meas | GET |
| All subscriptions for a subscriber | /subscriptions | GET POST |
| Existing subscription | /subscriptions/{subscriptionId} | GET PUT DELETE |
| Notification callback | Client provided callback reference | POST |
Disclaimer/Publisher’s Note: The statements, opinions and data contained in all publications are solely those of the individual author(s) and contributor(s) and not of MDPI and/or the editor(s). MDPI and/or the editor(s) disclaim responsibility for any injury to people or property resulting from any ideas, methods, instructions or products referred to in the content. |
© 2024 by the authors. Licensee MDPI, Basel, Switzerland. This article is an open access article distributed under the terms and conditions of the Creative Commons Attribution (CC BY) license (https://creativecommons.org/licenses/by/4.0/).
Share and Cite
Cunha, K.M.R.; Correa, S.; Soares, F.; Ribeiro, M.; Moreira, W.; Gomes, R.; Freitas, L.A.; Oliveira-Jr, A. A Novel Radio Network Information Service (RNIS) to MEC Framework in B5G Networks. Information 2024, 15, 352. https://doi.org/10.3390/info15060352
Cunha KMR, Correa S, Soares F, Ribeiro M, Moreira W, Gomes R, Freitas LA, Oliveira-Jr A. A Novel Radio Network Information Service (RNIS) to MEC Framework in B5G Networks. Information. 2024; 15(6):352. https://doi.org/10.3390/info15060352
Chicago/Turabian StyleCunha, Kaíque M. R., Sand Correa, Fabrizzio Soares, Maria Ribeiro, Waldir Moreira, Raphael Gomes, Leandro A. Freitas, and Antonio Oliveira-Jr. 2024. "A Novel Radio Network Information Service (RNIS) to MEC Framework in B5G Networks" Information 15, no. 6: 352. https://doi.org/10.3390/info15060352
APA StyleCunha, K. M. R., Correa, S., Soares, F., Ribeiro, M., Moreira, W., Gomes, R., Freitas, L. A., & Oliveira-Jr, A. (2024). A Novel Radio Network Information Service (RNIS) to MEC Framework in B5G Networks. Information, 15(6), 352. https://doi.org/10.3390/info15060352

