Settlement Analysis and Parameter Inversion of a Deep-Water Mega Caisson Foundation Using the HSS Constitutive Model
Abstract
1. Introduction
2. Project Profile and Settlement Monitoring Analysis
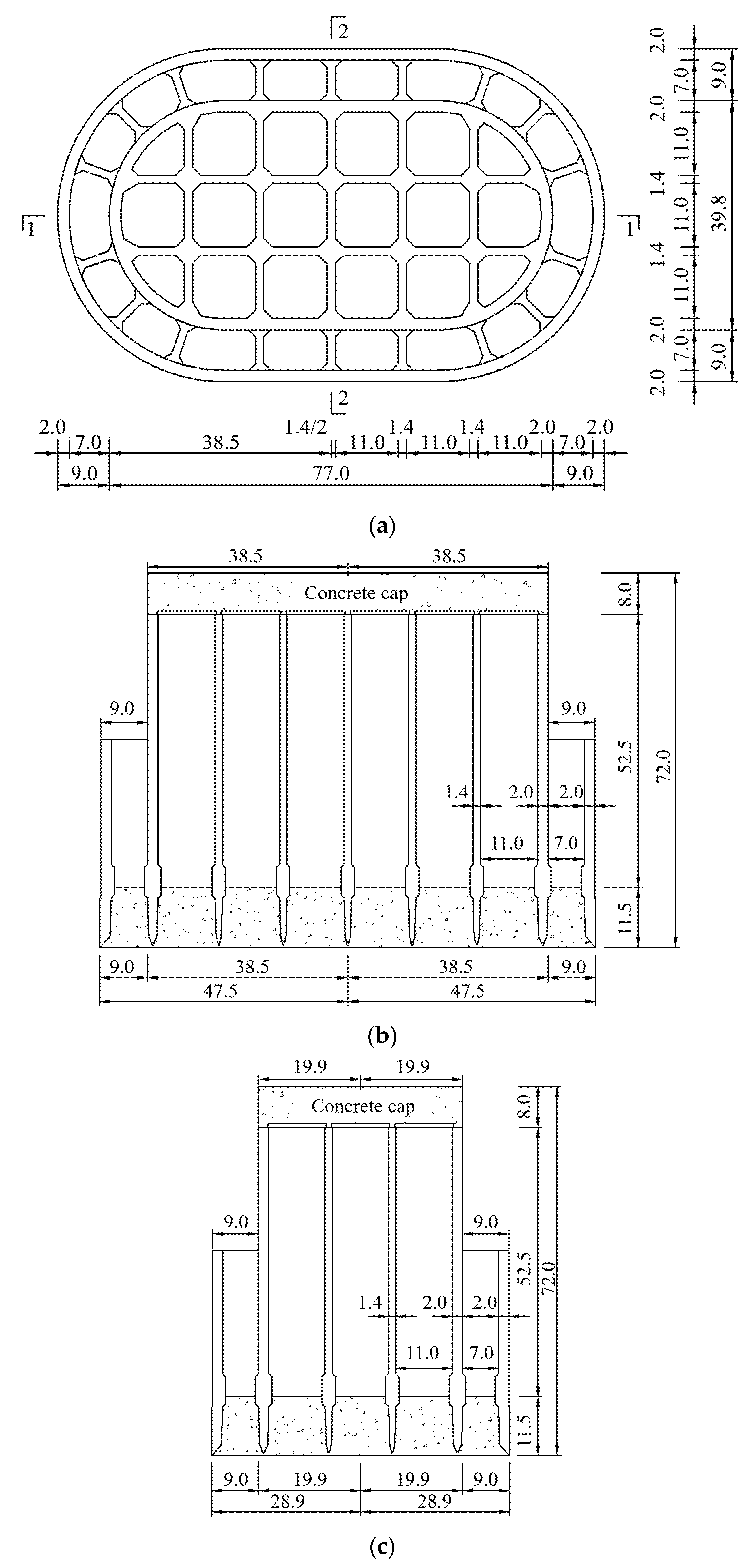
2.1. Project Profile
2.2. Overall Settlement Monitoring Data Analysis for the Caisson Foundation
3. The 3D FE Numerical Simulation
3.1. Numerical Simulation Model
3.2. HSS Model and Parameter Setting
- Seven stiffness-related parameters: triaxial secant stiffness , oedometric tangent stiffness , unloading/reloading stiffness , power of stress dependency , Poisson’s ratio , reference stress for stiffness , -value (normal consolidation) ;
- Four strength-related parameters: effective cohesion c’, effective friction angle φ’, dilatancy angle , failure ratio ;
- Two small-strain parameters: initial shear modulus , threshold shear strain .
3.3. Numerical Simulation Results
4. Inversion of the Key HSS Model Parameter
5. Conclusions and Discussion
- The development of caisson foundation settlement exhibits pronounced nonlinearity and load dependency. Settlement progresses continuously with the step-wise increase in superstructure load. During the early construction phase under relatively low loads, settlement increases approximately linearly with load. In the middle to late construction stages under higher loads, the settlement rate accelerates significantly, exhibiting pronounced nonlinear characteristics.
- The established 3D FE model based on the HSS model effectively simulates the nonlinear settlement process of the caisson foundation under progressive vertical loading. The predicted settlement trend shows close agreement with field measurements, confirming the applicability and reliability of this advanced constitutive model for such complex working conditions.
- The initial shear modulus is a key parameter in the HSS model that governs the accuracy of settlement prediction for the caisson foundation. Its value directly determines the initial stiffness of the soil. A higher results in greater small-strain stiffness of the foundation, leading to smaller settlements under the same load; settlement predictions thus show a significant negative correlation with the value of .
- Based on the load-dependent patterns revealed through parameter inversion, two practical parameter-determination strategies are proposed: a constant-value approach ( = ) and a stage-dependent optimization strategy ( = for low-load stages and for high-load stages). These strategies offer flexible and reliable options for engineering practice.
- The proposed strategies offer tangible engineering value. The constant-value method improves design-stage settlement predictions without complex calibration, helping avoid over-conservative designs and unnecessary material costs. The stage-adaptive method enables more precise settlement control during construction, facilitating early deviation detection and enhancing safety and risk management. Applied to this case study, these strategies would have reduced the maximum settlement prediction error from 54.7 mm to within 10.4 mm, demonstrating the practical utility of the proposed methods for mega-foundation projects.
Author Contributions
Funding
Data Availability Statement
Conflicts of Interest
Abbreviations
| HSS | Hardening soil model with small-strain stiffness |
| 3D | Three-dimensional |
| FE | Finite element |
| RMSE | Root mean square error |
| MAE | Mean absolute error |
References
- Chen, J.; Qu, Y.; Sun, Z. Protection mechanisms, countermeasures, assessments and prospects of local scour for cross-sea bridge foundation: A review. Ocean Eng. 2023, 288, 116145. [Google Scholar] [CrossRef]
- Su, H.; Guo, C.; Han, T.; Li, R.; Liu, Z.; Su, F.; Shang, L. Research on safety state evaluation of cable-stayed bridge structures across the sea. J. Mar. Sci. Eng. 2023, 11, 2034. [Google Scholar] [CrossRef]
- Li, W.; Tao, Q.; Li, C.; Wang, X.; Gong, W.; Dai, G. In-situ experimental study of closed-diaphragm wall foundations for cross-sea suspension bridges. J. Mar. Sci. Eng. 2024, 12, 2304. [Google Scholar] [CrossRef]
- Greaney, T.M.; Gyawali, P. Deep-water ports and international trade: A structural gravity estimation. J. Mar. Sci. Eng. 2024, 12, 2304. [Google Scholar] [CrossRef]
- Díaz, H.; Soares, C.G. Review of the current status, technology and future trends of offshore wind farms. Ocean Eng. 2020, 209, 107381. [Google Scholar] [CrossRef]
- Kafshgarkolaei, H.J.; Lotfollahi-Yaghin, M.A.; Mojtahedi, A. A modified orthonormal polynomial series expansion tailored to thin beams undergoing slamming loads. Ocean Eng. 2019, 182, 38–47. [Google Scholar] [CrossRef]
- Mu, B.; Zhu, J.; Gong, W. Design, Construction and Monitoring of Large Open Caisson, 1st ed.; China Architecture and Building Press: Beijing, China, 2015; pp. 1–21. [Google Scholar]
- Dong, X. Investigation on Intelligent Monitoring of Sinking of Large Open Caisson Foundations Based on Data-Driven Strategies. Ph.D. Thesis, University of Chinese Academy of Sciences, Beijing, China, 30 June 2023. [Google Scholar]
- Cui, Z.; Zhang, Z.; Yuan, L.; Zhan, Z.; Zhang, W. Design of Underground Structures, 1st ed.; Springer: Singapore, 2020; pp. 493–552. [Google Scholar]
- Ahmad, S.; Peng, T.; Khan, M.S. Numerical and experimental study on the seismic performance of caisson foundations. Soils Found. 2025, 65, 101702. [Google Scholar] [CrossRef]
- Tan, G.; Xiao, H.; Du, X.; Hu, W. Settlement analysis of caisson foundation under main tower of a long span cable-stayed bridge for highway and railway. Rock Soil Mech. 2019, 40, 1113–1120. [Google Scholar]
- Xie, S.; Sun, C.; Liu, B.; Huang, L.; Deng, H.; Zhu, M.; Li, X.; Dai, G. Numerical simulation on anchored load-bearing characteristics of suction caisson for floating offshore wind power. J. Mar. Sci. Eng. 2025, 13, 1653. [Google Scholar] [CrossRef]
- Jin, Z.; Liu, X.; Cheng, M.; Peng, M.; Yang, J. Influence of seabed scouring on the bearing capacity of suction caisson foundations of offshore wind turbines. J. Mar. Sci. Eng. 2026, 14, 171. [Google Scholar] [CrossRef]
- Romero-Sánchez, C.; Bordón, J.D.R.; Padrón, L.A. Influence of foundation–soil–foundation interaction on the dynamic response of offshore wind turbine jackets founded on buckets. J. Mar. Sci. Eng. 2024, 12, 2089. [Google Scholar] [CrossRef]
- Bagheri, M.; Malidarreh, N.R.; Ghaseminejad, V.; Asgari, A. Seismic resilience assessment of RC superstructures on long–short combined piled raft foundations: 3D SSI modeling with pounding effects. Structures 2025, 81, 110176. [Google Scholar] [CrossRef]
- Huang, S.; Han, Y.; Li, S.; Zhou, M. Numerical simulation of the behavior of caisson based on physical modeling. J. Mar. Sci. Eng. 2024, 12, 1284. [Google Scholar] [CrossRef]
- Tang, D.; Wang, C. Development and application of hardening soil model with small strain stiffness in FLAC3D. J. Shanghai Univ. (Nat. Sci.) 2023, 29, 549–561. [Google Scholar]
- Luo, M.; Chen, Y.; Zhou, J. Research status and prospect of parameter selection for the HS-Small model. Ind. Constr. 2021, 51, 172–180. [Google Scholar]
- Li, L.; Ma, X.; Du, W.; Li, S.; Chen, J.; Suri, G. Numerical analysis method of soil-rock dual element foundation pit and anchor cable recovery scheme. J. Shandong Univ. (Eng. Sci.) 2023, 53, 65–73. [Google Scholar]
- Zhong, P. Research on the Deformation Characteristics of Loess Pit Excavation Based on Hardening Soil Small. Master’s Thesis, Chang’an University, Xi’an, China, 30 June 2023. [Google Scholar]
- Deng, S.; He, Y.; Chen, H.; Zhou, F.; Zhu, R.; Shi, W.; Wang, Y.; Ma, Q. Real-time dynamic simulation and deformation prediction of shield tunneling through soft soil layer in complex environment: A case study of Suzhou metro line S1 shield section. Tunn. Constr. 2022, 42, 2024–2035. [Google Scholar]
- Wang, B.; Zhou, D.; Han, X.; Zhao, J.; Cao, Y.; Wang, S. Influence analysis of tunnel construction adjacent to pile group foundation base on HSS model. J. Archit. Civ. Eng. 2023, 40, 160–171. [Google Scholar]
- Kou, H.; Fang, W.; Xu, X.; An, Z.; Zhang, H. Comparative study on horizontal cyclic bearing characteristics of offshore wind turbine bucket foundations based on HSS model. Ocean. Eng. 2024, 42, 1–12. [Google Scholar]
- Benz, T. Small-Strain Stiffness of Soils and Its Numerical Consequences. Ph.D. Thesis, Universität Stuttgart, Stuttgart, Germany, 1 March 2007. [Google Scholar]
- Sohu. Available online: https://www.sohu.com/a/782367013_121321033 (accessed on 29 May 2024).
- Xinhua News Agency. Available online: http://www.js.xinhuanet.com/20250910/d8306005976940599832877a2ed4d380/c.html (accessed on 10 September 2025).
- Zheng, Q.; Li, Y.; Wang, Q.; Zhang, H.; Zhang, J. Active internal stress and shape control techniques during construction of spatial diamond-shaped pylons of main navigational channel bridge of Changtai Changjiang River Bridge. Bridge Constr. 2025, 55, 1–9. [Google Scholar]
- Zhang, M.; Zhou, Y.; Shen, K.; Yuan, R.; Zheng, Q. Lateral offset of pylons of main navigational channel bridge of Changtai Changjiang River Bridge and control solutions. Bridge Constr. 2023, 53, 1–8. [Google Scholar]
- Zhang, J.; Fu, Z.; Qin, S.; Jiang, Z.; Zhang, R. Pylon design for main navigational channel bridge of Changtai Changjiang River Bridge. Bridge Constr. 2022, 52, 1–7. [Google Scholar]
- Zhang, H.; Zheng, Q.; Zhang, J.; Jiang, F. Construction control of spatial longitudinal and transverse girders of Changtai Yangtze River Bridge Tower. Railway Eng. 2023, 63, 69–73. [Google Scholar]
- Qin, S.; Zhang, J.; Lu, Q.; Fu, Z.; Zhang, R. Research on pylon types for main navigational channel bridge of Changtai Changjiang River Bridge. Bridge Constr. 2021, 51, 1–9. [Google Scholar]
- Qin, S.; Xu, W.; Lu, Q.; Zheng, Q.; Fu, Z.; Yuan, R.; Sun, J. Overall design and concept development for main navigational channel bridge of Changtai Changjiang River Bridge. Bridge Constr. 2020, 50, 1–10. [Google Scholar]
- Dong, X.; Guo, M.; Wang, S. An information-entropy-inspired optimal layout method for structural stress sensors of supersized open caissons. Ocean Eng. 2023, 286, 115545. [Google Scholar] [CrossRef]
- GB/T 50123-2019; Standard for Geotechnical Testing Method. China Planning Press: Beijing, China, 2019.
- Liu, Z. Fundamentals Tutorial of PLAXIS 3D, 1st ed.; China Machine Press: Beijing, China, 2015; pp. 79–142. [Google Scholar]
- Chen, Y.; Luo, M.; Xia, N.; He, P. Statistical analysis of existing test results of HSS model parameters for soft soils. Chin. J. Geotech. Eng. 2021, 43, 197–201. [Google Scholar]
- Shen, D.; Chen, Y.; Luo, M.; Huang, J. Experimental research on parameter selection of HSS model for Ningbo shallow soft soil. Chin. J. Geotech. Eng. 2023, 45, 114–118. [Google Scholar]
- Gu, X.; Liu, W.; Chen, X.; Lin, Y.; Xiao, J.; Wu, C. Experimental study on HSS model parameters for marine soft soils in Yangjiang, Guangdong Province. Chin. J. Geotech. Eng. 2021, 43, 41–44. [Google Scholar]
- Li, L.; Liu, J.; Li, K.; Huang, H.; Ji, X. Study of parameters selection and applicability of HSS model in typical stratum of Jinan. Rock Soil Mech. 2019, 40, 4021–4029. [Google Scholar]
- Liang, F.; Jia, Y.; Ding, Y.; Huang, M. Experimental study on parameters of HSS model for soft soils in Shanghai. Chin. J. Geotech. Eng. 2017, 39, 269–278. [Google Scholar]
- Elsawwaf, A.; Naggar, H.E.; Choksi, F.A.; Amin, H. Predicting the lateral capacity of short step-tapered and straight piles in cohesionless soils using an FE-AI hybrid technique. Ocean Eng. 2025, 338, 121941. [Google Scholar] [CrossRef]
- Mu, L.; Huang, M. Small strain based method for predicting three-dimensional soil displacements induced by braced excavation. Tunn. Undergr. Space Technol. 2016, 52, 12–22. [Google Scholar] [CrossRef]
- Kim, T.; Jung, Y. Optimizing material parameters to best capture deformation responses in supported bottom-up excavation: Field monitoring and inverse analysis. KSCE J. Civ. Eng. 2022, 26, 3384–3401. [Google Scholar] [CrossRef]
- Shi, K.; Zhu, F.; Zhao, J. Multi-scale analysis of shear behaviour of crushable granular sand under general stress conditions. Géotechnique 2022, 74, 443–460. [Google Scholar] [CrossRef]
- Wang, J.; Yan, H. On the role of particle breakage in the shear failure behavior of granular soils by DEM. Int. J. Numer. Anal. Met. 2011, 37, 832–854. [Google Scholar] [CrossRef]
- Ding, H.; Han, Z.; Li, Y.; Xie, W.; Fu, B.; Li, C.; Zhao, L. Particle breakage and its mechanical response in granular soils: A review and prospect. Constr. Build. Mater. 2023, 409, 133948. [Google Scholar] [CrossRef]
- Irani, N.; Tafili, M.; Salimi, M.; Goudarzy, M.; Wichtmann, T. Particle Breakage: Exploring the numerical and experimental approaches in crushable soil mechanics. Arch. Appl. Mech. 2025, 95, 151. [Google Scholar] [CrossRef]









| Stratum No. | Stratum Type | Top Elevation (m) | Bottom Elevation (m) | Saturated Unit Weight γ (kN/m3) | Effective Cohesion c’ (kPa) | Effective Friction Angle φ’ (°) | Compression Modulus Es (MPa) |
|---|---|---|---|---|---|---|---|
| a | Silty clay | −14.7 | −27.7 | 19.8 | 26.9 | 21.4 | 6.2 |
| b | Slightly dense fine sand | −27.7 | −32.7 | 20.0 | 6.8 | 42.1 | 7.7 |
| c | Medium dense silt sand | −32.7 | −39.4 | 19.3 | 11.1 | 36.4 | 8.5 |
| d | Medium dense fine sand | −39.4 | −50.2 | 19.5 | 4.0 | 36.0 | 10.5 |
| e | Coarse sand | −50.2 | −60.0 | 19.8 | 5.0 | 37.7 | 19.6 |
| f | Gravelly sand | −60.0 | −66.6 | 21.0 | 4.8 | 38.0 | 49.8 |
| g | Coarse sand | −66.6 | −70.0 | 19.8 | 4.7 | 38.0 | 32.5 |
| h | Medium sand | −70.0 | −75.7 | 19.9 | 4.2 | 38.7 | 22.3 |
| i | Fine sand | −75.7 | −81.0 | 19.8 | 5.2 | 36.9 | 17.1 |
| j | Silt sand | −81.0 | −88.4 | 19.6 | 4.4 | 37.8 | 25.7 |
| k | Silty clay | −88.4 | −92.0 | 19.1 | 51.3 | 20.2 | 23.6 |
| l | Silt sand | −92.0 | −97.9 | 19.6 | 4.7 | 38.3 | 24.9 |
| m | Gravelly sand | −97.9 | −101.4 | 21.0 | 4.8 | 38.0 | 49.8 |
| n | Silty clay | −101.4 | −106.7 | 19.1 | 51.3 | 20.2 | 33.2 |
| o | Medium sand | −106.7 | −124.7 | 19.9 | 4.7 | 38.3 | 25.0 |
| p | Coarse sand | −124.7 | −215.0 | 19.9 | 4.7 | 38.3 | 49.8 |
| q | Coarse sand | −215.0 | −314.7 | 19.9 | 4.7 | 38.5 | 51.3 |
| Construction Stage | Specific Content | Cumulative Superstructure Load at Stage Completion (MN) |
|---|---|---|
| 1 | Casting of lower pylon | 465.05 |
| 2 | Casting of pylon cross beams | 726.44 |
| 3 | Casting of middle pylon | 1725.25 |
| 4 | Casting of upper pylon | 2018.41 |
| 5 | Steel truss segments installation | 2572.80 |
| Parameter | Recommended Range/Value | Value Adopted in This Study |
|---|---|---|
| Sand: 0.5~0.75; Clay: 0.5~1.0 | Sand: 0.5; Clay: 0.8 | |
| 0.1~0.25 | 0.2 | |
| 100 kPa | 100 kPa | |
| − 30, 0) | − 30, 0) | |
| Approx. 0.9 | 0.9 | |
| Construction Stage | Cumulative Superstructure Load (MN) | Measured Cumulative Settlement (mm) | λ = 1.0 | λ = 1.25 | λ = 1.5 | λ = 1.75 | λ = 2.0 |
|---|---|---|---|---|---|---|---|
| 1 | 465.05 | 14.5 | 17.8/123% | 6.3/43% | 1.2/8% | 4.8/34% | 6.6/45% |
| 2 | 726.44 | 22.4 | 29.6/132% | 12.6/56% | 0.1/1% | 6.3/28% | 10.4/46% |
| 3 | 1725.25 | 40.3 | 97.9/243% | 54.5/135% | 24.9/62% | 10.1/25% | 3.3/8% |
| 4 | 2018.41 | 50.9 | 114.8/225% | 76.1/149% | 40.4/79% | 21.3/42% | 2.1/4% |
| 5 | 2572.80 | 70.2 | 150.6/215% | 96.6/138% | 54.7/78% | 30.8/44% | 5.8/8% |
| RMSE (mm) | — | — | 96.6 | 60.5 | 32.4 | 17.7 | 6.3 |
| MAE (mm) | — | — | 82.1 | 49.2 | 24.2 | 14.7 | 5.6 |
| Max absolute error (mm) | — | — | 150.6 | 96.6 | 54.7 | 30.8 | 10.4 |
Disclaimer/Publisher’s Note: The statements, opinions and data contained in all publications are solely those of the individual author(s) and contributor(s) and not of MDPI and/or the editor(s). MDPI and/or the editor(s) disclaim responsibility for any injury to people or property resulting from any ideas, methods, instructions or products referred to in the content. |
© 2026 by the authors. Licensee MDPI, Basel, Switzerland. This article is an open access article distributed under the terms and conditions of the Creative Commons Attribution (CC BY) license.
Share and Cite
Dong, X.; Guo, M.; Lu, Z.; Li, J.; Jiang, J. Settlement Analysis and Parameter Inversion of a Deep-Water Mega Caisson Foundation Using the HSS Constitutive Model. J. Mar. Sci. Eng. 2026, 14, 453. https://doi.org/10.3390/jmse14050453
Dong X, Guo M, Lu Z, Li J, Jiang J. Settlement Analysis and Parameter Inversion of a Deep-Water Mega Caisson Foundation Using the HSS Constitutive Model. Journal of Marine Science and Engineering. 2026; 14(5):453. https://doi.org/10.3390/jmse14050453
Chicago/Turabian StyleDong, Xuechao, Mingwei Guo, Zheng Lu, Jiahang Li, and Junlin Jiang. 2026. "Settlement Analysis and Parameter Inversion of a Deep-Water Mega Caisson Foundation Using the HSS Constitutive Model" Journal of Marine Science and Engineering 14, no. 5: 453. https://doi.org/10.3390/jmse14050453
APA StyleDong, X., Guo, M., Lu, Z., Li, J., & Jiang, J. (2026). Settlement Analysis and Parameter Inversion of a Deep-Water Mega Caisson Foundation Using the HSS Constitutive Model. Journal of Marine Science and Engineering, 14(5), 453. https://doi.org/10.3390/jmse14050453
