Analytical Evaluation of Hull-Design Parameters Affecting Ship Controllability and Dynamic Behaviour with Integrated Electric–Propulsion Systems
Abstract
1. Introduction
- (1)
- Dynamic similarity principles and dimensionless parameters of the propulsion complex;
- (2)
- The coupled interaction of the hull, propulsion system, and electrical power system under unsteady operating modes;
- (3)
- Analytical determination of characteristic points on the controllability diagram; and
- (4)
- Sensitivity analysis of manoeuvrability characteristics with respect to variations in hull-design parameters.
2. Materials and Methods
2.1. General Structure of the Integrated Modelling Framework
- Development of a generalized transient-mode model of the propulsion complex, describing the coupled interaction among the hull, propulsion units, electric motors, and the power system under conditions of unsteady load variations.
- Identification of the most influential dimensionless parameters via screening experiments (random balance method), enabling a reduction in computational effort and the determination of key factors affecting the characteristic points of the controllability diagram.
- Construction of regression-based analytical models that relate the coordinates of characteristic points to the geometric parameters of the hull and the generalized similarity criteria.
2.2. Manoeuvring and Hull Hydrodynamic Model
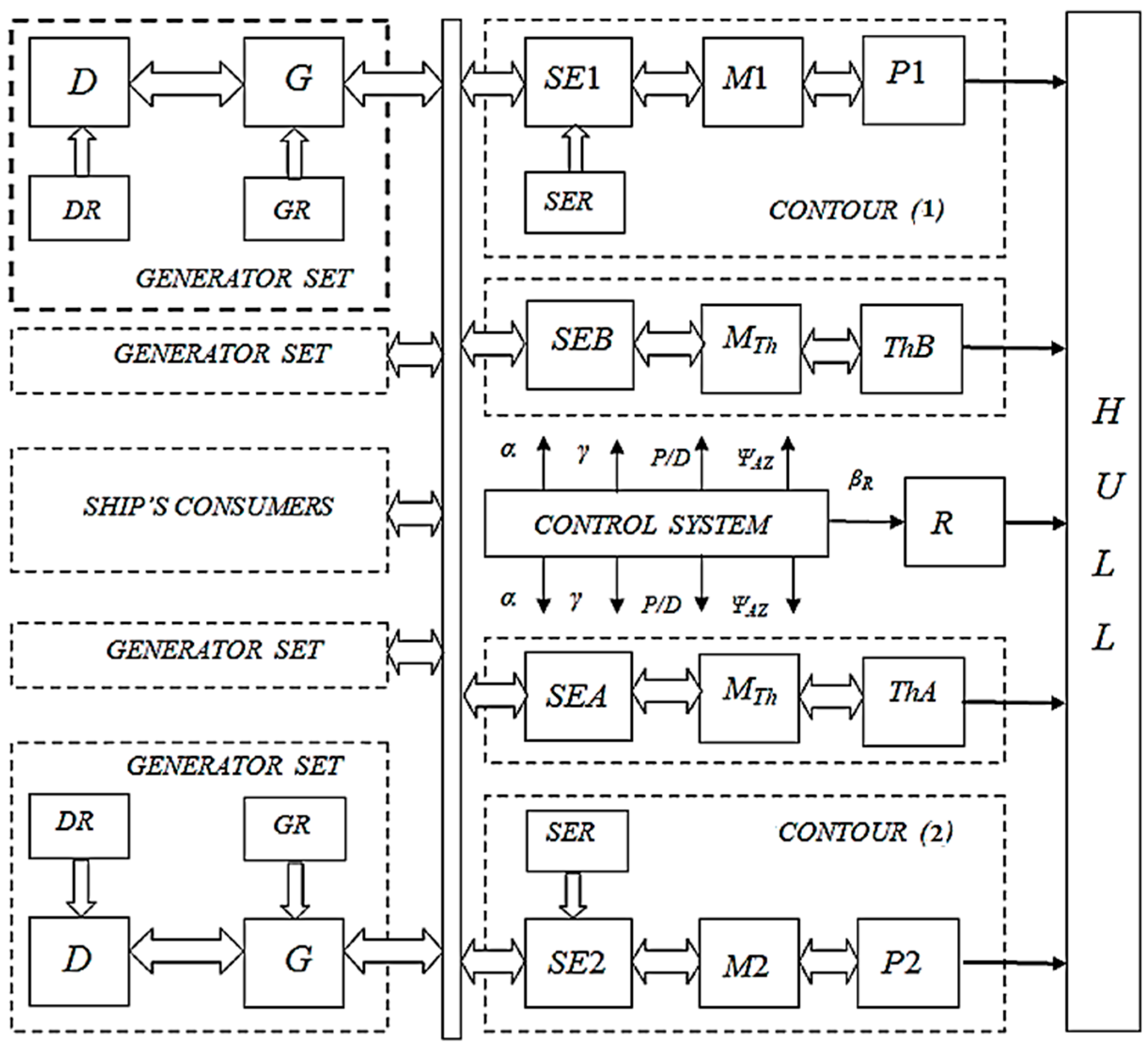
- –
- Generator sets (GENERATOR SET)—several modules, each of which contains a heat engine (D), a speed regulator (DR) with an automatic active load distribution function, a synchronous generator (G), and a voltage regulator (GR) with a reactive load balancing system;
- –
- Propulsion power circuits—right (R) and left (L), each of which includes: a frequency converter (SE), a frequency-controlled electric propulsion motor (M), a control system (SER) that controls the frequency (α) and voltage (γ) of the power supply, and a propeller (P);
- –
- Power circuits of steering devices, which include: voltage converters (SEA, SEB), asynchronous squirrel-cage electric motors (MThA, MThB) and adjustable pitch steering propellers (ThA, ThB);
- –
- General ship power consumers (SHIP’S CONSUMERS);
- –
- Centralized control system (CONTROL SYSTEM), which coordinates the operation of the complex in real time;
- –
- Rudder (R) and hull (HULL), which are involved in shaping the hydrodynamic behaviour of the ship.
- Relative components of the vessel’s speed and along the axes X and Y:
- Relative rotational speed around the axis Z
2.3. Electric Propulsion and Propeller Subsystem Models
2.4. Design of Experiments and Regression Modelling Procedures
- We determined the selective variances along the rows of the matrix JVS;
- The dispersions of the reproducibility of the single value, the dispersions of the reproducibility of the mean value, and the dispersions of the regression coefficients were calculated;
- The significance of the coefficients was tested using Student’s t-test with degrees of freedom f and level of significance α;
- The conditions for the significance of factors were determined.
2.5. Applicability
2.6. Software
3. Results and Analysis
3.1. Baseline Controllability Analysis
3.2. Comparative Analysis of Hull Lengthening Scenarios
4. Discussion
5. Conclusions
Author Contributions
Funding
Data Availability Statement
Acknowledgments
Conflicts of Interest
Abbreviations
| B | ship breadth, m |
| DOE | Design of Experiments |
| EPC | Electric Propulsion Complex |
| Fr | Froude number (-) |
| J | moment of inertia of a vessel relative to the vertical axis, kg·m2 |
| k | hydrodynamic drag coefficient (-) |
| k1, k2, k3 | dimensionless complexes describing the interaction between the hull and the propeller (-) |
| L | ship hull length, m |
| m | ship weight, mts |
| M | torque on the electric motor shaft, N·m |
| n | propeller rotation frequency, s−1 |
| P1–Pn | generalized dimensionless groups of transient mode models (-) |
| PCS | Propulsion Control System |
| RBM | Random Balance Method |
| Re | Reynolds number (-) |
| RPM | Revolutions Per Minute |
| S | underwater part of the hull area, m2 |
| T | draft, m |
| Tthr | propeller thrust, N |
| U | ship speed, m/s |
| β | coefficient of curvature of the ship’s trajectory (-) |
| βcr | critical curvature coefficient (-) |
| η | efficiency ratio (-) |
| λᵢ | generalized criteria for similarity of propulsive complexes (-) |
| μ | viscosity coefficient, Pa·s |
| ρ | water density, kg/m3 |
| τ | electromotor time constant, s |
| ω | angular velocity of shaft rotation, rad/s |
References
- Pershits, R.Y. Upravlyaemost’ i upravlenie sudnom [Ship controllability and control]; Sudostroenie: Leningrad, USSR, 1983; 272 p. [Google Scholar]
- Sobolev, G.V. Upravlyaemost’ korablya i avtomatizatsiya sudovozhdeniya [Ship controllability and navigation automation]; Sudovozhdenie: Leningrad, USSR, 1976; 478 p. [Google Scholar]
- Vasiliev, A.V. Upravlyaemost’ sudov [Ship controllability]; Sudostroenie: Leningrad, USSR, 1989; 328 p. [Google Scholar]
- Melnyk, O.; Onyshchenko, S.; Onishchenko, O.; Koskina, Y.; Lohinov, O.; Veretennik, O.; Stukalenko, O. Fundamental concepts of deck cargo handling and transportation safety. Eur. Transp. 2024, 1, 1–18. [Google Scholar] [CrossRef]
- Melnyk, O.; Onishchenko, O.; Drozhzhyn, O.; Pasternak, O.; Vilshanyuk, M.; Zayats, S.; Shcheniavskyi, G. The ship safety evaluation and analysis on the multilayer model case study. E3S Web Conf. 2024, 501, 01018. [Google Scholar] [CrossRef]
- Onyshchenko, S.; Melnyk, O. Modelling of changes in ship’s operational condition during transportation of oversized and heavy cargo. Technol. Audit Prod. Reserves 2020, 6, 66–70. [Google Scholar] [CrossRef]
- Shumylo, O.; Yarovenko, V.; Malaksiano, M.; Melnyk, O.; Iovchev, S. Methods for assessing electric ships’ maneuvering and safety indicators based on the theory of the dynamic similarity. In Studies in Systems, Decision and Control; Springer: Cham, Switzerland, 2025; Volume 580, pp. 235–255. [Google Scholar] [CrossRef]
- Taniguchi, T.; Maki, A. A proposal of the maneuvering motion model for low-speed operations in harbor. Ocean Eng. 2025, 330, 121172. [Google Scholar] [CrossRef]
- Xu, Z.; Haroutunian, M.; Murphy, A.J.; Neasham, J.; Norman, R. A comparison of functional control strategies for underwater vehicles: Theories, simulations and experiments. Ocean Eng. 2020, 215, 107822. [Google Scholar] [CrossRef]
- Odetti, A.; Altosole, M.; Bruzzone, G.; Viviani, M.; Caccia, M. A new concept of highly modular ASV for extremely shallow water applications. IFAC-PapersOnLine 2018, 52, 181–186. [Google Scholar] [CrossRef]
- Scaradozzi, D.; Palmieri, G.; Costa, D.; Pinelli, A. BCF swimming locomotion for autonomous underwater robots: A review and a novel solution to improve control and efficiency. Ocean Eng. 2017, 130, 437–453. [Google Scholar] [CrossRef]
- Wu, N.; Fan, Y.; Wang, R.; Wang, M.; Wu, C.; Wang, Y. Development and field testing of an unmanned surface vehicle system for guidance control and target tracking. Ocean Eng. 2025, 316, 119924. [Google Scholar] [CrossRef]
- Zhang, X.; Wang, C.; Jiang, L.; An, L.; Yang, R. Collision-avoidance navigation systems for Maritime Autonomous Surface Ships: A state of the art survey. Ocean Eng. 2021, 235, 109380. [Google Scholar] [CrossRef]
- Ahmed, F.; Xiang, X.; Jiang, C.; Xiang, G.; Yang, S. Survey on traditional and AI based estimation techniques for hydrodynamic coefficients of autonomous underwater vehicle. Ocean Eng. 2023, 268, 113300. [Google Scholar] [CrossRef]
- Zhao, H.; Gao, X.; Zhang, Y.; Zhang, X. Nonlinear control of decarbonization path following underactuated ships. Ocean Eng. 2023, 272, 113784. [Google Scholar] [CrossRef]
- Bhat, S.S.; Anavatti, S.G.; Garratt, M.; Ravi, S. Review of autonomous outdoor blimps and their applications. Drone Syst. Appl. 2024, 12, 1–21. [Google Scholar] [CrossRef]
- Tang, C.; Wang, W.; Shang, H.; Shen, S.; Bao, Q.; Ji, W.; Long, Y.; Yang, D. Research on path tracking and attitude control of airboat with wave disturbance observer based on model predictive control. Ocean Eng. 2025, 342, 123143. [Google Scholar] [CrossRef]
- Wang, S.; Zhu, M.; Wen, Y.; Tian, K. Parametric dynamic modeling-based robust nonlinear model predictive control design for tracking unmanned surface vehicle trajectory. Ocean Eng. 2025, 328, 121074. [Google Scholar] [CrossRef]
- Tang, C.; Xia, J.; Wang, W.; Shang, H.; Ji, W.; Bao, Q.; Yang, D. A dynamic window model prediction of artificial potential field method for improving the coincidence of actual and predicted trajectory of underactuated planing craft. Ocean Eng. 2024, 313, 119351. [Google Scholar] [CrossRef]
- Wang, S.; Sun, Z.; Yuan, Q.; Sun, Z.; Wu, Z.; Hsieh, T. Autonomous piloting and berthing based on Long Short Time Memory neural networks and nonlinear model predictive control algorithm. Ocean Eng. 2022, 264, 112269. [Google Scholar] [CrossRef]
- An, X.; Xing, H.; Li, H.; Shi, H.; Gu, Y. Construction and verification of the autonomous underwater helicopter’s digital twin system for missions simulation. Ocean Eng. 2025, 341, 122641. [Google Scholar] [CrossRef]
- Li, S.; Xia, G.; Yang, Y.; Gai, H. Incorporating the parameter correction model with online data-driven adjustments for real ship trajectory prediction. Ocean Eng. 2025, 342, 123091. [Google Scholar] [CrossRef]
- Deng, R.; Wang, S.; Hu, Y.; Wang, Y.; Wu, T. The Effect of Hull Form Parameters on the Hydrodynamic Performance of a Bulk Carrier. J. Mar. Sci. Eng. 2021, 9, 373. [Google Scholar] [CrossRef]
- Shumylo, O.; Yarovenko, V.; Malaksiano, M.; Melnyk, O. Comprehensive assessment of hull geometry influence of a modernized ship on maneuvering performance and propulsion system parameters. Pomorstvo 2023, 37, 314–325. [Google Scholar] [CrossRef]
- Cheng, X.; Huang, X.; Xu, D.; Zhao, Z.; Liu, H.; Kong, M.; Ji, R. Ship Optimization Based on Fully-Parametric Models for Hull, Propeller and Rudder. J. Mar. Sci. Eng. 2024, 12, 1635. [Google Scholar] [CrossRef]
- Lee, I.; Son, Y.; Oh, S.-J. Reinforcement learning-based optimal hull form design with variations in fore and aft parts. J. Comput. Des. Eng. 2024, 11, 1–19. [Google Scholar] [CrossRef]
- Lee, I.; Son, Y.; Oh, S.-J. Hull form optimization of fully parameterized small ships using characteristic curves and deep neural networks. Int. J. Nav. Archit. Ocean Eng. 2024, 16, 100596. [Google Scholar] [CrossRef]
- Feng, Y.; Chen, Z.; Dai, Y.; Wang, P. An experimental and numerical investigation on hydrodynamic characteristics of the bow thruster. Ocean Eng. 2020, 209, 107348. [Google Scholar] [CrossRef]
- Abramowicz-Gerigk, T.; Gerigk, M.K. Experimental study on the selected aspects of bow thruster generated flow field at ship zero-speed conditions. Ocean Eng. 2020, 209, 107463. [Google Scholar] [CrossRef]
- Ding, M.; Wang, L.; Wang, Y.; Hu, J.; Yang, P. Hydrodynamics identification of a dynamic positioning vessel with uncertainties: A rapid online physics-informed approach. Ocean Eng. 2025, 342, 122972. [Google Scholar] [CrossRef]
- Xing, J.; Yang, L. Wave devouring propulsion: An overview of flapping foil propulsion technology. Renew. Sustain. Energy Rev. 2023, 184, 113589. [Google Scholar] [CrossRef]
- Fuss, F.K. The Dynamics of a Turning Ship: Mathematical Analysis and Simulation Based on Free Body Diagrams and the Proposal of a Pleometric Index. Dynamics 2023, 3, 379–404. [Google Scholar] [CrossRef]
- Shi, P.; Gao, M.; Chen, S.; Jing, Q.; Xia, Y.; Han, Y.; Zhang, A. MASS intelligent collision avoidance decision-making based on ship pose estimation and COLREGs quantification. Ocean Eng. 2025, 335, 121679. [Google Scholar] [CrossRef]
- Artyszuk, J.; Zalewski, P. Energy savings by optimization of thrusters allocation during complex ship manoeuvres. Energies 2021, 14, 4959. [Google Scholar] [CrossRef]
- Yarovenko, V.A. Raschet i optimizatsiya perekhodnykh rezhimov propulʹsivnykh kompleksov elektrokhodov [Calculation and Optimization of Transient Modes of Propulsion Complexes of Electric Ships]; Mayak: Odesa, Ukraine, 1999. [Google Scholar]
- Yarovenko, V.A.; Chernikov, P.S. Metod rascheta perekhodnykh rezhimov grebnykh elektroenergeticheskikh ustanovok elektrokhodov [Method for calculating transient modes of electric propulsion power plants of electric ships]. Elektrotekhnika Elektromekhanika 2017, 6, 32–41. Available online: https://repository.kpi.kharkov.ua/handle/KhPI-Press/34285 (accessed on 2 January 2026).
- Yang, Y.; Wang, Z.; Hu, F.; Zhang, D.; Ling, H. Multi-objective optimization design for the maneuverability of underwater vehicles based on fully coupled hull–propeller–rudder interaction. Ocean Eng. 2025, 333, 121525. [Google Scholar] [CrossRef]
- Tadros, M.; Ventura, M.; Guedes Soares, C. Review of the Decision Support Methods Used in Optimizing Ship Hulls towards Improving Energy Efficiency. J. Mar. Sci. Eng. 2023, 11, 835. [Google Scholar] [CrossRef]
- Feng, Y.; Chen, Z.; Dai, Y.; Cui, L.; Zhang, Z.; Wang, P. Multi-objective optimization of a bow thruster based on URANS numerical simulations. Ocean Eng. 2022, 247, 110784. [Google Scholar] [CrossRef]
- Park, Y.; Kim, H. Advanced Design of Naval Ship Propulsion Systems Utilizing Battery-Diesel Generator Hybrid Electric Propulsion Systems. J. Mar. Sci. Eng. 2024, 12, 2034. [Google Scholar] [CrossRef]
- Hong, S.H.; Kim, D.M.; Kim, S.J. A Back–Forward Approach-Based Efficiency Performance Analysis Model for Hybrid Electric Propulsion Ships Using the Holtrop–Mennen Method. J. Mar. Sci. Eng. 2023, 12, 9. [Google Scholar] [CrossRef]
- Torreglosa, J.P.; González-Rivera, E.; García-Triviño, P.; Vera, D. Performance Analysis of a Hybrid Electric Ship by Real-Time Verification. Energies 2022, 15, 2116. [Google Scholar] [CrossRef]
- Tuo, Y.; Lin, J.; Peng, Z.; Wang, Y.; Wang, S. An Energy-Efficient Thrust Allocation Based on the Improved Dung Beetle Optimizer for the Dynamic Positioning System of Vessels. J. Mar. Sci. Eng. 2025, 13, 1041. [Google Scholar] [CrossRef]
- Kim, Y.; Kim, J.; Jung, J.; Kim, S.; Choi, J.; Lee, H. Comprehensive Design of DC Shipboard Power Systems for Pure Electric Propulsion Ship Based on Battery Energy Storage System. Energies 2020, 14, 5264. [Google Scholar] [CrossRef]
- Kolodziejski, M.; Michalska-Pozoga, I. Battery Energy Storage Systems in Ships’ Hybrid/Electric Propulsion Systems. Energies 2023, 16, 1122. [Google Scholar] [CrossRef]
- Onishchenko, O.; Bukaros, A.; Melnyk, O.; Yarovenko, V.; Voloshyn, A.; Lohinov, O. Ship refrigeration system operating cycle efficiency assessment and identification of ways to reduce energy consumption of maritime transport. In Studies in Systems, Decision and Control; Springer: Cham, Switzerland, 2023; Volume 481, pp. 641–652. [Google Scholar] [CrossRef]
- Melnyk, O.M.; Onishchenko, O.A.; Shyshkin, O.V.; Volkov, O.M.; Volyanskyy, S.M.; Maulevych, V.O.; Kreitser, K.O. Enhancing shipboard technical facility performance through the utilization of low-sulfur marine fuel grades. J. Chem. Technol. 2024, 32, 233–245. [Google Scholar] [CrossRef]
- Yarovenko, V.A.; Chernikov, P.S.; Zaritskaya, E.I.; Shumylo, A.N. Control of electric ships’ propulsion motors when moving on curvilinear trajectory. Electr. Eng. Electromech. 2020, 5, 58–65. [Google Scholar] [CrossRef]
- Bei, Z.; Wang, J.; Li, Y.; Wang, H.; Li, M.; Qian, F.; Xu, W. Challenges and Solutions of Ship Power System Electrification. Energies 2023, 17, 3311. [Google Scholar] [CrossRef]
- Ha, S.; Jang, H.; Park, C.; Jeong, B. A Prospective Life Cycle Assessment Framework for Sustainable Renewable Fuels in International Shipping: Hydrogen-Based E-Fuels. Renew. Sustain. Energy Rev. 2025, 226, 116219. [Google Scholar] [CrossRef]
- Aksöz, A.; Asal, B.; Golestan, S.; Gençtürk, M.; Oyucu, S.; Biçer, E. Electrification in Maritime Vessels: Reviewing Storage Solutions and Long-Term Energy Management. Appl. Sci. 2025, 15, 5259. [Google Scholar] [CrossRef]
- Park, M.; Yeo, S.; Kim, J.; Choi, J.; Lee, W. Comprehensive review on recent progress in renewable and sustainable energy applications in shipping industry, and suggestions for future developments. Renew. Sustain. Energy Rev. 2025, 225, 116152. [Google Scholar] [CrossRef]





| Parameter | Parameter Values | |||||||
|---|---|---|---|---|---|---|---|---|
| Ajmin | Aj0 | Ajmax | ΔAj | Aj1n | Aj2n | Aj3n | Aj4n | |
| NX | 0.06 | 0.13 | 0.20 | 0.07 | −0.143 | −0.186 | −0.223 | −0.297 |
| Cλ21 | 0.65 | 0.95 | 1.25 | 0.3 | −0.253 | −0.317 | −0.380 | −0.507 |
| C61 | 2 | 5 | 8 | 3 | +0.148 | +0.185 | +0.223 | +0.297 |
| C21 | 3 | 6.5 | 10 | 3.5 | +0.133 | +0.166 | +0.200 | +0.266 |
| Insertion Length | Relative Curvature (L/R) | Critical Point Parameters | ||||||
|---|---|---|---|---|---|---|---|---|
| β = 40° | β = 30° | β = 20° | β = 10° | β = 0° | βcr | (L/R) βcr | ||
| 1 | 0 | 0.501 | 0.446 | 0.371 | 0.287 | 0.130 | −1.3758 | 0.066 |
| 2 | 0.08 L | 0.515 | 0.461 | 0.388 | 0.304 | 0.149 | −2.3503 | 0.075 |
| 3 | 0.10 L | 0.520 | 0.466 | 0.393 | 0.310 | 0.160 | −2.6943 | 0.079 |
| 4 | 0.12 L | 0.524 | 0.470 | 0.398 | 0.315 | 0.164 | −2.9236 | 0.082 |
| 5 | 0.16 L | 0.532 | 0.478 | 0.407 | 0.325 | 0.171 | −3.4395 | 0.087 |
Disclaimer/Publisher’s Note: The statements, opinions and data contained in all publications are solely those of the individual author(s) and contributor(s) and not of MDPI and/or the editor(s). MDPI and/or the editor(s) disclaim responsibility for any injury to people or property resulting from any ideas, methods, instructions or products referred to in the content. |
© 2026 by the authors. Licensee MDPI, Basel, Switzerland. This article is an open access article distributed under the terms and conditions of the Creative Commons Attribution (CC BY) license.
Share and Cite
Yarovenko, V.; Shumylo, O.; Malaksiano, M.; Melnyk, O.; Nosov, P.; Píštěk, V.; Kučera, P. Analytical Evaluation of Hull-Design Parameters Affecting Ship Controllability and Dynamic Behaviour with Integrated Electric–Propulsion Systems. J. Mar. Sci. Eng. 2026, 14, 122. https://doi.org/10.3390/jmse14020122
Yarovenko V, Shumylo O, Malaksiano M, Melnyk O, Nosov P, Píštěk V, Kučera P. Analytical Evaluation of Hull-Design Parameters Affecting Ship Controllability and Dynamic Behaviour with Integrated Electric–Propulsion Systems. Journal of Marine Science and Engineering. 2026; 14(2):122. https://doi.org/10.3390/jmse14020122
Chicago/Turabian StyleYarovenko, Volodymyr, Oleksandr Shumylo, Mykola Malaksiano, Oleksiy Melnyk, Pavlo Nosov, Václav Píštěk, and Pavel Kučera. 2026. "Analytical Evaluation of Hull-Design Parameters Affecting Ship Controllability and Dynamic Behaviour with Integrated Electric–Propulsion Systems" Journal of Marine Science and Engineering 14, no. 2: 122. https://doi.org/10.3390/jmse14020122
APA StyleYarovenko, V., Shumylo, O., Malaksiano, M., Melnyk, O., Nosov, P., Píštěk, V., & Kučera, P. (2026). Analytical Evaluation of Hull-Design Parameters Affecting Ship Controllability and Dynamic Behaviour with Integrated Electric–Propulsion Systems. Journal of Marine Science and Engineering, 14(2), 122. https://doi.org/10.3390/jmse14020122

