The Real Electrochemical Boundary Conditions Based on the Polarization Process
Abstract
1. Introduction
2. Methods and Experiments
2.1. Improvement to the Conception of the Boundary Conditions
2.2. Experimental Measurements for the Real Boundary Conditions
2.2.1. Experimental Conditions and Parameters
2.2.2. Preparation and Calibration for Electrodes
2.2.3. Experimental Devices and Measurements
2.3. Verification for the Real Boundary Condition
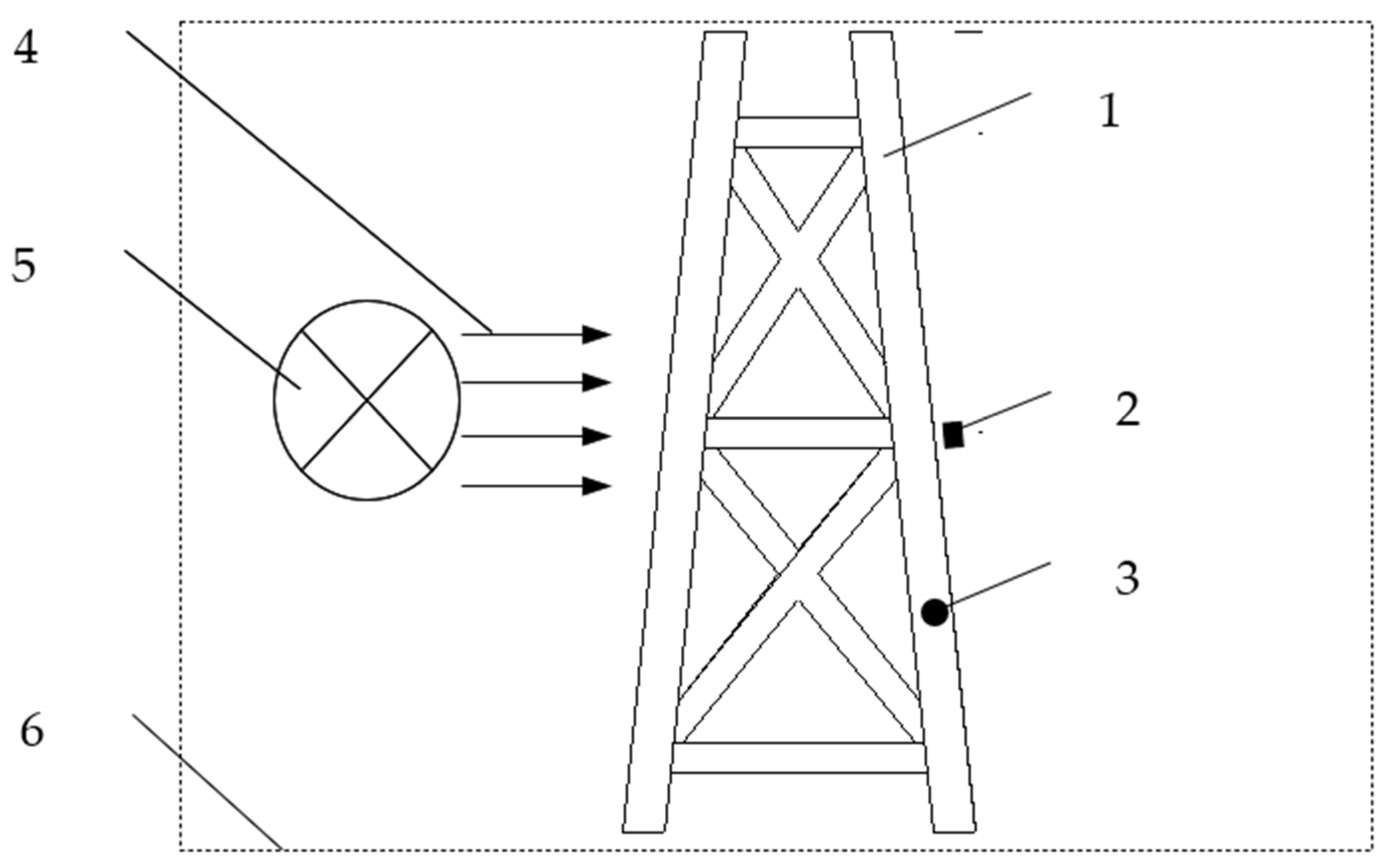
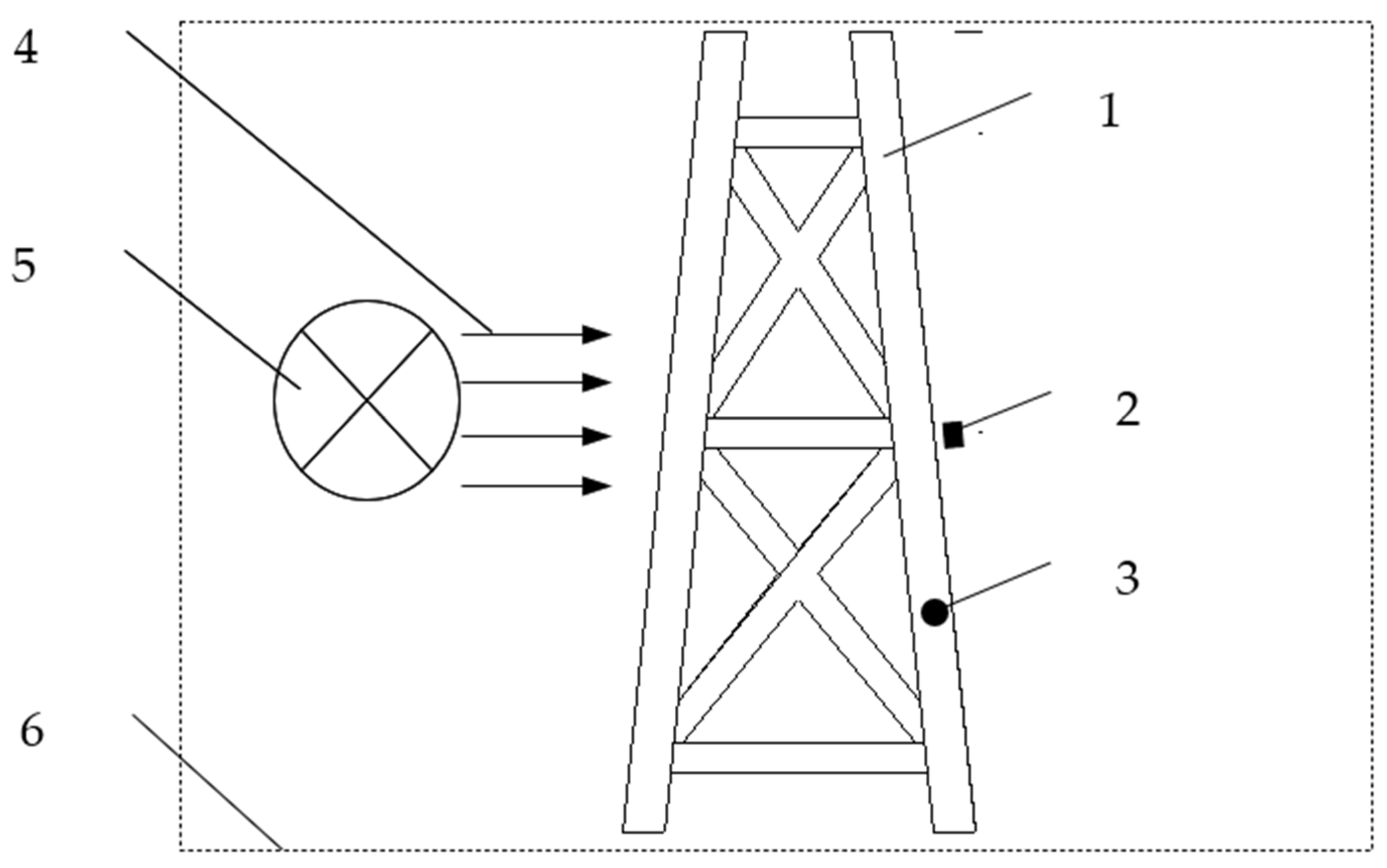
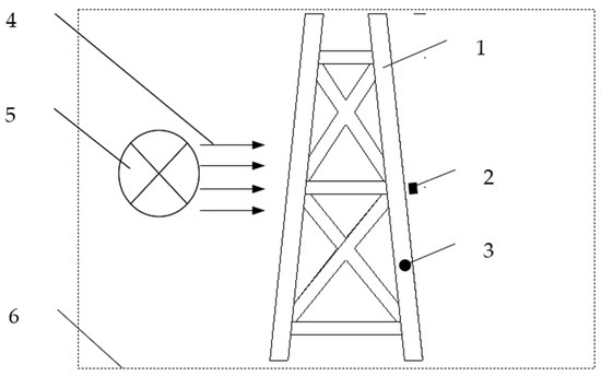
2.3.1. Verification by the Small Test Jacket
2.3.2. Verification by the Real Steel Offshore Platform Jacket
3. Results and Discussion
3.1. Preparation and Calibration for Electrodes
3.2. The Real Boundary Condition from Test
3.3. Verification for the Real Boundary Condition by the Small Test Jacket
3.4. Verification for the Real Boundary Condition by the Real Jacket
4. Conclusions
- (1)
 - This study considers that a different position has a different surface state, and the relationship curve of potential/current density at each position is not the ultimate boundary condition. The fitting curve based on the terminal points of all relationship curves of potential/current density is the ultimate boundary condition. The new conception for the boundary condition is different from traditional views.
 - (2)
 - All the curves at the sixteen different points include four stages: The first stage is the stage of rapid polarization, where the potential data change quickly and the slopes of these curves are relative large; the second stage is the stage of data jumping, where the data are irregular and jump continuously; the third stage is the stage with middle speed, where the slopes of these curves are gentle; the fourth stage is the stage of slow polarization, where the curves are almost close to straight lines. At the end of the measurement, the interval of current density has a convergence phenomenon.
 - (3)
 - During verification for the real boundary condition, the maximum potential error between the calculation and measurement of the test jacket is 1.37%. The maximum error between the calculation and measurement of the real jacket is 0.63%, and the maximum error between the calculation and monitoring of the real jacket is 1.23%. Furthermore, the correlation between the real values and calculated values is very good, and the new conception and method for the real boundary condition is correct and reasonable.
 - (4)
 - The new concept for the real boundary condition in numerical simulation of the cathodic protection system of the offshore platform jackets can be applied to numerical simulation for other offshore structures without a coating, such as the steel piles of wharfs.
 
Author Contributions
Funding
Data Availability Statement
Conflicts of Interest
References
- Rodopoulos, D.C.; Gortsas, T.V.; Tsinopoulos, S.V.; Polyzos, D. ACA/BEM for solving large-scale cathodic protection problems. Eng. Anal. Bound. Elem. 2019, 106, 139–148. [Google Scholar] [CrossRef]
 - Danson, D.J.; Warne, M.A. Current density/voltage calculations using boundary element techniques. In Proceedings of the NACE Conference, Los Angeles, CA, USA, 18 April 1983. [Google Scholar]
 - Adey, R.A.; Niku, S.M.; Brebbia, C.A.; Finnegan, J. Computer Aided Design of Cathodic Protection Systems. Presented at the International Conference on Boundary Element Methods in Engineering, Lake Como, Italy, 24–27 September 1985. [Google Scholar]
 - Adey, R.A.; Brebbia, C.A.; Niku, S.M. Applications of Boundary Elements in Corrosion Engineering. In Topics in Boundary Element Research; Brebbia, C.A., Ed.; Springer: Berlin/Heidelberg, Germany, 1990; Volume 7. [Google Scholar]
 - Wang, X.; Hou, B.; Li, Y. Boundary element method for the cathodic protection in sea mud. Mar. Sci. 2006, 30, 62–64. [Google Scholar]
 - Brichau, F.; Deconinck, J. A numerical model for cathodic protection of buried pipes. Corrosion 1994, 50, 39–49. [Google Scholar] [CrossRef]
 - Song, J.; Lan, Z.; Wang, Z.; Ji, J. Cathodic protection desgin and cathodic protection prodution films in seawater. Corros. Prot. 2010, 31, 265–267. [Google Scholar]
 - Lan, Z.; Wang, X.; Hou, B.; Wang, Z.; Song, J.; Chen, S. Simulation of sacrificial anode protection for steel platform using boundary element method. Eng. Anal. Bound. Elem. 2012, 36, 903–906. [Google Scholar] [CrossRef]
 - Fan, F.; Song, J.; Li, C.; Du, M. Effect of flow velocity on cathodic protection of DH36 steel in seawater. J. Chin. Soc. Corros. Prot. 2014, 34, 550–557. [Google Scholar]
 - Fischer, K.P.; Finnegan, J.E. Calcareous Deposits: Calcium and Magnesium Ion Concentration; Corrosion/89; NACE: Houston, TX, USA, 1989; p. 581. [Google Scholar]
 - Wang, A.; Du, M.; Wang, Q.; Cao, S.; Sun, J. Construction of Three-Dimensional Finite Element Model for Complicated Cathodic Protection System. Electrochemistry 2007, 13, 360–366. [Google Scholar] [CrossRef]
 - Wang, A.; Du, M.; Lu, C.; Cao, S.; Wang, Q. Finite element method for an offshore platform with complex nodes with a protection system. Period. Ocean. Nuniversity China 2007, 37, 129–134. [Google Scholar]
 - Ji, J.; Du, M.; Wang, Q.; Liu, F.; Sun, J. The ascertainment of boundary condition for numerical value calculation in cathodic protection of simulation submarine pipeline. Trnsactions Ocean. Limnol. 2008, 3, 85–92. [Google Scholar]
 - Cao, S.; Wang, Q.; Zhang, M. Numerical modelling for offshore platform Cathodic protection local system. Chin. J. Oceanol. Limnol. 1995, 13, 247–252. [Google Scholar]
 - Sun, K.; Peng, Q.; Xu, X.; Zhang, M. Effect of scan rate polarization curve measurement on numerical simulation of cathodic protection. Mater. Prot. 2014, 47, 62–64. [Google Scholar]
 - De Carlo, E.A. Computer Aided Cathodic Protection Design Technique for Complex Offshore Structures; Paper No. 165, Corrosion/82; AMPP: Houston, TX, USA, 1982. [Google Scholar]
 - Douglas, P.R.; Mark, E.O. A mathematical model for the cathodic protection of tank bottoms. Corros. Sci. 2005, 47, 849–868. [Google Scholar]
 - Hassanein, A.M.; Glass, G.K.; Buenfeld, N.R. Protection current distribution in reinforced concrete cathodic protection systems. Cem. Concr. Compos 2002, 24, 159–167. [Google Scholar] [CrossRef]
 - Du, Y.; Zhang, G. The Effect of Soil Resistivity on Cathodic Protection. Potential Distribution Outside of Tank Bottom. J. Petrochem. Univ. 2007, 20, 81–84. [Google Scholar]
 - NACE Standard RP0176 (Latest Revision); Corrosion Control of Steel Fixed Offshore Platforms Associated with Petroleum Production. NACE International: Houston, TX, USA, 1976.
 - Jiang, K.; Du, Y.; Lu, M.; Dong, L. Selection of Boundary Conditions of Anodes in Numerical Simulation of Cathodic Protection System. Corros. Sci. Prot. Technol. 2013, 25, 287–292. [Google Scholar]
 - Zhang, W.; Wang, X.; Li, H.; Lin, Z.; Chen, Z. The Influence of Rust Layers on Calcareous Deposits’ Performance and Protection Current Density in the Cathodic Protection Process. Coatings 2024, 14, 1015. [Google Scholar] [CrossRef]
 - Wang, Z.; Lan, Z.; Liu, Y.; Yang, S. Device for Acquiring Relationship Between Cathode Protection Potential on Specific Part of Marine Structure and Current Intensity. CN201110394665, 18 September 2013. [Google Scholar]
 - Wang, Z.; Hou, B.; Zhang, J.; Wang, X.; Lan, Z. Optimization of sacrificial anodes for One Offshore Jacket. Mater. Perform. 2016, 55, 20–24. [Google Scholar] [CrossRef]
 - Wang, Z.; Hou, B.; Zhang, J.; Song, J.; Chen, S.; Wang, X.; Lan, Z. Numerical Analysis for Cathodic Protection System of One Complex Deep Water Oil Platform Jacket. J. Balk. Tribol. Assoc. 2016, 22, 4849–4863. [Google Scholar]
 - Hu, J.; Wang, P.; Deng, P.; Geng, B.; Zeng, J.; Hu, X. A Study of the EH36 Surface Sediment Layer under Joint Protection from Seawater Electrolysis Antifouling and Impressed Current Cathode Protection (ICCP) in a Marine Environment. J. Mar. Sci. Eng. 2024, 12, 1155. [Google Scholar] [CrossRef]
 - Ren, J.; Wang, Z.; Xu, W.; Li, Y.; Sun, W. Research Progress of Calcium and Magnesium Deposits Under Marine Steel Structure Cathodic Protection. Mater. Prot. 2020, 53, 126–131. [Google Scholar]
 








| Zone | Parameter | Value | 
|---|---|---|
| Cathode | Surface area | 10,000 m2 | 
| Initial current density | 130 mA/m2 | |
| Anode | Weight per anode | 312 kg | 
| Current capacity | 2500 A·h/kg | |
| Anode utilization factor | 0.9 | |
| Steel core diameter | 6 cm | |
| Anode dimensions | 140 × (25 + 26) × 26 cm | |
| The number of anodes | 155 | |
| Working potential | −1055 mV | |
| Seawater | Resistivity of seawater | 20 ohm·cm | 
| Velocity of seawater | 0.1 m/s | |
| Temperature of seawater | 11 °C | |
| Salinity of seawater | 30‰ | |
| Oxygen content of seawater | 4.9 mL/L | |
| Calcium ion | 0.412 g/kg | |
| Magnesium ion | 1.29 g/kg | 
Disclaimer/Publisher’s Note: The statements, opinions and data contained in all publications are solely those of the individual author(s) and contributor(s) and not of MDPI and/or the editor(s). MDPI and/or the editor(s) disclaim responsibility for any injury to people or property resulting from any ideas, methods, instructions or products referred to in the content.  | 
© 2025 by the authors. Licensee MDPI, Basel, Switzerland. This article is an open access article distributed under the terms and conditions of the Creative Commons Attribution (CC BY) license (https://creativecommons.org/licenses/by/4.0/).
Share and Cite
Wang, Z.; Zhang, J.; Liu, H.; Hou, B. The Real Electrochemical Boundary Conditions Based on the Polarization Process. J. Mar. Sci. Eng. 2025, 13, 1024. https://doi.org/10.3390/jmse13061024
Wang Z, Zhang J, Liu H, Hou B. The Real Electrochemical Boundary Conditions Based on the Polarization Process. Journal of Marine Science and Engineering. 2025; 13(6):1024. https://doi.org/10.3390/jmse13061024
Chicago/Turabian StyleWang, Zaifeng, Jie Zhang, Haishan Liu, and Baorong Hou. 2025. "The Real Electrochemical Boundary Conditions Based on the Polarization Process" Journal of Marine Science and Engineering 13, no. 6: 1024. https://doi.org/10.3390/jmse13061024
APA StyleWang, Z., Zhang, J., Liu, H., & Hou, B. (2025). The Real Electrochemical Boundary Conditions Based on the Polarization Process. Journal of Marine Science and Engineering, 13(6), 1024. https://doi.org/10.3390/jmse13061024
        
