An AIS Base Station Credibility Monitoring Method Based on Service Radius Detection Patterns in Complex Sea Surface Environments
Abstract
1. Introduction
2. The Influence of Various Marine Environmental Factors on the Signal Service Radius of AIS Base Stations
2.1. The Impact of Sea Surface Wind Speed on the Service Radius of AIS Base Station Signals
2.2. The Impact of Tidal Effects on the Service Radius of AIS Base Station Signals
2.3. The Impact of Evaporation Duct on the Service Radius of AIS Base Station Signals
- Step 1: To calculate the Richardson number Rib, the formula is as follows:
- Step 2: To calculate the Monin-Obukhov length using the Richardson number, the formula is as follows:
3. Pattern of AIS Base Station Signal Service Radius Detection in Complex Sea Surface Environments
3.1. Calculation of AIS Base Station Signal Service Radius in Complex Sea Surface Environments
3.2. Pattern Validation and Calculation of AIS Base Station Signal Service Radius
- I.
- Free space model
- II.
- Okumura-Hata model
- III.
- Egli model
- IV.
- ITU-1546 model
- V.
- Comparative Experiment
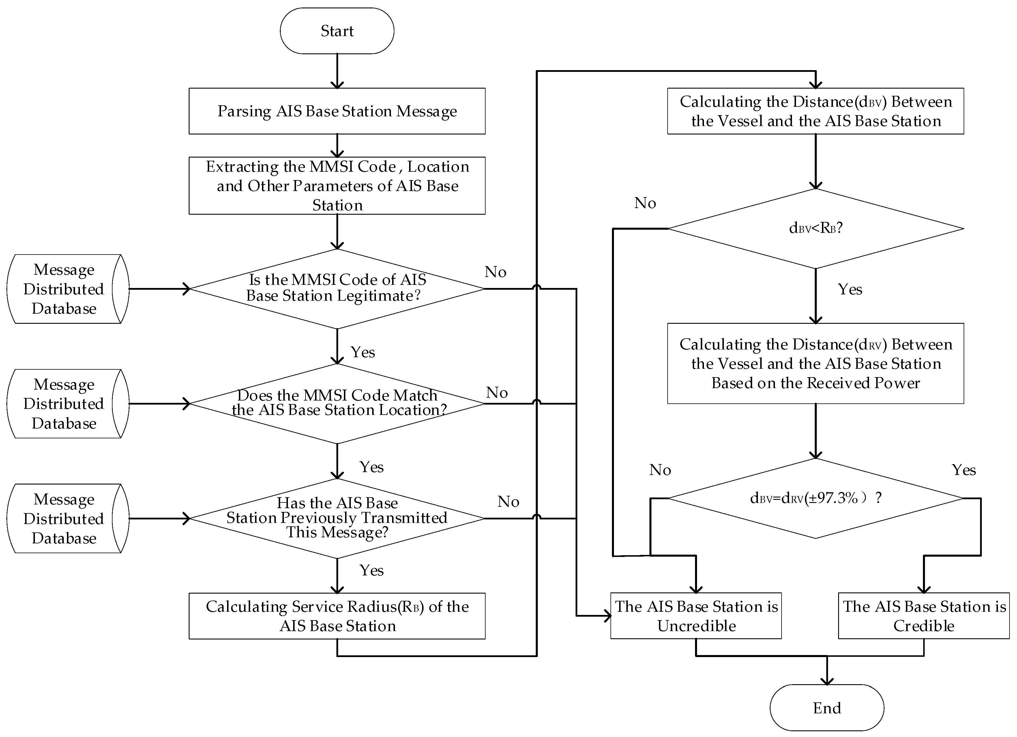
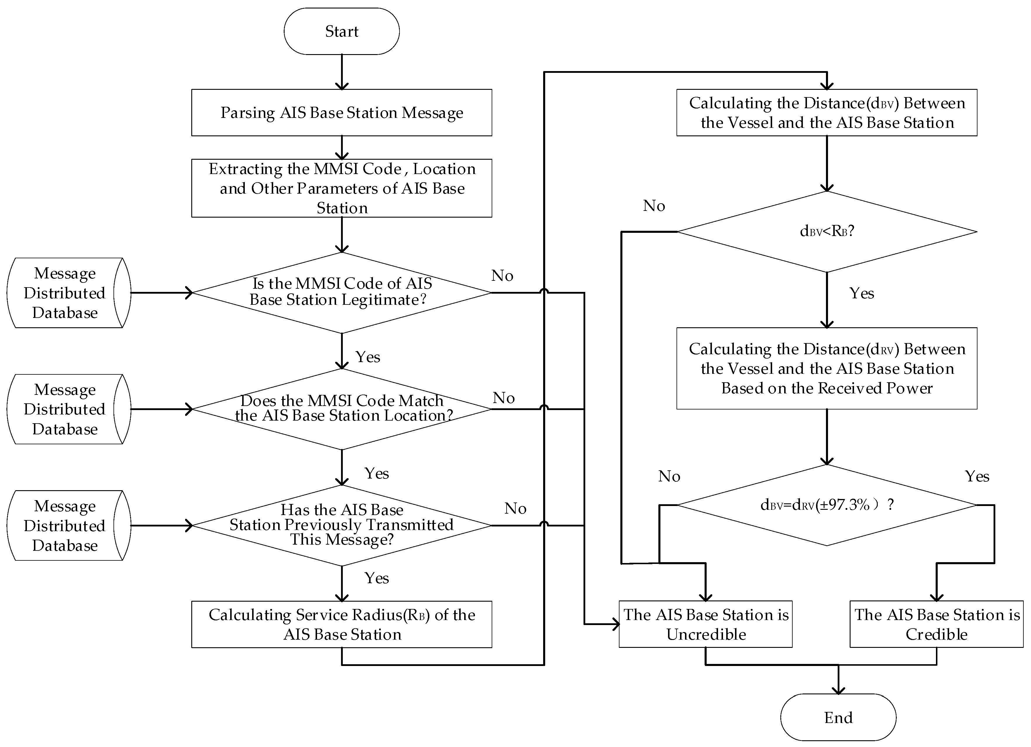
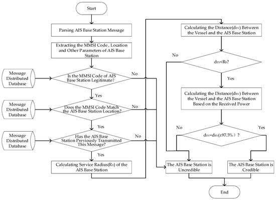
4. AIS Base Station Credibility Monitoring Experiment
4.1. Specific Method
4.2. Experimental Results and Analysis
- I.
- Existing illegal MMSI base station
- II.
- “Spoofing” base stations existing outside the AIS base station service radius
- III.
- “Spoofing” base stations existing within the AIS base station service radius
- IV.
- Scenarios devoid of “spoofing” base stations
5. Conclusions
Author Contributions
Funding
Institutional Review Board Statement
Informed Consent Statement
Data Availability Statement
Conflicts of Interest
References
- Forsberg, J. Cybersecurity of Maritime Communication Systems: Spoofing Attacks against Ais and Dsc. 2022. Available online: https://www.diva-portal.org/smash/get/diva2:1705102/FULLTEXT01.pdf (accessed on 1 November 2023).
- Li, W.; Liu, C.; Li, J.; Ji, X. Study on the Impact of Virtual AtoN Setting on AIS in Harbour Areas. In Proceedings of the International Conference in Communications, Signal Processing, and Systems, Changbaishan, China, 24–25 July 2021; Volume 878, pp. 407–415. [Google Scholar]
- Xu, G.; Wan, T.; Wang, D.; Guo, J.; Cao, Y. Research on the AIS Decoding System Based on Raspberry Pi in the Dynamic Monitoring of the Yangtze River Waterway. In Proceedings of the 2021 6th International Conference on Intelligent Transportation Engineering (ICITE 2021), Beijing, China, 17–19 September 2021; pp. 870–879. [Google Scholar]
- Chen, M.-Y.; Wu, H.-T. An Automatic-Identification-System-Based Vessel Security System. IEEE Trans. Ind. Inform. 2023, 19, 870–879. [Google Scholar] [CrossRef]
- Jaskólski, K.; Marchel, Ł.; Felski, A.; Jaskólski, M.; Specht, M. Automatic identification system (AIS) dynamic data integrity monitoring and trajectory tracking based on the simultaneous localization and mapping (SLAM) process model. Sensors 2021, 21, 8430. [Google Scholar] [CrossRef] [PubMed]
- Maulidi, A.; Abdullah, M.; Handani, D. Virtual private network (VPN) model for AIS real time monitoring. IOP Conf. Ser. Earth Environ. Sci. 2022, 1081, 012028. [Google Scholar] [CrossRef]
- Wolsing, K.; Roepert, L.; Bauer, J.; Wehrle, K. Anomaly detection in maritime AIS tracks: A review of recent approaches. J. Mar. Sci. Eng. 2022, 10, 112. [Google Scholar] [CrossRef]
- Lv, T.; Tang, P.; Zhang, J. A Real-Time AIS Data Cleaning and Indicator Analysis Algorithm Based on Stream Computing. Sci. Program. 2023, 2023, 8345603. [Google Scholar] [CrossRef]
- Shyshkin, O. Cybersecurity Providing for Maritime Automatic Identification System. In Proceedings of the IEEE 41st International Conference on Electronics and Nanotechnology (ELNANO), Kyiv, Ukraine, 10–14 October 2022; pp. 736–740. [Google Scholar]
- Louart, M.; Szkolnik, J.J.; Boudraa, A.O.; Le Lann, J.-C.; Le Roy, F. Detection of AIS messages falsifications and spoofing by checking messages compliance with TDMA protocol. Digit. Signal Process. 2023, 136, 103983. [Google Scholar] [CrossRef]
- d’Afflisio, E.; Braca, P.; Willett, P. Malicious AIS Spoofing and Abnormal Stealth Deviations: A Comprehensive Statistical Framework for Maritime Anomaly Detection. IEEE Trans. Aerosp. Electron. Syst. 2021, 57, 2093–2108. [Google Scholar] [CrossRef]
- Rong, H.; Teixeira, A.P.; Guedes Soares, C. Data mining approach to shipping route characterization and anomaly detection based on AIS data. Ocean Eng. 2020, 198, 106936. [Google Scholar] [CrossRef]
- Guo, S.; Mou, J.; Chen, L.; Chen, P. An anomaly detection method for AIS trajectory based on kinematic interpolation. J. Mar. Sci. Eng. 2021, 9, 609. [Google Scholar] [CrossRef]
- Chen, J. Prediction Method of Offshore VHF Wireless Coverage Based on ITU-RP.1546-3 Proposal. Navig. Technol. 2009, 39–43. Available online: https://www.itu.int/dms_pubrec/itu-r/rec/p/R-REC-P.1546-5-201309-I!!PDF-C.pdf (accessed on 5 September 2023).
- GB/T 39620—2020[S]; Technical Requirements for Coastal Automatic Identification System (AIS) Base Station. China Standards Publishing House: Beijing, China, 2020; pp. 6–7. Available online: http://c.gb688.cn/bzgk/gb/showGb?type=online&hcno=B28EFD7F44950419AAE92D1D36B9679C (accessed on 1 November 2023).
- Hu, Y.; Xu, L.; Gao, J.; Jia, P.; Li, B.; Xu, Y. Analysis of Marine Wireless Communication Channel under High Sea Conditions. In Proceedings of the 2022 IEEE 5th International Conference on Electronic Information and Communication Technology (ICEICT), Hefei, China, 21–23 August 2022; pp. 274–277. [Google Scholar]
- Jiménez, P.A.; Dudhia, J. On the need to modify the sea surface roughness formulation over shallow waters. J. Appl. Meteorol. Climatol. 2018, 57, 1101–1110. [Google Scholar] [CrossRef]
- Li, F.; Shui, Y.; Liang, J.; Yang, K.; Yu, J. Ship-to-ship maritime wireless channel modeling under various sea state conditions based on REL model. Front. Mar. Sci. 2023, 10, 1134286. [Google Scholar] [CrossRef]
- Huai, S.; Zhang, S.; Wang, X.; Zhang, J. A Novel Adaptive Noise Resistance Method Used for AIS Real-Time Signal Detection. Chin. J. Electron. 2020, 29, 327–336. [Google Scholar] [CrossRef]
- Mitayani, A.; Nurkahfi, G.N.; Mardi Marta Dinata, M. Path Loss Model of the Maritime Wireless Communication in the Seas of Indonesia. In Proceedings of the 2020 International Conference on Radar, Antenna, Microwave, Electronics, and Telecommunications (ICRAMET), Tangerang, Indonesia, 18–20 November 2020; pp. 97–101. [Google Scholar]
- Gaitan, M.G.; d’Orey, P.M.; Santos, P.M.; Ribeiro, M.; Pinto, L.; Almeida, L.; De Sousa, J.B. Wireless Radio Link Design to Improve Near-Shore Communication with Surface Nodes on Tidal Waters. In Proceedings of the OCEANS 2021: San Diego–Porto, San Diego, CA, USA, 20–23 September 2021; pp. 1–8. [Google Scholar]
- Robinson, L.; Newe, T.; Burke, J.; Toal, D. An Experimental Study of the Effects of the Evaporation Duct on Microwave Propagation. In Proceedings of the OCEANS 2019 MTS/IEEE SEATTLE, Seattle, WA, USA, 17–19 June 2019; pp. 1–5. [Google Scholar]
- Yang, F.; Yang, K.-D.; Shi, Y.; Wang, S.-W.; Zhang, H.; Zhao, Y.-M.; Hu, D.-W.; Dong, G.-Y. Impact of Evaporation Duct on Line-of-Sight Propagation of Electromagnetic Waves. J. Phys. Conf. Ser. 2023, 2486, 012060. [Google Scholar] [CrossRef]
- Habib, A.; Moh, S. Wireless Channel Models for Over-the-Sea Communication: A Comparative Study. Appl. Sci. 2019, 9, 443. [Google Scholar] [CrossRef]
- Zhao, W.; Zhao, J.; Li, J.; Zhao, D.; Huang, L.; Zhu, J.; Lu, J.; Wang, X. An Evaporation Duct Height Prediction Model Based on a Long Short-Term Memory Neural Network. IEEE Trans. Antennas Propagat. 2021, 69, 7795–7804. [Google Scholar] [CrossRef]
- Cruz, V.S.; Assis, F.; Schnitman, L. Simulation of the Effects of Evaporation Ducts on Maritime Wireless Communication. Wirel. Netw. 2021, 27, 4677–4691. [Google Scholar] [CrossRef]
- Reul, N.; Grodsky, S.A.; Yueh, S. Sea Surface Salinity Estimates from Spaceborne L-Band Radiometers: An Overview of the First Decade of Observation (2010–2019). Remote Sens. Environ. 2020, 242, 111769. [Google Scholar] [CrossRef]
- Yang, Q. The Character Analysis of Costal VHF Signal Propagation. Master’s Thesis, Dalian Maritime University, Dalian, China, 2017. [Google Scholar]
- Sun, J. Assessing Goodness of Fit in Confirmatory Factor Analysis. Meas. Eval. Couns. Dev. 2005, 37, 240–256. [Google Scholar] [CrossRef]
- Li, J. Monitoring and Emergency Operating System On AIS Base Station Management Messages. Master’s Thesis, Dalian Maritime University, Dalian, China, June 2018. [Google Scholar]























| Number | 1 | 2 | 3 | 4 | 5 | 6 | 7 | 8 |
|---|---|---|---|---|---|---|---|---|
| Distance (km) | 7.7 | 7.3 | 6.7 | 6.3 | 6.1 | 5.7 | 5.3 | 5.1 |
| Power (dBm) | −68 | −69 | −67 | −66 | −70 | −65 | −65 | −68.5 |
| Number | 9 | 10 | 11 | 12 | 13 | 14 | 15 | 16 |
| Distance (km) | 4.7 | 4.5 | 4.3 | 4.1 | 3.9 | 3.7 | 3.5 | 3.3 |
| Power (dBm) | −64.5 | −65.5 | −64.5 | −65.5 | −66 | −63 | −62.5 | −63 |
| Number | 17 | 18 | 19 | 20 | 21 | 22 | 23 | 24 |
| Distance (km) | 3.1 | 2.9 | 2.7 | 2.3 | 2.1 | 1.9 | 1.7 | 1.5 |
| Power (dBm) | −61 | −61.5 | −62 | −60 | −67 | −58.5 | −59 | −54 |
| Number | 25 | 26 | 27 | 28 | 29 | 30 | 31 | --- |
| Distance (km) | 1.3 | 1.1 | 0.9 | 0.7 | 0.5 | 0.3 | 0.2 | |
| Power (dBm) | −55.5 | −57 | −46 | −44 | −42 | −32.5 | −30 |
| Parameters | Symbol | Unit | Default Values | Explain |
|---|---|---|---|---|
| Propagation path | Path | Sea surface | ||
| Location percentage | % | 50 | ||
| Time percentage | % | 50 | ||
| Transmitting antenna height | m | Height of transmitting antenna from sea level | ||
| Transmit antenna gain | dBi | 6 | ||
| Actual radiation power | kw | 12.5 W | ||
| Transmission feeder loss | dB | 3 | ||
| Transmission frequency | MHz | 162.025 |
| No. | 1 | 2 | 3 | 4 | 5 | 6 | 7 | 8 | 9 | 10 | 11 | 12 | 13 | Goodness of Fit | |
|---|---|---|---|---|---|---|---|---|---|---|---|---|---|---|---|
| Distance (km) | |||||||||||||||
| Measured data | 7.7 | 6.7 | 5.7 | 4.7 | 3.7 | 3.1 | 2.9 | 2.3 | 1.9 | 1.5 | 0.9 | 0.5 | 0.2 | ||
| Free space model | 65.76 | 58.61 | 46.56 | 43.95 | 36.98 | 34.91 | 31.12 | 26.18 | 22.03 | 13.12 | 5.22 | 3.3 | 0.83 | 0.22639 | |
| Okumura-Hata | 4.6 | 4.30 | 3.76 | 3.64 | 3.29 | 3.18 | 2.97 | 2.69 | 2.43 | 1.80 | 1.05 | 0.81 | 0.36 | 0.80035 | |
| Egli | 4.14 | 3.91 | 3.49 | 3.39 | 3.11 | 3.02 | 2.85 | 2.61 | 2.40 | 1.85 | 1.17 | 0.93 | 0.46 | 0.55838 | |
| ITU-1546 | 5.21 | 4.87 | 4.25 | 4.10 | 3.67 | 3.54 | 3.28 | 2.92 | 2.63 | 1.83 | 0.76 | 0.65 | 0.31 | 0.82489 | |
| The proposed model | 6.15 | 5.60 | 4.65 | 4.04 | 3.78 | 3.09 | 2.87 | 2.49 | 2.12 | 1.63 | 0.78 | 0.52 | 0.17 | 0.97338 | |
| Parameters | Explain |
|---|---|
| MMSI code | 004132804 |
| Longitude | 121°33.33′ E |
| Latitude | 38°52.09′ N |
| Repeat | 0 |
| Position accuracy | 1 |
| Types of electronic positioning devices | 3 |
| Transmission control of long-range broadcast messages | 0 |
| Spare | 0 |
| Sync State | 0 |
| RAIM flag | 1 |
| Time slot timeout | 5 |
| Received Stations | 333 |
| Parameters | Explain |
|---|---|
| MMSI code | 004132808 |
| Longitude | 121°36.474′ E |
| Latitude | 38°54.72′ N |
| Repeat | 0 |
| Position accuracy | 1 |
| Types of electronic positioning devices | 7 |
| Transmission control of long-range broadcast messages | 0 |
| Spare | 0 |
| Sync State | 0 |
| RAIM flag | 0 |
| Time slot timeout | 5 |
| Received Stations | 330 |
Disclaimer/Publisher’s Note: The statements, opinions and data contained in all publications are solely those of the individual author(s) and contributor(s) and not of MDPI and/or the editor(s). MDPI and/or the editor(s) disclaim responsibility for any injury to people or property resulting from any ideas, methods, instructions or products referred to in the content. |
© 2024 by the authors. Licensee MDPI, Basel, Switzerland. This article is an open access article distributed under the terms and conditions of the Creative Commons Attribution (CC BY) license (https://creativecommons.org/licenses/by/4.0/).
Share and Cite
Wang, X.; Wang, Y.; Fu, L.; Hu, Q. An AIS Base Station Credibility Monitoring Method Based on Service Radius Detection Patterns in Complex Sea Surface Environments. J. Mar. Sci. Eng. 2024, 12, 1352. https://doi.org/10.3390/jmse12081352
Wang X, Wang Y, Fu L, Hu Q. An AIS Base Station Credibility Monitoring Method Based on Service Radius Detection Patterns in Complex Sea Surface Environments. Journal of Marine Science and Engineering. 2024; 12(8):1352. https://doi.org/10.3390/jmse12081352
Chicago/Turabian StyleWang, Xiaoye, Yalan Wang, Leyun Fu, and Qing Hu. 2024. "An AIS Base Station Credibility Monitoring Method Based on Service Radius Detection Patterns in Complex Sea Surface Environments" Journal of Marine Science and Engineering 12, no. 8: 1352. https://doi.org/10.3390/jmse12081352
APA StyleWang, X., Wang, Y., Fu, L., & Hu, Q. (2024). An AIS Base Station Credibility Monitoring Method Based on Service Radius Detection Patterns in Complex Sea Surface Environments. Journal of Marine Science and Engineering, 12(8), 1352. https://doi.org/10.3390/jmse12081352

