Automatic Reading and Reporting Weather Information from Surface Fax Charts for Ships Sailing in Actual Northern Pacific and Atlantic Oceans
Abstract
1. Introduction
Main Contribution
2. Data and Methods
2.1. Surface Weather Fax Charts from US and JMA
2.2. Recognition Weather Brief by OpenCV and OCR Method
2.3. Flow Chart of the Automatic Warning System
2.4. Recognition Wind Warning and Vectors by YOLOv5s Algorithm
2.5. Optimization Method Based on YOLOv5
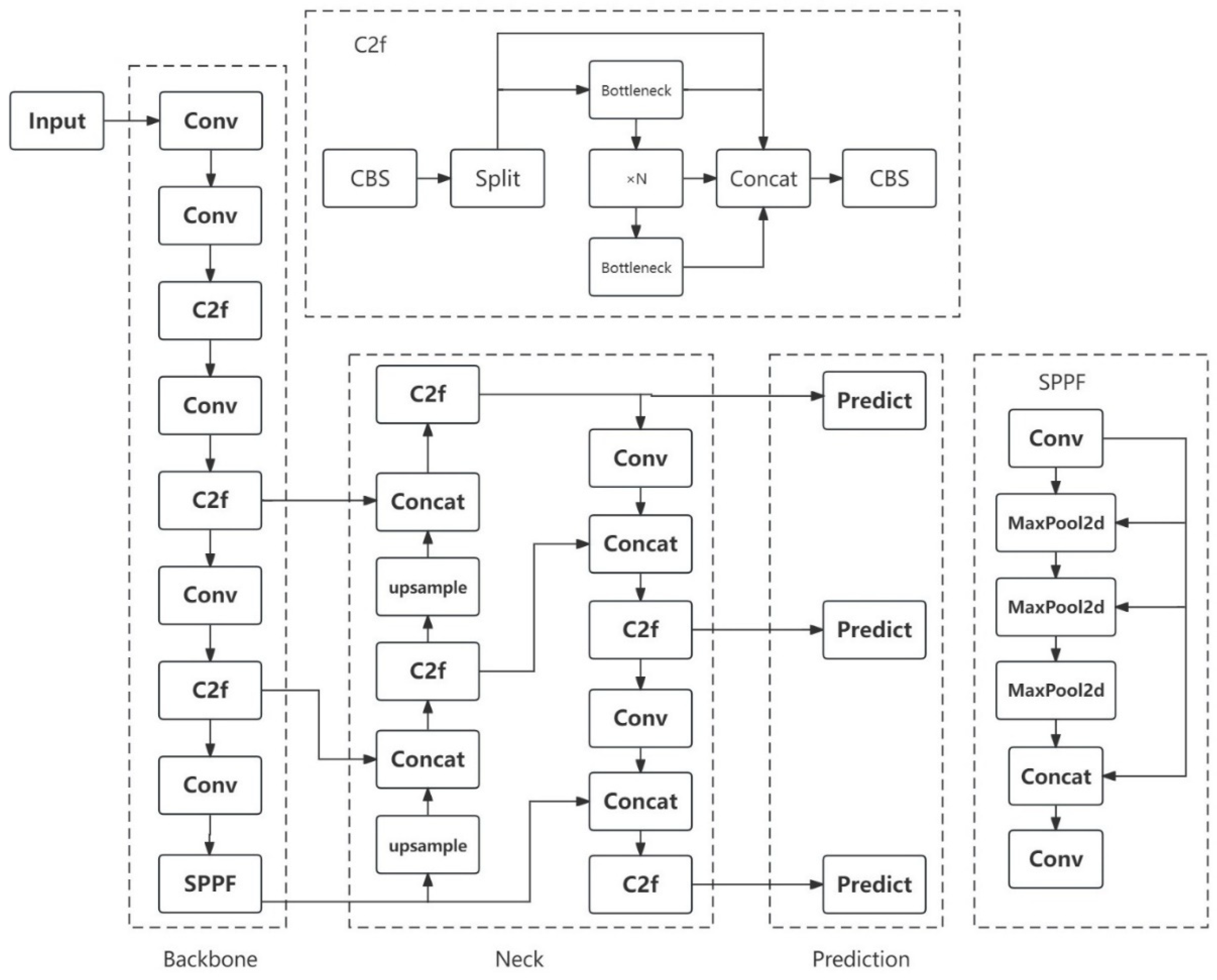
2.6. Recognition Wind Vectors by YOLOv8n Algorithm
2.7. Optimization of Activation Function
2.8. Bi-Directional Feature Pyramid Network
3. Recognition of the Weather Information from Surface Charts
3.1. Text from JMA Weather Brief Report
3.2. Warning Symbols from JMA Charts
3.3. Wind Barbs from US Charts via YOLO Algorithm
4. Mark Weather Warning and Deliver Them to Ship via Automatic System
5. Conclusions
Author Contributions
Funding
Institutional Review Board Statement
Informed Consent Statement
Data Availability Statement
Acknowledgments
Conflicts of Interest
References
- International Convention on Standards of Training, Certification and Watchkeeping for Seafarers. 2010, p. 53. Available online: https://wwwcdn.imo.org/localresources/en/OurWork/HumanElement/Documents/34.pdf (accessed on 5 November 2024).
- Miyamoto, M.; Yamada, T.J. Points of consideration on identification of the atmospheric fronts depicted on weather charts. IOP Conf. Ser. Earth Environ. Sci. 2023, 1136, 012023. [Google Scholar] [CrossRef]
- Jian, J.; Webster, P.J. A new marine auto-response quantitative wind forecast system. Procedia Soc. Behav. Sci. 2013, 96, 1362–1365. [Google Scholar] [CrossRef]
- Jian, J.; Sun, Z.; Sun, K. An Intelligent Automatic Sea Forecasting System Targeting Specific Areas on Sailing Routes. Sustainability 2024, 16, 1117. [Google Scholar] [CrossRef]
- Zhang, H.; Zhou, Y. Research on the extraction method of warning line in meteorological fax map. Sci. Technol. Innov. Appl. 2016, 175, 61–62. [Google Scholar]
- Fang, W.; Di, T. Multivariate bias correction and downscaling of climate models with trend-preserving deep learning. Clim. Dyn. 2024, 62, 9651–9672. [Google Scholar]
- Yin, Z. Research on Contour Detection and Interpolation of Meteorological Fax Map Based on Deep Learning. Master’s Thesis, Nanjing University of Science and Technology, Nanjing, China, 2021. [Google Scholar]
- Arena, P.; Baglio, S.; Fortuna, L.; Manganaro, G. Self-organization in a two-layer CNN. IEEE Trans. Circuits Syst. I Fundam. Theory Appl. 1998, 45, 157–162. [Google Scholar] [CrossRef]
- Ren, S.; He, K.; Girshick, R.; Sun, J. Faster R-CNN: Towards Real-Time Object Detection with Region Proposal Networks. IEEE Trans. Pattern Anal. Mach. Intell. 2017, 39, 1137–1149. [Google Scholar] [CrossRef]
- Girshick, R.; Donahue, J.; Darrell, T.; Malik, J. Rich Feature Hierarchies for Accurate Object Detection and Semantic Segmentation. In Proceedings of the 2014 IEEE/CVF Conference on Computer Vision and Pattern Recognition (CVPR), Columbus, OH, USA, 23–28 June 2014; pp. 580–587. [Google Scholar]
- Zhong, Z.; Zhou, S.; Li, S.; Li, H.; Yang, H. Tunnel lining quality detection based on the YOLO-LD algorithm. Constr. Build. Mater. 2024, 449, 138240. [Google Scholar]
- Rui, H.; Hu, R.; Su, W.H.; Li, J.L.; Peng, Y. Real-time lettuce-weed localization and weed severity classification based on lightweight YOLO convolutional neural networks for intelligent intra-row weed control. Comput. Electron. Agric. 2024, 226, 109404. [Google Scholar]
- Liu, W.; Anguelov, D.; Erhan, D.; Szegedy, C.; Reed, S.; Fu, C.Y.; Berg, A.C. SSD: Single Shot MultiBox Detector. Comput. Vis. 2016, 9905, 21–37. [Google Scholar]
- Redmon, J. You only look once: Unified, real-time object detection. In Proceedings of the IEEE Conference on Computer Vision and Pattern Recognition, Las Vegas, NV, USA, 27–30 June 2016. [Google Scholar]
- Li, C.D.; Xiao, C.Y.; Pan, H.L.; Chen, R.; Pan, H. Information extraction from meteorological facsimile maps. J. Image Graph. 2012, 17, 1268–1273. [Google Scholar]
- Wang, X. Retraction Note: System simulation of computer image recognition technology application by using improved neural network algorithm. Soft Comput. 2024, 28, 33. [Google Scholar] [CrossRef]
- Wei, J.; Luo, Z.; Luo, K.; Shi, X.; Li, P. Computer vision–based surface defect identification method for weld images. Mater. Lett. 2024, 371, 136972. [Google Scholar]
- Schultz, M.G.; Betancourt, C.; Gong, B.; Kleinert, F.; Langguth, M.; Leufen, L.H.; Mozaffari, A.; Stadtler, S. Can deep learning beat numerical weather prediction? Philos. Trans. R. Soc. A 2021, 379, 20200097. [Google Scholar] [CrossRef] [PubMed]
- Ren, X.; Li, X.; Ren, K.; Song, J.; Xu, Z.; Deng, K.; Wang, X. Deep learning-based weather prediction: A survey. Big Data Res. 2021, 23, 100178. [Google Scholar] [CrossRef]
- Kaur, R.; Singh, S. A comprehensive review of object detection with deep learning. Digit. Signal Process. 2023, 132, 103812. [Google Scholar] [CrossRef]
- Wu, D.H.; Lv, S.C.; Jiang, M.; Song, H. Using Channel pruning-based YOLOv4 deep learning algorithm for the real-time and accurate detection of apple flowers in natural environments. Comput. Electron. Agric. 2020, 178, 105742. [Google Scholar] [CrossRef]
- Redmon, J.; Farahdi, A. YOLOv3: An incremental improvement [EB/OL]. arXiv 2018, arXiv:1804.02767. [Google Scholar] [CrossRef]
- Zhang, X.; Zhang, Y.Q.; He, B.; Li, G.N. Research on remote sensing image aircraft target detection technology based on YOLOv4-tiny. Opt. Tech. 2021, 47, 344–351. [Google Scholar]
- Zou, L.; Ma, C.; Hu, J.; Jun, H.; Yu, Z.; Zhuang, K. Enhanced predictive modeling of rotating machinery remaining useful life by using separable convolution backbone networks. Appl. Soft Comput. 2024, 156, 111493. [Google Scholar] [CrossRef]
- Jin, H.; Li, Z. Grid multi-scroll attractors in cellular neural network with a new activation function and pulse current stimulation. Nonlinear Dyn. 2024, 1–18. [Google Scholar] [CrossRef]
- Rezatofighi, H.; Tsoi, N.; Gwak, J.Y.; Amir, S.; Ian, D.R.; Silvio, S. Generalized Intersection Over Union: A Metric and a Loss for Bounding Box Regression. In Proceedings of the 2019 IEEE/CVF Conference on Computer Vision and Pattern Recognition (CVPR), Long Beach, CA, USA, 15–20 June 2019; pp. 658–666. [Google Scholar]
- Woo, S.; Park, J.; Lee, J.Y.; Kweon, I.S. CBAM: Convolutional block attention module. In Proceedings of the 15th European Conference on Computer Vision, Munich, Germany, 8–14 September 2018; pp. 3–19. [Google Scholar]
- Hu, J.; Shen, L.; Albanie, S. Squeeze-and-Excitation Networks. IEEE Trans. Pattern Anal. Mach. Intell. 2020, 42, 2011–2023. [Google Scholar] [CrossRef] [PubMed]
- Sohan, M.; Sai Ram, T.; Rami Reddy, C.V. A Review on YOLOv8 and Its Advancements. In Data Intelligence and Cognitive Informatics; ICDICI 2023. Algorithms for Intelligent Systems; Springer: Singapore, 2024. [Google Scholar] [CrossRef]
- Ma, N.; Zhang, X.; Liu, M.; Sun, J. Activate or not: Learning customized activation. In Proceedings of the IEEE/CVF Conference on Computer Vision and Pattern Recognition (CVPR), Nashville, TN, USA, 20–25 June 2021; pp. 8032–8042. [Google Scholar]
- Tan, M.X.; Pang, R.M.; Le, Q.V. Efficient Det: Scalable and Efficient Object Detection. In Proceedings of the 2020 IEEE/CVF Conference on Computer Vision and Pattern Recognition (CVPR), Seattle, WA, USA, 13–19 June 2020; pp. 10778–10787. [Google Scholar]
- Thomas, C.T. Automated main-chain model building by template matching and iterative fragment extension. Acta Crystallogr. Sect. D Biol. Crystallogr. 2002, 59 Pt 1, 38–44. [Google Scholar]
- Rindone, C. AIS Data for Building a Transport Maritime Network: A Pilot Study in the Strait of Messina (Italy). In Conference on Computational Science and Its Applications; Springer Nature: Cham, Switzerland, 2024; pp. 213–226. [Google Scholar] [CrossRef]












| (US) Symbol | ![]() | ![]() | ![]() | ![]() | ![]() | ![]() | ![]() |
| Meaning | 35 kt | 40 kt | 45 kt | 50 kt | 55 kt | 35–45 kts | 35–45 kts expected in next 24 h |
| (JMA) Symbol | GW | SW | TW | FOG[W] | |||
| Meaning | 35–45 kts now or in next 24 h | ≥50 kts now or in next 24 h | ≥65 kts now or in next 24 h | Dense fog with visibility less than 0.3 nm | |||
| References | Jian et al. [3]. | Jian et al. [4]. | www.buoyweather.com (accessed on 16 October 2024). | www.windy.com (accessed on 16 October 2024). | www.stormgeo.com (accessed on 16 October 2024). | This study |
| Agency | Private sailing forecasting sector | Private weather forecasting sector | Leading weather routing corporation | |||
| Core data source | ECMWF (European Centre for Medium-Range Weather Forecasts) | Various public official color-shade weather chart | US GFS (Global Forecast System model) | ECMWF, GFS, and German ICON (Icosahedral Nonhydrostatic) | Not available | US and JMA non-shade surface fax charts |
| Domain | NW Pacific and Indian Ocean | NW Pacific | Global marine | Global | Global marine | NW Pacific, northern Pacific and Atlantic |
| Object user | Ship navigator | Ship navigator | Sailor | All | Transoceanic shipping company | Ship navigator |
| Cost | Free | Free | First 2 days free | First 7 days free | High | Free |
| Max lead | 120 h | 48 h | 16 days | 10 days | 30 days | 96 h and 24 h |
| Time step | 6 h | 6 h | 6 h | 1 h | 3 h | 6 h |
| mode | Text | Text | Web-based graphic | GIS-based graphic | Text and graphic | Text |
| Delivery method | Automatic email as per request | Automatic email as per request | Online | Online | Report pre and during the voyage | Automatic email as per request |
| YOLOv4-Tiny | YOLOv5s | YOLOv8n | |
|---|---|---|---|
| Backbone | CSPDarknet structure | C3 module CSPDarknet structure | C2f module CSPDarknet structure |
| Neck | SPP, PAN | SPPF, C3 module PAN | SPPF, C2f module PAN |
| Head | YOLOv3 | Coupled Head, Anchor-based | Decoupled Head, Anchor-free |
| Loss | Regression-CIOU_Loss | Classification-BEC_Loss Regression-GIOU_Loss | Classification-VFL_Loss Regression-DFL_LOSS + CIOU_LOSS |
| Common Words in Weather Briefings | Number of Samples Correctly Detected | Number of Incorrect Checks | Total Number of Samples | Recall | Precision |
|---|---|---|---|---|---|
| hPa | 500 | 5 | 535 | 0.935 | 0.990 |
| WINDS | 345 | 1210 | 535 | 0.645 | 0.222 |
| WITHIN | 470 | 10 | 1050 | 0.448 | 0.979 |
| Template | Number of Samples Correctly Detected | Number of Incorrect Checks | Total Number of Samples | Recall | Precision |
|---|---|---|---|---|---|
| hPa | 712 | 5 | 750 | 0.949 | 0.993 |
| SW | 594 | 281 | 637 | 0.932 | 0.679 |
| GW | 938 | 387 | 987 | 0.950 | 0.708 |
| TW | 24 | 1 | 26 | 0.923 | 0.960 |
| FOG | 1421 | 241 | 2016 | 0.705 | 0.855 |
| Experiment | Models | mAP | P | R | F1 | Single Image Detection Time/ms | Weight |
|---|---|---|---|---|---|---|---|
| 1 | YOLOv5s | 0.920 | 0.876 | 0.905 | 0.89 | 10.5 | 13.7 MB |
| 2 | YOLOv5s + SE | 0.921 | 0.888 | 0.909 | 0.898 | 6.9 | 13.8 MB |
| 3 | YOLOv5s + CBAM | 0.917 | 0.964 | 0.906 | 0.934 | 7.4 | 13.8 MB |
| 4 | YOLOv5s + ACON | 0.915 | 0.961 | 0.888 | 0.923 | 7.5 | 14.6 MB |
| 5 | YOLOv5s + BiFPN | 0.928 | 0.963 | 0.908 | 0.935 | 5.8 | 14.0 MB |
| 6 | YOLOv5s + SE + ACON | 0.916 | 0.969 | 0.896 | 0.931 | 4.4 | 14.6 MB |
| 7 | YOLOv5s + CBAM + ACON | 0.920 | 0.968 | 0.882 | 0.923 | 13.6 | 14.6 MB |
| 8 | YOLOv5s + SE + BiFPN | 0.923 | 0.973 | 0.882 | 0.925 | 1.2 | 14.0 MB |
| 9 | YOLOv5s + CBAM + BiFPN | 0.926 | 0.968 | 0.907 | 0.937 | 5.6 | 14.0 MB |
| 10 | YOLOv5s + ACON + BiFPN | 0.903 | 0.914 | 0.869 | 0.891 | 6.9 | 14.9 MB |
| 11 | YOLOv5s + SE + ACON + BiFPN | 0.916 | 0.964 | 0.871 | 0.915 | 7.5 | 14.9 MB |
| 12 | YOLOv5s + CBAM + ACON + BiFPN | 0.925 | 0.959 | 0.899 | 0.928 | 3.4 | 14.9 MB |
| 13 | YOLOv8n | 0.936 | 0.88 | 0.92 | 0.92 | 8.6 | 6.08 MB |
| Model | P | R | |||||||||
|---|---|---|---|---|---|---|---|---|---|---|---|
| 35 | 40 | 45 | 50 | 55 | 35 | 40 | 45 | 50 | 55 | ||
| 1 | YOLOv5s | 0.88 | 0.875 | 0.872 | 0.87 | 0.888 | 0.989 | 0.629 | 0.94 | 0.992 | 0.978 |
| 2 | YOLOv5s + SE | 0.897 | 0.887 | 0.893 | 0.885 | 0.878 | 0.989 | 0.63 | 0.94 | 0.992 | 0.993 |
| 5 | YOLOv5s + BiFPN | 0.971 | 0.962 | 0.976 | 0.947 | 0.958 | 0.99 | 0.627 | 0.964 | 0.99 | 0.968 |
| 7 | YOLOv5s + CBAM + ACON | 0.981 | 0.965 | 0.973 | 0.96 | 0.961 | 0.976 | 0.626 | 0.855 | 0.987 | 0.965 |
| 8 | YOLOv5s + SE + BiFPN | 0.977 | 0.954 | 0.985 | 0.955 | 0.993 | 0.981 | 0.625 | 0.88 | 0.988 | 0.936 |
| 9 | YOLOv5s + CBAM + BiFPN | 0.981 | 0.971 | 0.964 | 0.965 | 0.96 | 0.981 | 0.626 | 0.976 | 0.988 | 0.965 |
| 12 | YOLOv5s + CBAM + ACON + BiFPN | 0.982 | 0.971 | 0.929 | 0.956 | 0.956 | 0.977 | 0.624 | 0.952 | 0.986 | 0.958 |
Disclaimer/Publisher’s Note: The statements, opinions and data contained in all publications are solely those of the individual author(s) and contributor(s) and not of MDPI and/or the editor(s). MDPI and/or the editor(s) disclaim responsibility for any injury to people or property resulting from any ideas, methods, instructions or products referred to in the content. |
© 2024 by the authors. Licensee MDPI, Basel, Switzerland. This article is an open access article distributed under the terms and conditions of the Creative Commons Attribution (CC BY) license (https://creativecommons.org/licenses/by/4.0/).
Share and Cite
Jian, J.; Zhang, Y.; Xu, K.; Webster, P.J. Automatic Reading and Reporting Weather Information from Surface Fax Charts for Ships Sailing in Actual Northern Pacific and Atlantic Oceans. J. Mar. Sci. Eng. 2024, 12, 2096. https://doi.org/10.3390/jmse12112096
Jian J, Zhang Y, Xu K, Webster PJ. Automatic Reading and Reporting Weather Information from Surface Fax Charts for Ships Sailing in Actual Northern Pacific and Atlantic Oceans. Journal of Marine Science and Engineering. 2024; 12(11):2096. https://doi.org/10.3390/jmse12112096
Chicago/Turabian StyleJian, Jun, Yingxiang Zhang, Ke Xu, and Peter J. Webster. 2024. "Automatic Reading and Reporting Weather Information from Surface Fax Charts for Ships Sailing in Actual Northern Pacific and Atlantic Oceans" Journal of Marine Science and Engineering 12, no. 11: 2096. https://doi.org/10.3390/jmse12112096
APA StyleJian, J., Zhang, Y., Xu, K., & Webster, P. J. (2024). Automatic Reading and Reporting Weather Information from Surface Fax Charts for Ships Sailing in Actual Northern Pacific and Atlantic Oceans. Journal of Marine Science and Engineering, 12(11), 2096. https://doi.org/10.3390/jmse12112096








