Heat Recovery Systems for Agricultural Vehicles: Utilization Ways and Their Efficiency
Abstract
:1. Introduction
2. Materials
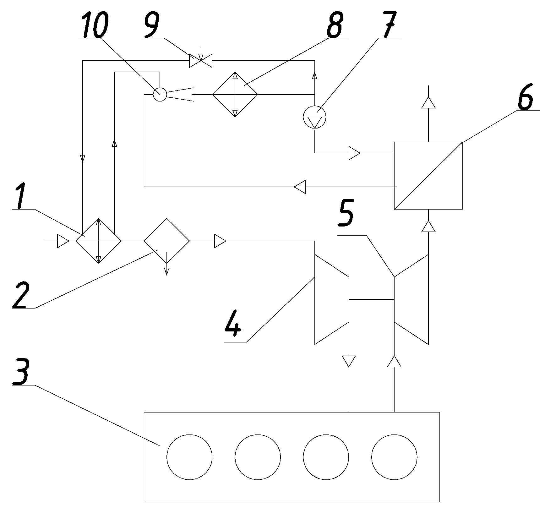
3. Results
- (1)
- Mechanical work;
- (2)
- Electricity generation;
- (3)
- Heating and cooling generation.
3.1. Mechanical Work
3.1.1. Turbocompounding
3.1.2. Rankine Cycle
3.1.3. Economic Efficiency
3.2. Electric Power Generation
3.2.1. Electric Turbocompounding
- Trailers with electrically powered axles (Fliegl Agrartechnik GmbH) [45];
- Kinze’s 4900 planter is available with electrically driven seed and insecticide metering for high accuracy [46];
- UX eSpray trailed sprayer is powered independently with electric motors (Amazone) [47];
- Kuhn/Rauch twin-disk fertilizer spreader [48].
3.2.2. Thermoelectric Generators
3.3. Heating and Cooling
3.3.1. Heating
3.3.2. Waste Heat Recovery Absorption Refrigerators
3.4. Classification of Waste Heat Recovery for Agricultural Machinery
4. Conclusions
Author Contributions
Funding
Conflicts of Interest
References
- Goncharuk, A.G.; Havrysh, V.I.; Nitsenko, V.S. National features for alternative motor fuels market. Int. J. Energy Technol. Policy 2018, 14, 226–249. [Google Scholar] [CrossRef]
- Zhang, Q.; Pennycott, A.; Brace, C.J. A review of parallel and series turbocharging for the diesel engine. Proc. Inst. Mech. Eng. Part D J. Automob. Eng. 2013, 227, 1723–1733. [Google Scholar] [CrossRef]
- Dec, J.E. Advanced compression-ignition engines—understanding the in-cylinder processes. Proc. Combust. Inst. 2009, 32, 2727–2742. [Google Scholar] [CrossRef]
- Lion, S.; Michosa, C.N.; Vlaskosa, I.; Rouaudb, C.; Taccani, R. A review of waste heat recovery and Organic Rankine Cycles (ORC) in on-off highway vehicle Heavy Duty Diesel Engine applications. Renew. Sustain. Energy Rev. 2017, 79, 691–708. [Google Scholar] [CrossRef]
- Thiruvengadam, A.; Pradhan, S.; Thiruvengadam, P.; Besch, M.; Carder, D.; Delgado, O. Heavy-Duty Vehicle Diesel Engine. Efficiency Evaluation and Energy Audit; Final Report; Center for Alternative Fuels, Engines and Emissions, West Virginia University: Morgantown, WV, USA, 2014; p. 66. [Google Scholar]
- Borovnik, A.I.; Varfolomeeva, T.A.; Lopukh, D.G.; Golovach, V.M. Construction of Tractors and Vehicles. Part 1; BGATU: Minsk, Belarus, 2009; p. 92. [Google Scholar]
- Jadin, D.W.; Nine, R. Super Truck—Development and Demonstration a Fuel Efficiency Class 8 Tractor&Trailer. Engine Systems; DOE Contract: DE-EE0003303. DOE. MERIT REVIEW; NETL: Washington, DC, USA, 2012. [Google Scholar]
- Klanfar, M.; Korman, T.; Kujundžić, T. Fuel consumption and engine load factors of equipment in quarrying of crushed stone. Tehnički Vjesnik 2016, 23, 163–169. [Google Scholar] [CrossRef]
- Vierth, I.; Berell, H.; McDaniel, J.; Haraldsson, M.; Hammarström, U.; Yahya, M.R.; Lindberg, G.; Carlsson, A.; Ögren, M.; Björketun, U. The Effects of Long and Heavy Trucks on the Transport System; Report on a Government Assignment; Statens väg- och transportforskningsinstitut: Linköping, Sweden, 2008; p. 92. [Google Scholar]
- Lion, S.; Michos, C.N.; Vlaskos, I.; Taccani, R. A thermodynamic feasibility study of an Organic Rankine Cycle (ORC) for heavy-duty diesel engine waste heat recovery in off-highway applications. Int. J. Energy Environ. Eng. 2017, 8, 81–98. [Google Scholar] [CrossRef]
- 2018–19 Farm Machinery. Custom and Rental Rate Guide. Available online: http://publications.gov.sk.ca/documents/20/85808-2018-19%20Farm%20Machinery%20Custom%20and%20Rental%20Rate%20Guide.pdf (accessed on 1 August 2018).
- Fowler, R. Mid-Range Tractors Demonstrate Highest Annual Usage. 2015. Available online: https://intel.equipmentwatch.com/mid-range-tractors-demonstrate-highest-annual-usage/ (accessed on 10 June 2018).
- Sinha, A.K.; Shrivastava, A.K.; Gautam, A.K.; Ahamad, S. Status and utilization of tractor power in Mahakoshal Region, MP, India. Vegetos 2017, 30. [Google Scholar] [CrossRef]
- Jaber, H.; Khaled, M.; Lemenand, T.; Ramadan, M. Short review on heat recovery from exhaust gas. AIP Conf. Proc. 2016, 1758, 030045. [Google Scholar] [CrossRef]
- Teng, H.; Regner, G.; Cowland, C. Waste Heat Recovery of Heavy-Duty Diesel Engines by Organic Rankine Cycle Part I: Hybrid Energy System of Diesel and Rankine Engines. SAE Int. Publ. 2007, 1, 1–13. [Google Scholar] [CrossRef]
- Jadhao, J.S.; Thombare, D.G. Review on Exhaust Gas Heat Recovery for I.C. Engine. Int. J. Eng. Innov. Technol. (IJEIT) 2013, 2, 93–100. [Google Scholar]
- Nadaf, S.L.; Gangavati, P.B. A review on waste heat recovery and utilization from diesel engines. Int. J. Adv. Eng. Technol. 2014, 31, 39–45. [Google Scholar]
- Tractor and Combine Diesel Engines. Methods of Bench Tests. GOST 18509-88; Publishing House of Standards: Moscow, Russia, 1988; p. 54.
- Antony Greszler (Volvo Powertrain Corporation). Diesel Turbo-Compound Technology. ICCT/NESCCAF Workshop Improving the Fuel Economy of Heavy-Duty Fleets II. 20 February 2008. Available online: http://www.nescaum.org/documents/improving-the-fuel-economy-of-heavy-duty-fleets-1/greszler_volvo_session3.pdf (accessed on 15 July 2018).
- Tennant, D.W.H.; Walsham, B.E. The Turbocompound Diesel Engine. SAE Paper, No. 89064; SAE: New York, NY, USA, 1989. [Google Scholar]
- Wilson, D.E. The Design of a Low Specific Fuel Consumption Turbocompound Engine. SAE Paper, No. 860072; SAE: New York, NY, USA, 1986. [Google Scholar]
- Brands, M.C.; Werner, J.; Hoehne, J.L. Vehicle Testing of Cummins Turbocompound Diesel Engine. SAE Paper, No. 810073; SAE: New York, NY, USA, 1981. [Google Scholar]
- The Engine That Redefines Versatility. Available online: https://www.volvotrucks.us/powertrain/d13tc/ (accessed on 17 July 2018).
- Diesel Engine 6R 1500 for Agriculture and Forestry Applications with EPA Tier 4 and EU Stage IV Certification. Available online: https://mtu-online-shop.com/print/3236531_MTU_Ag_spec_6R1500.pdf (accessed on 17 October 2018).
- Detroit Diesel DD15. Available online: http://literature.puertoricosupplier.com/018/OT17636.pdf (accessed on 17 October 2018).
- Mack MP8 with Turbo Compounding Now Available for Order. Available online: https://www.macktrucks.com/community/mack-news/2017/mack-mp8-with-turbo-compounding-now-available-for-order/ (accessed on 17 October 2018).
- Hopmann, U. Diesel engine waste heat recovery utilizing electric turbocompound technology. In Proceedings of the DEER Conference, San Diego, CA, USA, 25–29 August 2002. [Google Scholar]
- Andrienko, A.A. Results of the Development and Research of a Turbofan for the Cooling System of a Turbo-Diesel Engine. Available online: http://engine.aviaport.ru/issues/59/page14.html. (accessed on 10 June 2018).
- Parimal, P.S.; Doyle, E.F. Compounding the Truck Diesel Engine with an Organic Rankine Cycle System. SAE Paper, No. 760343; SAE: New York, NY, USA, 1976. [Google Scholar]
- Hountalas, D.T.; Mavropoulos, G.C. Potential for improving HD diesel truck engine fuel consumption using exhaust heat recovery techniques. In New Trends in Technologies: Devices, Computer, Communication and Industrial Systems; Manuscript 17; InTech: London, UK, 2010; pp. 313–340. ISBN 978-953-307-212-8. [Google Scholar]
- Freymann, R.; Strobl, W.; Obieglo, A. The turbosteamer: A system introducing the principle of cogeneration in automotive application. MTZ Worldw. 2008, 69, 20–27. [Google Scholar] [CrossRef]
- Daccord, R. Cost to benefit ratio of an exhaust heat recovery system on a long haul truck. Energy Procedia 2017, 129, 740–745. [Google Scholar] [CrossRef]
- Mack Trucks Unleashes. Engine Lineup Boosting Power Productivity and Efficiency. Available online: https://www.macktrucks.com/community/mack-news/2016/mack-trucks-unleashes-2017-engine-lineup-boosting-power-productivity-and-efficiency/ (accessed on 21 June 2018).
- Volvo D13 Turbo Compound Engine Powers New Volvo VNL Series to 7.5 Percent Improvement in Fuel Efficiency. Available online: https://www.volvotrucks.us/news-and-stories/press-releases/2017/july/volvo-d13-turbo-compound-engine-powers-new-volvo-vnl-series/ (accessed on 29 June 2018).
- Teo Sheng Jye, A.; Pesiridis, A.; Rajoo, S. Effects of mechanical turbo compounding on a turbocharged diesel engine. SAE Tech. Pap. 2013. [Google Scholar] [CrossRef]
- Diesel Prices, 18-Jun-2018 (USD/l). Available online: https://www.globalpetrolprices.com/diesel_prices/ (accessed on 18 June 2018).
- Energy Efficiency and Energy Savings. The Economist Intelligence Unit Limited, 2012. Available online: http://www.gbpn.org/sites/default/files/06.EIU_CaseStudy.pdf (accessed on 19 July 2018).
- Gazzarin, C. Maschinenkosten 2016 (In German: Machinery Cost Report 2016); Agroscope Transfer Nr. 142/2016; Agroscope: Tänikon, Switzerland, 2016. [Google Scholar]
- Calcante, A.; Fontanini, L.; Mazzetto, F. Coefficients of repair and maintenance costs of self-propelled combine harvesters in Italy. Agric. Eng. Int. CIGR J. 2013, 15, 141–147. [Google Scholar]
- Benes, L.; Novak, P.; Masek, J.; Petrasek, S. John Deere combine harvesters fuel consumption and operation costs. In Proceedings of the Engineering for Rural Development, Jelgava, Latvia, 29–30 May 2014; pp. 13–17. [Google Scholar]
- Increased Profitability for Independent Power Producers. Available online: https://www.bowmanpower.com/ (accessed on 20 July 2018).
- Hoy, R.M.; Rohrer, R.; Liska, A.; Luck, J.D.; Isom, L.; Keshwani, D.R. Agricultural Industry Advanced Vehicle Technology: Benchmark Study for Reduction in Petroleum Use; Idaho National Laboratory: Idaho Falls, ID, USA, 2014; p. 64. [Google Scholar]
- John Deere 7430 E Premium. Available online: https://www.w-equipment.com/machinery-specifications/john-deere/4wd-tractors/7430-e-premium.html (accessed on 12 July 2018).
- Karner, J.; Prankl, H.; Kogler, F. Electric Drives in Agricultural Machinery. In Proceedings of the International Conference Energy, Biomass and Biological Residues. International Conference of Agricultural Engineering—CIGR-AgEng 2012: Agriculture and Engineering for a Healthier Life, Valencia, Spain, 8–12 July 2012. [Google Scholar]
- Drive Axle PowerDriveElect—Transport Concepts with Drive Axles over the Course of Time. Fliegl Agrartechnik. Available online: http://www.fliegl-agrartechnik.de/index.cfm?cid=2234&documents.id=1591 (accessed on 14 July 2018).
- Mckelkamp, M. Kinze’s 4900 Series Electric Planter, 4000 Series Row Unit and Electric Meter. 2013. Available online: http://www.agweb.com/article/kinzes_new_4900_series_planter_4000_series_row_unit_and_electric_meter/ (accessed on 14 July 2018).
- UX eSpray Trailed Sprayer. Amazone, 2010. GO for Innovation. Available online: http://info.amazone.de/DisplayInfo.aspx?id=14005 (accessed on 14 July 2018).
- Electrically-Powered Kuhn/Rauch Fertilizer Spreaders Offer Ultra-Accurate Application. Farmers Weekly, 2007. Available online: https://www.fwi.co.uk/machinery/electrically-powered-kuhn-rauch-fertiliser-spreaders-offer-ultra-accurate-application (accessed on 10 July 2018).
- Aixala, L. RENOTER Project. 3 rd Thermoelectric Applications Workshop: 20–22 March 2012 in Baltimore (MI). Available online: https://www1.eere.energy.gov/vehiclesandfuels/pdfs/thermoelectrics_app_2012/tuesday/aixala.pdf (accessed on 19 July 2018).
- Champier, D. Thermoelectric generators: A review of applications. Energy Convers. Manag. 2017, 140, 167–181. [Google Scholar] [CrossRef]
- Cherednichenko, A.K.; Tkach, M.R.; Timoshevsky, B.G.; Proskurin, A.Y. Thermochemical Heat Recovery Efficiency of the “River-Sea” Ship Power Plants. Available online: https://www.khai.edu/csp/nauchportal/Arhiv/AKTT/2016/AKTT816/Cherednichenko.pdf (accessed on 3 June 2018).
- Ibrahim, T.M.; Syahir, A.Z.; Zulkifli, N.W.M.; Masjuki, H.H.; Osman, A. Enhancing vehicle’s engine warm up using integrated mechanical approach. IOP Conf. Ser. Mater. Sci. Eng. 2017, 210, 012064. [Google Scholar] [CrossRef]
- Kauranen, P.; Heikkinen, J.; Laurikko, J.; Seppala, A. Heat and Cold Accumulator in Vehicles. Available online: https://www.motiva.fi/files/3507/Heat_and_cold_accumulators_in_vehicles.pdf (accessed on 10 July 2018).
- Heat Accumulator. Available online: http://avtomasta.ru/elektrooborudovanie/teplovoj-akkumulyator-grelka-dlya-motora.html (accessed on 20 September 2018).
- Ivannikov, A.B. Secondary Use of the Heat of the Engine Exhaust Gases to Improve the Performance of the Units by the Example of the Transmission of the Tractor; Candidate of Technical Sciences; Novosibirsk State Agrarian University: Novosibirsk, Russia, 2017. [Google Scholar]
- Lu, Y.Z.; Wang, R.Z.; Jianzhou, S.; Xu, Y.; Wu, J.Y. Practical experiments on an adsorption air conditioner powered by exhausted heat from a diesel locomotive. Appl. Therm. Eng. 2004, 24, 1051–1059. [Google Scholar] [CrossRef]
- SAE. Engine Power Test Code—Spark Ignition and Compression Ignition—Net Power Rating; SAE J 1349; Society of Automotive Engineers (SAE): New York, NY, USA, 1995. [Google Scholar]
- HİLALİ, İ.; SÖYLEMEZ, M.S. An application of engine exhaust gas driven cooling system in automobile air conditioning system. J. Therm. Sci. Technol. 2015, 35, 27–34. [Google Scholar]
- Radchenko, A.; Radchenko, M.; Konovalov, A.; Zubarev, A. Increasing electrical power output and fuel efficiency of gas engines in integrated energy system by absorption chiller scavenge air cooling on the base of monitoring data treatment. In 17th International Conference Heat Transfer and Renewable Sources of Energy (HTRSE-2018); E3S Web of Conferences: Les Ulis, France, 2018. [Google Scholar]















© 2018 by the authors. Licensee MDPI, Basel, Switzerland. This article is an open access article distributed under the terms and conditions of the Creative Commons Attribution (CC BY) license (http://creativecommons.org/licenses/by/4.0/).
Share and Cite
Kalinichenko, A.; Havrysh, V.; Hruban, V. Heat Recovery Systems for Agricultural Vehicles: Utilization Ways and Their Efficiency. Agriculture 2018, 8, 199. https://doi.org/10.3390/agriculture8120199
Kalinichenko A, Havrysh V, Hruban V. Heat Recovery Systems for Agricultural Vehicles: Utilization Ways and Their Efficiency. Agriculture. 2018; 8(12):199. https://doi.org/10.3390/agriculture8120199
Chicago/Turabian StyleKalinichenko, Antonina, Valerii Havrysh, and Vasyl Hruban. 2018. "Heat Recovery Systems for Agricultural Vehicles: Utilization Ways and Their Efficiency" Agriculture 8, no. 12: 199. https://doi.org/10.3390/agriculture8120199
APA StyleKalinichenko, A., Havrysh, V., & Hruban, V. (2018). Heat Recovery Systems for Agricultural Vehicles: Utilization Ways and Their Efficiency. Agriculture, 8(12), 199. https://doi.org/10.3390/agriculture8120199

