Peanut-Shelling Technologies and Equipment: A Review of Recent Developments
Abstract
1. Introduction
2. The Key Technology Status of Mechanized Peanut Shelling
2.1. Research on the Shelling Law and Material Characteristics of Peanuts
2.2. Research on the Peanut-Shelling Process
2.3. Research on the Principles of Peanut Shelling
2.4. Research on Peanut-Shelling Equipment
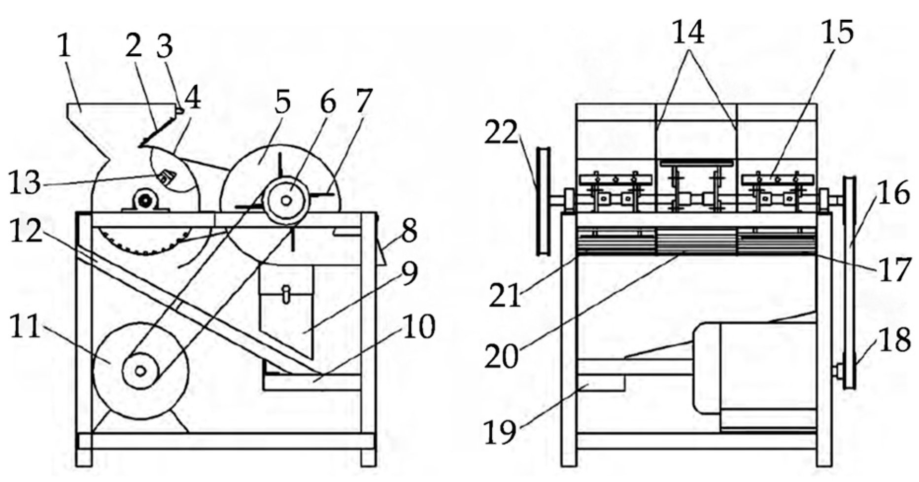
2.4.1. The Main Structural Types of Key Components
2.4.2. The Type of Shelling Equipment and the Impact of Its Operational Quality
2.4.3. Research on Parameters of Component Structure and Working
3. Overview of Peanut Shelling Mechanization in Foreign Countries
3.1. Mechanized Peanut-Shelling Technologies and Research Status in the United States
3.1.1. Peanut Production Situation
3.1.2. Development of Mechanized Peanut-Shelling Equipment
3.1.3. Peanut Shelling Socialized Service System
3.2. Mechanized Peanut-Shelling Technologies and Research Status in Other Countries
3.2.1. Research on Peanut Production and Shelling Mechanization in India
3.2.2. Research on Peanut Production and Shelling Mechanization in Nigeria
4. Overview of Peanut Shelling Mechanization in China
4.1. Peanut Production Situation
4.2. Development of Mechanized Peanut-Shelling Equipment
5. Comparison and Analysis of the Development of Peanut Shelling Mechanization in China and the United States
5.1. Comparison of Mechanized Peanut-Shelling Technologies between China and the United States
- (1)
- Comparison of equipment adaptability
- (2)
- Comparison of the level of shelling technology and equipment
- (3)
- Comparison of social service system and processing mode
5.2. Analysis of the Development of Peanut Shelling Mechanization in China
- (1)
- The integration of agricultural machinery and agronomy is insufficient, and the characteristics of varieties suitable for shelling are unknown
- (2)
- Lack of systematic research on the shelling process
- (3)
- Innovative research into shelling principles and technical equipment needs to be strengthened
- (4)
- It is difficult to achieve large-scale shelling production mode
6. Summary and Development Recommendations
6.1. Promote Agricultural Machinery and Agronomy Integration and Strengthen Research on Varieties Suitable for Shelling
6.2. Strengthen the Research on the Shelling Process and Key Parameters for Different Processing Purposes
6.3. Continuously Achieve Theoretical Breakthroughs, Strengthen the Research and Application of New Materials, New Technologies, and Intelligent Means
6.4. Establish a Socialized Service System Suitable for Chinese Peanut Production Characteristics
Author Contributions
Funding
Institutional Review Board Statement
Data Availability Statement
Acknowledgments
Conflicts of Interest
References
- Food and Agriculture Organization of the United Nations. FAOSTAT-Crops and Livestock Products. Available online: https://www.fao.org/faostat/en/#data/QCL (accessed on 3 June 2024).
- United States Department of Agriculture-Foreign Agricultural Service. PSD Online. Available online: https://apps.fas.usda.gov/psdonline/app/index.html#/app/advQuery (accessed on 3 June 2024).
- Feng, X.; Nie, J.; Peng, L.; Zang, H.; Yang, Y.; Zeng, Z. Spatio-temporal dynamics of global peanut production and trade. J. Peanut Sci. 2021, 50, 1–8. [Google Scholar]
- Barbour, J.A.; Howe, P.R.C.; Buckley, J.D.; Bryan, J.; Coates, A.M. Cerebrovascular and cognitive benefits of high-oleic peanut consumption in healthy overweight middle-aged adults. Nutr. Neurosci. 2017, 20, 555–562. [Google Scholar] [CrossRef] [PubMed]
- Sorita, G.D.; Leimann, F.V.; Ferreira, S.R.S. Biorefinery approach: Is it an upgrade opportunity for peanut by-products? Trends Food Sci. Technol. 2020, 105, 56–69. [Google Scholar] [CrossRef]
- Chang, A.S.; Sreedharan, A.; Schneider, K.R. Peanut and peanut products: A food safety perspective. Food Control 2013, 32, 296–303. [Google Scholar] [CrossRef]
- Zhao, X.; Chen, J.; Du, F. Potential use of peanut by-products in food processing: A review. J. Food Sci. Technol. 2012, 49, 521–529. [Google Scholar] [CrossRef] [PubMed]
- Arya, S.S.; Salve, A.R.; Chauhan, S. Peanuts as functional food: A review. J. Food Sci. Technol. 2016, 53, 31–41. [Google Scholar] [CrossRef] [PubMed]
- Tetrault, R. Foreign Agricultural Service. World Agricultural Production; U.S. Department of Agriculture: Washington, DC, USA, 2024.
- International Nut Dried Fruit Council. Nuts & Dried Fruits Statistical Yearbook 2022/2023; International Nut & Dried Fruit Council: Reus, Spain, 2023. [Google Scholar]
- National Bureau of Statistics. Sown Area and Output of Main Crops. Available online: https://data.stats.gov.cn/easyquery.htm?cn=C01 (accessed on 3 June 2024).
- Zhang, L.; Wang, L. Development status, existing problems and policy recommendations of peanut industry in China. China Oils Fats 2020, 45, 116–122. [Google Scholar]
- Tian, X.; Wang, X. Development status, existing problems and suggestions of peanut industry in Shandong. China Oils Fats 2022, 47, 7–12. [Google Scholar] [CrossRef]
- Wan, S.; Shan, S.; Guo, F. Improving Peanut Production Capacity to Ensure Oil Supply. J. Agric. Sci. Technol.-Iran 2010, 12, 22–26. [Google Scholar] [CrossRef]
- Hu, Z. Key Technology of Peanut Production Mechanization; Jiangsu University Press: Zhenjiang, China, 2017; ISBN 978-7-5684-0654-3. [Google Scholar]
- Wang, Y.; Guan, Y.; Han, Z.; Li, K.; Zhang, X. Analysis on the influencing f.actors of aflatoxin contamination in peanut in China. J. Food Saf. Qual. 2021, 12, 7818–7825. [Google Scholar]
- Gong, Y.; Hounsa, A.; Egal, S.; Turner, P.C.; Sutcliffe, A.E.; Hall, A.J.; Cardwell, K.; Wild, C.P. Postweaning exposure to aflatoxin results in impaired child growth: A longitudinal study in Benin, West Africa. Environ. Health Perspect. 2004, 112, 1334–1338. [Google Scholar] [CrossRef] [PubMed]
- Cui, M.; Chai, P.; Guo, J.; Huang, B.; Dong, W.; Han, S.; Zhang, X. Progress in research on mechanism of resistance to Aspergillus flavus L.infection and aflatoxin production in peanut. Chin. J. Oil Crop Sci. 2021, 43, 562–572. [Google Scholar] [CrossRef]
- Cardwell, K.F.; Henry, S.H. Risk of exposure to and mitigation of effect of aflatoxin on human health: A West African example. J. Toxicol. Toxin Rev. 2004, 23, 217–247. [Google Scholar] [CrossRef]
- Jing, D.; Yue, X.; Bai, Y.; Ding, X.; Zhang, Q.; Li, P. Study on Aspergillus flavus infection in maize and peanut. Chin. J. Oil Crop Sci. 2022, 44, 442–450. [Google Scholar] [CrossRef]
- Xie, H.; Peng, B.; Zhang, H.; Hu, Z.; Wu, F. General situation and development of peanut shelling technology and equipment in China. Jiangsu Agric. Sci. 2010, 581–582. [Google Scholar] [CrossRef]
- Peng, B.; Hu, Z.; Lv, X.; Wang, J.; Xie, H.; Gao, X. Overview and development of China’s agro-processing equipment industry. J. Chin. Agric. Mech. 2013, 34, 12–16. [Google Scholar]
- Din, B.; Xie, J.; Feng, M.; Chen, Z.; Chang, L.; Jiang, Y. Effect of different peanut pod types on the effectiveness of mechanical shelling. Jiangsu Agric. Sci. 2022, 50, 180–184. [Google Scholar] [CrossRef]
- Chen, Z.; Shen, Y.; Liu, Y.; Shen, Y.; Liang, M.; Xie, H.; Wang, J.; Liu, M. Research on mechanical shelling characteristics of different peanut varieties. Jiangsu Agric. Sci. 2023, 51, 91–95. [Google Scholar] [CrossRef]
- Wynne, J.C. Variation in milling quality of peanuts. Peanut Sci. 1982, 9, 30–33. [Google Scholar] [CrossRef]
- Jiangsu Academy of Agricultural Sciences. Jiangsu Germplasm Resources Database—Resource Description. Available online: http://jagis.jaas.ac.cn/CO_describe.aspx?tit=%BB%A8%C9%FA (accessed on 27 May 2024).
- Gao, X.; Hu, Z.; Wang, H.O.; Lv, X.; Gu, F. Experimental on physical and mechanical properties of peanut. Chin. Agric. Mech. 2012, 244, 55–61. [Google Scholar] [CrossRef]
- Xu, H.; Yan, S.; Huang, Q. Research on the Effects of Mechanical and Physical Characteristics on Peanut Shucking. In Proceedings of the Computer and Computing Technologies in Agriculture V: 5th IFIP TC 5/SIG 5.1 Conference, CCTA 2011, Beijing, China, 29–31 October 2011; Springer: Berlin, Germany, 2012; pp. 603–611. [Google Scholar]
- Na, X.; Liu, M.; Zhang, W.; Li, F.; Du, X.; Gao, L. Damage characteristics and regularity of peanut kernels under mechanical shelling. Trans. Chin. Soc. Agric. Eng. 2010, 26, 117–121. [Google Scholar] [CrossRef]
- Davidson, J.I., Jr.; Blankenship, P.D.; Chew, V. Probability Distributions of Peanut Seed Size. Peanut Sci. 1978, 5, 91–96. [Google Scholar] [CrossRef]
- Davidson, J.I., Jr. Some Effects of Commercial-Type Peanut Sheller Design and Operation on Seed Germination. Peanut Sci. 1974, 1, 78–81. [Google Scholar] [CrossRef][Green Version]
- Lyu, X.; Hu, Z.; Yu, Z.; Shi, X. Experimental research on the geometric dimensions and physical properties of peanut seeds. J. Yangzhou Univ. (Agric. Life Sci. Ed.) 2013, 34, 61–64. [Google Scholar] [CrossRef]
- Blankenship, P.D.; Person, J.L. Effects of restoring peanut moisture with aeration before shelling. Peanut Sci. 1975, 2, 6–11. [Google Scholar] [CrossRef]
- Lamb, M.C.; Blankenship, P.D. The capacity and efficiency of official grade shellers. Peanut Sci. 2005, 32, 132–135. [Google Scholar] [CrossRef]
- Xu, X.; Yan, J.; Wei, H.; Bao, G.; Ji, L.; Xie, H. Determination of static friction coefficient of peanut pod under different moisture content. J. Chin. Agric. Mech. 2022, 43, 93–97. [Google Scholar] [CrossRef]
- Lv, X.; Hu, Z.; Yu, X.; Liu, M.; Yu, Z. An Experimental Study on Squeeze Breaking Mechanism of Peanut Seeds. J. South China Agric. Univ. 2013, 34, 262–266. [Google Scholar]
- Yi, K.; Zhang, X.; Shen, Y.; Gao, L. Effect of moisture content on mechanical properties of peanut shelling and peanut kernel damage. J. Yangzhou Univ. (Agric. Life Sci. Ed.) 2013, 34, 65–69. [Google Scholar] [CrossRef]
- Cai, G.; Cong, J.; Qi, B. Experimental study on initial crushing force of peanut seeds in triaxial di-rection. Jiangsu J. Agric. Sci. 2019, 35, 716–721. [Google Scholar] [CrossRef]
- Yang, Y.; Liu, S.; Yang, L. Experimental study on mechanical properties of peanut pods and peanut kernel. J. Chin. Agric. Mech. 2016, 37, 108–111. [Google Scholar] [CrossRef]
- Cheng, X.; Gao, L.; Liu, M.; Wang, R.; Na, X. Experimental Study on Peanuts Mechanical Performance under Impacting Test. J. Shenyang Agric. Univ. 2009, 40, 111–113. [Google Scholar]
- Lyu, X.; Yao, L. Study on the squeeze breaking mechanism of peanut seeds. J. Yangzhou Univ. (Agric. Life Sci. Ed.) 2014, 35, 65–68. [Google Scholar] [CrossRef]
- Smith, J.S., Jr.; Blankenship, P.D.; McIntosh, F.P. Advances in peanut handling, shelling and storage from farmer stock to processing. Adv. Peanut Sci. 1995, 500–527. [Google Scholar]
- Wang, T.; Yu, S.; Xie, H.; Chen, M.; Wang, M.; Chen, N.; Pan, L.; Xu, J.; Feng, H.; CHI, X. Influence of Peanut Testa Variation on Resistance of Seed to Breakage. J. Peanut Sci. 2020, 49, 69–72. [Google Scholar] [CrossRef]
- Ding, B.; Xie, J.; Feng, M.; Chen, Z.; Chang, L.; Jiang, Y. Effect of Moisture Content of Peanut Pod on the Efficiency and Quality of Mechanical Husking. J. Peanut Sci. 2021, 50, 47–54. [Google Scholar] [CrossRef]
- Wang, J.; Xie, H.; Liu, M.; Gao, X.; Hu, Z. Research on cause and countermeasures of the rub-style peanut shelling equipment effect. Chin. Agric. Mech. 2012, 57–59. [Google Scholar] [CrossRef]
- Davidson, J.I., Jr.; Whitaker, T.B.; Dickens, J.W. Grading, Cleaning, Storage, Shelling, and Marketing of Peanuts in the United States. In Peanut Science and Technology; American Peanut Research & Education Society, Inc.: Alexandria, VA, USA, 1982; pp. 571–623. [Google Scholar]
- Pattee, H.E.; Stalker, H.T. Advances in Peanut Science; American Peanut Research & Education Society, Inc.: Alexandria, VA, USA, 1995; p. 614. [Google Scholar]
- Elliott, T.A. Efficient Picking, Transporting, Handling, Storing, and Shelling of Farmers’ Stock Peanuts; Georgia Institute of Technology: Atlanta, GA, USA, 1950. [Google Scholar]
- Li, X.; Guo, Y. Actuality of the decladding method and sheller of shell fruit. Acad. Period. Farm Prod. Process. 2007, 4, 84–86. [Google Scholar]
- Yu, J.; Bao, X. Analysis on Peanut Shelling Machinery. Agric. Sci. Technol. Equip. 2009, 114–115, 118. [Google Scholar] [CrossRef]
- He, T.; Zhang, R.; Ren, G.; Duan, X.; Li, C.; Li, Y. Structure, working principle and application of mechanical shell breaker. Food Mach. 2023, 39, 215–222. [Google Scholar]
- Du, W. Study on the Hulling Technology of Fruit. J. Taiyuan Norm. Univ. (Nat. Sci. Ed.) 2003, 2, 58–61. [Google Scholar]
- Zhang, J.; Zhang, L.; Wang, Y. Experiment on Peanut Shelling by Gas Burst. J. Beijing Agric. Eng. Univ. 1995, 15, 35–38. [Google Scholar]
- Wang, Y.; Zhang, Y.; Shang, S.; Zhang, X. Test Study on Performance of Peanuts Shelling by Gas Burst. Trans. Csae 1998, 222–227. [Google Scholar]
- Zhang, G. Ultrasonic Shelling Method and Ultrasonic Shelling Machine. C.N. Patent CN92109896.0, 30 March 1994. [Google Scholar]
- Zhang, J. Improved Design and Experiment Research on the Cutting Edge Scraper Shelling Device of Peanut Sheller. Master’s Thesis, Jilin Agricultural University, Changchun, China, 2022. [Google Scholar]
- Zhang, X.; Zhang, J. Effects of different parts of peanut huller on The hulling performance. J. Laiyang Agric. Coll. 1990, 7, 70–73. [Google Scholar]
- Yuan, C.; Cheng, Y. Experimental study on shelling parts of peanut shelling machine. Cereals Oils Process. (Electron. Version) 1991, 19–21. [Google Scholar]
- Wang, J.; Sun, K.; Chen, F. The Design of Scraper Peanut Sheller. J. Agric. Mech. Res. 2012, 34, 96–99. [Google Scholar] [CrossRef]
- An, J. Desigh and Simulation Analysis on Spiral Peanut Sheller. Master’s Thesis, Shengyang Agricultural University, Shengyang, China, 2017. [Google Scholar]
- Gao, X.; Hu, Z.; Xie, H.; Wang, H.; Zhang, H. Experimental Research on Peanut Sheller of Blowing and Kneading. Chin. Agric. Mech. 2012, 89–93. [Google Scholar] [CrossRef]
- Gao, L.; Hui, Z.; Dong, H.; Xu, Z.; Liu, Z.; Li, H. Design and Experiment of Peanut Sheller with Three Drums for Plot Breeding. Trans. Chin. Soc. Agric. Mach. 2016, 47, 159–165. [Google Scholar] [CrossRef]
- Hao, J.; Nie, Q.; Ma, L.; Li, J.; Song, Y.; Long, S.; Zhang, H. Development of cone disc type shelling mechanism for peanut seeds. Trans. Chin. Soc. Agric. Eng. 2020, 36, 27–34. [Google Scholar]
- Lu, R.; Yang, D.; Gao, L.; Liu, Z.; Liu, M.; Shen, Y. Design and Test on Plot Peanut Sheller with Vertical Tapered Drum. Trans. Chin. Soc. Agric. Mach. 2019, 50, 114–123. [Google Scholar] [CrossRef]
- Li, X.; Sun, Q.; Liu, L.; Liu, D.; Qian, K.; Chen, K.; Wang, D. Development and Test of Reciprocating Kneading Peanut Shelling Device. Des. Oper. Monit. Syst. Wheat Seeder 2024, 46, 125–130. [Google Scholar] [CrossRef]
- Wang, J.; Xie, H.; Hu, Z.; Liu, M.; Wei, H.; Yan, J.; Wu, F. Experimental research and parameter optimization of key components of cylinder and concave sieve peanut sheller. Jiangsu Agric. Sci. 2018, 46, 191–196. [Google Scholar] [CrossRef]
- Wang, J.; Xie, H.; Hu, Z.; Liu, M. Test and parameter optimization of vibration sorting device of compound peanut sheller. Jiangsu Agric. Sci. 2015, 43, 365–370. [Google Scholar] [CrossRef]
- Wang, J.; Ding, Q.; Hu, Z.; Xie, H.; Liu, M.; Peng, B.; Chi, X. Mediation of Peanut Moisture Content and System Optimization for Improved Shelling Performance of Small Peanut Sheller. J. Asabe 2022, 65, 295–304. [Google Scholar] [CrossRef]
- Kingsbury, A. Foreign Agricultural Service.Oilseeds: World Markets and Trade; U.S. Department of Agriculture: Washington, DC, USA, 2024.
- Economic Research Service. USDA ERS-Oil Crops Yearbook. Available online: https://www.ers.usda.gov/data-products/oil-crops-yearbook/oil-crops-yearbook/#Peanuts (accessed on 8 March 2024).
- Virginia-Carolinas Peanuts. Origin & History of Peanuts. Available online: https://www.aboutpeanuts.com/all-about-peanuts/origin-history-of-peanuts (accessed on 17 January 2024).
- Tom, O. How Peanuts Changed the World. Available online: https://www.treehugger.com/how-peanuts-changed-world-4863241 (accessed on 17 January 2024).
- Huston, J.T. Peanut-Shelling Machine. U.S. Patent US19130804005, 14 July 1914. [Google Scholar]
- Huston, J.T. Peanut-Shelling Machine. U.S. Patent US19170169115, 13 November 1917. [Google Scholar]
- James, W.E. Peanut-Shelling Machine. U.S. Patent US19110642501, 20 October 1914. [Google Scholar]
- Jernigan, H.R. Peanut Sheller Or Huller. U.S. Patent US19160108453, 12 June 1917. [Google Scholar]
- Huston, J.T. Peanut-Shelling Machine. U.S. Patent US19190297608, 18 December 1923. [Google Scholar]
- Larisey, M.L. Peanut-Shelling Machine. U.S. Patent US19170145494, 12 November 1918. [Google Scholar]
- Newland, R.M. Peanut-Shelling Machine. U.S. Patent US19080413662, 30 November 1909. [Google Scholar]
- Raby, E.M. Peanut-Sheller. U.S. Patent US19070394506, 22 September 1908. [Google Scholar]
- Scarborough, S.N. Peanut sheller. U.S. Patent US19240708761, 13 October 1925. [Google Scholar]
- Huston, J.T. Hand Peanut Sheller. U.S. Patent US19190297609, 18 December 1923. [Google Scholar]
- Pickron, W.W. Peanut-Shelling Machine. U.S. Patent US19180268227, 22 February 1921. [Google Scholar]
- Lu, R.; Liu, Z.; Gao, L.; Chen, C.; Butts, C. Technology status and development analyses of American peanut shellers. J. Huazhong Agric. Univ. 2020, 39, 170–180. [Google Scholar] [CrossRef]
- Florida Memory Peanut Shelling Machine—Graceville, Florida. Available online: https://www.floridamemory.com/items/show/67500 (accessed on 23 May 2024).
- Davidson, J.I. Some Performance Characteristics of Conventional Peanut Shellers. In Proceedings of the 1966-4th National Peanut Research Conference, Tifton, GA, USA, 14–15 July 1966; pp. 43–48. [Google Scholar]
- Smith, N.; Ferland, C.; Wolfe, K.L.; Tuck, B.; McKissick, J.C. The Feasibility of a Grower-Owned Peanut Shelling Plant in the Tift area of Georgia; University of Georgia: Athens, GA, USA, 2002; p. 36. [Google Scholar]
- Lewis, M.; Carter Mfg. (Canada) Ltd. LMC-PEANUTS. Available online: https://lewismcarter.com/key-industries/peanuts (accessed on 24 May 2024).
- Lewis, M.; Carter Mfg. (Canada) Ltd. LMC-Peanut Sheller. Available online: https://lewismcarter.com/peanut-sheller (accessed on 22 January 2024).
- Lewis, M.; Carter Mfg. (Canada) Ltd. LMC Company Brochure. Available online: https://lewismcarter.com/images/stories/brochures/lmc company brochure english.pdf (accessed on 24 May 2024).
- Lewis, M.; Carter Mfg. (Canada) Ltd. LMC—Products. Available online: https://lewismcarter.com/13-products (accessed on 24 May 2024).
- Texas Peanuts Board. A New Peanut Sheller is Coming to Texas—Texas Peanuts. Available online: https://texaspeanuts.com/a-new-peanut-sheller-is-coming-to-texas/ (accessed on 7 June 2024).
- Talawar, S. Peanut in India: History, Production, and Utilization; U.S. Agency for International Development: Washington, DC, USA, 2004.
- Gojiya, D.K.; Dobariya, U.D.; Pandya, P.A.; Gojiya, K. Studies on physical properties of peanut Seed. Acta Sci. Agric. 2020, 4, 1–5. [Google Scholar] [CrossRef]
- Mishra, A.; Rahul, S.; Mangla, J. Development of A Low Cost Peanut Decorticator for use in Developing Countries. Synerg. Tech. Dev. 2009. [Google Scholar] [CrossRef]
- Nilesh, B. Design and Fabrication of Economical Groundnut Decorticating Machine for Indian Farmers. Int. J. Res. Appl. Sci. Eng. Technol. 2017, 5, 2948–2953. [Google Scholar] [CrossRef]
- Darshan Gowda, C.P.; Venkatagiri, H.A.; Govindaraj, A.S. Automatic Groundnut Decorticator. Open Access Int. J. Sci. Eng. 2018, 3, 16–21. [Google Scholar]
- Ramachandra Raju, K.; Senthilkumar, G.; Santhoshkumar, E.; Saravanakumar, B.; Manikandan, B.; Gokul, M.; Noel, N. Development of a versatile ground nut shelling machine with built-in roaster. In Proceedings of the Advancements in Aeromechanical Materials for Manufacturing (ICAAMM-2021), Hyderabad, India, 27–28 August 2021. [Google Scholar]
- Prathamesh, S.G.; Vijay, B.R.; Sachin, S.Y.; Akshay, V.; Tejas, R.S.; Shubham, C.; Santosh, K. Design and Manufacturing of Peanut Sheller Machine. Int. Res. J. Mod. Eng. Technol. Sci. 2023, 5, 8879–8883. [Google Scholar]
- Shree Chamunda. Peanut Decorator Machine at Rs 22000|Peanut Shelling Machine in Rajkot|ID: 23940925988. Available online: https://www.foodmachines.co.in/search.html?ss=peanut-decorator-machine-23940925988 (accessed on 20 January 2024).
- A P S Industries. Peanut Shelling Machine—Peanut Machine manufacturer. Available online: https://www.peanutmachinemanufacturer.com/product/peanut-shelling-machine/ (accessed on 20 January 2024).
- SRRAI. Tractor Operated Peanut Shelling Machine—Peanut Shelling Machine or Mungfali Machine Manufacturer from Bikaner. Available online: https://www.shreerajaramagroindustries.com/tractor-operated-peanut-shelling-machine.html (accessed on 22 January 2024).
- SRRAI. Shree Rajaram Agro Industries Private Limited, Bikaner—Manufacturer of Decorticator Machine and Shelling Machine. Available online: https://www.shreerajaramagroindustries.com/search.html?ss=SRRAI-+Plant-14 (accessed on 25 May 2024).
- Alonge, A.F.; Bassey, E.; Esua, O.J.; Onwude, D.I. Development and preliminary testing of a bambara groundnut sheller. Int. Food Res. J. 2016, 23, S7. [Google Scholar]
- Muhammad, A.I.; Isiaka, M. Modification of locally developed groundnut sheller. Bayero J. Eng. Technol. 2019, 14, 169–182. [Google Scholar]
- Saleh, A.; Fashina, A.B.; Akande, F.B. Design, construction and performance evaluation of groundnut decorticator. FUDMA J. Sci. 2022, 6, 93–101. [Google Scholar] [CrossRef]
- National Peanut Data Center. PeanutData== PeanutData Database of Chinese Peanut Varieties and Their Pedigrees and Fingerprints. Available online: http://peanut.cropdb.cn/variety/ (accessed on 27 May 2024).
- Chen, M. A Study on the Introduction and Development of Peanut in China (1631–1949). Ph.D. Thesis, Nanjing Agricultural University, Nanjing, China, 2019. [Google Scholar]
- Hubei Xiaogan county garden farm tools factory. Pneumatic foot peanut sheller. Sci. Agric. Sin. 1958, 567. [Google Scholar]
- Lu, R.; Gao, L.; Liu, Z.; Yang, D. Development and Prospect of Technology on Peanut Sheller of China. J. Shenyang Agric. Univ. 2020, 51, 631–640. [Google Scholar] [CrossRef]
- Li, J.; Shang, S.; Li, X.; Wang, Y.; Lian, Z. Application Situation and Developing Analysis on Peanut Shelling Machinery. J. Peanut Sci. 2006, 35, 23–27. [Google Scholar]
- Wang, G. Peanut shelling cleaning machine. Farm Mach. 1990, 17. [Google Scholar]
- Tao, S. The peanut shelling kernel shell separation process should adopt negative pressure air separation technology. China Oils Fats 1991, 51–52, 58. [Google Scholar]
- You, Y. Improvement of peanut shelling kernel shell separation process. China Oils Fats 1989, 41–42. [Google Scholar]
- Gao, L.; Du, X.; Zhang, W.; Liu, M.; Liu, X.; Yang, J. Double-roller Peanut Sheller with Pneumatic Circulating. Trans. Chin. Soc. Agric. Mach. 2011, 42, 68–73. [Google Scholar]
- Yi, K.; Li, L.; Li, H.; Gao, L. Performance test on double-roller peanut sheller with pneumatic circulating. J. Nanjing Agric. Univ. 2013, 36, 124–128. [Google Scholar]
- Xie, H.; Wang, J.; Hu, Z.; Liu, M.; Wang, H.; Wu, F.; Gao, X. Scheme of Peanut Seeds Shelling in China. J. Peanut Sci. 2012, 41, 32–36. [Google Scholar] [CrossRef]
- Henan Kingman M E Complete Plant Co., Ltd. Small Groundnut Shelling Machine, Peanut Sheller for Sale. Available online: https://www.chinapeanutmachinery.com/shelling-machine/small-peanut-shelling-machine.html (accessed on 26 May 2024).
- Yantai Lingyuan Peanut Machinery, Co., Ltd. 2017 Model LY-20000 Environmental-Friendly Peanut Shelling Unit_Manufacturer_Price_Quotation-Yantai Lingyuan Peanut Machinery Co., Ltd. Available online: http://www.hsjixie.com.cn/case/yingyang/show708.html (accessed on 26 May 2024).
- Huojia County Yuhang Machinery Factory. 20000 Model Four Roller Machine-Products—New Model Peanut Shelling Machine_Small Peanut Shelling Machine_Youjia County Yuhang Machinery Factory. Available online: http://www.xxjyuhang.com/product/11_18 (accessed on 26 May 2024).
- Nanjing Institute of Agricultural Mechanization, Ministry of Agriculture and Rural Affairs. Equipment for Post-harvest Processing of Peanuts. Available online: https://nnj.caas.cn/cgzh/zycp/242613.htm (accessed on 20 January 2024).
- Alabama, N. Coastal Growers Plans $87 Million Peanut-Shelling Plant in Atmore. Available online: https://altoday.com/archives/36637-coastal-growers-plans-87-million-peanut-shelling-plant-in-atmore (accessed on 25 May 2024).
- Eric, S.; New Peanut Shelling Plant Planned for Georgia. Food Business News, 29 November 2021. Available online: https://www.foodbusinessnews.net/articles/20122-new-peanut-shelling-plant-planned-for-georgia (accessed on 25 May 2024).
- Lu, R.; Gao, L.; Chen, C.; Butts, C.L. Technology and characteristics of peanut shelling of United States and enlightenment. Trans. Chin. Soc. Agric. Eng. 2019, 35, 287–298. [Google Scholar] [CrossRef]




















| Type | Structural | Principle |
|---|---|---|
| Rubber rollers, squeezing and rubbing type | ![]() | Peanut pods are subjected to friction from two horizontally placed rubber rollers relatively rotating at different speeds, which produces a rubbing action and normal squeezing action to shell the peanuts. |
| Toothed roller & toothed plate, shearing and rubbing type | ![]() | It consists of a toothed curved plate and an external toothed roller. The pods are sheared and rubbed by the steel teeth between the roller and the plate to remove the shell. The kernel breakage rate is relatively high. |
| Rubber cylinder & concave sieve, squeezing and kneading type | ![]() | It consists of a closed rubber cylinder and a woven concave sieve. Peanut pods are brought into the gap between the cylinder and sieve through the rotation of the cylinder and are squeezed and kneaded to remove the shells. |
| Rods & concave sieve, striking and kneading type | ![]() | It consists of an open-type cylinder made of flat steel rods and a steel concave sieve. The pods are struck by the rotating rods and kneaded by the high-speed rotating cylinder to remove the shells, and the performance is ideal. |
| Grinding disc, pressing and rubbing type | ![]() | It consists of an upper fixed grinding disc and a lower rotating grinding disc. The pods are shelled by friction and squeezing between the two grinding discs. |
| Floating rubber plate & sieve, pressing and rubbing type | ![]() | It consists of a flexible washboard connected by connecting rods to achieve horizontal reciprocating motion and a braided flat sieve, and the pods are shelled by the pressing and rubbing action of the rubber plate. The shelling effect is not good. |
| Model | Structure | Characteristics |
|---|---|---|
| Single-cylinder shelling equipment [89] | ![]() | Each shelling cylinder has three built-in hardened shelling bars; the spacing between the shelling bars and the concave grate is easy to adjust. The shelling grates or concave sieves are easy to change out and can be sharpened as they become dull with wear. |
| High-moisture shelling equipment | ![]() | Used for shelling green peanuts to monitor the drying process; easy to operate and maintain, safe and efficient. |
| Multi-cylinder shelling equipment [90] | ![]() | It is equipped with 3~5 shelling cylinders, a sheller shaker pan, hull aspiration, two deck screening shakers, gravity separators, and sheller grates of various sizes. Each shelling cylinder can be driven independently; the maximum capacity is up to 9 t/h. |
| Company (Location) | Model | Structure | Characteristics |
|---|---|---|---|
| Shree Chamunda Agro Engineering Works (Rajkot, Gujarat, India) | Peanut breaker machine [100] | ![]() | Semi-automatic operation; capacity: 100 kg/h; size: 1016 × 356 × 838 mm; shelling rate: 90–95%; breakage rate: 2%. |
| A P S Industries (Ahmedabad, Gujarat, India) | Combined peanut-shelling machine [101] | ![]() | It consists of a peanut de-stoner and a peanut-shelling machine; Size: 1400 × 2500 × 2200 mm; capacity: 500 kg/h; weight: 700 kg; shelling ratio: ≥98%; breakage ratio: ≤5%; cleaning degree: ≥95.5%. |
| SRRAI (Bikaner, Rajasthan, India) | SRRAI- Tractor-1 [102] | ![]() | Equipped with a round separator and tractor towing frame; capacity: 1200 kg/h; shelling ratio: 99%; power consumption: 5 kw/h. |
| SRRAI (Bikaner, Rajasthan, India) | SRRAI- Plant-14 [103] | ![]() | It consists of three parts: feeder, shelling machine and round separator; fully automatic; sorting accuracy: 95%; size: height × length = 1980 × 3660 mm. |
| Companies (Location) | Model | Structure | Characteristics |
|---|---|---|---|
| KMEC (Anqiu, China) | BK-200 peanut-shelling machine [118] | ![]() | Capacity: 200 kg/h; power: 2.2 kw; weight: about 40 kg size: 630 × 600 × 930 mm |
| Yantai Lingyuan Peanut Machinery Co. Ltd. (Yantai, China) | LY-20000 Eco-friendly peanuts shelling machine group [119] | ![]() | Capacity: 6000 kg/h; weight: 2100 kg; power: shelling machine 28 kw, stone remover 9.5 kw; loss ratio: ≤0.2%; shelling rate: ≥99.5%; breakage rate: ≤2%; number of operators: 3–4 people |
| Huojia County Yuhang Machinery Factory (Hujia, China) | 20000 model four-cylinder peanut-shelling machine [120] | ![]() | Capacity: 5000–8000 kg/h; shelling rate: ≥99; breakage rate: ≤5% loss rate: ≤0.5%; clean rate: ≥99% operating moisture: 6.3%~12% size: 3400 × 1860 × 3360 mm |
| Nanjing Institute of Agricultural Mechanization, Ministry of Agriculture and Rural Affairs (Nanjing, China) | 6BH-800 Peanut- shelling machine [121] | ![]() | Capacity: 400 kg/h; breakage rate: ≤5% shelling rate: ≥95 clean rate: ≥96% |
| Peanut seed shelling and sorting complete equipment set [121] | ![]() | Used for peanut stone removal, shelling, and cleaning; capacity: 0.5–1 t/h; breakage rate: ≤5%; impurity rate: ≤1% |
Disclaimer/Publisher’s Note: The statements, opinions and data contained in all publications are solely those of the individual author(s) and contributor(s) and not of MDPI and/or the editor(s). MDPI and/or the editor(s) disclaim responsibility for any injury to people or property resulting from any ideas, methods, instructions or products referred to in the content. |
© 2024 by the authors. Licensee MDPI, Basel, Switzerland. This article is an open access article distributed under the terms and conditions of the Creative Commons Attribution (CC BY) license (https://creativecommons.org/licenses/by/4.0/).
Share and Cite
Liao, X.; Xie, H.; Hu, Z.; Wang, J.; Liu, M.; An, J.; Wei, H.; Zhang, H. Peanut-Shelling Technologies and Equipment: A Review of Recent Developments. Agriculture 2024, 14, 1178. https://doi.org/10.3390/agriculture14071178
Liao X, Xie H, Hu Z, Wang J, Liu M, An J, Wei H, Zhang H. Peanut-Shelling Technologies and Equipment: A Review of Recent Developments. Agriculture. 2024; 14(7):1178. https://doi.org/10.3390/agriculture14071178
Chicago/Turabian StyleLiao, Xuan, Huanxiong Xie, Zhichao Hu, Jiannan Wang, Minji Liu, Jiyou An, Hai Wei, and Huijuan Zhang. 2024. "Peanut-Shelling Technologies and Equipment: A Review of Recent Developments" Agriculture 14, no. 7: 1178. https://doi.org/10.3390/agriculture14071178
APA StyleLiao, X., Xie, H., Hu, Z., Wang, J., Liu, M., An, J., Wei, H., & Zhang, H. (2024). Peanut-Shelling Technologies and Equipment: A Review of Recent Developments. Agriculture, 14(7), 1178. https://doi.org/10.3390/agriculture14071178


















