Design and Performance Test of Soybean Profiling Header Suitable for Harvesting Bottom Pods on Film
Abstract
1. Introduction
2. Materials and Method
2.1. The Composition of Soybean Header Profiling System
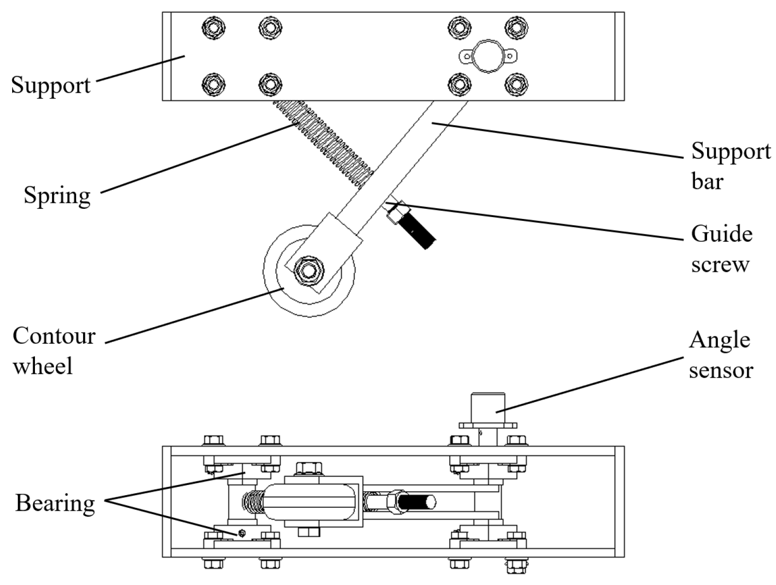
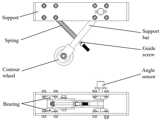
2.2. Cutter Height off the Ground Detection Device Design
2.3. The Relationship between the Height of the Cutter from the Ground and the Angular Momentum
2.4. Header Hydraulic System Modification
2.5. Cutter Height off the Ground Adjustment Control Strategy
3. Results
3.1. Accuracy Test of Ground Height Detection Device
3.2. Hydraulic Response Accuracy Test of Cutter Height Adjusting System
3.3. Field Harvest Experiment of Profiling System
4. Discussion
4.1. The Results of the Accuracy Test of the Ground Height Detection Device
4.2. The Results of the Hydraulic Response Accuracy Test of Cutter Height Adjusting System
4.3. The Results of Field Harvest Experiment of Profiling System
5. Conclusions
Author Contributions
Funding
Institutional Review Board Statement
Data Availability Statement
Conflicts of Interest
References
- Nie, J.; Luo, H.; Zhou, Y.; Li, Q.; Qiu, Q.; Zhang, L. Design and Test of a Low-Loss Soybean Header Based on Synchronous Profiling. Agriculture 2023, 13, 1580. [Google Scholar] [CrossRef]
- Campos, P.; Miller, D.; Copes, J.; Netterville, M.; Brown, S.; Price, T.; Moseley, D.; Genetimis, T.; Egbedi, P.; Parvej, R. Influence of planting date, maturity group, and harvest timing on soybean yield and seed quality. Agron. J. 2024, 116, 446–452. [Google Scholar] [CrossRef]
- Chaab, R.; Karparvarfard, S.; Rahmanian-Koushkaki, H.; Mortezaei, A.; Mohammadi, M. Predicting Header Wheat Loss in a Combine Harvester, a New Approach. J. Saudi Soc. Agric. Sci. 2020, 19, 179–184. [Google Scholar] [CrossRef]
- Guo, S.; Xu, J. Development Status and Existing Problems of Soybean Food Industry in China. J. Food Sci. Technol. 2023, 41, 1–8. [Google Scholar]
- Luo, Y. On Farm Harvest and Storage Losses of Oil Crops and the Impact on Resources and Environment in China. Chin. J. Oil Crop Sci. 2022, 44, 249–256. [Google Scholar]
- Arends-Kuenning, M.; Garcias, M.; Kamei, A.; Shikida, P.; Romani, G. Factors associated with harvest and postharvest loss among soybean farmers in Western Parana State, Brazil. Food Policy 2022, 112, 102363. [Google Scholar] [CrossRef]
- Li, Y.; Xu, L.; Lv, L.; Shi, Y.; Yu, X. Study on modeling method of a multi-parameter control system for threshing and cleaning devices in the grain combine harvester. Agric. J. 2022, 12, 1483. [Google Scholar]
- Wang, F.; Liu, Y.; Li, Y.; Ji, K. Research and experiment on variable-diameter threshing drum with movable radial plates for combine harvester. Agric. J. 2023, 13, 1487. [Google Scholar] [CrossRef]
- Geng, A.; Zhang, M.; Zhang, J.; Zhang, Z.; Gao, A.; Zheng, J. Design and experiment of automatic control system for corn header height. Nongye Jixie Xuebao/Trans. Chin. Soc. Agric. Mach. 2020, 51, 118–125. [Google Scholar]
- Dimitrov, V.; Borisova, L.; Nurutdinova, I. Development and analysis of fuzzy expert data for technological adjustment of a grain harvester header.E3S Web of Conferences. EDP Sci. 2020, 175, 05027. [Google Scholar]
- Wang, Q.; Meng, Z.-J.; Wen, C.-K.; Qin, W.-C.; Wang, F.; Zhang, A.-Q.; Zhao, C.-J.; Yin, Y.-X. Grain combine harvester header profiling control system development and testing. Comput. Electron. Agric. 2024, 223, 109082. [Google Scholar] [CrossRef]
- Sritarapipat, T.; Rakwatin, P.; Kasetkasem, T. Automatic rice crop height measurement using a field server and digital image processing. Sensors 2014, 14, 900–926. [Google Scholar] [CrossRef] [PubMed]
- Xiong, J.; He, Z.; Lin, R.; Liu, Z.; Bu, R.; Yang, Z.; Peng, H.; Zou, X. Visual positioning technology of picking robots for dynamic litchi clusters with disturbance. Comput. Electron. Agric. 2018, 151, 226–237. [Google Scholar] [CrossRef]
- Ni, Y.; Jin, C.; Chen, M.; Yuan, W.; Qian, Z.; Yang, T.; Cai, Z. Computational model and adjustment system of header height of soybean harvesters based on soil-machine system. Comput. Electron. Agric. 2021, 183, 105907. [Google Scholar] [CrossRef]
- Douglas, H.; Kong, N. Harvesting Header Height Control. European Patent 3850937, 30 July 2021. [Google Scholar]
- Shearer, B. Header with Flexible Crop Cutting Knife Mounted on Flex Blades. US10791671, 6 October 2020. [Google Scholar]
- Long, Z.; Xiang, Y.; Li, Y.; Hu, Z.; Liu, A.; Dai, X. Adaptive Adjustment System of Header Height Based on Inclination Sensor. J. China Agric. Univ. 2021, 26, 200–208. [Google Scholar]
- Cook, J.; Zachary, L. Header Height Control System with Multiple Height Sensors. European Patent AU2017323562, 12 September 2020. [Google Scholar]
- Haydar, Z.; Esau, T.J.; Farooque, A.A.; Zaman, Q.U.; Hennessy, P.J.; Singh, K.; Abbas, F. Deep learning suported machine vision system to precisely automate the wild blueberry harvester header. Sci. Rep. 2023, 13, 10198. [Google Scholar] [CrossRef]
- Li, Y.; Xiang, Y.; Lin, J.; Hu, Z.; Long, Z. Ridge recognition algorithm for leaf vegetables based on machine vision. J. China Agric. Univ. 2020, 25, 88–98. [Google Scholar]
- Gong, Y.; Jin, Z.; Bai, X.; Wang, S.; Wu, L.; Huang, W. Design and Experiment of Servo Control System for Sugarcane Header. Trans. Chin. Soc. Agric. Mach. 2023, 54, 119–138. [Google Scholar]
- Zoerb, T. Automatic header-height control for grain crops. Trans. ASAE 1965, 8, 284–287. [Google Scholar] [CrossRef]
- Nielsen, S.K.; Munkholm, L.J.; Lamandé, M.; Nørremark, M.; Skou-Nielsen, N.; Edwards, G.T.; Green, O. Seed drill instrumentation for spatial coulter depth measurements. Comput. Electron. Agric. 2017, 141, 207–214. [Google Scholar] [CrossRef]
- Wu, J.; Li, C.; Pan, X.; Wang, X.; Zhao, X.; Gao, Y.; Yang, S.; Zhai, C. Model for Detecting Boom Height Based on an Ultrasonic Sensor for the Whole Growth Cycle of Wheat. Agriculture 2024, 14, 21. [Google Scholar] [CrossRef]
- Liu, W.; Zeng, S.; Chen, X. Design and Experiment of Adaptive Profiling Header Based on Multi-Body Dynamics-Discrete Element Method Coupling. Agriculture 2024, 14, 105. [Google Scholar] [CrossRef]
- Hou, M.; Ni, J.; Mao, H. Effects of Airflow Disturbance on the Content of Biochemical Components and Mechanical Properties of Cucumber Seedling Stems. Agriculture 2023, 13, 1125. [Google Scholar] [CrossRef]
- Liu, Q.; Li, C.; Wei, X.; Lu, Z.; Wang, A. Research on the header height control strategy of combine harvester based on LQR. J. Electron. Meas. Instrum. 2022, 36, 65–72. [Google Scholar]
- Li, J.; Huang, H.; Wang, Y.; Tian, L.; Ren, L. Development on Research of Soft-terrain Machine Systems. Trans. Chin. Soc. Agric. Mach. 2015, 46, 306–320. [Google Scholar]
- Liang, Z.; Wada, M. Development of cleaning systems for combine harvesters: A review. Biosyst. Eng. 2023, 236, 79–102. [Google Scholar] [CrossRef]
- Zhuang, X.; Li, Y. Header Height Control Strategy of Harvester Based on Robust Feedback Linearization. Trans. Chin. Soc. Agric. Mach. 2020, 51, 123–130. [Google Scholar]
- Xie, Y.; Alleyne, A.; Greer, A.; Deneault, D. Fundamental Limits in Combine Harvester Header Height Control. J. Dyn. Syst. Meas. Control.-Trans. Asme 2013, 135, 034503. [Google Scholar] [CrossRef]
- Shi, Q.; Wang, B.; Mao, H.; Liu, Y. Calibration and measurement of micrometre-scale pollen particles for discrete element method parameters based on the Johnson-Kendal-Roberts model. Biosyst. Eng. 2023, 237, 83–91. [Google Scholar] [CrossRef]
- Tan, H.; Wang, G.; Zhou, S.; Jia, H.; Qu, M.; Xiang, M.; Gao, X.; Zhou, Z.; Li, H.; Zou, Z. Design and Experiment of Header Height Adaptive Adjustment System for Maize (Zea mays L.) Harvester. Sustainability 2023, 15, 14137. [Google Scholar] [CrossRef]
- Zhu, Q.; Zhang, H.; Zhu, Z.; Gao, Y.; Chen, L. Structural Design and Simulation of Pneumatic Conveying Line for a Paddy Side-Deep Fertilisation System. Agriculture 2022, 12, 867. [Google Scholar] [CrossRef]
- Qu, Z.; Lu, Q.; Shao, H.; Le, J.; Wang, X.; Zhao, H.; Wang, W. Design and Test of a Grain Cleaning Loss Monitoring Device for Wheat Combine Harvester. Agriculture 2024, 14, 671. [Google Scholar] [CrossRef]
- Pan, F.; Chen, J.; Zhang, H.; Han, L.; Dong, Y.; Li, B.; Ji, C. Design and Experiment of Plate Taking Control System of Edible Sunflower (Edulis helianthus catino L.) Harvester. Agriculture 2024, 14, 592. [Google Scholar] [CrossRef]
- Liang, Z.; Qin, Y.; Su, Z. Establishment of a Feeding Rate Prediction Model for Combine Harvesters. Agriculture 2024, 14, 589. [Google Scholar] [CrossRef]
- Wen, H.; Ma, X.; Qin, C.; Chen, H.; Kang, H. Research on Path Tracking of Unmanned Spray Based on Dual Control Strategy. Agriculture 2024, 14, 562. [Google Scholar] [CrossRef]




















Disclaimer/Publisher’s Note: The statements, opinions and data contained in all publications are solely those of the individual author(s) and contributor(s) and not of MDPI and/or the editor(s). MDPI and/or the editor(s) disclaim responsibility for any injury to people or property resulting from any ideas, methods, instructions or products referred to in the content. |
© 2024 by the authors. Licensee MDPI, Basel, Switzerland. This article is an open access article distributed under the terms and conditions of the Creative Commons Attribution (CC BY) license (https://creativecommons.org/licenses/by/4.0/).
Share and Cite
Wang, S.; Li, B.; Chen, S.; Tang, Z.; Zhou, W.; Guo, X. Design and Performance Test of Soybean Profiling Header Suitable for Harvesting Bottom Pods on Film. Agriculture 2024, 14, 1058. https://doi.org/10.3390/agriculture14071058
Wang S, Li B, Chen S, Tang Z, Zhou W, Guo X. Design and Performance Test of Soybean Profiling Header Suitable for Harvesting Bottom Pods on Film. Agriculture. 2024; 14(7):1058. https://doi.org/10.3390/agriculture14071058
Chicago/Turabian StyleWang, Shiguo, Bin Li, Shuren Chen, Zhong Tang, Weiwei Zhou, and Xiaohu Guo. 2024. "Design and Performance Test of Soybean Profiling Header Suitable for Harvesting Bottom Pods on Film" Agriculture 14, no. 7: 1058. https://doi.org/10.3390/agriculture14071058
APA StyleWang, S., Li, B., Chen, S., Tang, Z., Zhou, W., & Guo, X. (2024). Design and Performance Test of Soybean Profiling Header Suitable for Harvesting Bottom Pods on Film. Agriculture, 14(7), 1058. https://doi.org/10.3390/agriculture14071058

