Design and Experimental Research of a Comb-Type Buckwheat-Harvesting Device
Abstract
:1. Introduction
2. The Structure and Working Principle of the Whole Machine
3. Key Component Design and Parameter Determination
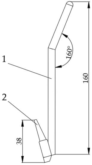
3.1. The Design of the Threshing Mechanism
3.1.1. Length of the Threshing Mechanism L
3.1.2. Width of the Threshing Mechanism D
3.1.3. Design and Material Selection of the Flexible Comb Tooth
3.1.4. Number of Rows of the Flexible Comb Tooth n
3.2. Dynamic Analysis of Combing Process
3.3. Analysis of the Buckwheat Threshing Simulation Process
3.3.1. Establishment of the Rigid–Flexible Mixed Model of Buckwheat (Stem–Fruit and Stalk–Grain)
3.3.2. Defining the Key Technologies That Drive Constraints and Processes
3.3.3. Grain Drop Simulation Test and Analysis of Results
4. Field Experiments and Analysis of Results
4.1. Experiment Equipment and Materials
4.2. Factor Selection for the Experiment
4.3. Experimental Program
4.4. Field Test and Analysis of Results
4.5. Development and Testing of Regression Models for the Threshing Rate, Breakage Rate, and Loss Rate
4.6. Parameter Optimization and Experiments with a Comb-Type Buckwheat-Harvesting Device
5. Conclusions
Author Contributions
Funding
Institutional Review Board Statement
Data Availability Statement
Acknowledgments
Conflicts of Interest
References
- Strahm, S.; Fueglistaller, D.; Laedrach, C.; Enggist, A.; Thuet, A.; Luginbuehl, C.; Ramseier, H.; Hiltbrunner, J. Growing buckwheat in Switzerland: New varieties for an old niche crop. Agrar. Schwe. 2019, 10, 198–205. [Google Scholar]
- Li, S.; Zhang, Q. Forwards in the Development of Functional Foods from Buckwheat. Criti. Rev. Food Sci. Nutr. 2001, 41, 451–464. [Google Scholar] [CrossRef]
- Tao, C.; Yuan, P.; Wang, X.; Mou, B. Study on development and exploitation of buckwheat product. Cere. Food Indus. 2014, 21, 52–54. [Google Scholar]
- Wang, M.; Li, W.; Wang, L. Research on nutritional processing and industrialization of buckwheat. Agric. Eng. Technol. 2013, 12, 28–31. [Google Scholar]
- Feng, B.; Yao, A.; Gao, J.; Gao, X.; Chai, Y. Study on regional distribution and development of buckwheat in China. Chin. Agric. Sci. Bull. 2005, 03, 375–377. [Google Scholar]
- Huang, X.; Zhang, W.; Dang, W.; Zhang, K.; Feng, S.; Liu, Z.; Yang, F. Research status and development trend of buckwheat harvesting machinery. Farm Mach. 2018, 10, 84–90. [Google Scholar]
- Strakšas, A.; Kucinskas, V.; Vaiciukevičius, E. The investigation and comparison of buckwheat harvesting technologies in Lithuania. Zemes Ukio Inz. Moksl. Darb. 2011, 43, 44–59. [Google Scholar]
- Yi, M.; He, J.; Zheng, D.; Wu, N.; Liu, S.; Xu, F.; He, Y. Design on threshing apparatus with air suction for buckwheat. Agric. Eng. 2021, 11, 106–110. [Google Scholar]
- Kang, D.; Wu, C.; Liang, S.; Tang, Q. Design and test of the threshing device of millet combine harvester. J. China Agric. Univ. 2017, 22, 135–143. [Google Scholar]
- Geng, L.; Li, G.; Zhang, L.; Shi, Q.; Lu, X. Design of threshing mini type wheat combine. J. Chin. Agric. Mech. 2014, 04, 25–28+31. [Google Scholar]
- Chen, J.; Zhao, J.; Chen, Y.; Bu, L.; Hu, G.; Zhang, E. Design and experiment on vibrating and comb brushing harvester for lycium barbarum. Trans. Chin. Soc. Agric. Mach. 2019, 01, 159–168. [Google Scholar]
- Xie, F.; Liu, X.; Lu, X.; Sun, S.; Ren, S.; Tang, C. Kinetic analysis of flexible threshing under law of conservation of energy. J. Hunan Agric. Univ. 2009, 35, 181–184. [Google Scholar]
- Xu, L.; Chen, J.; Wu, G.; Yuan, Q.; Ma, S.; Yu, C.; Duan, Z.; Xing, J.; Liu, X. Design and operating parameter optimization of comb brush vibratory harvesting device for wolfberry. Trans. CSAE 2018, 34, 75–82. [Google Scholar]
- Li, R.; Wu, Y.; Li, S.; Han, D.; Yang, L.; Yang, M.; Chen, Z. Simulation analysis and parameter optimization of a prickly ash vibration picker based on ANSYS Workbench and ADAMS. J. Southw. Univ. 2021, 43, 57–66. [Google Scholar]
- Yan, D.; Wang, J.; Luo, L.; Liu, W.; Wei, H.; Wang, J.; Liu, B.; Lu, Q. Vibration shedding characteristics of the grapes under the excitation of broken stems and experimental research. Trans. CSAE 2021, 37, 31–40. [Google Scholar]
- Yuan, P.; Zhu, X.; You, J.; Han, C.; Zhang, X.; Guo, H. Development of crankshaft vibration threshing and harvesting equipment for wine grape. Trans. CSAE 2020, 36, 67–74. [Google Scholar]
- Peng, Y.; Zhang, Z.; Liu, Y.; Xu, T.; Zhang, L.; Wang, R. Kinematics and vibration mode analysis of vibrating harvesting for wolfberry. Mech. Res. Appl. 2019, 32, 8–13+16. [Google Scholar]
- Wang, R.; Zheng, Z.; Xu, L.; Wu, G.; Chen, J.; Yuan, Q.; Ma, S.; Yu, C.; Duan, Z.; Xing, J. Simulation and experiment on vibration characteristics of lycium barbarum falling off. Agric. Mech. Res. 2019, 10, 120–128. [Google Scholar]
- Hu, M.; Wan, F.; Du, X.; Huang, X. Design of vibrating wolfberry picking machine. J. Chin. Agric. Mech. 2018, 07, 25–29. [Google Scholar]
- Li, Y.; Yang, X.; Wang, J.; Zhang, J.; Yin, S. Simulation of wine grape plants forced vibration based on Adams. J. Anhui Agric. Scien. 2015, 43, 220–224. [Google Scholar]
- Li, C.; Xing, J.; Xu, L.; He, S.; Li, S. Design and experiment of wine grape threshing mechanism with flexible combing striping monomer. Trans. CSAE 2015, 31, 290–296. [Google Scholar]
- Du, Y.; Mao, E.; Song, Z.; Zhu, Z.; Gao, J. Simulation on corn plants in harvesting process based on ADAMS. Trans. Chin. Soc. Agric. Mach. 2012, 43, 106–111. [Google Scholar]
- Cui, T.; Liu, J.; Zhang, D.; Shi, S. Flexible body simulation for corn stem based on ANSYS and ADAMS. Trans. Chin. Soc. Agric. Mach. 2012, 43, 112–115. [Google Scholar]
- Fan, L.; Wang, C.; Liu, M.; Luo, J. Experimental study on the impact of vibration parameters on fruit trees. Agric. Mech. Res. 2016, 10, 165–168. [Google Scholar]
- Shi, L.; Fan, J.; Qiao, H. Design and simulation of blueberry picking mechanism based on the ADAMS. Mech. Res. Appli. 2015, 28, 158–160. [Google Scholar]
- Qian, Z.; Jin, C.; Yuan, W.; Ni, Y.; Zhang, G. Frictional impact dynamics model of threshing process between flexible teeth and grains. J. Jilin Univ. 2021, 51, 1121–1130. [Google Scholar]

















| Harvesting Devices | Background | Advantages | Disadvantages |
|---|---|---|---|
| SR500 combine harvester | A kind of buckwheat combine harvester improved by a grain combine harvester | High harvest efficiency and low grain loss rate | Being unable to adapt to hilly mountainous terrain and small-plot planting patterns |
| 4LZ-1.6 and 4LZ-1.8 combine harvesters | A kind of buckwheat combine harvester improved by a grain combine harvester | The efficiency of buckwheat harvesting was improved | The machine causes leakages during cutting and has poor adaptability in hilly and mountainous areas |
| Stripping apparatus with air suction of buckwheat | Addressed the problem that the existing combine grain-harvesting equipment is difficult to adapt to the harvest characteristics of buckwheat | With the best parameter combination, the harvesting rate reached 86.37% | The bench tests were successful, but there was no real machine verification in the field |
| Factors | Coding | Coding Level | ||
|---|---|---|---|---|
| −1 | 0 | 1 | ||
| Machine forward speed (m/s) | X1 | 0.4 | 0.5 | 0.6 |
| Speed of the comb tooth (m/s) | X2 | 0.8 | 1.0 | 1.2 |
| Tilt angle of the threshing mechanism (°) | X3 | 35 | 50 | 65 |
| Number | X1 | X2 | X3 | Yt | Yb | Yl |
|---|---|---|---|---|---|---|
| 1 | −1 | 0 | 1 | 75.64 | 1.68 | 5.17 |
| 2 | 0 | 1 | −1 | 81.27 | 1.83 | 6.31 |
| 3 | 0 | 0 | 0 | 77.98 | 1.69 | 5.58 |
| 4 | 0 | 0 | 0 | 79.05 | 1.60 | 5.12 |
| 5 | 1 | −1 | 0 | 73.26 | 1.63 | 5.38 |
| 6 | −1 | 0 | −1 | 76.26 | 1.61 | 5.47 |
| 7 | 1 | 0 | −1 | 76.39 | 1.34 | 3.90 |
| 8 | 1 | 0 | 1 | 73.56 | 1.63 | 4.86 |
| 9 | 0 | 1 | 1 | 80.76 | 2.09 | 7.35 |
| 10 | −1 | −1 | 0 | 76.41 | 1.82 | 6.28 |
| 11 | 0 | 0 | 0 | 78.19 | 1.64 | 5.57 |
| 12 | 0 | 0 | 0 | 79.02 | 1.56 | 5.24 |
| 13 | −1 | 1 | 0 | 82.52 | 2.48 | 8.22 |
| 14 | 0 | −1 | 1 | 74.14 | 1.45 | 4.50 |
| 15 | 1 | 1 | 0 | 79.68 | 2.03 | 7.04 |
| 16 | 0 | −1 | −1 | 72.12 | 1.54 | 5.05 |
| 17 | 0 | 0 | 0 | 78.52 | 1.67 | 5.68 |
| Number | Variance Source | Quadratic Sum | Degrees of Freedom | Mean Square | F Value | p Value (Prob > F) |
|---|---|---|---|---|---|---|
| 1 | Regression | 144.67 | 9 | 16.07 | 37.40 | <0.0001 ** |
| 2 | X1 | 11.93 | 1 | 11.93 | 27.76 | 0.0012 ** |
| 3 | X2 | 100.11 | 1 | 100.11 | 232.92 | <0.0001 ** |
| 4 | X3 | 0.45 | 1 | 0.45 | 1.04 | 0.3420 |
| 5 | X1 X2 | 0.024 | 1 | 0.024 | 0.056 | 0.8199 |
| 6 | X1 X3 | 0.88 | 1 | 0.88 | 2.06 | 0.1947 |
| 7 | X2 X3 | 1.6 | 1 | 1.6 | 3.72 | 0.0950 |
| 8 | X12 | 7.04 | 1 | 7.04 | 16.39 | 0.0049 ** |
| 9 | X22 | 2.12 | 1 | 2.12 | 4.92 | 0.0620 |
| 10 | X32 | 20.17 | 1 | 20.17 | 46.92 | 0.0002 ** |
| 11 | Residual error | 3.01 | 7 | 0.43 | ||
| 12 | Lack of fit | 2.08 | 3 | 0.69 | 3.00 | 0.1583 |
| 13 | Error | 0.93 | 4 | 0.23 | ||
| 14 | Sum | 147.68 | 16 | |||
| R2 = 0.9796; Adj R2 = 0.9534; Coefficient of variation C.V = 0.85% | ||||||
| Number | Variance Source | Quadratic Sum | Degrees of Freedom | Mean Square | F Value | p Value (Prob > F) |
|---|---|---|---|---|---|---|
| 1 | Regression | 1.13 | 9 | 0.13 | 28.85 | 0.0001 ** |
| 2 | X1 | 0.12 | 1 | 0.12 | 26.44 | 0.0013 ** |
| 3 | X2 | 0.50 | 1 | 0.50 | 113.59 | <0.0001 ** |
| 4 | X3 | 0.035 | 1 | 0.035 | 8.06 | 0.0251 * |
| 5 | X1 X2 | 0.017 | 1 | 0.017 | 3.88 | 0.0896 |
| 6 | X1 X3 | 0.012 | 1 | 0.012 | 2.78 | 0.1396 |
| 7 | X2 X3 | 0.031 | 1 | 0.031 | 7.03 | 0.0329 * |
| 8 | X12 | 0.040 | 1 | 0.040 | 9.23 | 0.0189 * |
| 9 | X22 | 0.29 | 1 | 0.29 | 65.44 | <0.0001 ** |
| 10 | X32 | 0.11 | 1 | 0.11 | 26.22 | 0.0014 ** |
| 11 | Residual error | 0.031 | 7 | 0.0044 | ||
| 12 | Lack of fit | 0.019 | 3 | 0.0065 | 2.34 | 0.2150 |
| 13 | Error | 0.011 | 4 | 0.0028 | ||
| 14 | Sum | 1.16 | 16 | |||
| R2 = 0.9737; Adj R2 = 0.9400; Coefficient of variation C.V = 3.83% | ||||||
| Number | Variance Source | Quadratic Sum | Degrees of Freedom | Mean Square | F Value | p Value (Prob > F) |
|---|---|---|---|---|---|---|
| 1 | Regression | 18.12 | 9 | 2.01 | 50.77 | <0.0001 ** |
| 2 | X1 | 1.96 | 1 | 1.96 | 49.43 | 0.0002 ** |
| 3 | X2 | 7.43 | 1 | 7.43 | 187.37 | <0.0001 ** |
| 4 | X3 | 0.17 | 1 | 0.17 | 4.17 | 0.0805 |
| 5 | X1 X2 | 0.020 | 1 | 0.020 | 0.49 | 0.5047 |
| 6 | X1 X3 | 0.40 | 1 | 0.40 | 10.01 | 0.0158 * |
| 7 | X2 X3 | 0.63 | 1 | 0.63 | 15.94 | 0.0052 ** |
| 8 | X12 | 0.12 | 1 | 0.12 | 3.06 | 0.1238 |
| 9 | X22 | 5.30 | 1 | 5.30 | 133.72 | <0.0001 ** |
| 10 | X32 | 2.42 | 1 | 2.42 | 60.96 | 0.0001 ** |
| 11 | Residual error | 0.28 | 7 | 0.040 | ||
| 12 | Lack of fit | 0.041 | 3 | 0.014 | 0.23 | 0.8701 |
| 13 | Error | 0.24 | 4 | 0.059 | ||
| 14 | Sum | 18.40 | 16 | |||
| R2 = 9849; Adj R2 = 0.9655; Coefficient of variation C.V = 3.5% | ||||||
| Experiment Number | 1 | 2 | 3 | Mean |
|---|---|---|---|---|
| Threshing rate Yt (%) | 79.56 | 82.14 | 78.61 | 80.10 |
| Breakage rate Yb (%) | 1.83 | 1.75 | 1.92 | 1.83 |
| Loss rate Yl (%) | 6.97 | 7.26 | 6.88 | 7.03 |
Disclaimer/Publisher’s Note: The statements, opinions and data contained in all publications are solely those of the individual author(s) and contributor(s) and not of MDPI and/or the editor(s). MDPI and/or the editor(s) disclaim responsibility for any injury to people or property resulting from any ideas, methods, instructions or products referred to in the content. |
© 2023 by the authors. Licensee MDPI, Basel, Switzerland. This article is an open access article distributed under the terms and conditions of the Creative Commons Attribution (CC BY) license (https://creativecommons.org/licenses/by/4.0/).
Share and Cite
Wang, C.; Shao, Y.; Zhang, Y.; Xin, Z.; Chen, J.; Zhang, W.; Yang, F. Design and Experimental Research of a Comb-Type Buckwheat-Harvesting Device. Agriculture 2023, 13, 1383. https://doi.org/10.3390/agriculture13071383
Wang C, Shao Y, Zhang Y, Xin Z, Chen J, Zhang W, Yang F. Design and Experimental Research of a Comb-Type Buckwheat-Harvesting Device. Agriculture. 2023; 13(7):1383. https://doi.org/10.3390/agriculture13071383
Chicago/Turabian StyleWang, Chun, Yongchao Shao, You Zhang, Zhi Xin, Jian Chen, Weiguo Zhang, and Fuzeng Yang. 2023. "Design and Experimental Research of a Comb-Type Buckwheat-Harvesting Device" Agriculture 13, no. 7: 1383. https://doi.org/10.3390/agriculture13071383
APA StyleWang, C., Shao, Y., Zhang, Y., Xin, Z., Chen, J., Zhang, W., & Yang, F. (2023). Design and Experimental Research of a Comb-Type Buckwheat-Harvesting Device. Agriculture, 13(7), 1383. https://doi.org/10.3390/agriculture13071383

