Automatic Disease Detection of Basal Stem Rot Using Deep Learning and Hyperspectral Imaging
Abstract
1. Introduction
2. Materials and Methods
2.1. Dataset
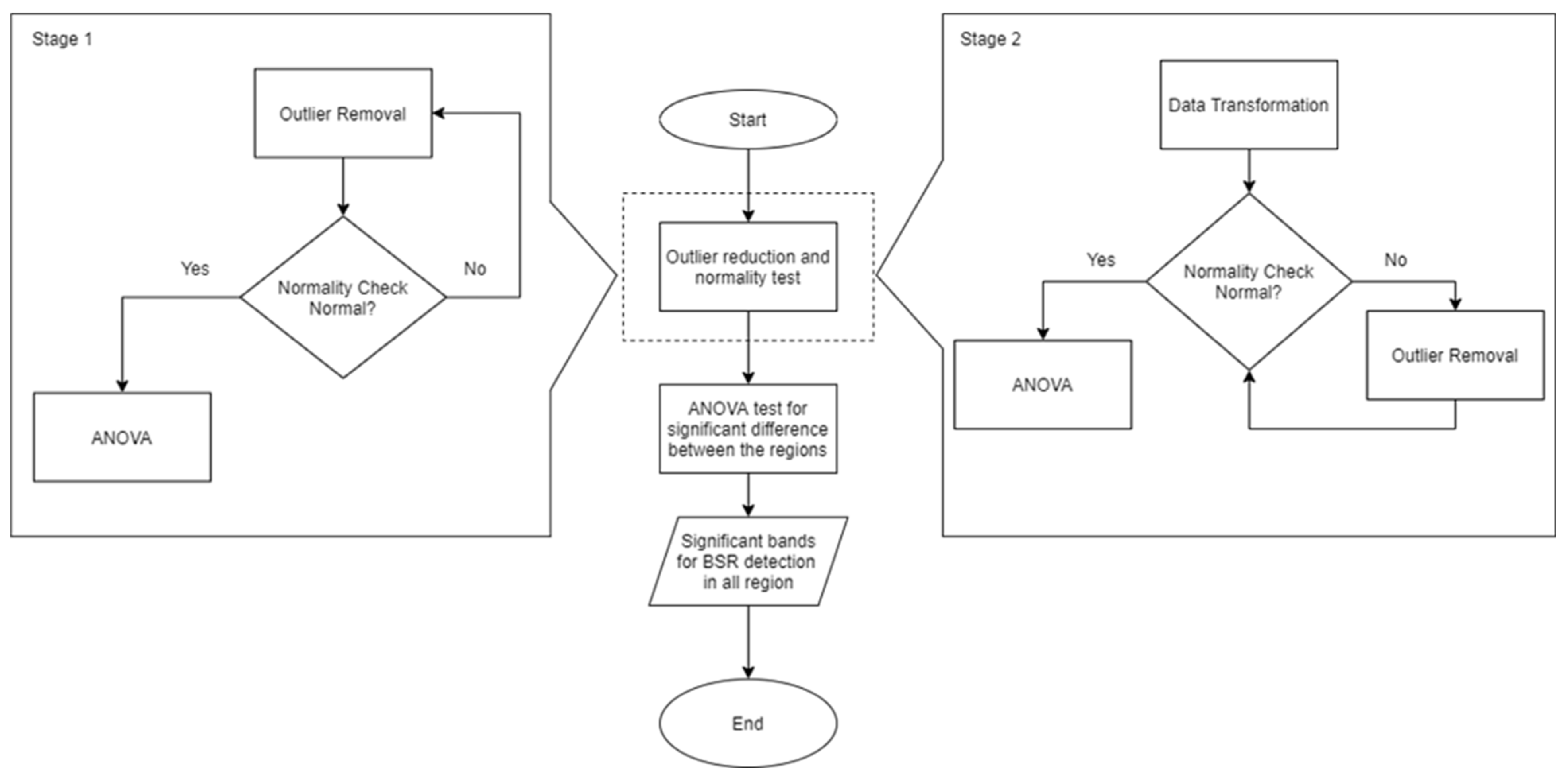
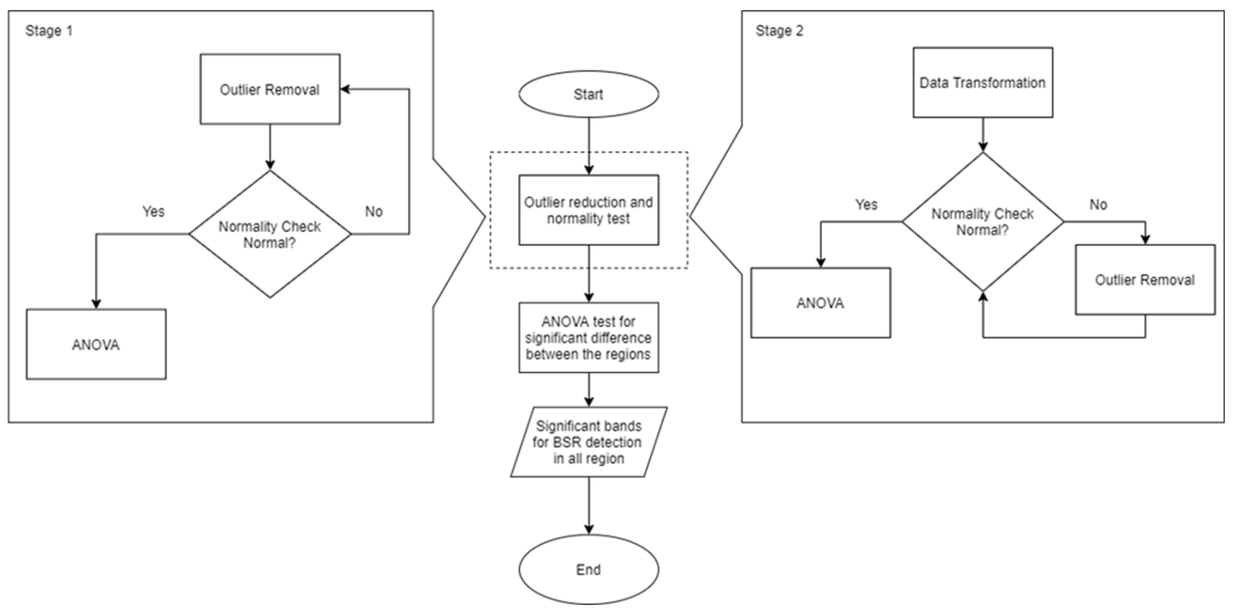
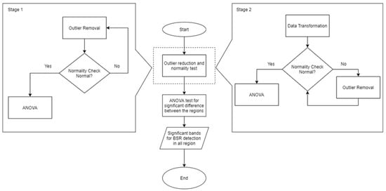
2.2. Region of Interest (RoI) and Wavelength Selection for BSR Detection
- A:
- Inner region—2 cm from the centre of the seedling to 5 cm square.
- B:
- Middle region—5 cm from the centre of the seedling to 8 cm square.
- C:
- Outer region—8 cm from centre of the seedling to 11 cm square.
2.3. Wavelength Selection for Background Removal
2.4. Image Generation and Augmentation
2.4.1. Image Generation for BSR Detection
2.4.2. Image Generation for Background Removal
2.5. Model Development
2.5.1. Model Architecture
- VGG16
- b.
- Mask RCNN
2.5.2. Detection Models
- VGG16
- b.
- Mask RCNN + VGG16
- c.
- Mask RCNN
2.6. Performance Evaluation of the Models
3. Results
3.1. Identified Wavelength for BSR Detection
3.2. Image Segmentation for Background Removal
3.2.1. Identified Wavelengths for Background Removal
3.2.2. Performance of the Mask RCNN for Generating Segmented Images
3.3. Performance of the BSR Detection Models
4. Conclusions
Author Contributions
Funding
Institutional Review Board Statement
Data Availability Statement
Conflicts of Interest
References
- Azmi, A.N.N.; Khairunniza-Bejo, S.; Jahari, M.; Muharram, F.M.; Yule, I. Identification of a Suitable Machine Learning Model for Detection of Asymptomatic Ganoderma Boninense Infection in Oil Palm Seedlings Using Hyperspectral Data. Appl. Sci. 2021, 11, 11798. [Google Scholar] [CrossRef]
- Flood, J.; Hasan, Y.; Foster, H. Ganoderma Diseases of Oil Palm—An Interpretation from Bah Lias Research Station. Planter 2002, 78, 689–696, 699–706, 709–710. [Google Scholar]
- Ishaq, I.; Alias, M.S.; Kadir, J.; Kasawani, I. Detection of Basal Stem Rot Disease at Oil Palm Plantations Using Sonic Tomography. J. Sustain. Sci. Manag. 2014, 9, 52–57. [Google Scholar]
- Castillo, S.Y.; Rodríguez, M.C.; González, L.F.; Zúñiga, L.F.; Mestizo, Y.A.; Medina, H.C.; Montoya, C.; Morales, A.; Romero, H.M.; Sarria, G.A. Ganoderma Zonatum Is the Causal Agent of Basal Stem Rot in Oil Palm in Colombia. J. Fungi 2022, 8, 230. [Google Scholar] [CrossRef]
- Naher, L.; Seri Intan, M.; Noorhazira, S. Trichoderma Harzianum T32 Growth and Antagonistic Performance against Ganoderma Boninense On Different Culture Media. In Proceedings of the 3rd International Conference on Biological, Chemical and Environmental Sciences (BCES-2015), Kuala Lumpur, Malaysia, 21–22 September 2015. [Google Scholar]
- Murphy, D.J.; Goggin, K.; Paterson, R.R.M. Oil Palm in the 2020s and beyond: Challenges and Solutions. CABI Agric. Biosci. 2021, 2, 39. [Google Scholar] [CrossRef]
- Naher, L.; Yusuf, U.K.; Tan, S.G.; Ismail, A. Ecological Status of Ganoderma and Basal Stem Rot Disease of Oil Palms (Elaeis Guineensis Jacq.). Aust. J. Crop Sci. 2013, 7, 1723–1727. [Google Scholar]
- Turnbull, N.; de Franqueville, H.; Breton, F.; Jeyen, S.; Syahputra, I.; Cochard, B.; Durand-Gasselin, T. Breeding Methodology to Select Oil Palm Planting Material Partially Resistant to Ganoderma boninense. In Proceedings of the 5th Quadrennial International Oil Palm Conference, Bali, Indonesia, 17–19 June 2014. [Google Scholar]
- Fang, Y.; Ramasamy, R. Current and Prospective Methods for Plant Disease Detection. Biosensors 2015, 5, 537–561. [Google Scholar] [CrossRef]
- Arango, M.; Martínez, G.; Torres, G. Advances in the Interpretation of Tomographic Images as an Early Detection Method of Oil Palm Affected by Basal Stem Rot in Colombia. Plant Dis. 2016, 100, 1559–1563. [Google Scholar] [CrossRef][Green Version]
- Idris, A.S.; Mazliham, M.S.; Loonis, P.; Wahid, M.B. MPOB Information Series; MPOB: Bandar Baru Bangi, Malaysia, 2010.
- Su’ud, M.M.; Loonis, P.; Seman, I.A. Towards Automatic Recognition and Grading of Ganoderma Infection Pattern Using Fuzzy Systems. T. Eng. Comput. Technol. 2007, 1, 6. [Google Scholar]
- Markom, M.A.; Shakaff, A.Y.M.; Adom, A.H.; Ahmad, M.N.; Hidayat, W.; Abdullah, A.H.; Fikri, N.A. Intelligent Electronic Nose System for Basal Stem Rot Disease Detection. Comput. Electron. Agric. 2009, 66, 140–146. [Google Scholar] [CrossRef]
- Kresnawaty, I.; Mulyatni, A.S.; Eris, D.D.; Prakoso, H.T.; Tri-Panji; Triyana, K.; Widiastuti, H. Electronic Nose for Early Detection of Basal Stem Rot Caused by Ganoderma in Oil Palm. IOP Conf. Ser. Earth Environ. Sci. 2020, 468, 012029. [Google Scholar] [CrossRef]
- Khaled, A.Y.; Abd Aziz, S.; Bejo, S.K.; Nawi, N.M.; Abu Seman, I. Spectral Features Selection and Classification of Oil Palm Leaves Infected by Basal Stem Rot (BSR) Disease Using Dielectric Spectroscopy. Comput. Electron. Agric. 2018, 144, 297–309. [Google Scholar] [CrossRef]
- Khaled, A.Y.; Abd Aziz, S.; Bejo, S.K.; Mat Nawi, N.; Abu Seman, I. Artificial Intelligence for Spectral Classification to Identify the Basal Stem Rot Disease in Oil Palm Using Dielectric Spectroscopy Measurements. Trop. Plant Pathol. 2022, 47, 140–151. [Google Scholar] [CrossRef]
- Liaghat, S.; Mansor, S.; Ehsani, R.; Shafri, H.Z.M.; Meon, S.; Sankaran, S. Mid-Infrared Spectroscopy for Early Detection of Basal Stem Rot Disease in Oil Palm. Comput. Electron. Agric. 2014, 101, 48–54. [Google Scholar] [CrossRef]
- Johari, S.N.Á.M.; Bejo, S.K.; Lajis, G.A.; DaimDai, L.D.J.; Keat, N.B.; Ci, Y.Y.; Ithnin, N. Detecting BSR-Infected Oil Palm Seedlings Using Thermal Imaging Technique. Basrah J. Agric. Sci. 2021, 34, 73–80. [Google Scholar] [CrossRef]
- Hashim, I.C.; Shariff, A.R.M.; Bejo, S.K.; Muharam, F.M.; Ahmad, K. Classification of Non-Infected and Infected with Basal Stem Rot Disease Using Thermal Images and Imbalanced Data Approach. Agronomy 2021, 11, 2373. [Google Scholar] [CrossRef]
- Kurihara, J.; Koo, V.-C.; Guey, C.W.; Lee, Y.P.; Abidin, H. Early Detection of Basal Stem Rot Disease in Oil Palm Tree Using Unmanned Aerial Vehicle-Based Hyperspectral Imaging. Remote Sens. 2022, 14, 799. [Google Scholar] [CrossRef]
- Liaghat, S.; Ehsani, R.; Mansor, S.; Shafri, H.Z.M.; Meon, S.; Sankaran, S.; Azam, S.H.M.N. Early Detection of Basal Stem Rot Disease (Ganoderma) in Oil Palms Based on Hyperspectral Reflectance Data Using Pattern Recognition Algorithms. Int. J. Remote Sens. 2014, 35, 3427–3439. [Google Scholar] [CrossRef]
- Noor Azmi, A.N.; Bejo, S.K.; Jahari, M.; Muharam, F.M.; Yule, I.; Husin, N.A. Early Detection of Ganoderma Boninense in Oil Palm Seedlings Using Support Vector Machines. Remote Sens. 2020, 12, 3920. [Google Scholar] [CrossRef]
- Khairunniza-Bejo, S.; Shahibullah, M.S.; Azmi, A.N.N.; Jahari, M. Non-Destructive Detection of Asymptomatic Ganoderma Boninense Infection of Oil Palm Seedlings Using NIR-Hyperspectral Data and Support Vector Machine. Appl. Sci. 2021, 11, 10878. [Google Scholar] [CrossRef]
- Husin, N.A.; Khairunniza-Bejo, S.; Abdullah, A.F.; Kassim, M.S.M.; Ahmad, D.; Azmi, A.N.N. Application of Ground-Based LiDAR for Analysing Oil Palm Canopy Properties on the Occurrence of Basal Stem Rot (BSR) Disease. Sci. Rep. 2020, 10, 6464. [Google Scholar] [CrossRef] [PubMed]
- Husin, N.A.; Khairunniza-Bejo, S.; Abdullah, A.F.; Kassim, M.S.M.; Ahmad, D. Multi-Temporal Analysis of Terrestrial Laser Scanning Data to Detect Basal Stem Rot in Oil Palm Trees. Precis. Agric. 2022, 23, 101–126. [Google Scholar] [CrossRef]
- Aziz, M.H.A.; Khairunniza-Bejo, S.; Wayayok, A.; Hashim, F.; Kondo, N.; Azmi, A.N.N. Temporal Changes Analysis of Soil Properties Associated with Ganoderma Boninense Pat. Infection in Oil Palm Seedlings in a Controlled Environment. Agronomy 2021, 11, 2279. [Google Scholar] [CrossRef]
- Li, L.; Zhang, S.; Wang, B. Plant Disease Detection and Classification by Deep Learning—A Review. IEEE Access 2021, 9, 56683–56698. [Google Scholar] [CrossRef]
- Feng, L.; Wu, B.; He, Y.; Zhang, C. Hyperspectral Imaging Combined With Deep Transfer Learning for Rice Disease Detection. Front. Plant Sci. 2021, 12, 693521. [Google Scholar] [CrossRef]
- Su, W.-H.; Zhang, J.; Yang, C.; Page, R.; Szinyei, T.; Hirsch, C.D. Evaluation of Mask RCNN for Learning to Detect Fusarium Head Blight in Wheat Images. In Proceedings of the 2020 ASABE Annual International Virtual Meeting, Virtual, 13–15 July 2020; p. 4. [Google Scholar]
- Dananjayan, S. Assessment of State-of-the-Art Deep Learning Based Citrus Disease Detection Techniques Using Annotated Optical Leaf Images. Comput. Electron. Agric. 2022, 14, 106658. [Google Scholar] [CrossRef]
- Anagnostis, A. A Deep Learning Approach for Anthracnose Infected Trees Classification in Walnut Orchards. Comput. Electron. Agric. 2021, 11, 105998. [Google Scholar] [CrossRef]
- Fujita, E.; Uga, H.; Kagiwada, S.; Iyatomi, H. A Practical Plant Diagnosis System for Field Leaf Images and Feature Visualization. Int. J. Eng. Technol. 2018, 7, 49–54. [Google Scholar] [CrossRef]
- Rahman, C.R.; Arko, P.S.; Ali, M.E.; Khan, M.A.I.; Apon, S.H.; Nowrin, F.; Wasif, A. Identification and Recognition of Rice Diseases and Pests Using Convolutional Neural Networks. Biosyst. Eng. 2020, 194, 112–120. [Google Scholar] [CrossRef]
- Rangarajan, A.K.; Purushothaman, R.; Ramesh, A. Tomato Crop Disease Classification Using Pre-Trained Deep Learning Algorithm. Procedia Comput. Sci. 2018, 133, 1040–1047. [Google Scholar] [CrossRef]
- Sun, Y.; Tong, C.; He, S.; Wang, K.; Chen, L. Identification of Nitrogen, Phosphorus, and Potassium Deficiencies Based on Temporal Dynamics of Leaf Morphology and Color. Sustainability 2018, 10, 762. [Google Scholar] [CrossRef]
- Shahrimie, M.A.M.; Mishra, P.; Mertens, S.; Dhondt, S.; Wuyts, N.; Scheunders, P. Modeling Effects of Illumination and Plant Geometry on Leaf Reflectance Spectra in Close-Range Hyperspectral Imaging. In Proceedings of the 2016 8th Workshop on Hyperspectral Image and Signal Processing: Evolution in Remote Sensing (WHISPERS), Los Angeles, CA, USA, 21–24 August 2016; pp. 1–4. [Google Scholar]
- Razali, N.M.; Wah, Y.B. Power Comparisons of Shapiro-Wilk, Kolmogorov-Smirnov, Lilliefors and Anderson-Darling Tests. J. Stat. Model. Anal. 2011, 2, 21–33. [Google Scholar]
- Royston, P. Algorithm AS 181: The W Test for Normality. Appl. Stat. 1982, 31, 176. [Google Scholar] [CrossRef]
- Royston, P. Approximating the Shapiro-Wilk W-Test for Non-Normality. Stat. Comput. 1992, 2, 117–119. [Google Scholar] [CrossRef]
- Royston, P. Remark AS R94: A Remark on Algorithm AS 181: The W-Test for Normality. Appl. Stat. 1995, 44, 547. [Google Scholar] [CrossRef]
- Szegedy, C.; Ioffe, S.; Vanhoucke, V.; Alemi, A. Inception-v4, Inception-ResNet and the Impact of Residual Connections on Learning. arXiv 2016, arXiv:160207261. [Google Scholar] [CrossRef]
- He, K.; Gkioxari, G.; Dollár, P.; Girshick, R. Mask R-CNN. arXiv 2018, arXiv:170306870. [Google Scholar]
- Xi, X.; Xia, K.; Yang, Y.; Du, X.; Feng, H. Evaluation of Dimensionality Reduction Methods for Individual Tree Crown Delineation Using Instance Segmentation Network and UAV Multispectral Imagery in Urban Forest. Comput. Electron. Agric. 2021, 191, 106506. [Google Scholar] [CrossRef]
- Sun, K.; Wang, X.; Liu, S.; Liu, C. Apple, Peach, and Pear Flower Detection Using Semantic Segmentation Network and Shape Constraint Level Set. Comput. Electron. Agric. 2021, 185, 106150. [Google Scholar] [CrossRef]
- Mahbod, A.; Tschandl, P.; Langs, G.; Ecker, R.; Ellinger, I. The Effects of Skin Lesion Segmentation on the Performance of Dermatoscopic Image Classification. Comput. Methods Programs Biomed. 2020, 197, 105725. [Google Scholar] [CrossRef]
- Sawyer Lee, R.; Dunnmon, J.A.; He, A.; Tang, S.; Ré, C.; Rubin, D.L. Comparison of Segmentation-Free and Segmentation-Dependent Computer-Aided Diagnosis of Breast Masses on a Public Mammography Dataset. J. Biomed. Inform. 2021, 113, 103656. [Google Scholar] [CrossRef] [PubMed]
- Chu, C.; Hsu, A.-L.; Chou, K.-H.; Bandettini, P.; Lin, C. Does Feature Selection Improve Classification Accuracy? Impact of Sample Size and Feature Selection on Classification Using Anatomical Magnetic Resonance Images. NeuroImage 2012, 60, 59–70. [Google Scholar] [CrossRef] [PubMed]
- Karabulut, E.M.; Özel, S.A.; İbrikçi, T. A Comparative Study on the Effect of Feature Selection on Classification Accuracy. Procedia Technol. 2012, 1, 323–327. [Google Scholar] [CrossRef]













| Dataset | Wavelength (nm) with Normal Distribution after Transformation | ||
|---|---|---|---|
| RoI = C | RoI = B | RoI = A | |
| µ ± 2σ | None | None | None |
| µ ± 1.5σ | None | None | None |
| µ ± 1σ | 910, 914, 918, 922, 926, 930, 934, 938, 942, 946, 950 | 890, 894, 898,902 | None |
| µ ± 0.5σ | 906, 934, 938, 942 | 890, 894, 898, 902, 906, 910, 914, 918, 922, 930, 934, 938, 942, 946 | 938 |
| RoI | Original | Transform | Normal Fit |
|---|---|---|---|
| A | ![]() | ![]() | ![]() |
| B | ![]() | ![]() | ![]() |
| C | ![]() | ![]() | ![]() |
| Accuracy | Precision | Recall | Specificity | F1 Score |
|---|---|---|---|---|
| 90.48% | 94.63% | 90.49% | 89.25% | 92.51% |
| Model | Segmentation | Accuracy | Precision | Recall | Specificity | F1 Score | Average Time for Classification (s/Image) |
|---|---|---|---|---|---|---|---|
| VGG 16 | No | 91.93 % | 94.32% | 89.26% | 94.61% | 91.72% | 0.08 |
| VGG 16 | Automatic | 85.46% | 79.79% | 95.02% | 75.93% | 86.74% | 0.08 |
| Mask RCNN | Manual labelling | 71.43% | 63.68% | 100.00% | 42.74% | 77.81% | 1.59 |
Disclaimer/Publisher’s Note: The statements, opinions and data contained in all publications are solely those of the individual author(s) and contributor(s) and not of MDPI and/or the editor(s). MDPI and/or the editor(s) disclaim responsibility for any injury to people or property resulting from any ideas, methods, instructions or products referred to in the content. |
© 2022 by the authors. Licensee MDPI, Basel, Switzerland. This article is an open access article distributed under the terms and conditions of the Creative Commons Attribution (CC BY) license (https://creativecommons.org/licenses/by/4.0/).
Share and Cite
Yong, L.Z.; Khairunniza-Bejo, S.; Jahari, M.; Muharam, F.M. Automatic Disease Detection of Basal Stem Rot Using Deep Learning and Hyperspectral Imaging. Agriculture 2023, 13, 69. https://doi.org/10.3390/agriculture13010069
Yong LZ, Khairunniza-Bejo S, Jahari M, Muharam FM. Automatic Disease Detection of Basal Stem Rot Using Deep Learning and Hyperspectral Imaging. Agriculture. 2023; 13(1):69. https://doi.org/10.3390/agriculture13010069
Chicago/Turabian StyleYong, Lai Zhi, Siti Khairunniza-Bejo, Mahirah Jahari, and Farrah Melissa Muharam. 2023. "Automatic Disease Detection of Basal Stem Rot Using Deep Learning and Hyperspectral Imaging" Agriculture 13, no. 1: 69. https://doi.org/10.3390/agriculture13010069
APA StyleYong, L. Z., Khairunniza-Bejo, S., Jahari, M., & Muharam, F. M. (2023). Automatic Disease Detection of Basal Stem Rot Using Deep Learning and Hyperspectral Imaging. Agriculture, 13(1), 69. https://doi.org/10.3390/agriculture13010069










