Next Article in Journal
Effects of Metal Oxide Nanoparticles on Nitrous Oxide Emissions in Agriculture Soil
Next Article in Special Issue
Friction and Wear Properties of Wheat Straw Powder Third Body on Steel-Steel Friction Pair
Previous Article in Journal / Special Issue
Analysis and Experiment on the Impact of Various Hook Angle Factors on Spindle Picking Performance
 
 
Font Type:
Arial Georgia Verdana
Font Size:
Aa Aa Aa
Line Spacing:
Column Width:
Background:
Article

Analysis and Evaluation of the Influence of Different Drum Forms of Peanut Harvester on Pod-Pickup Quality

1
Nanjing Institute of Agricultural Mechanization, Ministry of Agriculture and Rural Affairs, Nanjing 210014, China
2
Key Laboratory of Modern Agricultural Equipment, Ministry of Agriculture and Rural Affairs, Nanjing 210014, China
*
Author to whom correspondence should be addressed.
Agriculture 2022, 12(6), 769; https://doi.org/10.3390/agriculture12060769
Submission received: 4 April 2022 / Revised: 21 May 2022 / Accepted: 25 May 2022 / Published: 27 May 2022

Abstract

:
Aiming at the problems of high missed-pickup rate and crushed rate caused by different types of peanut harvester pickup drums, by tracking a field comparative experiment from 2020 to 2021, the missed-pickup rate, missed-pickup quality distribution, crushed rate and quality distribution rule of pods with different degrees of crushing observed in two peanut varieties with different pickup drums were studied. Three kinds of pod-pickup drums were set up: axial flow (T1), tangential flow (T2) and tangential–axial flow (T3), and they were installed on the pickup harvester to form three kinds of pickup and harvest test stands. At the same time, a control test stand (CK) without pod-pickup drums was set up. Peanut varieties “Shanhua 9” and “Huayu22” and 10 water content levels were used. Using Origin2018 software, the missed-pickup rate, missed-pickup quality distribution, crushed rate and the quality distribution of pods with different degrees of crushing were statistically analyzed for the two peanut varieties harvested by different pickup drums. The results showed that the average missed-pickup rate was T1, T2 and T3, in order from small to large. The order of pickup quality from more to less was small pods, medium pods and large pods, which indicated that small pods were more likely to be missed. The average pod crushed rates for T1, T2 and T3 for Shanhua 9 were 2.06%, 2.19% and 2.45%, and those of T1, T2 and T3 for Huayu22 were 1.74%, 1.91% and 2.23%, so the order of pod crushed rates from small to large was T1, T2 and T3. At the same time, the crushed rate of T1, T2 and T3 to the two varieties decreased obviously with the decrease in water content. After the T1 test, the proportion of medium and severely crushed pods was the least, followed by T2, and the highest was T3. At the same time, the higher the water content, the higher the proportion of medium and severely crushed pods, and the proportion of medium and severely crushed pods after the Huayu22 test was less than that of the Shanhua 9 test.

1. Introduction

Peanut is an important cash crop in China, with high planting income and wide planting range [1]. According to the statistics of the United Nations Food and Agriculture Organization (FAO), the peanut planting area in China in 2019 was 4.63 × 106 hm2, ranking second in the world. The output was 1.75 × 107 t, ranking first in the world. Although China has a wide planting area and a large export output, peanut production in most areas is mainly manual and semi-mechanized, especially in the harvesting process, where the labor consumption accounts for about one-third of the whole production process and the operation cost accounts for about 50% of the total production cost. Especially with the development of urbanization, the loss of young rural labor force is serious, which leads to the increase in rural labor cost, which seriously restricts the production and development of the peanut industry [2,3,4]. At present, the peanut harvester, which is developing rapidly in China, can effectively solve this problem. It can complete peanut pickup, pod pickup, pod gathering and other harvesting operations at one time, with a production efficiency of 0.6–0.8 hm2/h, which greatly liberates the labor force, improves the harvesting efficiency and reduces the production cost [5,6].
However, during the investigation of peanut harvesting operations in Henan, Shandong, Anhui and other places in China during 2018–2021, our research team found that the missed pickup rate of many machines was up to 4.2% and the crushed rate was up to 6.5%, which brought hundreds of thousands of tons of peanut losses to China every year. The research found that there were two main reasons for the high missing-pickup and crushed rate. One was that the core operating component—the pickup drum—was not uniform. This is because at present there are three types of pod-pickup drums used in peanut harvesting: axial flow, tangential–axial flow and tangential flow. These three drums have different structures, which lead to different processes of hitting and kneading the picked peanut plants, and then lead to different peanut missing-pickup rate and crushing rate. The second reason was that there are significant differences in peanut plant traits, physical and mechanical properties during pod pickup; the characteristics of plant type, plant height, stalk strength, plant water content, pod water content and pod range of different peanut varieties directly affect the rate of missing and broken pods during peanut harvest. The tensile strength of peanut stalks, the crushed force of pod shells and the friction force between pods and stems vary for different varieties and variable water contents of peanuts, and the forces exerted by different pod-pickup drums on different varieties and variable water contents of peanuts are also different. Field experiments and peanut biology showed that peanut varieties with upright plant type, moderate plant height (0.5~0.6 m), weak stalk toughness, concentrated pod and high shell strength are the best choices for pickup pods. These two reasons led to the high missed pickup rate and crushed rate in peanut harvesting process in China’s main peanut-producing areas, and the operation effect of the same machine on the same variety and variable water content at different time periods was also quite different, which caused the large peanut growers in China to be concerned about the selection of pickup and harvesting machines and the operation quality. Therefore, it was of great significance for efficient, low loss and smooth harvesting of peanuts in China to explore the best harvesting conditions and effects (low missed-pickup rate and low crushed rate) of different types of pickup drums, which has presently become a subject that must be considered in the field of pickup and harvesting peanuts in China.
Concerning the development and present situation of peanut pickup technology in the world, a few countries such as the United States have already fully realized large-scale peanut harvesting mechanization with high pickup quality, while Asian peanut-producing countries such as India, Myanmar, Indonesia and Vietnam, and African peanut-producing countries such as Nigeria, Senegal and Sudan are still dominated by manual harvesting. At present, KMC, AMADAS, PEARMAN and other companies in the United States are representatives of advanced peanut pickup and harvesting technologies. Additionally, there are “shovel chain combination” of KMC and AMADAS and “shovel clamp combination” series peanut pickup and harvesting machines produced by PEARMAN. The main operating machines are digging harvesters and pickup combine harvesters, and the related technologies, which lead the industry [7]. The harvester is mainly composed of shovel, conveyor, turning wheel, frame and other main components. According to different mechanism forms and working principles, the harvester is mainly composed of picker, screw feeder, pod-pickup drum, cleaning system, pods collecting box, among others. The typical process of peanut pickup and harvesting in the United States is initially digging, laying and drying by a digging harvester; then, after two to three days, when the water content of peanuts reaches a low level, harvest is completed by a pickup combine harvester.
In recent years, scholars have researched techniques of peanut pickup. Yu et al. [8] carried out pickup experiments on a single peanut variety with three water contents in a mobile peanut harvester, and obtained some conclusions. Chen et al. [9], based on the study of the mechanical properties of fresh and wet peanuts and the mechanical characteristics of pods stalk nodes, analyzed the impact performance of peanut pods, screw auger type pod-pickup drum, parameters and performance. Wang et al. [10] studied the working principle and performance of peanut pickup and harvesting drum from both theoretical and experimental aspects, and optimized the parameters such as the outer diameter and length of pickup drum, the rotating speed of pickup drum, the distance between pickup drum and intaglio, etc. The primary and secondary factors affecting peanut missing-pickup rate were obtained by Yu et al. [11], in a study that carried out tests to obtain the structure and working parameters of the tangential-flow double-drum threshing and separating device, the threshing and separating performance tests of different drum speeds, different pickup gaps and different feed inlet inclination angles. Guo et al. [12] optimized the design of the pickup drum of the simple axial-flow peanut harvester, and made an experimental study on the pod crushed rate.
Through this search and analysis of literature from China and worldwide, it is found that the current research on peanut pickup quality mainly includes two aspects: one is to carry out mechanical tests on each unit of the peanut plant, such as stalks and pods, and measure relevant data; the other is to improve and optimize the structural parameters, motion parameters and structural configuration of the pickup drum. At present, there are some broad applications of peanut harvesters, but the basic experimental research on peanut pickup is relatively lacking. It should be emphasized that the harvesting conditions of peanut such as water content, soil and mechanical properties of each unit of plant are a dynamic change process, and the dynamic process has different effects with different types of peanut pickup drums, and the effects of peanut pickup drums on the same peanut variety with variable water content are also different. At present, during the rapid development of the pickup harvester in China, the problems of missed-pickup rate and crushed rate caused by the inside pickup drum are exposed, which makes it necessary for us to analyze and test the three main peanut pickup drums for different varieties under variable water content conditions.
It should be noted that there is currently no research available that provides a comprehensive and scientific comparative test of different varieties with variable water contents by various pickup drums of the picker. We need to solve some scientific problems. The first is to analyze the working mechanism of three different types of pod-pickup drums and reveal the characteristics of different types of pod-pickup drums. The second research task is to make a comparative experimental study of two peanut varieties at variable water contents by continuously tracking three different types of pickup drums, in order to obtain different rules for missing-pickup and pod crushed rates, and to provide theoretical basis for solving the problems of high missing-pickup rate and high crushed rate, and also to provide basis for performance optimization of pickup drums of peanut harvesters.

2. Materials and Methods

2.1. Materials Preparation

The experimental area is located at the experimental station of Linshu County, Shandong Province (34′78″ north latitude, 118′74″ east longitude). The research team tracked the peanut planting and harvesting situation in the experimental area during 2020 to 2021. The previous crop in the experimental area was wheat, and the peanut varieties were “Shanhua 9” and “Huayu22”. Standardized mechanical ridging and sowing operations were carried out in May each year. Comprehensive prevention and control of peanuts diseases, insect pests and weeds were carried out. In September of each year, test plots with consistent growth were selected for the tests, and relevant data were collected. The peanut variety was planted in single ridge and double rows with a ridge spacing of 800 mm and a plant spacing of 275 mm, with 12,000 plants per mu. Before the test, the crop was harvested by excavator and then laid in the field. The initial characteristics of peanut plants after excavation are shown in Table 1; the initial water content was greater than 51%, and the average mass ratio of stems and pods of the two varieties was about 1:1.2. After excavation, the laying posture of all plants was manually arranged and adjusted to ensure that the laying posture of all plots was generally the same, with the laying density of plants and stems at 14 plants/m2 and the laying height at 300 mm. The average water content of plants was measured once every half hour with an infrared rapid moisture analyzer. We ensured that peanut plants after drying were tested when the average water content dropped to 10 levels: 47%, 44%, 41%, 38%, 35%, 32%, 29%, 26%, 23% and 20%. For repeated tests, 15 test plots of 2.5 m × 30 m were set at each water content level, and the ground of the test area was flat.

2.2. Structure and Principle of Different Types of Pod-Pickup Drums

2.2.1. Working Principle

The peanut pickup and harvesting test-bed is composed of the pickup mechanism, conveying device, pod-pickup drum, pod collecting device, etc., which can complete the pickup and conveying, pod pickup, pod gathering and other tests of peanut plants simultaneously in the field after excavation. At present, there are three types of harvesting machines: axial flow, tangential flow and tangential–axial flow. These three types of pod-pickup drums can share the same chassis and be configured into corresponding pod-pickup beds for testing. Next, taking tangential-flow harvesting machines as an example, the working principle is explained, and its basic working process is shown in Figure 1. When the harvester works, the pickup mechanism moves forward with the walking system at a certain speed. With the shifting of the elastic teeth on the pickup drum, peanut plants laid in the field are introduced into the auger with spiral blades distributed on the left and right sides, and then pushed to the conveying mechanism after being concentrated by the auger, and then pushed by the chain-rake conveyor into the pod-pickup drum through the feed inlet for pod seedling separation.

2.2.2. Axial-Flow Pod-Pickup Drum

Figure 2 shows the main structure and dimensions of the axial-flow pod-pickup drum, which is mainly composed of gearbox, lower frame, side frame, pod-pickup nail teeth, deflector, concave grate. According to the characteristics of peanut spatial movement, its main dimensions are designed as 3.15 m × 0.62 m for the drum, 1.22 m for the tangential drum and 0.6 m for the transverse dimension.
Figure 3 shows the working principle diagram of an axial-flow pod-pickup drum; when in operation, the power of the whole pod-pickup device is provided by the gearbox arranged at the rear end. The feed inlet and discharge outlet are designed at both ends of the pod-pickup device to ensure that peanuts have sufficient time to pick pods in the pod-pickup bin formed by the combination of the upper cover of the pod-pickup drum, the concave screen and the pod-pickup drum. After the peanut seedlings are sent into the pickup space by the screw conveyor through the feeding port, the central shaft drives the drum to rotate, so that the pickup nail teeth rotate at a high speed, and the peanut seedlings passing through the deflector form an inward movement trend, so that the peanut seedlings can be wound on the pickup nail teeth, which rotate at a high speed and are fixed on the tooth rod. Because of the centrifugal effect, the quality and density of the peanut pods are relatively high, and they are concentrated close to the concave screen, which produces shearing effect on the moving pods, so that the peanut pods and peanut seedlings can be cut off. Because of the action of the deflector, the peanut seedlings follow the direction of the deflector, and the peanut seedlings will be thrown out from the rear end by inertia at the discharge port, thus realizing the whole process of pod harvest.

2.2.3. Tangential-Flow Pod-Pickup Drum

Figure 4 shows the main structure and working principle of the tangential-flow-type pod-pickup drum, which is mainly composed of pod-conveying mechanism, concave grate, right pod-conveying mechanism, grass discharge opening, upper cover shell, inclined cover shell and seven tangential-flow drums arranged at certain intervals. According to the movement characteristics of peanuts, the designed pod-pickup space size (length × height) is 3.15 m × 0.62 m. When working, peanut plants can be picked by the conveying mechanism: peanut plants move along the tangential direction of the drums, each tangential drum is matched with the concave grate below to beat and treat peanut plants; peanut leaves and pods are gradually knocked down, long seedling stems are blocked by the concave grate, and pods are driven through the concave grate under the action of gravity and fall into the left and right peanut-pod-conveying mechanisms below, and the remaining peanut plants to be picked enter the next tangential drum under its continuous action for further brushing, beating and kneading. Every time the pods enter the first stage, some pods are knocked down. When the plants move to the last tangential drum, after a short period of action, no pods or a small number of plants with pods will be discharged from the grass discharge port.

2.2.4. Tangential–Axial-Flow Pod-Pickup Drum

Tangential–axial-flow pod-pickup drum combines the structural characteristics of axial flow and tangential flow, and is composed of one tangential-flow drum and one axial-flow drum, with the axial-flow drum as the main part and the tangential-flow drum as the auxiliary part. The difference with a simple axial-flow drum is that its axial-flow drum is transversely arranged, which is different from an axial-flow pickup drum in terms of drum length and effective pod-pickup space.
Figure 5 shows the main structure and dimensions of the tangential–axial-flow pod-pickup drum, which is mainly composed of a casing, a seedling discharge port, an axial-flow drum guide plate, a tangential-flow drum casing, an axial-flow drum, a tangential-flow drum, a frame and a concave grate. The main dimensions of the tangential-flow drum are designed to be 2.02 m in length, 1.22 m in width and 0.6 m in transverse dimension. Figure 6 shows the working principle diagram of the tangential–axial-flow pod-pickup drum. Additionally, the chain wheel and the main pulley can realize the input of power. After the peanut plants enter the tangential drum from the seedling inlet under the action of the conveying mechanism, the tangential drum primarily strikes and treats the peanut plants. During this period, some vines and pods are knocked down and blocked by the concave grate of the vines, while the pods are driven through the concave grate under the action of gravity and fall into the peanut-pod-conveying mechanism below, and the remaining peanut plants to be picked enter the axial drum under the continuous action of the tangential drum, which is the main process of pod pickup. On the one hand, under the guidance of the guide plate, the axial-flow pod-pickup drum makes a spiral flow from the right bottom to the left top, and at the same time, it makes a high-speed rotating motion along the circumferential direction driven by the high-speed rotating pod-pickup drum (Figure 6). In this process, peanut plants are impacted and rubbed by the friction of the guide plate and the rotation of the nail-tooth pod-pickup drum, and separated into broken branches, broken seedlings and pods, which are thrown into the gap of the concave grate under the action of the rotating centrifugal force, and the pods fall through the gap under gravity to the vibrating screen below, and are broken.

2.2.5. Main Differences

The structural differences in the three kinds of pod-pickup drums are mainly reflected in the arrangement and size parameters of the drums. Table 2 shows the main differences in the three kinds of pod-pickup drums. Although they have some differences, their core pod-pickup mechanism is to use the impact force of the fixed rod teeth on the drums to overcome the intertwining and mixing force among the stems, pods and seedling stems. In this process, peanut plants are impacted and rubbed by the friction of the deflector or concave grate and the rotating speed of the pod-pickup drums. Separated into broken branches, broken seedlings and pods, they are thrown into the gap of the concave grate under the action of rotating centrifugal force, and the pods fall through the gap to the lower conveying mechanism under the action of provoking impact, rotating pulling and sliding friction of the fixed rod teeth, while the broken branches and seedlings are discharged out of the machine through the seedling discharge port. Because of the different structures, when picking pods with different peanuts, their respective advantages differ [13].

2.3. Test Method

The structure and form of pickup drums affect the missed pickup rate and crushed rate during peanut pickup and harvesting. Therefore, axial-flow, tangential–axial-flow and tangential-flow pickup drums were selected and installed on the pickup and harvesting machine to form three kinds of pickup and harvesting test platforms, which were respectively marked as T1, T2 and T3. Meanwhile, to verify the pods dropping rate, which would interfere with the missed pickup rate, and process breaking rate of peanut pods, which would interfere with the crushed rate, from ground to pickup, a CK test was set up, which formed a blank contrast test with T1, T2 and T3. Except for pickup drums, other structures, such as pickup mechanism, conveyor, cab and driving wheel, were the same. During operation, T1, T2, T3 and CK all operated with the best working parameters to ensure the best pod-pickup effect, and all other working parameters remained the same.
During the experiment, the four kinds of pickup and harvesting test platforms moved forward at a speed of 1.2 m/s. The water content of peanut plants was measured every half hour with an infrared fast moisture meter after the average water content was ensured to be dried. Table 3 shows the average water content of peanut plants. In the pod-pickup test, at T1, T2 and T3, the peanut varieties at each water content level were picked up and harvested, and 15 test plots of 2.5 m × 30 m were set at each water content level. For T1, T2 and T3, three test plots of each variety and each water content level were randomly selected and averaged. The test instruments also included stopwatch, balance, tape measure, ruler, A85 digital camera, BS200S electronic balance, calculator and sample collection bag.

2.4. Test Indicators and Method

The test was carried out according to NY/T 502—2016 “Peanut harvester operation quality” and DG/T 077—2019 “Agricultural machinery popularization and appraisal outline”. In the working area of the peanut harvester, three plots were randomly selected for testing at each moisture level for each variety, each plot was 30 m long and the width was the working width of the peanut harvester, and the walking speed of machines in each plot met the requirements. In each community, three small sample areas were randomly selected along the length direction; each small sample area was 6 m in length and the width was the machine operation width [14,15]. Test indexes mainly included missing-pickup rate and crushed rate; the test process is shown in Figure 7.

2.4.1. Measurement Method of Missing-Pickup Rate

We picked up all the pods on the ground of the sample plot (excluding defective pods and natural pod drop) and weighed their quantity, collected the peanut vines discharged from the grass discharge port, weighed the pods on the plants that were not picked up, and determined the quantity of the pods carried on the crushed vines discharged from the grass discharge port of the drum. Equation (1) was used to calculate the missing-pickup rate, and then the average value of three small samples in each measuring area was determined:
S 1 = W 1 W 0 + W 1 + W 2 + 0.1 W 3 ( 1 Z ) × 100
where S1 is the missing-pickup rate,%; W0 is the pod mass of the inner ground, g; W1 is the mass of pods that were not picked from the plants in the area, g; W2 is the mass of pods carried in the crushed shoots discharged from the grass discharge port of the drum, g; W3 is the total mass of the harvest, g; and Z is the impurity ratio,%.

2.4.2. Measurement Method of Crushed Rate

The crushed rate refers to the proportion of the weight of pods with broken kernels, cracked shells and cracked shells to the weight of all pods after operation. The measurement steps follow: randomly select 3 samples from the harvest of the pickup harvester in each test plot, each sample was not less than 3000 g; process the samples; weigh the quality of nuts, cracked pods and intact pods; calculate the crushed rate; calculate the average value of 3 samples from each plot and use Equation (2) to calculate the crushed rate.
S 2 = W 5 W 4 + W 5 × 100
Here, S2 is the crushed rate, %; W4 is the weight of good pods in the sample, g; W5 is the weight of kernel and pods with crushed and cracked shells in the sample, g.

3. Results

Effects of Different Types of Pickup Drums on Missed-Pickup Rate

Figure 8 shows the change in the missed-pickup rate of two kinds of peanuts under different experimental treatments with the water content in the test period. It was found from Figure 8 that the missed-pickup rate of CK in the control group was stable at 99.6%~99.9%, which was due to the fact that there was no pickup drum for pickup pods, and the reason for the pickup rate of 0.1%~0.4% was that the peanut plants were in contact with mechanical parts (pickup mechanism, conveying mechanism, etc.) before entering the pickup drum. Figure 8 shows that T1, T2 and T3 have extremely high consistency on the changing trend of missed-pickup rates of two peanut varieties under variable water contents, and the average missed-pickup rates of T1, T2 and T3 for Shanhua 9 in two years were 1.76%, 1.97% and 2.48%, and for Huayu22 in two years were 2.04%, 2.21% and 2.69. The average missed-pickup rate shows that the pickup effect from good to poor was T1, T2 and T3. The reason for this significant difference was that the pickup mechanisms of T1, T2 and T3 were different. The structural advantage of T1 makes it have a long pickup stroke and the most times of hitting and kneading pods per unit time, so the average missed-pickup rate was the lowest. The pickup stroke of T2 was less than that of T1, so the average missed-pickup rate was lower than that of T1. However, owing to reasons of its structure, all drums of T3 were different from those of T1. At the same time, this comparative test rule between the same variety and different varieties proved the scientific nature of the test arrangement [16].
The patterns of T1, T2 and T3 under variable water content levels for the two varieties were also reflected in the following: when the water content was 20%~35%, the missed-pickup rate of the two varieties increased slowly with the water content, while when the water content was 36%~44%, the missed-pickup rate increased sharply and then decreased. The reason for this phenomenon was that the tensile strength of the pod stalk node increases with the water content when the water content was 20%~35%. The difficulty of pods crushed away from the root system increases with the increase in water content, and the tensile strength and toughness of the stalk reach the highest point when the water content was 36%~41%. Then, with the further increase in water content, the tensile strength decreased, making it easier for pods to break away from the root system and the missing-pickup rate decreased. During the two years of the experiment, the maximum average missed-pickup rates of T1, T2 and T3 for Shanhua 9 were 1.91%, 2.08% and 2.32%, respectively, which all appeared near the water content point of 41%, and the maximum average missed-pickup rates of T1, T2 and T3 for Huayu22 were 2.07%, 2.25% and 2.43%, respectively, which all appeared at the water content point of 41%. The reason for this pattern was that when the water content was about 41%, the stalk strength of the two peanut varieties was at a maximum. Compared with other water content ranges, the peanut pods were not easy to pick up, while when the water content was higher than 41%, the tensile strength of the node with the stalk was weakened, the average crushed force of the stalk became smaller, and the pod was easier to detach, so the missing-pickup rate was lower. At the same time, the maximum average missed-pickup rate of T1, T2 and T3 for Huayu22 was significantly higher than that for Shanhua 9. The reason may be that Huayu22 has a thick stalk, high toughness and higher tensile strength [17].
At the same time, to explore the distribution rule of missed pods, the results of observing the missed pods in the 2021 experiment according to three types of pods—small (length ≤ 20 mm), medium (20 mm < length < 30 mm) and large (length ≥ 30 mm)—are shown in Figure 9. It was found that the experimental data had an obvious distribution rule, and T1, T2 and T3 were different for the two peanut varieties: T2—29%, 35%, 44%; T3—29%, 38%); the small pods were the most, the medium pods were second and the large pods were the least. After T1, T2 and T3, the average weight ratio of small, medium and large pods was 6.2:2.9:0.9; T1, T2, T3 had obvious consistency on the missed-pickup rate of Huayu22 under variable water contents. After the T1 drum test, the missed-pickup quantity of small, medium and large pods was different for individual water contents (T1—32%, 44%; T2—32%, 44%, 44%); small pods were the most, medium pods were second and large pods were the least; the average weight ratio of small pods, medium pods and large pods was 5.8:3.1:1.1. Experiments showed that small pods were more likely to be missed. The reason for this was that small pods were easily blocked by roots to form missed pods.
Figure 10 shows the change in the pod crushed rate of two kinds of peanuts in different test treatments with varying water content during the test period. It was found that the pod crushed rate of CK in the control group was stable at 0.2% to 0.5%, because there was no pickup drum for pickup pods, and the reason for the pod crushed rate of 0.2% to 0.5% was that the peanut plants were in contact with mechanical parts (pickup mechanism, transportation mechanism, etc.), and the overall trend of T1, T2, T3 on the pod crushed rate of two peanut varieties under variable water contents was similar. This comparative test also proved the scientificity and accuracy of the test arrangement. The average pods crushed rate for T1, T2, T3 on Shanhua 9 was 2.06%, 2.19%, 2.45%, and that of T1, T2, T3 on Huayu22. The possible reason was that there was only one drum in T1; the peanut plant moved smoothly, and it was not easy to be crushed, while there were two tangential and axial drums in T2, which easily impacted the pods when the two drums were alternately struck during the pod-pickup process, while the pod crushed rate of the two peanut varieties in T3 was significantly higher than that in T1 and T2. The possible reason was that there were multiple tangential drums in T3, which alternately strike the peanut pods at high frequency during the pod-pickup process, resulting in a higher pod crushed rate. At the same time, the crushed rate of the pods for the two peanut varieties increased with the increase in water content. The possible reason was that the higher the water content, the greater the friction force between the pods and other units of the plant (branches, leaves, stems, etc.) and a longer time for kneading and squeezing. Therefore, the crushed rate of the pods of T1, T2 and T3 for the two peanut varieties decreased obviously with the decrease in water content. Additionally, the average pod crushed rate of Huayu22 was significantly lower than that of Shanhua 9. The reason was that the pod shell strength of Huayu22 was slightly higher than that of Shanhua 9 at various water content levels, and the shell was less likely to be damaged [18].
At the same time, to explore the crushed rule for the two peanut varieties under variable water contents, the crushed pods in the 2021 experiment were divided into three types according to the severity of crushing (Figure 11): chapped pods (slightly crushed), cracked pods (moderately crushed) and damaged pods (severely crushed). The test results of these three types of pod damage by mass ratio are shown in Figure 12, which indicate that the test data have obvious distribution. After the T2 test on Shanhua 9, the average mass ratio of the three crushed cases was 4.8:4.1:1.1; After the T3 test on Shanhua 9, the average mass ratio of the three kinds of crushed pods was 3.7:4.5:1.8. It was found that the proportion of medium and heavy crushed pods after the T3 test was the least, followed by T2 and T3, and there was a common rule after T1, T2 and T3 tests that the greater the water content, the higher the proportion of medium and heavy crushed pods, the reason is that the greater the moisture content, the greater the friction force of each part of the plant. The average mass ratio of the three kinds of crushed conditions after the T1 Huayu22 test was 6.2:2.9:0.9; After the T2 Huayu22 test, the average mass ratio of the three crushed conditions was 5.0:4.0:1.0; After the T3 Huayu22 test, the average mass ratio of the three kinds of crushed pods was 4.4:4.3:1.3. It was found that the proportion of medium and severely crushed pods after the T1 test was the least, followed by T2 and T3, and the greater the water content, the higher the proportion of moderately crushed and severely crushed pods, which was similar to that for Shanhua 9. Another remarkable feature of the two peanut varieties was that the average proportion of moderately crushed and severely crushed pods after the T1, T2 and T3 tests was obviously less than that for Shanhua 9. The reason may be that the shell strength and thickness of Huayu22 are greater than that of Shanhua 9, which had high strength and toughness, and under the same pickup conditions, there were fewer crushed pods [19,20].
Therefore, from the point of view of reducing the crushed rate of pods, for T1, T2, T3, when picking up pods, it is best to avoid a high water content and to choose the interval operation with 20%~30% water content.

4. Discussion

At present, peanut pickup and harvesting operations are becoming one of the most important peanut harvesting modes in China. The missed-pickup rate and crushed rate of peanut pods in this mode directly affect or even determine the influence of this mode. This paper reports the missed-pickup rate, missed-pickup quality distribution, crushed rate and quality distribution of pods with different degrees of crushing for two peanut varieties under variable water content levels, based on different pickup drums. It is of great theoretical and practical significance to improve the working performance of peanut pickup and harvesting machines, and to select the best pickup drum and the most suitable water content conditions for each peanut variety, so as to improve and reduce the missed-pickup rate and crushed rate. In this study, through T1, T2, T3, CK experiments, the representative peanut varieties currently planted in large areas of China were tested. The purpose was to judge and compare the pickup quality and adaptability of different pickup drum design to typical peanut varieties through the pod missing-pickup rate and pod crushed rate, because the negative cost of missing-pickup was higher than the crushed cost. Therefore, from the resulting data, the order of pickup quality from good to poor was T1, T2, T3, CK.
In the aspect of pod missing-pickup rate, Guan [13] tested three types of axial-flow type, tangential-flow type and tangential-flow type with optimal parameters, and the pickup rate of the optimal indexes of each combination of pickup and drumming was in the range 95.45%~99.46%, among which the missing-pickup rates of axial-flow type, tangential-flow type and tangential-flow type with parameters were 1.49%, 1.46% and 2.77%, respectively. Zhou [21] tested the tangential-flow-type pod-pickup drum (T3 type) with the optimal parameters, and the test result was that the missed-pickup rate was 3.2%. Zhou [21] found that the missed-pickup rate decreased with the decrease in peanut water content, because the crushing force of peanut stalks increased with the increase in peanut water content. The conclusion of Zhou’s study was partially the same as that of our conclusion, with the main difference that, in this study, it was considered that the rate of missed-pickup first increased and then decreased with the increase in water content, because the strength of the stalk was the greatest around 41% water content, and then its tensile strength decreased with the increasing water content. Therefore, the rate of missed-pickup decreased. The reason why these two conclusions are not completely the same is that Zhou [21] used different peanut varieties from those studied in this paper, creating differences in the mechanical properties of the plants and stalks. In particular, Guan, Zhou and others [21] did not study the mass proportion of the three kinds of missed pickup pods, and there is no other research and related reports internationally, so this was also one of our innovations. In this study, it was concluded that small pods account for about 70% of the missed pods, medium pods account for about 20% and large pods account for about 10%. Because of their large size, medium pods and large pods are more likely to be captured by the mechanical parts of the drum and separated from the source plant. Therefore, we can start from the aspect of variety cultivation, and study and cultivate peanut varieties with the same growth of pods. In the harvest period, the peanut varieties with medium pods and large pods are basically in the pods layer.
In terms of crushed rate, Chen [9] tested the axial-flow pod-pickup drum (T1 type) with the best parameters, and the test result was that the crushed rate was 0.89%. Guan [13] tested the tangential–axial-flow type (T2 type) with optimal parameters, and the test result showed that the crushed rate was 1.1%. Zhou and others [21] tested the tangential-flow pods-pickup drum (T3 type) with optimal parameters, and the test result showed that the crushed rate was 4.91%. Although the numerical values of the crushed rate were different from those of the previous study, Zhou and others showed that the crushed rate of pods was T1, T2, T3, from small to large, which was the same as that of this study, demonstrating the rationality of this study. Guan [13] found that the main reasons for the influence of drying time and water content on the bursting strength of peanut pods were as follows: at the early stage of peanut harvest, fresh peanut shells had higher water content, stronger toughness and higher bursting strength; with the decrease in water content, the toughness and compressive strength of peanut shells decreased, and when the water content tended to be constant, the crush strength also reached the minimum value, leading to a lower crushed rate, which was not exactly the same as the conclusion of this paper. This paper suggests that the crushed rate relates mainly to peanut plants and shells.
When three types of pickup drums are working, pods with water content ranging from 20% to 29% are the better choice. At this time, the friction between the pods and the mechanical parts becomes smaller, which makes the pods easier to detach and reduces the number of collisions by the mechanical parts in the drum, thus contributing to the reduction of the missing pickup rate and the crush rate of the pods.
This research provides experimental innovations, but there are some limitations:
(1) Because of the subjective and objective factors such as time and conditions, the movement rules and details of the peanut pickup performance test were lacking. Next, the movement characteristics and rules of peanut plants and pods in different pickup drums should be thoroughly analyzed and studied by means of high-resolution high-speed photography.
(2) Limited by the research scheme and test conditions, the test object in this research was only two peanut varieties, but the crush force of the stalk and the crush force of the shell and its mechanical properties of different peanut varieties are different with variable water content, the movement mode and stress mode of each part of the plant and each element of the pickup drum, and the peanut plant in different drums. In the follow-up test, more peanut varieties will be studied, the operation index rule for various pickup drums under variable water content will be explored, and the most suitable for each peanut variety will be determined.
(3) During the experiment, all four kinds of pickup test platforms were moving at a speed of 1.2 m/s, but they may have different pickup quality and effects at other speeds. We hope to further carry out pickup tests of the three types of pickup drums at speeds of 1.1, 1.3 and 1.4 m/s, and compare the results with this experiment to determine if there are any differences.
(4) Because different operators had different proficiency in using the test platforms, it was difficult for the four kinds of pickup test platforms to operate with their best working parameters. Therefore, there was a certain deviation between the data obtained by the test and their real effects. Before the next test, the operators will be trained uniformly to reduce the errors caused by the operation.

5. Conclusions

Three kinds of axial-flow (T1), tangential--axial flow (T2) and tangential-flow (T3) pods-pickup drums were set up, and they were installed on the pick-up harvester to form three kinds of pick-up and harvest test stands.Comparative experiments using two peanut varieties with variable water contents were conducted by continuously tracking three different types of pod-pickup drum test stands, and different rules of missed-pickup and crushed pods were obtained, which provided theoretical basis for solving the problems of high missed-pickup and crushed rate, and also provided a basis for performance optimization of the pod-pickup drum of peanut pickup harvesters. The main conclusions follow:
(1) The test curves of missed-pickup rate of two kinds of peanuts, shown in Figure 3, are one of the important findings of the test. The curves show that the effects of T1, T2 and T3 on the change trend of missed-pickup rate of two peanut varieties under variable water contents were extremely consistent, and the average missed-pickup rates of T1, T2 and T3 for Shanhua 9 in two years were 1.76%, 1.97% and 2.48%, and for Huayu22 in two years were 2.04%, 2.21% and 2.69. The regularity of T1, T2 and T3 on the two varieties at variable water content levels was also reflected in the following observations: when the water content was 20%~35%, the missed-pickup rate of the two varieties increased slowly with the water content, while when the water content was 36%~44%, the missed-pickup rates all rose sharply and then decreased. The maximum average missed-pickup rate of T1, T2 and T3 on Shanhua 9 in two years was 1.91%.
(2) The data in Figure 4 show that T1, T2 and T3 had obvious consistency in the distribution of missed-pickup rate of the two peanut varieties under variable water contents. After T1, T2 and T3 tests on the two peanut varieties, the missing-pickup of small pods was the largest, followed by medium and large pods, and the average missing-pickup mass ratio of small, medium and large pods after T1, T2 and T3 tests on Shanhua 9 was 6.2:2.9:0.9. After T1, T2 and T3 tests on Huayu22, except for individual water content, among the missed pods after the T1 drum test, small pods were missed the most and large pods were missed the least, and the average weight ratio of small, medium and large pods was 5.8:3.1:1.1. The test showed that small pods were more likely to be missed.
(3) The data in Figure 5 show that the average pod crushed rate of T1, T2 and T3 for Shanhua 9 was 2.06%, 2.19% and 2.45%, and that of T1, T2 and T3 for Huayu22 was 1.74%, 1.91% and 2.23%, so the pickup quality was from good to poor: T1, T2 and T3. The possible reason was that there was only one drum in T1, the peanut plant moves smoothly, and it was not easy to break. However, there were two tangential and axial drums in T2, which easily impacted the pods when the two drums were alternately struck during pod pickup. However, in T3, the pod crushed rate of two peanut varieties under variable water contents was significantly higher than that in T1 and T2. The possible reason was that there were multiple tangential drums in T3, which alternately struck peanut pods at high frequency during pod pickup, resulting in higher pod crushed rate. At the same time, the pod crushed rate of the two peanut varieties increased with the increase in water content, and the pod crushed rates of T1, T2 and T3 for the two varieties all decreased significantly with the decrease in water content, and the average pod crushed rate for Huayu22 was significantly lower than that for Shanhua 9, because the pod shell strength of Huayu22 was slightly higher than that for Shanhua 9 at various water contents, and the shell was less likely to be damaged.
(4) The data in Figure 7 show that the average mass ratio of T1 to the three crushed conditions after the test of Shanhua 9 was 5.7:3.2:0.9; After T2 test on Shanhua 9, the average mass ratio of the three crushed cases was 4.8:4.1:1.1; After the T3 test on Shanhua 9, the average mass ratio of the three kinds of crushed pods was 4.1:4.3:1.6. It can be observed that the proportion of medium and severely crushed pods after the T3 test was the least, followed by T2, and the highest was T3. The higher the water content, the higher the proportion of medium and severely crushed pods. The average mass ratio of three kinds of crushed conditions after the T1 Huayu22 test was 6.2:2.9:0.9; After the T2 Huayu22 test, the average mass ratio of three crushed cases was 5: 4: 1; After the T3 test of Huayu22, the average mass ratio of the three kinds of crushed cases was 4.4:4.3:1.3. The proportion of medium and severely crushed of crushed pods after T3 test was the least, followed by T2, and T3 was the highest, and the higher the water content, the higher the proportion of medium and severely crushed pods. The reason was similar to that of Shanhua 9. Another remarkable feature of the two peanut varieties was that the average proportion of medium and severely crushed pods after the T1, T2 and T3 tests was obviously less than that of Shanhua 9. The reason might be that the shell strength, thickness and toughness of Huayu22 were greater than that of Shanhua 9. Under the same pickup conditions, there were fewer crushed pods.
(5) In the optimum water content operation range, the most suitable drum was used for peanut pod pickup, and the average missed-pickup rate was 1.8% lower than the current machine arrangements, and the average crushed rate was 2.2% lower than the current machine arrangements.

Author Contributions

Conceptualization, B.W. and F.G.; methodology, Z.H. and B.P.; software, B.W. and B.P.; validation, B.W.; formal analysis, F.G.; investigation, F.W.; resources, F.G.; data curation, B.W.; writing—original draft preparation, B.W.; writing—review and editing, B.W.; visualization, M.C.; supervision, F.G.; project administration, H.X.; funding acquisition, B.W. All authors have read and agreed to the published version of the manuscript.

Funding

This research was funded by the following fund projects: This research was funded by National Natural Science Foundation of China, grant number 51905282; National Peanut Industry Technology System, grant number CARS-13.

Institutional Review Board Statement

Not applicable.

Informed Consent Statement

Not applicable.

Data Availability Statement

The datasets used and/or analyzed during the current study are available from the corresponding author upon reasonable request.

Acknowledgments

The authors want to thank the teacher and supervisor for advice and help during the experiments. We also appreciate the editor and anonymous reviewers for their valuable suggestions for improving this paper.

Conflicts of Interest

The authors declare no conflict of interest.

References

  1. Foreign Agricultural Service. World Agricultural Production; United States Department of Agriculture: Washington, DC, USA, 2020. [Google Scholar]
  2. Gao, L.X.; Chen, Z.Y.; Charles, C.; Butts, C.L. Development course of peanut harvest mechanization technology of the United States and enlightenment to China. Trans. Chin. Soc. Agric. Eng. 2017, 32, 1–9, (In Chinese with English Abstract). [Google Scholar]
  3. Gao, L.X.; Li, X.Q.G.; Guan, M.C.; Heng, J.Z.; Hang, C.D.L.; Liu, Z.X. Design and Test on Cleaning Device of Peanut Pods with Double Air-suction Inlets with Vibration Screen. Trans. Chin. Soc. Agric. Mach. 2015, 46, 110–117, (In Chinese with English Abstract). [Google Scholar]
  4. Yu, Z.Y.; Hu, Z.C.; Cao, M.Z.; Wang, S.Y.; Zhang, P.; Peng, B.L. Design of cleaning device of tangential flow and whole-feed peanut combine harvester. Trans. Chin. Soc. Agric. Eng. 2019, 35, 29–37, (In Chinese with English Abstract). [Google Scholar]
  5. Wang, B.K.; Gu, F.W.; Yu, Z.Y.; Cao, M.Z.; Wang, J.T.; Hu, Z.C. Design and Experiment of Pickup-up Mechanism of Axial-flow Full-feed Peanut Harvester. Trans. Chin. Soc. Agric. Mach. 2020, 51, 132–141, (In Chinese with English Abstract). [Google Scholar]
  6. Chen, Y.Q.; Hu, Z.C.; Wang, S.Y.; Cao, M.Z.; Xu, H.B.; Wang, G.P.; Yan, J.C. Design and experiments of pickup device of peanut harvester after cutting peanut straws. Trans. Chin. Soc. Agric. Eng. 2020, 36, 1–8, (In Chinese with English Abstract). [Google Scholar]
  7. Xu, T.S.; Hen, Y.Z.; Gao, L.X.Z.; Hang, X.D.L.; Lü, C.Y.; Liu, Z.X. Spring-finger Peanut Pickup Mechanism Based on Two-stage Harvest. Trans. Chin. Soc. Agric. Mach. 2016, 47, 90–97, (In Chinese with English Abstract). [Google Scholar]
  8. Yu, J.D.; Liu, Y.F.; Wang, D.W. Design and Experimental Study of Movable Peanut Picker. J. Agric. Mech. Res. 2021, 43, 59–65, (In Chinese with English Abstract). [Google Scholar]
  9. Chen, Z.Y. Experimental Study on Axial-flow Peanut Pickup Device with Bending-Tooth Screw Drum. Ph.D. Thesis, Shenyang Agricultural University, Shenyang, China, 2017. [Google Scholar]
  10. Wang, B.D.; Hu, Z.C.; Cao, M.Z.; Zhang, P.; Yu, Z.Y.; Zhang, C. Design and Test of Axial-flow Peanut Pickup and Harvesting Machine. Chin. Soc. Agric. Mach. 2021, 52, 98, 109–118, (In Chinese with English Abstract). [Google Scholar]
  11. Yu, X.D.; Guo, H.; Guo, W.H.; Xue, S.M.; Liu, H.S.; Ye, X.W. Design and Motion Simulation of Pneumatic Device for Pickup up Ground Jujube. J. Agric. Mech. Res. 2021, 43, 116–120, (In Chinese with English Abstract). [Google Scholar]
  12. Guo, P.; Shang, S.Q.; Wang, D.W.; He, X.N.; Xu, N.; Liu, J.Q.; Yang, L.; Dong, M.M. Design and Test of a Trailed Peanut Pickup and Harvesting Machine. J. Agric. Mech. Res. 2021, 43, 92–97, (In Chinese with English Abstract). [Google Scholar]
  13. Guan, M. Research on Pickup Methods and Key Components of Full-Feeding Peanut Picker. Ph.D. Thesis, Shenyang Agricultural University, Shenyang, China, 2016. [Google Scholar]
  14. Lu, R.; Liu, Z.X.; Gao, L.X.; Yang, D.X. Development of air suction cleaning device of vertical conical peanut sheller for plot planting. Trans. Chin. Soc. Agric. Eng. 2020, 36, 23–30, (In Chinese with English Abstract). [Google Scholar]
  15. Xu, T. Design and Experiment Study on the Spring-Finger Type of Peanut Pickup Device. Ph.D. Thesis, Shenyang Agricultural University, Shenyang, China, 2016. [Google Scholar]
  16. Su, Z. Study on Semi-Feeding Peanut Picker with Double-Drum Breeding Testing Device. Ph.D. Thesis, Shenyang Agricultural University, Shenyang, China, 2016. [Google Scholar]
  17. Liu, C.Y. Experimental Research of Cleaning Device for Peanut Harvester. Master’s Thesis, Henan University of Science and Technology, Luoyang, China, 2018. [Google Scholar]
  18. Wang, S.Y.; Hu, Z.C.; Wu, F.; Yu, Z.C.; Cao, M.Z.; Gao, X.M. Modeling and experiment of feeding rate for full-feed peanut pickup harvester. Trans. Chin. Soc. Agric. Eng. 2019, 35, 29–36, (In Chinese with English Abstract). [Google Scholar]
  19. Yao, L.J. Experiment Study on Full–Feed Pickup Header of Peanut Combine and Mechanism Optimization. Master’s Thesis, Anhui Agricultural University, Hefei, China, 2017. [Google Scholar]
  20. Wang, J.N.; Xie, H.X.; Hu, Z.C.; Liu, M.J.; Peng, J.Y.; Ding, Q.S.; Peng, B.; Ma, C.B. Optimization of Material for Key Components and Parameters of Peanut Sheller Based on Hertz Theory and Box–Behnken Design. Agriculture 2022, 12, 146. [Google Scholar] [CrossRef]
  21. Zhou, D.H. Experimental Study on Full-Feeding Pickup Characteristics of Peanut Combined Harvesting. Master’s Thesis, Chinese Academy of Agricultural Sciences, Beijing, China, 2017. [Google Scholar]
Figure 1. Working principle of a tangential-flow pickup harvester.
Figure 1. Working principle of a tangential-flow pickup harvester.
Agriculture 12 00769 g001
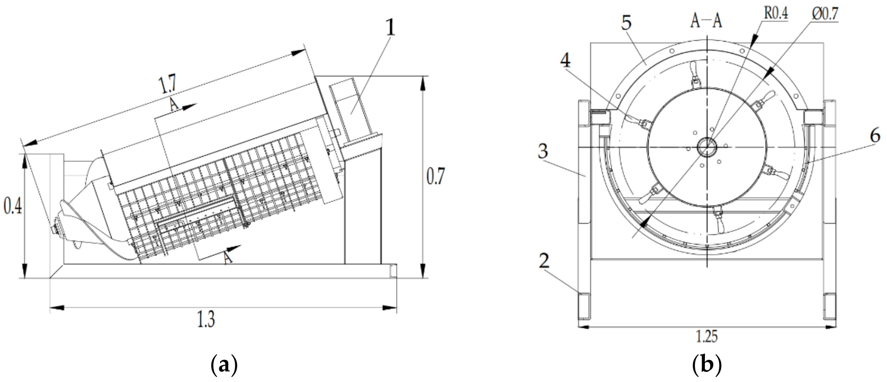
Figure 2. Structural diagram of an axial-flow pod-pickup drum: 1. Gearbox; 2. Lower frame; 3. Side frame; 4. Pod-pickup teeth; 5. Deflector; 6. Concave grate. (a) Front view and (b) cutaway view.
Figure 2. Structural diagram of an axial-flow pod-pickup drum: 1. Gearbox; 2. Lower frame; 3. Side frame; 4. Pod-pickup teeth; 5. Deflector; 6. Concave grate. (a) Front view and (b) cutaway view.
Agriculture 12 00769 g002
Figure 3. Working principle diagram of an axial-flow pod-pickup drum. 1. Peanut plant; 2. Conveying mechanism; 3. Concave grate; 4. Leaves; 5. Peanut pods; 6. Pod-conveying mechanism; 7. Seedling-vine-conveying mechanism; 8. Track of broken seedling vine; 9. Broken seedling vine; 10. Cover shell; 11. Plant movement track; 12. Screw conveyor; 13. Frame.
Figure 3. Working principle diagram of an axial-flow pod-pickup drum. 1. Peanut plant; 2. Conveying mechanism; 3. Concave grate; 4. Leaves; 5. Peanut pods; 6. Pod-conveying mechanism; 7. Seedling-vine-conveying mechanism; 8. Track of broken seedling vine; 9. Broken seedling vine; 10. Cover shell; 11. Plant movement track; 12. Screw conveyor; 13. Frame.
Agriculture 12 00769 g003
Figure 4. Working principle diagram of a tangential-flow pod-pickup drum. 1. Peanut plant; 2. Conveying mechanism; 3. Left pod-conveying mechanism; 4. Concave grate; 5. Peanut leaves; 6. Peanut pods; 7. Bottom pod-conveying mechanism; 8. Right pod-conveying mechanism; 9. Grass discharge opening; 10. Upper cover shell; 11. Inclined cover shell; 12. Tangential drum; 13. Seedling inlet; 14. Movement track of peanut plant.
Figure 4. Working principle diagram of a tangential-flow pod-pickup drum. 1. Peanut plant; 2. Conveying mechanism; 3. Left pod-conveying mechanism; 4. Concave grate; 5. Peanut leaves; 6. Peanut pods; 7. Bottom pod-conveying mechanism; 8. Right pod-conveying mechanism; 9. Grass discharge opening; 10. Upper cover shell; 11. Inclined cover shell; 12. Tangential drum; 13. Seedling inlet; 14. Movement track of peanut plant.
Agriculture 12 00769 g004
Figure 5. Schematic diagram of the structure of the tangential–axial-flow pod-pickup drum. 1. Enclosure of axial drum; 2. Seedling discharge port; 3. Axial drum deflector; 4. Enclosure of tangential drum; 5. Axial drum; 6. Tangential drum; 7. Main pulley; 8. Frame; 9. Concave grate; 10. Plant inlet.
Figure 5. Schematic diagram of the structure of the tangential–axial-flow pod-pickup drum. 1. Enclosure of axial drum; 2. Seedling discharge port; 3. Axial drum deflector; 4. Enclosure of tangential drum; 5. Axial drum; 6. Tangential drum; 7. Main pulley; 8. Frame; 9. Concave grate; 10. Plant inlet.
Agriculture 12 00769 g005
Figure 6. Working principle diagram of the tangential–axial-flow pod-pickup drum. 1. Plant-conveying mechanism; 2. Peanut plants; 3. Tangential drum; 4. Tangential drum deflector; 5. Axial drum deflector; 6. Seedling discharge opening; 7. Broken seedling vine; 8. Concave grate; 9. Peanut leaves; 10. Peanut pods; 11. Peanut-pods-conveying mechanism.
Figure 6. Working principle diagram of the tangential–axial-flow pod-pickup drum. 1. Plant-conveying mechanism; 2. Peanut plants; 3. Tangential drum; 4. Tangential drum deflector; 5. Axial drum deflector; 6. Seedling discharge opening; 7. Broken seedling vine; 8. Concave grate; 9. Peanut leaves; 10. Peanut pods; 11. Peanut-pods-conveying mechanism.
Agriculture 12 00769 g006
Figure 7. Test scene. (a) Before pod-pickup test, dig peanuts manually and lay them neatly; (b) peanut plants were drying in the air; (c) comparison of plants with variable water content; (d) test scene of T1; (e) test scene of T2 and T3; (f) test scene of CK; (g) test scene of T2; (h) selecting missed peanut pods (to measure the missing-pickup rate); (i) missed peanut pods; (j) weighing crushed peanut pods (to measure the pod crushed rate); (k) weighing peanut seedlings (to measure the missing-pickup rate and the pod crushed rate).
Figure 7. Test scene. (a) Before pod-pickup test, dig peanuts manually and lay them neatly; (b) peanut plants were drying in the air; (c) comparison of plants with variable water content; (d) test scene of T1; (e) test scene of T2 and T3; (f) test scene of CK; (g) test scene of T2; (h) selecting missed peanut pods (to measure the missing-pickup rate); (i) missed peanut pods; (j) weighing crushed peanut pods (to measure the pod crushed rate); (k) weighing peanut seedlings (to measure the missing-pickup rate and the pod crushed rate).
Agriculture 12 00769 g007aAgriculture 12 00769 g007b
Figure 8. Test curve of missed-pickup rate of two kinds of peanuts in 2021: (a) 2020 Shanhua 9; (b) 2020 Huayu22; (c) 2021 Shanhua 9; (d) 2021 Huayu22.
Figure 8. Test curve of missed-pickup rate of two kinds of peanuts in 2021: (a) 2020 Shanhua 9; (b) 2020 Huayu22; (c) 2021 Shanhua 9; (d) 2021 Huayu22.
Agriculture 12 00769 g008
Figure 9. Distribution of two kinds of missed peanuts under different experimental treatments: (a) 2021 T1 Shanhua 9; (b) 2021 T2 Shanhua 9; (c) 2021 T3 Shanhua 9; (d) 2021 T1 Huayu22; (e) 2021 T2 Huayu22; (f) 2021 T3 Huayu22, different lowercase letters in the pictures indicate significant differences.
Figure 9. Distribution of two kinds of missed peanuts under different experimental treatments: (a) 2021 T1 Shanhua 9; (b) 2021 T2 Shanhua 9; (c) 2021 T3 Shanhua 9; (d) 2021 T1 Huayu22; (e) 2021 T2 Huayu22; (f) 2021 T3 Huayu22, different lowercase letters in the pictures indicate significant differences.
Agriculture 12 00769 g009
Figure 10. Test curve of pod crushed rate for two kinds of peanuts: (a) 2020 Shanhua 9; (b) 2021 Huayu22; (c) 2021 Shanhua 9; (d) 2021 Huayu22.
Figure 10. Test curve of pod crushed rate for two kinds of peanuts: (a) 2020 Shanhua 9; (b) 2021 Huayu22; (c) 2021 Shanhua 9; (d) 2021 Huayu22.
Agriculture 12 00769 g010
Figure 11. Pods with different degrees of crushing: (a) chapped pods; (b) crushed pods; (c) damaged pods.
Figure 11. Pods with different degrees of crushing: (a) chapped pods; (b) crushed pods; (c) damaged pods.
Agriculture 12 00769 g011
Figure 12. Distribution of crushed pods under different experimental treatments: (a) 2021 T1 Shanhua 9; (b) 2021 T2 Shanhua 9; (c) 2021 T3 Shanhua 9; (d) 2021 T1 Huayu22; (e) 2021 T2 Huayu22; (f) 2021 T3 Huayu22,different lowercase letters in the pictures indicate significant differences.
Figure 12. Distribution of crushed pods under different experimental treatments: (a) 2021 T1 Shanhua 9; (b) 2021 T2 Shanhua 9; (c) 2021 T3 Shanhua 9; (d) 2021 T1 Huayu22; (e) 2021 T2 Huayu22; (f) 2021 T3 Huayu22,different lowercase letters in the pictures indicate significant differences.
Agriculture 12 00769 g012
Table 1. Initial characteristics of peanut plants after excavation.
Table 1. Initial characteristics of peanut plants after excavation.
YearPeanut
Varieties
Height of Plant/mmMain Stem Height/mmSide Length/mmCluster Diameter/mmLateral Branch Length/mm100 Pods Weight/gPods Number/
Plant
2020Shanhua 9529401397360241226.522
Huayu22589434421392258253.326
2021Shanhua 9532405380358246230.923
Huayu22603398410395259247.124
Table 2. Main differences in the three kinds of pickup drums.
Table 2. Main differences in the three kinds of pickup drums.
Type of Pickup DrumNumber of DrumsDrum DiameterDrum LengthDrum ArrangementPath Length Interval of Peanut Plant
Axial-flow type10.81.7Oblique arrangement7.8~10.2
Tangential-flow pattern6~90.51.2Parallel arrangement5.1~6.3
Tangential–axial-flow type20.483.0Transverse arrangement7.2~9.8
Table 3. Test settings.
Table 3. Test settings.
TreatmentPeanut
Varieties
Water Content
T1Shanhua 947%44%41%38%35%32%29%26%23%20%
Huayu22
T2Shanhua 947%44%41%38%35%32%29%26%23%20%
Huayu22
T3Shanhua 947%44%41%38%35%32%29%26%23%20%
Huayu22
T4Shanhua 947%44%41%38%35%32%29%26%23%20%
Huayu22
Publisher’s Note: MDPI stays neutral with regard to jurisdictional claims in published maps and institutional affiliations.

Share and Cite

MDPI and ACS Style

Wang, B.; Gu, F.; Cao, M.; Xie, H.; Wu, F.; Peng, B.; Hu, Z. Analysis and Evaluation of the Influence of Different Drum Forms of Peanut Harvester on Pod-Pickup Quality. Agriculture 2022, 12, 769. https://doi.org/10.3390/agriculture12060769

AMA Style

Wang B, Gu F, Cao M, Xie H, Wu F, Peng B, Hu Z. Analysis and Evaluation of the Influence of Different Drum Forms of Peanut Harvester on Pod-Pickup Quality. Agriculture. 2022; 12(6):769. https://doi.org/10.3390/agriculture12060769

Chicago/Turabian Style

Wang, Bokai, Fengwei Gu, Mingzhu Cao, Huanxiong Xie, Feng Wu, Baoliang Peng, and Zhichao Hu. 2022. "Analysis and Evaluation of the Influence of Different Drum Forms of Peanut Harvester on Pod-Pickup Quality" Agriculture 12, no. 6: 769. https://doi.org/10.3390/agriculture12060769

APA Style

Wang, B., Gu, F., Cao, M., Xie, H., Wu, F., Peng, B., & Hu, Z. (2022). Analysis and Evaluation of the Influence of Different Drum Forms of Peanut Harvester on Pod-Pickup Quality. Agriculture, 12(6), 769. https://doi.org/10.3390/agriculture12060769

Note that from the first issue of 2016, this journal uses article numbers instead of page numbers. See further details here.

Article Metrics

Back to TopTop