Optimizing the In-Vessel Composting Process of Sugarbeet Dry-Cleaning Residue
Abstract
:1. Introduction
2. Materials and Methods
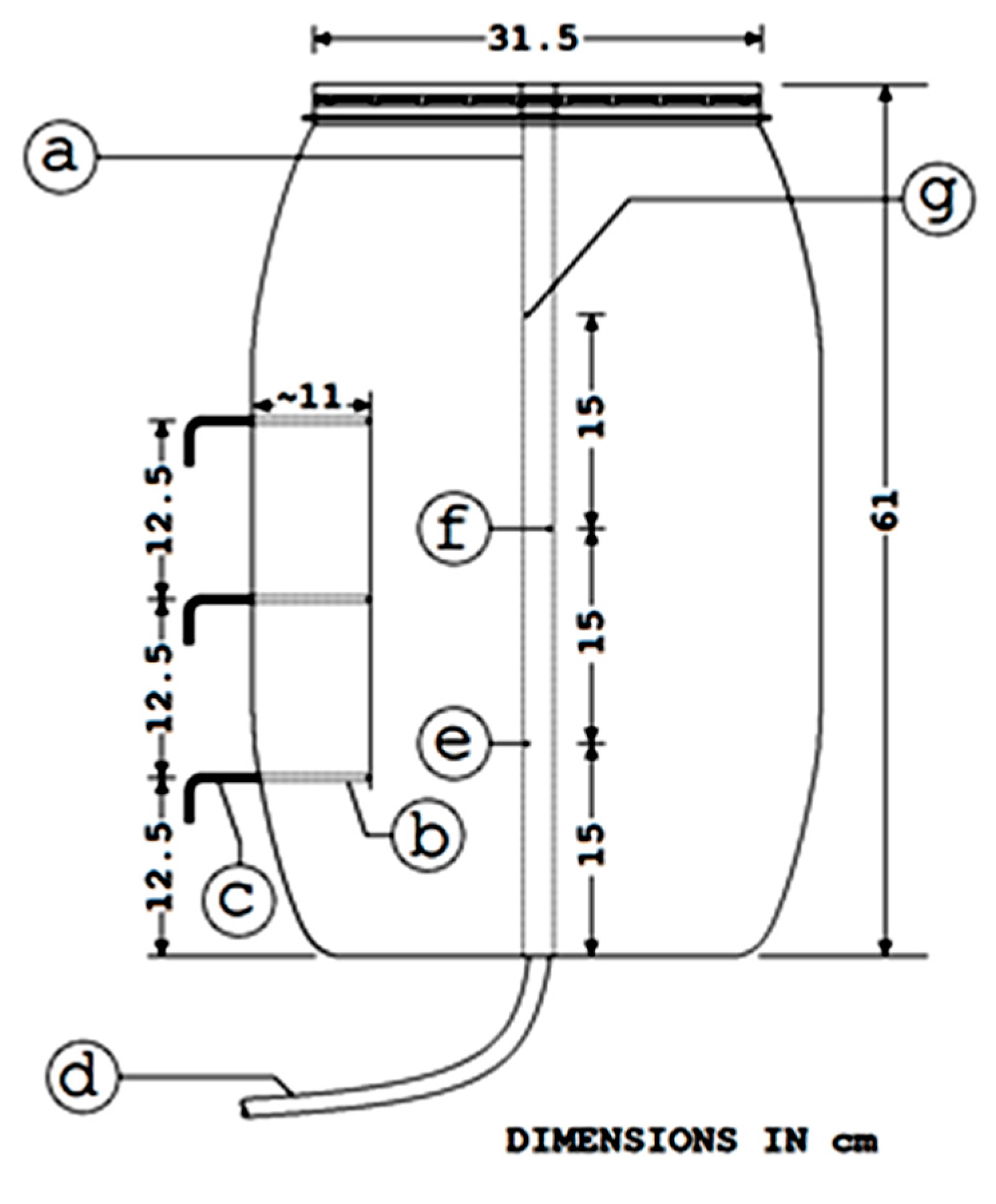
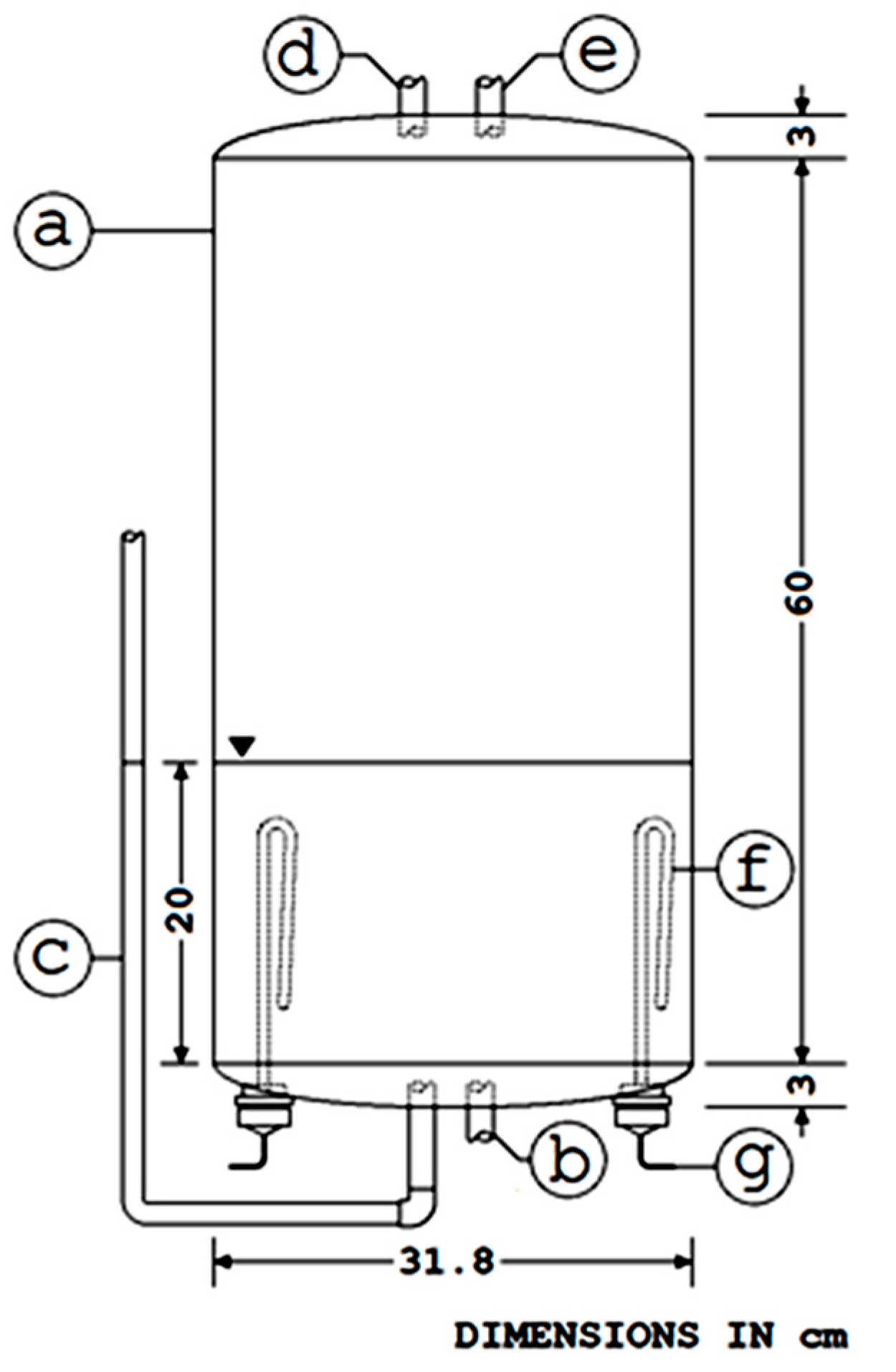
2.1. Experimentation
2.2. Installation and Operation Procedures
2.3. Experimental Design
2.4. Aeration and Moistening
2.5. Instrumentation and Measurements
2.6. Laboratory Analysis
2.7. Cress Germination Test
2.8. Statistical Analyses
3. Results and Discussion
3.1. Temperature–Time Profile
3.2. Carbon to Nitrogen Ratio (C/N Ratio)
3.3. Moisture Content of Compost
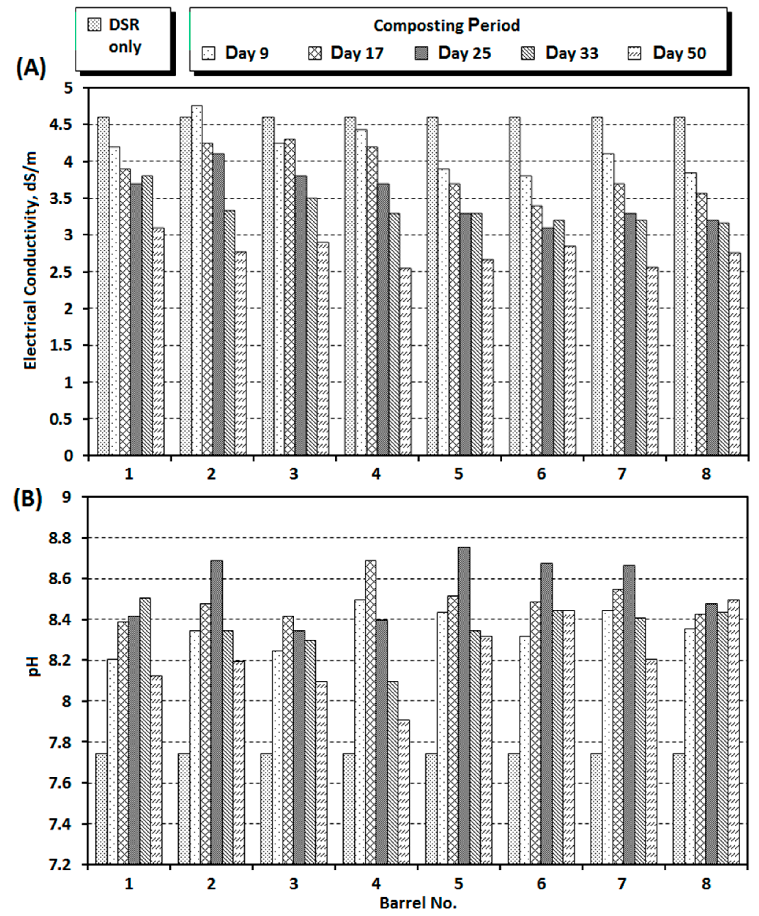
3.4. Electrical Conductivity and pH
3.5. Germination Parameters
3.6. Microbial Population Enumeration
3.7. Correlation between Parameters
3.8. Optimization Results
4. Conclusions
Author Contributions
Funding
Institutional Review Board Statement
Informed Consent Statement
Data Availability Statement
Acknowledgments
Conflicts of Interest
References
- Gupta, N.; Yadav, K.K.; Kumar, V. A review on current status of municipal solid waste management in India. J. Environ. Sci. 2015, 37, 206–217. [Google Scholar] [CrossRef] [PubMed]
- Vitorino de Souza Melaré, A.; Montenegro González, S.; Faceli, K.; Casadei, V. Technologies and decision support systems to aid solid-waste management: A systematic review. Waste Manag. 2017, 59, 567–584. [Google Scholar] [CrossRef] [PubMed]
- Ferronato, N.; Torretta, V.; Ragazzi, M.; Rada, E.C. Waste mismanagement in developing countries: A case study of environmental contamination. UPB Sci. Bull. Ser. D Mech. Eng. 2017, 79, 185–196. [Google Scholar]
- Ahmed, M.F.; Rahman, M.M. Water Supply and Sanitation: Rural and Low Income Urban Communities; ITN: Dhaka, Bangaladish, 2000. [Google Scholar]
- Vongdala, N.; Tran, H.D.; Xuan, T.D.; Teschke, R.; Khanh, T.D. Heavy metal accumulation in water, soil, and plants of municipal solid waste landfill in Vientiane, Laos. Int. J. Environ. Res. Public Health 2019, 16, 22. [Google Scholar] [CrossRef] [Green Version]
- Gutberlet, J.; Baeder, A.M. Informal recycling and occupational health in Santo André, Brazil. Int. J. Environ. Health Res. 2008, 18, 1–15. [Google Scholar] [CrossRef]
- UNEP-Global. Marine Litter: A Global Challenge; UNEP: Athens, Greece, 2009; ISBN 9789280730296. [Google Scholar]
- Chen, P.; Qinglong, X.; Addy, M.; Zhou, W.; Liu, Y.; Wang, Y.; Cheng, Y.; Li, K.; Ruan, R. Utilization of municipal solid and liquid wastes for bioenergy and bioproducts production. Bioresour. Technol. 2016, 215, 163–172. [Google Scholar] [CrossRef] [Green Version]
- Chen, D.Z.; Yin, L.; Wang, H.; He, P. Pyrolysis technologies for municipal solid waste: A review. Waste Manag. 2014, 12, 2466–2486. [Google Scholar] [CrossRef]
- Abu Qdais, H.; Wuensch, C.; Dornack, C.; Nassour, A. The role of solid-waste composting in mitigating climate change in Jordan. Waste Manag. Res. 2019, 37, 833–842. [Google Scholar] [CrossRef]
- Chaher, N.E.H.; Chakchouk, M.; Nassour, A.; Nelles, M.; Hamdi, M. Potential of windrow food and green waste composting in Tunisia. Environ. Sci. Pollut. Res. Int. 2020, 28, 46540–46552. [Google Scholar] [CrossRef]
- Oazana, S.; Naor, M.; Grinshpun, J.; Halachmi, I.; Raviv, M.; Saadi, I.; Avidov, R.; Varma, V.S.; Rosenfeld, L.; Gross, A. A flexible control system designed for lab-scale simulations and optimization of composting processes. Waste Manag. 2018, 72, 150–160. [Google Scholar] [CrossRef]
- Taiwo, A.M. Composting as a sustainable waste management technique in developing countries. J. Environ. Sci. Technol. 2011, 4, 93–102. [Google Scholar] [CrossRef] [Green Version]
- Abdel-Galil, M.A.; El-Ghobashy, Y.E.; Lamlom, M.M. Sugar beet productivity and profitability as affected by three cropping systems and mineral nitrogen fertilizer rates. In Proceedings of the 8th International Conference on Technology and Sustainable Development in the Third millennium, Alexandria, Egypt, 22–24 November 2014; pp. 161–188. [Google Scholar]
- Osama, S.; Elkholy, M.; Kansoh, R.M. Optimization of the cropping pattern in Egypt. Alex. Eng. J. 2017, 56, 557–566. [Google Scholar] [CrossRef]
- Mosen, A. Beet-Sugar Handbook; John Wiley & Sons, Inc.: Hoboken, NJ, USA, 2007. [Google Scholar]
- FAOSTAT. Food and Agriculture Organization of the United Nations (FAO), Rome, Italy. 2021. Available online: www.fao.org (accessed on 10 December 2021).
- FAO-EBRD Cooperation. Review of the Egyptian Sugar Sector; Food and Agriculture Organization of the United Nation (FAO): Rome, Italy; European Bank for Reconstruction and Development (EBRD): London, UK, 2019. [Google Scholar]
- Abdallah, S.E. Thermal efficiency enhancement of a solar drier for hay making from sugarbeet tops. AMA Agric. 2010, 41, 87–98. [Google Scholar]
- El-Tayeh, N.A.; Salama, F.M.; Loutfy, N.; Abou Alhamd, M.F. Effect of sandy soil amendment with filter mud cake on growth and some ecophysiological parameters of Daucus carota and Beta vulgaris plants. Catrina 2019, 18, 97–103. [Google Scholar] [CrossRef]
- Kheir, A.M.S.; Kamara, M.M. Effect of sugarbeet factory lime, vinasse and compost mixed with vinasse application on sandy soil properties and canola productivity. Soil Sci. Agric. Eng. Mansoura Univ. 2019, 10, 69–77. [Google Scholar]
- El-Hadidi, E.M.; El-Sherpiny, M.A.; Ezzat, S.; Abo El-Ezz, S.F. Response of barley grown on different soils to soil amendments. Soil Sci. Agric. Eng. Mansoura Univ. 2020, 11, 347–353. [Google Scholar]
- FAO—Food and Agriculture Organization of the United Nations. On-Farm Composting Methods. LAND and Water Discussion Paper No. 2; FAO: Rome, Italy, 2003. [Google Scholar]
- NRAES—Natural Resource, Agriculture, and Engineering Service. On-Farm Composting; Rynk, R., Ed.; NRAES Cooperative Extension: Ithaca, NY, USA, 1992. [Google Scholar]
- Fu, J.; Pan, F.; Song, S.; Zhang, L.; Luo, Y.; Chen, W.; Liang, Y. Biodegradation of phthalic acid esters in sewage sludge by composting with pig manure and rice straw. Environ. Earth Sci. 2013, 68, 2289–2299. [Google Scholar] [CrossRef]
- Manu, M.K.; Kumar, R.; Garg, A. Drum composting of food waste: A kinetic study. Procedia Environ. Sci. 2016, 35, 456–463. [Google Scholar] [CrossRef]
- Manu, M.K.; Kumar, R.; Garg, A. Performance assessment of improved composting system for food waste with varying aeration and use of microbial inoculum. Bioresour. Technol. 2017, 234, 167–177. [Google Scholar] [CrossRef]
- Dalzell, H.W.; Biddlestone, A.J.; Gray, K.R.; Thurairajan, K. Soil Management: Compost Production and Use in Tropical and Subtropical Environments; FAO Soils Bulletin No. 56.; FAO: Rome, Italy, 1987. [Google Scholar]
- Ewida, E.H.; El-Awady, M.N.; Kamel, O.M.; Geneady, M.A.; El-Berdiney, M. Technical and economical study for composting aeration under Egyptian conditions. Misr J. Agric. Eng. 2009, 26, 485–497. [Google Scholar] [CrossRef]
- Abdallah, S.E.; Basiouny, M.A.; Ghanem, G.H. Effectiveness of the aeration method and pile shape during composting process. AMA Agric. 2012, 43, 18–28. [Google Scholar] [CrossRef]
- Cayuela, M.L.; Sánchez-Monedero, M.A.; Roig, A. Evaluation of two different aeration systems for composting two-phase olive mill wastes. Process Biochem. 2006, 41, 616–623. [Google Scholar] [CrossRef]
- Chowdhury, M.A.; de Neergaard, A.; Jensen, L.S. Potential of aeration flow rate and bio-char addition to reduce greenhouse gas and ammonia emissions during manure Composting. Chemosphere 2014, 97, 16–25. [Google Scholar] [CrossRef] [PubMed]
- Wang, Y.; Qiu, H.; Li, M.; Ghanney, P. Influence of aeration method on gaseous emissions and the losses of the carbon and nitrogen during cow manure composting. Appl. Sci. 2021, 11, 11639. [Google Scholar] [CrossRef]
- Abu Koura, H.; EL-Zemrany, H.; El-Boraie, A. Effect of two aeration systems on the physicochemical parameters during composting of the cattle and poultry manures. Menoufia J. Soil Sci. 2020, 5, 33–49. [Google Scholar] [CrossRef]
- Gao, M.; Li, B.; Yu, A.; Liang, F.; Yang, L.; Sun, Y. The effect of aeration rate on forced-aeration composting of chicken manure and sawdust. Bioresour. Technol. 2010, 101, 1899–1903. [Google Scholar] [CrossRef]
- Barthod, J.; Rumpel, C.; Dignac, M. Composting with additives to improve organic amendments. A review. Agron. Sustain. Dev. 2018, 38, 17. [Google Scholar] [CrossRef] [Green Version]
- Wu, I.-P.; Barragan, J.; Vincent, F.B. Chapter 10: Field performance and evaluation. In Microirrigation for Crop Production: Design, Operation and Management; Lamm, F.R., Ayars, J.E., Nakayama, F.S., Eds.; Elsevier: Amsterdam, The Netherlands, 2006. [Google Scholar]
- Saxena, C.K.; Bajpai, A.; Nayak, A.K.; Pyasi, S.K.; Singh, R.; Gupta, S.K. Chapter 7: Hydraulic performance of litchi and banana under drip irrigation. In Micro Irrigation Scheduling and Practices; Megh, R., Goyal, B.P., Sudhindra, N.P., Eds.; CRC Press: Boca Raton, FL, USA, 2017. [Google Scholar]
- Alberta Environment. Mid-Scale Composting Manual; T/506; Olds College: Olds, AB, Canada, 1999. [Google Scholar]
- Kader, M.A. A comparison of seed germination calculation formulae and the associated interpretation of resulting data. J. Proc. R. Soc. N. S. W. 2005, 138, 65–75. [Google Scholar]
- Al-Alawi, M.; Szegi, T.; El Fels, L.; Hafidi, M.; Simon, B.; Gulyas, M. Green waste composting under GORE(R) cover membrane at industrial scale: Physico-chemical properties and spectroscopic assessment. Int. J. Recycl. Org. Waste Agricult. 2019, 8, 385–397. [Google Scholar] [CrossRef] [Green Version]
- Tiquia, S.M. Microbiological parameters as indicators of compost maturity. J. Appl. Microbiol. 2005, 99, 816–828. [Google Scholar] [CrossRef] [Green Version]
- Khalil, A.; Domeizel, M.; Prudent, P. Monitoring of green waste composting process based on redox potential. Bioresour. Technol. 2008, 99, 6037–6045. [Google Scholar] [CrossRef]
- Bernal, M.P.; Alburquerque, J.A.; Moral, R. Composting of animal manures and chemical criteria for compost maturity assessment. A review. Bioresour. Technol. 2009, 100, 5444–5453. [Google Scholar] [CrossRef] [PubMed]
- González, I.; Robledo-Mahón, T.; Silva-Castro, G.A.; Rodríguez-Calvo, A.; Gutiérrez, M.C.; Martín, M.Á.; Chica, A.F.; Calvo, C. Evolution of the composting process with semi-permeable film technology at industrial scale. J. Clean. Prod. 2016, 115, 245–254. [Google Scholar] [CrossRef]
- Mohee, R. Waste management opportunities for rural communities: Composting as an effective waste management strategy for farm households and others. In Agricultural and Food Engineering Working Document No. 6; FAO: Rome, Italy, 2007. [Google Scholar]
- Insam, H.; de Bertoli, M. Microbiology of the composting process. Waste Manag. Ser. 2007, 8, 25–48. [Google Scholar]
- Mehta, C.M.; Palni, U.; Franke-Whittle, I.H.; Sharma, A.K. Compost: Its role, mechanism and impact on reducing soil-borne plant diseases. Waste Manag. 2014, 34, 607–622. [Google Scholar] [CrossRef] [PubMed]
- Bernai, M.P.; Paredes, C.; Sánchez-Monedero, M.A.; Cegarra, J. Maturity and stability parameters of composts prepared with a wide range of organic wastes. Bioresour. Technol. 1998, 63, 91–99. [Google Scholar] [CrossRef]
- Azim, K.; Soudi, B.; Boukhari, S.; Perissol, C.; Roussos, S.; Thami Alami, I. Composting parameters and compost quality: A literature review. Org. Agric. 2018, 8, 141–158. [Google Scholar] [CrossRef]
- Garcia, C.; Hernandez, T.; Costa, F.; Ayuso, M. Evaluation of the maturity of municipal waste compost using simple chemical parameters. Commun. Soil Sci. Plant Anal. 1992, 23, 1501–1512. [Google Scholar] [CrossRef]
- Fontanive, V.; Effron, D.; Tortarolo, F.; Arrigo, N. Evaluation of parameters during composting of two contrasting raw materials. Compost Sci. Util. 2004, 12, 268–272. [Google Scholar] [CrossRef]
- Mbeah, M. Composting piggery waste: A review. Bioresour Technol. 1997, 63, 197–203. [Google Scholar]
- Haug, R.T. Process kinetics and product stability. In The Practical Handbook of Compost Engineering; Lewis Publishers: Boca Raton, FL, USA, 1993; pp. 335–383. [Google Scholar]
- de Bertoldi, M.; Vallini, G.; Pera, A. The biology of composting: A review. Waste Manag. Res. 1983, 1, 157–176. [Google Scholar] [CrossRef]
- Das, K.; Keener, H.M. Moisture effect on compaction and permeability in composts. J. Environ. Eng. 1997, 123, 275–281. [Google Scholar] [CrossRef]
- Liang, C.; Das, K.C.; McClendon, R.W. The influence of temperature and moisture contents regimes on the aerobic microbial activity of a biosolids composting blend. Bioresour. Technol. 2003, 86, 131–137. [Google Scholar] [CrossRef]
- Ahn, H.K.; Richard, T.L.; Glanville, T.D. Optimum moisture levels for biodegradation of mortality composting envelope materials. Waste Manag. 2008, 28, 1411–1416. [Google Scholar] [CrossRef] [PubMed]
- Cronjé, A.L.; Turner, C.; Williams, A.G.; Barker, A.J.; Guy, S. The respiration rate of composting pig manure. Compost Sci. Util. 2004, 12, 119–129. [Google Scholar] [CrossRef]
- Gao, M.; Liang, F.; Yu, A.; Li, B.; Yang, L. Evaluation of stability and maturity during forced-aeration composting of chicken manure and sawdust at different C/N ratios. Chemosphere 2010, 78, 614–619. [Google Scholar] [CrossRef]
- Chan, M.T.; Selvam, A.; Wong, J.W.C. Reducing nitrogen loss and salinity during ‘struvite’ food waste composting by zeolite amendment. Bioresour. Technol. 2016, 200, 838–844. [Google Scholar] [CrossRef]
- Senesi, N. Composted materials as organic fertilizers. Sci. Total Environ. 1989, 81–82, 521–542. [Google Scholar] [CrossRef]
- Sánchez-Bascones, M.; Díez-Gutiérrez, M.A.; Gangas, E.R.; Hernández-Navarro, S.; Corrêa-Guimarães, A.; Navas-Gracia, L.M.; Martín-Gil, J. Use of potato peelings in composting techniques: A high-priority and low-cost alternative for environmental remediation. Dyn. Soil Dyn. Plant 2008, 72–89. [Google Scholar]
- Veeken, A.; Nierop, K.; De Wilde, V.; Hamelers, B. Characterization of NaOH-extracted humic acids during composting of a biowaste. Bioresour. Technol. 2000, 72, 33–41. [Google Scholar] [CrossRef]
- El Zein, A.; Hamdy, S.; Essam, G. Moisture content and thermal balance during composting of fish, banana mulch and municipal solid wastes. Eur. Sci. J. 2015, 11, 169–187. [Google Scholar]











| A | ||||||
|---|---|---|---|---|---|---|
| Barrel No. | Aeration Method | Additives and Nutrients | Aeration Frequency | Moistening Frequency | ||
| Charcoal, % of Feed | Manure, % of Feed | Urea, g | ||||
| 1 | Forced | 0 | 0 | 400 | 4 times per day (every six hours) | 4 times per day (every six hours) within aeration |
| 2 | Forced | 0 | 5 | 400 | ||
| 3 | Forced | 5 | 5 | 400 | ||
| 4 | Forced | 5 | 0 | 400 | ||
| 5 | Passive | 0 | 0 | 400 | Continuously except during moistening with forced moist air | 1/4 h every three days (if there is a need) |
| 6 | Passive | 5 | 0 | 400 | ||
| 7 | Passive | 0 | 5 | 400 | ||
| 8 | Passive | 5 | 5 | 400 | ||
| B | ||||||
| Response | Factor | Levels | No. of Levels | Variation Intervals | ||
| Low (−1) | High (+1) | |||||
| C/N accumulative reduction percentage | Aeration method (qualitative) | 0 | 1 | 2 | 1 | |
| Charcoal % of feed | 0 | 5 | 2 | 5 | ||
| Manure % of feed | 0 | 5 | 2 | 5 | ||
| Composting period, day | 1 | 33 | 3 | 16 | ||
| Temperature uniformity coefficient; difference between ambient and maximum temperature; electrical conductivity; moisture content and pH | Aeration method (qualitative) | 0 | 1 | 2 | 1 | |
| Charcoal % of feed | 0 | 5 | 2 | 5 | ||
| Manure % of feed | 0 | 5 | 2 | 5 | ||
| Composting period, day | 9 | 33 | 4 | 8 | ||
| C | ||||||
| Nutrients | %, Dry Matter Basis | |||||
| Dry matter | 95 | |||||
| Crude protein | 2 | |||||
| Crude fiber | 77 | |||||
| Crude fat | 1 | |||||
| Ash | 15 | |||||
| Barrel No. | C/N * | Electrical Conductivity, dS/m | pH | Moisture Content, % wb |
|---|---|---|---|---|
| 1 | 15 ± 0.5 b | 3.10 ± 0.09 a | 8.13 ± 0.01 e | 49 ± 1.73 cd |
| 2 | 14 ± 0 c | 2.78 ± 0.01 c | 8.20 ± 0.01 d | 52 ± 0.00 ab |
| 3 | 14 ± 0.5 c | 2.90 ± 0.00 b | 8.10 ± 0.02 e | 53 ± 1.00 a |
| 4 | 14 ± 0.5 c | 2.55 ± 0.01 e | 7.91 ± 0.02 e | 50 ± 1.00 bc |
| 5 | 14 ± 0 c | 2.67 ± 0.01 d | 8.32 ± 0.00 c | 47 ± 0.00 de |
| 6 | 15 ± 0 b | 2.85 ± 0.00 b | 8.45 ± 0.02 b | 48 ± 1.73 cd |
| 7 | 16 ± 0.5 a | 2.57 ± 0.01 e | 8.21 ± 0.02 d | 49 ± 0.00 cd |
| 8 | 15 ± 0 b | 2.76 ± 0.02 c | 8.5 ± 0.06 a | 45 ± 1.73 e |
| DSR | 120 | 4.60 | 7.75 | — |
| Recommended of finished compost | ≤25 | ≤3.5 (adult plants) and ≤2 (seedling) | <8 | 30–50 |
| Reference | [46] | [53] | [23] | [46] |
| Germination Medium | Germinated Seeds | FGP, % | MGT, Day | FDG, Day | LDG, Day | TSG, Day | CVG, — | GRI, %/Day | GI, — | |
|---|---|---|---|---|---|---|---|---|---|---|
| Mixture of 75% soil and 25% compost from barrel No. | 1 | 42 ± 1.0 f | 0.42 | 5.35 | 3 | 7 | 4 | 18.66 | 8.09 | 237 |
| 2 | 53 ± 0.0 d | 0.53 | 4.94 | 3 | 7 | 4 | 20.22 | 11.14 | 321 | |
| 3 | 61± 0.0 a | 0.61 | 4.85 | 2 | 7 | 5 | 20.60 | 13.39 | 533 | |
| 4 | 58 ± 1.7 b | 0.58 | 4.89 | 3 | 8 | 5 | 20.42 | 12.47 | 354 | |
| 5 | 34 ± 1.7 g | 0.34 | 5.35 | 4 | 7 | 3 | 18.68 | 6.47 | 192 | |
| 6 | 46 ± 0.0 e | 0.46 | 5.39 | 4 | 8 | 4 | 18.54 | 8.76 | 258 | |
| 7 | 41 ± 1.0 f | 0.41 | 5.21 | 3 | 7 | 4 | 19.15 | 8.08 | 237 | |
| 8 | 42 ± 0.0 f | 0.42 | 5.02 | 3 | 8 | 5 | 19.90 | 8.64 | 251 | |
| control | 55 ± 1.0 c | 0.55 | 4.89 | 2 | 8 | 6 | 20.44 | 11.97 | 336 | |
| Composting Mass Property | Germination Medium Parameters | |||||||||
|---|---|---|---|---|---|---|---|---|---|---|
| FGP | MGT | FDG | LDG | TSG | CVG | GRI | GI | |||
| C/N difference between days (1–33) | 0.922 | −0.832 | −0.755 | 0.095 | 0.754 | 0.841 | 0.939 | 0.889 | ||
| Moisture content | 0.322 | −0.085 | −0.532 | −0.581 | 0.056 | 0.093 | 0.299 | 0.348 | ||
| pH average | −0.738 | 0.584 | 0.780 | 0.134 | −0.609 | −0.594 | −0.749 | −0.755 | ||
| Average of temperature uniformity coefficients | −0.808 | 0.471 | 0.421 | −0.476 | −0.730 | −0.482 | −0.764 | −0.739 | ||
| No. of bacteria average | 0.769 | −0.790 | −0.856 | −0.271 | 0.577 | 0.792 | 0.791 | 0.784 | ||
| No. of bacteria | 9th day | 0.773 | −0.779 | −0.843 | −0.220 | 0.603 | 0.781 | 0.790 | 0.746 | |
| 17th day | 0.800 | −0.862 | −0.835 | −0.202 | 0.609 | 0.864 | 0.832 | 0.828 | ||
| day 50 | 0.726 | −0.735 | −0.858 | −0.354 | 0.518 | 0.737 | 0.746 | 0.746 | ||
| No. of fungi average | 0.626 | −0.762 | −0.877 | −0.227 | 0.629 | 0.758 | 0.660 | 0.616 | ||
| No. of fungi | 9th day | 0.724 | −0.743 | −0.820 | −0.251 | 0.559 | 0.744 | 0.742 | 0.732 | |
| 17th day | 0.553 | −0.736 | −0.792 | −0.154 | 0.604 | 0.729 | 0.587 | 0.469 | ||
| 50th day | 0.504 | −0.714 | −0.919 | −0.243 | 0.655 | 0.708 | 0.555 | 0.550 | ||
| No. of actinomycetes average | 0.534 | −0.597 | −0.626 | −0.426 | 0.256 | 0.599 | 0.555 | 0.533 | ||
| No. of actinomycetes | 9th day | 0.337 | −0.452 | −0.373 | −0.355 | 0.078 | 0.452 | 0.358 | 0.322 | |
| 17th day | 0.712 | −0.753 | −0.873 | −0.235 | 0.619 | 0.753 | 0.734 | 0.758 | ||
| 50th day | 0.476 | −0.485 | −0.554 | −0.528 | 0.115 | 0.488 | 0.492 | 0.455 | ||
| Composting Mass Property | Composting Period | ||||
|---|---|---|---|---|---|
| 9 | 17 | 25 | 33 | 50 | |
| Moisture content | −0.023 | 0.136 | −0.221 | −0.556 | 0.227 |
| pH | 0.187 | −0.115 | 0.744 | 0.134 | −0.371 |
| C/N | — | 0.958 | 0.790 | 0.072 | |
| Electrical Conductivity | −0.405 | −0.510 | −0.145 | −0.450 | −0.214 |
| No. of bacteria | −0.562 | −0.524 | — | — | −0.170 |
| No. of fungi | −0.504 | −0.304 | — | — | −0.299 |
| No. of actinomycetes | −0.112 | −0.182 | — | — | 0.143 |
| Factors | Constants of accumulative C/N reduction percentage response model (Equation (2)) (R2 = 99.7864%) | Factors | Constants of accumulative C/N reduction percentage response model (Equation (2)) (R2 = 99.7864%) | ||
|---|---|---|---|---|---|
| — | a0 | −0.10841 | AC | a6 | 0.119048 |
| A | a1 | −1.34859 | AD | a7 | 0.30692 |
| B | a2 | −0.128348 | BC | a8 | 0.0238095 |
| C | a3 | −0.225074 | BD | a9 | 0.0390625 |
| D | a4 | 0.932966 | CD | a10 | 0.0167411 |
| AB | a5 | 0.119048 | D2 | a11 | −0.00610352 |
| Factors | Constants of difference between maximum and ambient temperature response model (Equation (3)) (R2 = 93.956%) | Factors | Constants of difference between maximum and ambient temperature response model (Equation (3)) (R2 = 93.956%) | ||
| — | a0 | −15.2969 | CD | a10 | 0.0327853 |
| A | a1 | −1.18964 | D2 | a11 | −0.183979 |
| B | a2 | −0.353411 | AD2 | a12 | −0.00533569 |
| C | a3 | −0.365753 | BD2 | a13 | −0.00255076 |
| D | a4 | 3.72459 | CD2 | a14 | −0.000763493 |
| AB | a5 | −0.141319 | D3 | a15 | 0.00272138 |
| AC | a6 | −0.21681 | ABC | a16 | 0.0327142 |
| AD | a7 | 0.387232 | ABD | a17 | −0.0126791 |
| BC | a8 | −0.0535223 | ACD | a18 | 0.00533698 |
| BD | a9 | 0.089878 | BCD | a19 | 0.00288269 |
| Factors | Constants of temperature uniformity coefficient response model (Equation (3)) (R2 = 92.0892%) | Factors | Constants of temperature uniformity coefficient response model (Equation (3)) (R2 = 92.0892%) | ||
| — | a0 | 98.6683 | CD | a10 | −0.0191819 |
| A | a1 | −2.64579 | D2 | a11 | 0.0127506 |
| B | a2 | −0.0800762 | AD2 | a12 | −0.00314591 |
| C | a3 | −0.312798 | BD2 | a13 | 0.00231271 |
| D | a4 | −0.110201 | CD2 | a14 | 0.000619359 |
| AB | a5 | −0.0710262 | D3 | a15 | −0.000294857 |
| AC | a6 | 0.300816 | ABC | a16 | −0.157574 |
| AD | a7 | 0.00369685 | ABD | a17 | 0.0272229 |
| BC | a8 | 0.227786 | ACD | a18 | 0.00788759 |
| BD | a9 | −0.106934 | BCD | a19 | −0.00434526 |
| Factors | Constants of electrical conductivity response model (Equation (3)) (R2 = 95.9006%) | Factors | Constants of electrical conductivity response model (Equation (3)) (R2 = 95.9006%) | ||
|---|---|---|---|---|---|
| — | a0 | 4.17565 | CD | a10 | 0.00362734 |
| A | a1 | −0.199045 | D2 | a11 | −0.00314575 |
| B | a2 | −0.0220395 | AD2 | a12 | −0.0015918 |
| C | a3 | 0.029566 | BD2 | a13 | −0.0000800781 |
| D | a4 | −0.006337 | CD2 | a14 | −0.000193359 |
| AB | a5 | 0.0782375 | D3 | a15 | 0.0000801595 |
| AC | a6 | 0.0551125 | ABC | a16 | −0.0081 |
| AD | a7 | 0.0656367 | ABD | a17 | −0.0019875 |
| BC | a8 | −0.0231425 | ACD | a18 | −0.0008625 |
| BD | a9 | 0.00136953 | BCD | a19 | 0.0011925 |
| Factors | Constants of moisture content response model (Equation (3)) (R2 = 93.321%) | Factors | Constants of moisture content response model (Equation (3)) (R2 = 93.321%) | ||
| — | a0 | 25.7218 | CD | a10 | 0.151094 |
| A | a1 | 3.9793 | D2 | a11 | −0.435059 |
| B | a2 | −1.29484 | AD2 | a12 | 0.0136719 |
| C | a3 | −1.54836 | BD2 | a13 | −0.00234375 |
| D | a4 | 7.33096 | CD2 | a14 | −0.00273438 |
| AB | a5 | −0.2125 | D3 | a15 | 0.00732422 |
| AC | a6 | 0.31 | ABC | a16 | 0.28 |
| AD | a7 | −0.242969 | ABD | a17 | −0.0375 |
| BC | a8 | −0.0505 | ACD | a18 | −0.06 |
| BD | a9 | 0.122187 | BCD | a19 | 0.0005 |
| Factors | Constants of pH response model (Equation (3)) (R2 = 75.2678%) | Factors | Constants of pH response model (Equation (3)) (R2 = 75.2678%) | ||
| — | a0 | 8.2454 | CD | a10 | −0.00409922 |
| A | a1 | −0.18399 | D2 | a11 | 0.00204224 |
| B | a2 | 0.00912773 | AD2 | a12 | 0.0000878906 |
| C | a3 | 0.0550387 | BD2 | a13 | 0.0000371094 |
| D | a4 | 0.00136108 | CD2 | a14 | 0.0000605469 |
| AB | a5 | 0.105063 | D3 | a15 | −0.000057373 |
| AC | a6 | −0.0126375 | ABC | a16 | −0.0047 |
| AD | a7 | 0.000152344 | ABD | a17 | −0.0043125 |
| BC | a8 | −0.0127425 | ACD | a18 | 0.0013875 |
| BD | a9 | −0.00166484 | BCD | a19 | 0.0004925 |
| Optimized Response | Goal | Optimum Value | Aeration Method (Quantitative Value) | Charcoal % of Feed | Manure % of Feed | Composting Period, Day |
|---|---|---|---|---|---|---|
| Y | Factor A | Factor B | Factor C | Factor D | ||
| accumulative C/N reduction, % | Maximize response | 42.04 | 1 | 5 | 5 | 33 |
| Difference between maximum and ambient, °C | Maximize response | 12.48 | 1 | 5 | 0 | 17 |
| Temperature uniformity coefficient, % | Maximize response | 99.29 | 0.00010618 | 3.79398 × 10−8 | 0.00178342 | 23.5619 |
| Electrical conductivity, dS/m | Maintain at 3.5 (adult plants) | 3.50 | 0.363446 | 2.68 | 2.60 | 23.6287 |
| Maintain at 2 (seedlings) | 3.053 | 6.15404 × 10−9 | 4.98 | 0.0001 | 29.49 | |
| Moisture content, % wb | Maintain at 50 | 50.63 | 1.80708 × 10−10 | 6.40211 × 10−9 | 0.0018 | 27.42 |
| pH | Maintain at 8 | 8.16 | 1.00 | 5 | 0.00 | 33.00 |
Publisher’s Note: MDPI stays neutral with regard to jurisdictional claims in published maps and institutional affiliations. |
© 2022 by the authors. Licensee MDPI, Basel, Switzerland. This article is an open access article distributed under the terms and conditions of the Creative Commons Attribution (CC BY) license (https://creativecommons.org/licenses/by/4.0/).
Share and Cite
Abdallah, S.E.; Mazrou, Y.S.A.; Elsakhawy, T.; Elgarhy, R.; Elmetwalli, A.H.; Elsayed, S.; Elmessery, W.M. Optimizing the In-Vessel Composting Process of Sugarbeet Dry-Cleaning Residue. Agriculture 2022, 12, 427. https://doi.org/10.3390/agriculture12030427
Abdallah SE, Mazrou YSA, Elsakhawy T, Elgarhy R, Elmetwalli AH, Elsayed S, Elmessery WM. Optimizing the In-Vessel Composting Process of Sugarbeet Dry-Cleaning Residue. Agriculture. 2022; 12(3):427. https://doi.org/10.3390/agriculture12030427
Chicago/Turabian StyleAbdallah, Said Elshahat, Yasser S. A. Mazrou, Tamer Elsakhawy, Reda Elgarhy, Adel H. Elmetwalli, Salah Elsayed, and Wael M. Elmessery. 2022. "Optimizing the In-Vessel Composting Process of Sugarbeet Dry-Cleaning Residue" Agriculture 12, no. 3: 427. https://doi.org/10.3390/agriculture12030427
APA StyleAbdallah, S. E., Mazrou, Y. S. A., Elsakhawy, T., Elgarhy, R., Elmetwalli, A. H., Elsayed, S., & Elmessery, W. M. (2022). Optimizing the In-Vessel Composting Process of Sugarbeet Dry-Cleaning Residue. Agriculture, 12(3), 427. https://doi.org/10.3390/agriculture12030427

