Next Article in Journal
Development and Validation of Pesticide Residues Determination Method in Fruits and Vegetables through Liquid and Gas Chromatography Tandem Mass Spectrometry (LC-MS/MS and GC-MS/MS) Employing Modified QuEChERS Method and a Centrifugal Vacuum Concentrator
Next Article in Special Issue
Numerical Simulation of Seed-Movement Characteristics in New Maize Delivery Device
Previous Article in Journal
Spatial Distribution of Salmonella in Soil near Municipal Waste Landfill Site
Previous Article in Special Issue
Analysis and Design of Operating Parameters of Floor-Standing Jujube Pickup Device Based on Discrete Element Method
 
 
Font Type:
Arial Georgia Verdana
Font Size:
Aa Aa Aa
Line Spacing:
Column Width:
Background:
Review

Study on the Technologies of Loss Reduction in Wheat Mechanization Harvesting: A Review

College of Mechanical and Electrical Engineering, Henan Agricultural University, Zhengzhou 450002, China
*
Author to whom correspondence should be addressed.
Agriculture 2022, 12(11), 1935; https://doi.org/10.3390/agriculture12111935
Submission received: 19 October 2022 / Revised: 11 November 2022 / Accepted: 14 November 2022 / Published: 17 November 2022

Abstract

Wheat harvesting is one of the most important links in the whole wheat production process. In China, the wheat planting areas are wide, and the patterns are diversified. In addition, the problem of harvest losses caused by the numerous brands and low performance of domestic combine harvesters has always existed. Any losses during harvesting will result in less income for the farmers. Therefore, according to the actual situation of mechanized wheat harvesting and the losses occurring within different parts of the harvester, it is of great significance to select the appropriate loss reduction methods to effectively reduce wheat harvest losses. In accordance with the problems of loss during mechanized harvesting, this research first points out the main losses in the operation of a wheat combine harvester, then introduces sensor monitoring technology for grain harvesting loss and intelligent control technology for the combine harvester and analyzes their application to loss reduction in mechanized wheat harvesting. Finally, we put forward conclusions and suggestions on this loss reduction technology for wheat mechanization harvesting in order to provide a reference for reducing the losses and promoting the sustainable development of modern agriculture.

1. Introduction

China is listed as the largest grain producer [1]. In 2021, the wheat planting areas were 23.568 million ha, with a total output of 136.946 million tons [2]. Wheat harvesting is one of the most important operations in the whole production process. Harvest loss refers to a decrease in the total grain output and quality during grain harvesting, and it also represents a direct loss of farmers’ income [3,4]. Mechanized wheat harvesting losses mainly include header losses, threshing and separation losses, and cleaning losses [5]. At different harvest stages, the overall loss rate of wheat production is about 6.58%. The maximum loss of grain occurred in the process of the mechanical harvest of the crops (2.18%), followed by the loss caused by bird feeding, rodents, insect pests, natural grain falling, etc. (1.92%), and nearly 0.38% of grain loss was caused in the process of transportation [6]. In recent years, more and more relevant studies and reports have confirmed that the loss of wheat during harvest is becoming more and more serious, which needs to be solved urgently [7,8,9]. Therefore, we should attach importance to the problem of grain harvest loss and take positive actions to reduce it, and increase the research on loss detection devices so as to lay a foundation for better reducing grain harvest loss.
The total annual loss of wheat in China is about 9.011 million tons, which is equivalent to the harvest of 1.2 million ha of land. The wheat loss mainly comes from the loss during the growth period and mechanized harvest; the mechanized harvest loss accounts for the main part of the total loss. How to effectively reduce the loss rate of grain during the harvest process is an urgent problem to be solved. Starting from the main losses that occur from the operation of a wheat combine harvester, this paper expounds the causes of such losses considering each working part of the combine harvester and focuses on the application status of sensor monitoring technology and intelligent control technology for the combine harvester regarding grain harvest loss, which provides a reference and basis for effectively reducing the loss of mechanized wheat harvesting.

2. Major Losses in Wheat Combine Harvester Operation

A combine harvester can complete multiple processes such as cutting, threshing, cleaning, and separation all at one time, which greatly improves grain harvesting efficiency. Before making any changes or adjustments in order to reduce losses, it is helpful to understand the working principle of a combine harvester. The operation of a combine harvester is highlighted in Figure 1 and begins at the header unit, where the cutting and gathering of the grains takes place. Then, the material is fed to the threshing cylinder through the inclined conveyor for threshing and separation, and then the straw is discharged from the end of the cylinder. The mixture of the remaining grains, short stalks, and impurities fall into the shaking plate through the concave screen and then enter the cleaning system for cleaning. The clean grains are transported to a storage tank through the grain conveying device, and the grain is unloaded when the grain tank is filled.
The losses caused by the combine harvester during field operation can be divided into header losses (losses at the front of a harvester) and comprehensive losses (losses during threshing, separation, and cleaning). The following are the different types of losses that occur during harvesting operations.

2.1. Header Losses

A study of harvest loss at North Dakota State University showed that most of the harvest losses occur before the grains entered the machine; the grain loss caused by the combine header accounts for more than 50% of the total harvest losses [10], which is mainly caused by low manual mechanical adjustment accuracy and header vibration. When the machine is harvesting, the height of the reel should be such that the reel plate acts at two-thirds of the height of the wheat plants; if the reel is too high, it easily hits the wheat ears, causing the grains to fall off. When the reel position is too low, the wheat grain is easily deflected to the forward direction of the machine. When wheat plants are cut, the wheat ears fall to the front of the header; when the speed of the reel is too high, it can easily break the wheat ears from the root, resulting in serious wheat ear losses. When wheat is harvested by a machine after it is fully mature, the vibration of the header will also cause some grains to fall down due to less adhesion between the grains and the wheat ears [11]. When harvesting to the end of a field, if the header is raised slowly, the wheat plants left on the header floor will be thrown out due to inertia [12]. The low intelligence level of the header and poor accuracy of manual mechanical adjustment are important reasons for wheat loss and provide a starting point for improving intelligence to reduce harvest loss. Domestic combine harvesters are usually purchased by farmers themselves, the operators generally start harvesting without formal training and understanding the functions of combine. Incorrect operation is also the cause of serious harvest losses. The position of reel action is shown in Figure 2.

2.2. Losses Due to Threshing and Separation

The threshing and separation system is one of the core working areas of a wheat combine harvester, which play a key role in grain loss and crushing during harvesting operation, directly affecting the operating performance of the whole machine [13,14]. In the process of grain threshing and separation, it is inevitable that there will be unclean threshing, broken grains, and incomplete separation, resulting in grain loss, which is closely related to the structure form of the threshing cylinder, concave clearance, the amount of material feeding, and other parameters.
According to the flow direction of the materials, the structures of the threshing cylinders on a combine harvester can be roughly divided into tangential flow type, transverse axial flow type, tangential flow + transverse axial flow type, longitudinal axial flow type, and tangential flow + longitudinal axial flow type. Figure 3 shows the five structural forms of the threshing cylinder. For the tangential flow threshing cylinder, the grain tangentially enters the concave (concave ‘wrap’ angle α was between 105° and 120°) part and is then discharged along the tangential direction of the cylinder, which leads to the unclean threshing of the grain ears due to the extremely short time taken. For the axial flow threshing cylinder, the grain tangentially enters the threshing chamber, spirals forward in the axial direction (while moving circularly with cylinder) and is then finally thrown out in the axial direction, which leads to unclean threshing due to the short length of time and low effectiveness of threshing. For the longitudinal axial flow cylinder, the grain axially enters and axially discharges, and the grain crushing rate is higher due to the long movement path of the materials along the cylinder axial direction, with a long threshing time [15]. For the tangential + longitudinal axial flow cylinder, the grain tangentially enters and axially discharges, which takes a long time to thresh, with straw crushing seriously increasing the difficulty of the separation, and there are certain grain-crushing and entrainment losses. The existing threshing cylinders have some degree of grain loss, so it is necessary to use intelligent sensor technology, such as a grain entrainment loss monitoring sensor and a speed sensor, to achieve grain loss monitoring and the real-time adjustment of the cylinder parameters to reduce threshing and separation losses. At the same time, when the concave clearance is too large, the material flow is better, but the amount of unthreshed material is high; if the clearance is too small, it is easy for blockages to affect the operational efficiency of the whole machine.

2.3. Cleaning Losses

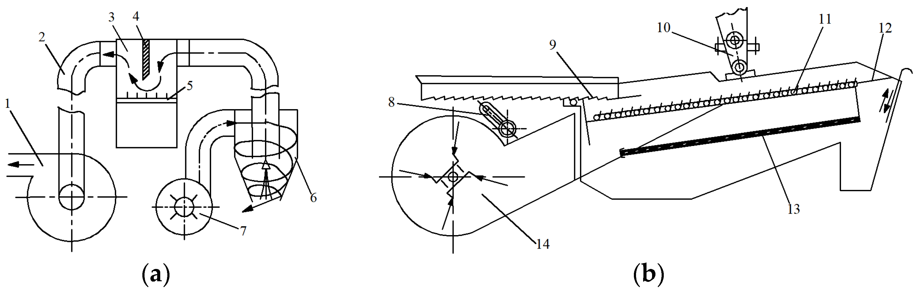
When the combine harvester is operating in the field, the cleaning system can inevitably produce grain loss; cleaning loss is an important parameter for measuring the operational performance of a combine harvester, and it is also one of the important links for causing harvest grain losses [16,17]. The cleaning loss rate is affected by the cleaning mode, feeding amount, the working parameters of the mechanism, etc. At present, the cleaning devices mainly include the airflow type and the air and screen type [18,19]. The airflow cleaning device is generally used on micro and small-sized harvesters in mountainous and hilly areas; it is difficult for the airflow-only system to remove long stalks and high humidity impurities due to the limitation of its structure and power, resulting in high impurity content. The air and screen cleaning device is widely used, with strong applicability; the impurity content is smaller after cleaning, and the cleaning loss is greatly affected by the feeding amount. When the feeding amount is too large, the broken straw stacked on the screen surface is too thick, and the cleaning burden becomes too heavy, resulting in grain loss [20]. Secondly, when the speed of the cleaning fan is too high, the wheat grains (after cleaning) are relatively clean, but most of the grains are blown out of the machine due to the higher fan speed; if the speed of the fan is too low, the impurities cannot be completely separated from the grain, resulting in high impurity content. If the vibration frequency of the vibrating screen is too high or the inclination angle is too small, some grains will be excluded from the machine before falling through the screen hole. In short, in order to achieve the best cleaning result, it is necessary to monitor cleaning loss with the help of sensor technology in real time, and then automatically adjust the relevant working parameters. Figure 4 shows two cleaning devices.

3. Sensing Technologies for Monitoring Grain Loss during Harvest

In recent years, sensor technology has been developed rapidly and is widely used in industry, national defense, medicine, and agriculture, yet the research of agricultural sensor technology is still in its infancy. Due to the harsh operating environment that combine harvesters endure, with the interference signal to the sensor being large, sensors with high sensitivity and stable performance are required for monitoring grain harvest loss. Grain loss sensing technology is automatic, remote, and forward-looking. It can help reduce grain loss by improving harvesting accuracy, reliability, and productivity. Monitoring and generating real-time sensor data can provide effective combine harvester performance and information, which is helpful for analyzing and optimizing the harvesting process.

3.1. Polyvinylidene Fluoride Piezoelectric Film Sensor

Polyvinylidene fluoride (PVDF) piezoelectric film is an important intelligent material, with strong piezoelectric performance and is the best choice for making sensors [21,22]. The thickness of piezoelectric film is only 50 μm. In order to prevent surface scratches, a PET plastic film with a thickness of 0.1 mm was pasted onto the upper and lower surfaces. The encapsulated PVDF piezoelectric film was pasted onto a support plate to form a detection unit, and the multiple detection units were arranged in parallel on the same base plate. Independent vibration dampers were installed between each detection unit and the base plate and between the base plates to form a double-layer vibration isolation structure. It can be seen from the piezoelectric effect that when the PVDF piezoelectric film is impacted by the grain, this generates charges. Then, the signal will be transmitted to a secondary instrument for display after being processed by multiple circuits, finally realizing the detection of the grain impact signal. The structure composition and loss monitoring processing flow of the PVDF piezoelectric film sensor is shown in Figure 5.
Due to the stable performance and low price of the PVDF piezoelectric film sensors, some scholars have applied them to the monitoring of grain loss. Li et al. designed a set of calibration test benches for a grain loss monitoring sensor; the laboratory test results showed that the measurement error of the sensor (for the grain loss monitoring of wheat samples with differing moisture content) could be limited to 4.8%. Based on the calibration results, the installation position of the sensor for monitoring entrainment loss was determined, and the field test results showed that the maximum monitoring error for entrainment loss was 3.40% [23]. Zhou et al. aimed at the problem of foreign grain loss monitoring sensors being limited to sensitive materials and cannot significantly increase the upper limit of measured impact frequency, which affects the accuracy, and adopted polyvinylidene fluoride (PVDF) piezoelectric films as sensor-sensitive material; they designed an array of PVDF sensors and the corresponding signal processing circuits, which could obtain the spatial distribution information for grain loss [24]. Tang et al. found the distribution rule for the grains and impurities under a longitudinal axial flow cylinder condition through experiments, and finally determined the optimal installation position of the PVDF piezoelectric film sensor array, and achieved a detection error of between 4.5 and 5.26% [25]. Figure 6 shows the different installation positions of sensors on the combine.
PVDF piezoelectric film sensors have a simple structure, a relatively low technical threshold and cost, and have been applied to the loss monitoring technology of combine harvesters. However, the structure of the piezoelectric film sensor is unstable and needs to be corrected after a period, which seriously affects the normal operation progress of the combine harvester.

3.2. Piezoelectric Ceramic Sensor

The piezoelectric ceramic sensor is mainly composed of an upper metal plate protective layer and two layers of copper electrodes wrapped with piezoelectric ceramics and pasted on the base. It mainly relies on the piezoelectric effect of the piezoelectric ceramic sheets (a piezoelectric ceramic sheet is equivalent to a charge generator). According to the impact force of the different materials hitting the sensitive plate surface and the duration of the signal, this results in a difference between the signal frequencies and voltage amplitudes, and this is then amplified by charge amplifier, filtered by a band-pass filter, and the output signals are passed by a voltage comparator [26,27]. The structure of piezoelectric ceramic sensor is shown in Figure 7.
Due to the grain mass being small and causing a relatively weak particle collision signal, the piezoelectric ceramics with a high electromechanical coupling coefficient and large piezoelectric constant represent better sensing elements for grain loss monitoring. Li et al. used piezoelectric ceramics as a sensing element for the design of a monitoring device for combine harvester cleaning loss, and the field test results showed that the monitoring error of the device was 3.57%. At the same time, a matched secondary instrument can provide the cleaning loss rate in real time, and inform the operators of the current cleaning loss through an indicator light and alarm [28]. Zhang et al. developed an online monitoring system for loss rate based on piezoelectric ceramic sensors for realizing the real-time monitoring of grain loss rate during the operation process of a combine harvester, and the experiment showed that the sensor has a good ability to distinguish the full grains from the impurities; the measurement error was less than 4.1% [16].
Piezoelectric ceramic sensors have good vibration transmission ability, which makes it easy to collect the grain impact signal, and this has been applied to monitor grain loss. However, piezoelectric ceramic sensors cannot eliminate the influence of mechanical vibration, have a surface sensitivity distribution that is uneven, and have a measurement accuracy that is unstable, meaning the spatial distribution characteristics of grain loss cannot be obtained.

4. Related Studies on the Intelligent Control and Loss Monitoring Technology of Combine Harvesters

In the wheat production process, the harvest loss of a combine harvester accounts for the main part of the total loss, and machine harvest loss rate is closely related to factors, such as crop variety, harvest time, operation speed, operators’ level, and the intelligence level of the combine harvesters [29]. With the development of sensors, electronics, and computing processing capabilities, automation and intelligent technology for combine harvesters has become possible. At the same time, when using a series of sensors to accurately monitor grain harvest loss in real-time [30,31], it is of great significance to reduce the rate of machine harvest loss and achieve precision agriculture. Figure 8 shows the intelligent technologies of a combine harvester.

4.1. Header Intelligent Adjustment

As an important part of the wheat combine harvester, the header is the first part to make contact with the crop, and the reasonable adjustment of its working parameters has an important impact on harvest quality and machine performance. At the same time as developing high-quality agricultural machinery, it is of great significance to carry out low-loss and high-efficiency intelligence research on the header to improve the operational performance and quality of the combine and reduce harvest loss [32].
In view of these problems, such as the poor stability of the header mechanical adjustment, low adjustment accuracy, and complex adjustment processes resulting in grain loss, the 4LZ series models (developed by the Kubota Company in Japan) use advanced electronic control technology to integrate height adjustment functions (of the header and reel) into a multi-functional handle so that operators can easily and conveniently control the position of header [33]. The CR series models (of New Holland) adopted a profiling header to realize the automatic control of stubble height and feeding amount so as to prevent overload blockage. The machine is equipped with an advanced control system, which can realize control of all parts of the header using a touch screen and a control handle, meaning that the machine has a good working state [34]. Chen et al. designed a button adjustment device for the parameters of the combine header, which replaced multilever manual operation with button operation; it was not only simple and fast to control but also greatly improved the adjustment accuracy [35]. Wei et al. designed a ground profiling control system of the combine header, which could obtain the floating conditions of a ground-profiling mechanism with the help of angle sensors, and the floating condition was fed back to the control system so as to realize the automatic adjustment of the header height, which can better harvest wheat over complex terrain [36]. Lin et al. developed a new type of mechanical connection, hydraulic drive, and computer-controlled wheat harvester header profiling technology, which realized the longitudinal and horizontal profiling of the header, and developed an intelligent control system for the header based on the microcontroller, which realized intelligent header height control [37]. Li et al. designed a sensor type for an electrohydraulic control header profiling device, which had the advantages of fast system response, reliable stability, and high profiling accuracy [38]. Zhuang et al. proposed a header height control strategy based on robust feedback linearization, which enabled the automatic adjustment of the pitch angle of the header following ground fluctuation [39]. Zhang adopted the header height measurement scheme, combining ultrasonic array sensors and a mechanical profiling mechanism. The system software design was based on STM32, and functions such as CAN bus communication, PWM drive solenoid valve, automatic/manual control switching, and header height closed-loop control were realized [40]. During the actual operation, the profiling plate contacts the ground and is connected with the limit hinge. When the header height changes, the ground profiling plate will rotate around the fixed axis. At the same time, the ground profiling plate drives the connecting rod to rotate, and the connecting rod is connected to the angle sensor. Therefore, the rotation degree of the ground profiling plate can be obtained by measuring the output voltage of the angle sensor, and then the header height can be calculated according to the calibration relationship. Figure 9 shows the principle of a mechanical profiling mechanism for headers.

4.2. Monitoring the Feeding Amount

The feeding amount refers to the quality of materials passing through the combine body per unit of time [41,42], and if the feeding amount is too high or too low, it will lead to an increase in grain loss. Therefore, the real-time online monitoring of the feeding amount of wheat in a combine harvester can effectively reduce the harvest loss rate and improve the operating efficiency of the whole machine.
Relevant scholars from many universities and research institutes at home and abroad have carried out a lot of studies on monitoring the feeding amount in a combine harvester [43,44,45,46,47,48]. In order to obtain the feeding amount information online, some foreign agricultural machinery experts have conducted a lot of experimental research on a variety of feeding amount monitoring sensors, such as the header auger torque sensor, bridge chain harrow torque sensor, and the grain flowmeter, and have made certain achievements [49,50]. Domestic scholars have also done a lot of studies on feeding amount monitoring. Zhang et al. designed a feeding amount monitoring system based on the torque of the header power shaft and built a feeding amount prediction model with the help of software; the field experiments showed that the system was stable and had a good performance, which could basically meet the demand for the real-time online monitoring of feed amount in a combine harvester [51]. Liu et al. obtained the basic relationship between the power of the screw conveyor and the feeding amount through a large number of tests, and established a method to predict the feeding amount by monitoring the power consumption of the screw conveyor [52]. You et al. designed a fuzzy control system of feeding amount, and used PLC technology to control hydraulic oil flow to change the walking speed and adjust feeding amount, the field test results showed that the loss rate of combine was less than 1.2%, and the crushing rate was less than 1.0%, which meet the requirements of national standard [53].

4.3. Monitoring the Threshing and Separation Losses

The threshing and separation system is an important link for the combine harvester to obtain clean grain, which directly affects the grain loss rate and crushing rate during harvesting [13,14]. Its performance is an important parameter with which to measure the operation quality of the whole machine and grain crushing and loss, and the real-time online monitoring of grain loss during threshing and separation is of great significance in improving the total grain output.
During grain threshing and separation, grain losses are mainly caused by broken stalks entraining the grains and causing unclean threshing. In order to reduce entrainment loss and improve the threshing rate, operators need to constantly adjust the clearance of the threshing concave and cylinder speed, requiring rich technical experience during field harvest operation [54,55,56,57]. Although the traditional detection method of artificial grain loss is relatively accurate, it has high labor intensity and low efficiency, and is only applicable to the sampling collection of the experimental data, which cannot provide real-time loss information to the operators. Therefore, the real-time online monitoring of grain loss can be realized by using sensor technology.
In the 1960s, western developed countries began to develop grain loss sensors for combine harvesters, and, at present, some agricultural machinery companies have produced formed products for sale in the market. The combine harvesters produced by many foreign and famous agricultural machinery enterprises have been installed with grain loss monitoring sensors, which can monitor the grain loss of a combine harvester online and in real time, such as the Case 2366IH combine harvester produced by the Case Company (New Delhi, India), the Ferguson 860 combine harvester produced by the Ferguson Company (Newport News, VA, USA), and the JD9660STS combine harvester produced by the John Deere Company (Moline, IL, USA) [58,59,60,61,62,63,64]. Kotyk used a microwave emission sensor to monitor grain loss [65]. Xu et al. designed a multiparameter control system for the threshing device, which could detect the entrained grains in the material after threshing and separation, and automatically adjust the threshing clearance and cylinder speed (that affects the loss) to reduce entrainment loss and improve income [66]. Tang et al. determined the content and distribution rule of the grains and impurities by the threshing separation performance of the test cylinder and used PVDF piezoelectric film sensors to measure the amount of grain in the collector under the threshing cylinder of the combine harvester during field operation; the error between the detection result and the manually measured value was small [67]. The monitoring system for threshing and separation losses of a combine harvester is shown in Figure 10.

4.4. Intelligent Control of the Cleaning System

The cleaning system is an important part of the combine harvester; the purpose of cleaning is to obtain the cleanest grain with the minimal loss [68]. The development of grain cleaning devices with intelligent control systems can effectively reduce the cleaning loss rate and improve the working performance of the whole machine. The research on cleaning loss technology abroad is relatively mature and has been applied to some models. The TUCANO 550 combine harvester produced by the CLAAS company (Harsewinkel, Germany) has functions of 3D cleaning and continuous dynamic leveling, which can achieve complete stability on a slope of up to 20%, even crop distribution, better cleaning effects, and greatly reduces the cleaning loss rate. Figure 11 shows the slope operation of the TUCANO 550 combine harvester.
In accordance with the problems of a low cleaning rate and high loss rate from the cleaning system, scholars at home and abroad have carried out a lot of research on cleaning loss. Berner et al. were the first to apply a control system to the cleaning system. Based on the measurement of static pressure in the cleaning section, the grain yield was estimated. When using a database model for estimating grain yields, the best fan speed is selected to minimize screen loss [69]. Geert et al. developed a fuzzy control system to make the cleaning section reach an acceptable level of grain loss and impurity content [70,71,72]. Li et al. developed a set of intelligent controls and an optimization system for the cleaning device of grain combine harvesters, which can realize intelligent adjustments to the grain-cleaning system and effectively reduce grain loss [73]. The grain loss rate sensor proposed by Wu et al. provides feedback parameters to control and adjust the opening degree of the cleaning screen, fan speed, and other actuators, which makes the intelligent cleaning of a combine possible [74]. Gao et al. used a chaos algorithm to detect the impact signal of grain cleaning loss in a combine harvester so as to achieve a low cost and high detection accuracy regarding the cleaning loss detection system [75].

5. Application of Grain Loss Monitoring System in a Harvester

If we want to make better use of the loss monitoring equipment, we must first find out the sources of loss during the operation of a combine harvester. The sources of grain harvest loss introduced in this paper are shown in Table 1.
Grain harvest loss is an important index to measure the performance of a combine harvester. Due to low manufacturing levels and a lack of advanced technology guidance for domestic combine harvesters, the total loss rate of grain in field harvesting operations may be as high as 10% [76,77]. Grain loss during combine harvester operation not only causes economic losses to farmers but also damages the soil environment and affects the growth of the next crop [78].

5.1. Principle of Grain Loss Monitoring System

When the grain impacts the sensor sensitive plate, a charge will be generated, and the amount of charge is related to the impact strength and acceleration. Because charge cannot be measured directly, it can be converted into a voltage signal by a charge amplifier. The impact time mainly depends on the mass, stiffness, and impact speed of the object, and compared with the chaff and stalk, the stiffness of the plump grain is larger and the impact time is shorter, meaning it can be identified by a band-pass filter. The impact produces attenuated oscillation signals; in order to eliminate the interference of resonance waves, a detector diode and an envelope detector are added, and then the wave is rectified by a voltage comparator; finally, the secondary instrument is used for counting and displaying. The workflow of the grain loss monitoring sensor system is shown in Figure 12.
A summary of the various types of sensors, as well as their characteristics, as was found in previous studies, is presented in Table 2.

5.2. Monitoring Different Losses from the Harvester with Sensors

The intelligent technology for a wheat combine harvester is mainly reflected in the fact that it can monitor the grain loss of each part in real time and online and can reasonably adjust each working parameter in time so as to always maintain the optimal harvest level [97].
Table 3 shows the types of existing grain loss monitoring sensors and their installation positions on the combines and the measurement errors of grain loss rate.

5.3. Technical Guidance on Loss Reduction for Mechanized Wheat Harvesting

In order to reduce the losses of mechanized wheat harvesting and improve the quality and efficiency of the harvesting operations, the following technical guidelines are proposed.
(1)
The market for old combine harvesters in China is relatively high; the machine parts are seriously worn, and high grain loss occurs during harvesting operations. Therefore, the old harvesters should be eliminated in a timely fashion, and new machines should be introduced;
(2)
Before the beginning of the harvest season, all operators should receive centralized formal training and be assessed afterward. This would be required to work with certification so as to improve their theoretical level, operational ability, and awareness of loss reduction;
(3)
Ensuring that the linear speed of the reel is 1.1–1.2 times that of the forward speed of the combine; this should not be too high. Adjust the height position of the reel so that the pressure plate of the reel acts at two-thirds of the height of the crop. Under the premise of ensuring that the crushing rate does not exceed the standard, the threshing rate can be improved, and threshing loss can be reduced by properly increasing the speed of the threshing cylinder, reducing the gap between the cylinder and the concave, and correctly adjusting the ratio of the inlet-to-outlet gap (which should be 4:1). Under the premise of ensuring that the impurity content does not exceed the standard, the cleaning loss can be reduced by appropriately reducing the fan speed, increasing the opening of the sieve, and improving the position of the tail sieve;
(4)
In order to improve the intelligence level of the equipment, wheat combine harvesters can be equipped with online monitoring devices for loss rate, impurity content rate, and crushing rate. According to the relevant indicators and curves prompted by the online monitoring devices, the operators can timely adjust the operating speed, feeding amount, stubble height, and other operating state parameters to obtain and maintain the ideal operating state for the loss rate, impurity content, and crushing rate.

6. Suggestions and Prospects

There are fewer studies on grain loss monitoring at the location of the combine header; therefore, it is recommended to conduct more research in this field. The disadvantage of the current grain loss sensor monitoring systems is that their output display bar graphs or numerical data are without a unit of measurement, which makes it difficult for combine operators to quantify the losses adequately. Therefore, it is necessary to convert the existing grain loss sensor readings into a meaningful quantity of absolute grain loss. Secondly, most of the grain loss monitoring systems developed at present have only been tested in the laboratory, and only a few of them have been implemented in the field, meaning that they lack certain practicality.
The monitoring speed and accuracy of the grain loss monitoring sensor system need to be further improved.
(1)
At present, the resolution of the grain loss sensor is low. We need to increase the research and development of agricultural sensors to improve the performance and efficiency of these sensors to meet the requirements of wheat harvesting;
(2)
Optimize the intelligence control algorithm. The organic combination of various algorithms can realize the rapid processing of loss monitoring data to obtain an accurate loss rate, which plays an important role in improving the intelligent loss monitoring efficiency of combine harvesters;
(3)
Multisensor information fusion development. Through the integration of sensor monitoring technology, internet communication technology, intelligent control technology, and other technologies, the combine harvesters can realize real-time online monitoring of grain loss. Then, feed this back to other controllers through the central control hub to make adaptive adjustments to the key working components in a timely manner so that the grain loss rate of a combine harvester is at the lowest level.

7. Conclusions

This paper studies the main sources of grain loss in mechanized wheat harvesting, the research status of sensor technology for loss monitoring, and the intelligent control of combine harvesters to reduce grain loss. The real-time monitoring of grain loss through sensor technology and the intelligent adjustment of the key working parts of a combine can effectively reduce the grain loss rate in the harvesting process. Given the current situation of grain loss monitoring in combine harvesters at home and abroad, we should base our research on the relevant design theories and standards of combine harvesting, taking the grain loss mechanism of the combine harvester as the starting point, and deeply study the influencing laws of the relevant factors (such as feeding amount, threshing, separation, cleaning load, etc.) on the change in the grain loss rate. The real-time monitoring of the formation process of grain loss in combine harvesters not only tests such losses to obtain the result of “loss”, but also monitors the “loss” before it occurs so as to better reduce the loss. The purpose of loss monitoring is to ensure the best operation quality and higher production efficiency of combine harvesters.

Author Contributions

Conceptualization, X.C. and W.W.; methodology, W.W. and X.H.; investigation, X.C. and Y.L.; resources, Z.Q.; data curation, X.H.; writing—original draft preparation, X.C. and W.W. All authors have read and agreed to the published version of the manuscript.

Funding

This research was funded by China Agriculture Research System, Wheat Mechanization Technology (CARS-03) and Science and Technology Research Project in Henan Province (202102110116).

Institutional Review Board Statement

Not applicable.

Informed Consent Statement

Informed consent was obtained from all subjects involved in the study.

Data Availability Statement

The data used to support the findings of this study are available from the corresponding author upon request.

Acknowledgments

The authors would like to thank their college and the laboratory, as well as gratefully appreciate the reviewers who provided helpful suggestions for this manuscript.

Conflicts of Interest

The authors declare no conflict of interest.

References

  1. Ren, J.; Yang, J.; Zhou, J.; Liu, L.; Li, X. Co-production of ethanol, xylo-oligosaccharides and magnesium lignosulfonate from wheat straw by a controlled magnesium bisulfite pretreatment (MBSP). Ind. Crops Prod. 2018, 113, 128–134. [Google Scholar] [CrossRef]
  2. Liang, Z.; Li, Y.; Ma, P.; Wei, C.; Wang, J. Structural optimization and experiment on cleaning system in longitudinal-axial combine harvester. J. Agric. Mech. Res. 2018, 40, 170–174. [Google Scholar]
  3. Song, H.; Zhang, H.; Li, J.; Wu, Z. Loss of harvest of China’s grain—A case study of wheat in Henan Province. J. Huazhong Agric. Univ. Soc. Sci Ed. 2015, 4, 1–6. [Google Scholar]
  4. Wu, L.; Hu, Q.; Zhu, D.; Wang, J. Empirical analysis of main influencing harvest rice losses—Based on the ordered multinomial Logistic model. China Rural Surv. 2015, 6, 22–33+95. [Google Scholar]
  5. Zhao, X.; Cao, B.; Zhao, L. Study on the evaluation index system of grain loss and waste after delivery. Grain Sci. Technol. Econ. 2015, 40, 6–9. [Google Scholar]
  6. Sharma, S.; Singh, R.; Raghuwanshi, J. Economic Analysis of Losses at Different Stages of Harvest and Post-Harvest Operation in Wheat Production in Gwalior District of Madhya Pradesh. J. Com. Mobil. Sustain. Dev. 2022, 16, 971–975. [Google Scholar]
  7. Cao, F.; Zhu, J.; Guo, Y.; Liu, J.; Wu, L. How high is the loss of wheat harvest in China—Based on experimental investigation in 4 provinces and 5 places. J. Arid. Land Resour. Environ. 2018, 32, 7–14. [Google Scholar]
  8. Huang, D.; Yao, L.; Wu, L.; Zhu, X. Measuring rice loss during harvest in China: Based on experiment and survey in five provinces. J. Nat. Resour. 2018, 33, 1427–1438. [Google Scholar]
  9. Li, X.; Huang, D.; Wu, L. Study on grain harvest losses of different scales of farms—Empirical Analysis Based on 3251 farmers in China. China Soft Sci. 2019, 8, 184–192. [Google Scholar]
  10. Zareei, S.; Pour, S.; Moghaddam, M.; Sahrayan, H. Optimum setting of combine header for wheat harvesting using Taguchi method. Res. Crops 2012, 13, 1142–1146. [Google Scholar]
  11. Sun, Y. Causes and Solutions to Grain Loss of Wheat Combine Harvester. Agric. Mach. Maint. 2014, 4, 30. [Google Scholar]
  12. Zhang, S.; Ding, C. Analysis of wheat and corn machine harvesting loss reduction technology. Agric. Mach. Technol. Ext. 2021, 11, 43–44. [Google Scholar]
  13. Xie, F.; Luo, X.; Lu, X.; Sun, S.; Ren, S. Threshing principle of flexible pole-teeth roller for paddy rice. Trans. Chin. Soc. Agric. Eng. 2009, 25, 110–114. [Google Scholar]
  14. Tang, Z.; Li, Y.; Liang, Z. Optimal parameters prediction and control of rice threshing for longitudinal axial threshing apparatus. Trans. Chin. Soc. Agric. Eng. 2016, 32, 70–76. [Google Scholar]
  15. Wang, X.; Shi, Q.; Ni, C.; Liu, S. Application status and analysis of axial flow roller threshing device. Farm Mach. 2009, 15, 73–75. [Google Scholar]
  16. Zhang, G.; Jin, C.; Yang, T.; Liu, Z.; Chen, M.; Zhou, D. Design and implementation of monitoring system for cleaning loss rate of combined harvester. J. Chin. Agric. Mech. 2019, 40, 146–150. [Google Scholar]
  17. Wei, C.; Li, M.; Yu, L.; Zhu, L. Research on loss monitoring of grain cleaning in combined harvester based on Kalman filter. J. Agric. Mech. Res. 2016, 38, 23–27. [Google Scholar]
  18. Ning, X.; Jin, C.; Yin, X.; Liu, P.; Li, Q. Research status and development trend of air-and-screen cleaning device for cereal combine harvesters. J. Chin. Agric. Mech. 2018, 39, 5–10. [Google Scholar]
  19. Li, B. Agricultural Machines; China Agricultural Press: Beijing, China, 1999. [Google Scholar]
  20. Ni, J. Exploration and Research on the loss of wheat harvester cleaning. Farm Mach. 2021, 5, 91–93. [Google Scholar]
  21. Tu, D.; Zhou, Z.; Ou, J. Study on Strain-Sensing of PVDF Films. J. Funct. Mater. 2004, 4, 450–452+456. [Google Scholar]
  22. Chen, B.; Shen, S.; Wu, L.; Wu, B. A study of Piezoelectricity in polyvinylidene flouride. Chin. J. Org. Chem. 1983, 3, 191–196. [Google Scholar]
  23. Li, Y.; Liang, Z.; Zhao, Z.; Xu, L.; Chen, Y.; Tang, Z. Calibration experiment of grain loss monitoring sensor in combine harvester. Trans. Chin. Soc. Agric. Mach. 2012, 43, 79–83. [Google Scholar]
  24. Zhou, L.; Zhang, X.; Liu, Y.; Yuan, Y. Design of PVDF sensor array for grain loss measuring. Trans. Chin. Soc. Agric. Mach. 2010, 41, 167–171. [Google Scholar]
  25. Tang, Z.; Li, Y.; Zhao, Z.; Liang, Z.; Chen, Y. Effect of different installed location of entrainment loss sensor on grain testing accuracy. Trans. Chin. Soc. Agric. Eng. 2012, 28, 46–52. [Google Scholar]
  26. Pan, Y.; Cao, R.; Cao, L.; Fan, Y.; Hu, H. Research on sensitivity of piezoelectric transducers. Piezoelectrics Acoustooptics 2005, 2, 128–130. [Google Scholar]
  27. Chen, J.; Gao, G. A high sensitivity tactile sensor with metal-ceramic construction. Piezoelectrics Acoustooptics 1993, 1, 35–37. [Google Scholar]
  28. Li, Y.; Chen, Y.; Zhao, Z.; Xu, L. Monitoring method and device for cleaning loss of combine harvester. Trans. Chin. Soc. Agric. Mach. 2013, 44, 7–11. [Google Scholar]
  29. Zhu, L.; Li, X. Strengthening the combination of agricultural machinery and agronomy to reduce grain harvest loss. Agric. Mach. Qual. Superv. 2020, 10, 12–14. [Google Scholar]
  30. Coen, T.; Saeys, W.; Missotten, B.; Baerdemaker, J. Cruise control on a combine harvester using model-based predictive control. Biosyst. Eng. 2008, 99, 45–47. [Google Scholar] [CrossRef]
  31. Maertens, K.; Ramon, H.; Baerdemaeker, J. An on-the-go monitoring algorithm for separation processes in combine harvesters. Comput. Electron. Agric. 2004, 43, 197–207. [Google Scholar] [CrossRef]
  32. Liu, H.; Zhang, P.; Yang, X.; Deng, Y.; Li, K.; Zhang, G. Research on the status and and development of grain combine harvester cutting table intelligence in China. J. Chin. Agric. Mech. 2022, 43, 189–197. [Google Scholar]
  33. Liu, C.; Lin, H.; Li, Y.; Gong, L.; Miao, Z. Analysis on status and development trend of intelligent control technology for agricultural equipment. Trans. Chin. Soc. Agric. Mach. 2020, 51, 1–18. [Google Scholar]
  34. Chen, J.; Wang, S.; Lian, Y. Design and test of header parameter keys electric control adjusting device for rice wheat combine harvester. Trans. Chin. Soc. Agric. Eng. 2018, 34, 19–26. [Google Scholar]
  35. Zeng, H.; Lei, J.; Tao, J.; Liu, C. Yield monitoring for grain combine harvester based on monocular vision. Trans. Chin. Soc. Agric. Mach. 2021, 52, 281–289. [Google Scholar]
  36. Wei, L.; Che, Y.; Wang, F.; Li, W. Design and experiment of harvest boundary online recognition system for rice and wheat combine harvester based on laser detection. J. Agric. Mech. Res. 2017, 39, 150–154. [Google Scholar]
  37. Lin, L.; Xu, H.; Zhang, C.; Zhao, M. Research on profiling technology of wheat harvester header. Farm Mach. 2021, 1, 110–112. [Google Scholar]
  38. Li, Q.; Chen, G.; Sun, Y.; Sun, Y.; Peng, Q.; Shen, J. Study on corn harvester harvesting table height copying control. J. Chin. Agric. Mech. 2016, 37, 43–47+74. [Google Scholar]
  39. Zhuang, X.; Li, Y. Header height control strategy of harvester based on robust feedback linearization. Trans. Chin. Soc. Agric. Mach. 2020, 51, 123–130. [Google Scholar]
  40. Zhang, C. Research on the Profiling of Harvester Header and Crop Height Measurement Method. Master’s Thesis, Southeast University, Nanjing, China, 2019. [Google Scholar]
  41. Sun, H.; Li, S.; Li, M.; Liu, H.; Qiao, B.; Zhang, Y. Research progress of image sensing and deep learning in agriculture. Trans. Chin. Soc. Agric. Mach. 2020, 51, 1–17. [Google Scholar]
  42. Grombochevsky, L. Design and Calculation of Agricultural Machinery; China Agricultural Machinery Press: Beijing, China, 1983; pp. 263–264. [Google Scholar]
  43. Kruse, J. Microprocessor Based Combine Ground Speed Controller; Purdue University: West Lafayette, IN, USA, 1981. [Google Scholar]
  44. Ederveen, J. Harvestmore for harvester control. Diesel Prog. N. Am. 1982, 10, 14–15. [Google Scholar]
  45. John, S.; Michael, P.; Gary, W. Combine feed rate sensors. Trans. ASAE 1985, 28, 2–5. [Google Scholar] [CrossRef]
  46. Lu, W.; Liu, B.; Zhang, D.; Li, J. Experiment and feed rate Modeling for combine harvester. Trans. Chin. Soc. Agric. Mach. 2011, 42, 82–85. [Google Scholar]
  47. Liang, X.; Chen, Z.; Zhang, X.; Wei, L.; Li, W.; Che, Y. Design and experiment of on-line monitoring system for feed quantity of combine harvester. Trans. Chin. Soc. Agric. Mach. 2013, 44, 1–6. [Google Scholar]
  48. Sun, Y.; Liu, R.; Ou, H.; Zhang, Z.; Zhang, M.; Li, H. Analysis and comparison of feed rate detection methods of combine harvester based on power detection. Trans. Chin. Soc. Agric. Mach. 2020, 51, 118–123. [Google Scholar]
  49. Gao, F.; Zhu, Y. Hydraulic System of Grain Combine Harvester; China Agricultural Machinery Press: Beijing, China, 1981. [Google Scholar]
  50. Chen, J.; Li, Y.; Ji, B. Study on measurement method of combine feed quantity. Trans. Chin. Soc. Agric. Mach. 2006, 12, 76–78. [Google Scholar]
  51. Zhang, Z.; Sun, Y.; Liu, R.; Zhang, M.; Li, H.; Li, M. Design and test of feed rate monitoring system for combine harvester. Trans. Chin. Soc. Agric. Mach. 2019, 50, 85–92. [Google Scholar]
  52. Liu, Y.; Liu, H.; Yin, Y.; An, X. Feeding assessment method for combine harvester based on power measurement. J. China. Agric. Univ. 2017, 22, 157–163. [Google Scholar]
  53. You, H.; Lu, W. Fuzzy control system for feed quantity of combine harvester. J. Northwest A F Univ. Nat. Sci. Ed. 2015, 43, 229–234. [Google Scholar]
  54. Petre, I.; Heinz-Dieter, K. Modeling and simulation of grain threshing and separation in axial threshing units Part II: Application to tangential feeding. Comput. Electron. Agric. 2008, 60, 105–109. [Google Scholar]
  55. Anil, J.; Guruswamy, T.; Desai, S. Effect of cylinder speed and feed rate on the performance of thresher. J. Agric. Sci. 1998, 4, 1120–1123. [Google Scholar]
  56. Men, F.; Pang, F.; Ye, Y.; Fang, Y.; Wang, H.; Liu, J. Comparative experiment on rice harvesting performance of combined harvester. Trans. Chin. Soc. Agric. Mach. 2005, 5, 141–143. [Google Scholar]
  57. Niu, D. New situation of agricultural mechanization and development of paddy production mechanization in China. Trans. Chin. Soc. Agric. Eng. 2000, 4, 7–10. [Google Scholar]
  58. Li, J.; Jie, Z. Analyses of combine harvester grain loss measurement. J. Agric. Mech. Res. 2007, 12, 248–250. [Google Scholar]
  59. Andrzej, O. Probe with PVDF sensor for energy measurements of optical radiation. Meas. Sci. Rev. 2003, 3, 111–114. [Google Scholar]
  60. Li, Y.; Chen, Y. Monitoring method and device of attachment loss in combine harvester. Int. Agric. Eng. J. 2011, 20, 14–19. [Google Scholar]
  61. Jie, Z. Prospect of test method of grain random loss rate in China. J. Agric. Mech. Res. 2009, 31, 5–9. [Google Scholar]
  62. Glibert, J.; Strubbe, I. Grain Loss Monitors for Harvesting Machines. US Patent US 5046362, 10 September 1991. [Google Scholar]
  63. Bernhardt, G. Apparatus and Method for Determining Grain Loss in Combine Harvester. US Patent US 6869355, 22 March 2005. [Google Scholar]
  64. Guy, H. Offset Grain Loss Sensor for Combine Harvesters. US Patent US 4540003, 10 September 1985. [Google Scholar]
  65. Kotyk, W.; Kirk, T.; Wilson, R. Unthreshed Head Grain Loss Monitor. US Patent US 4825146, 25 April 1989. [Google Scholar]
  66. Xu, L.; Miao, F.; Sun, Y.; Chai, X.; Li, Y.; Lu, E. A Multi Parameter Control System and Method for Entrainment Loss of Threshing Device and Combined Harvester. China Patent, Jiangsu Province CN111837652A, 30 October 2020. [Google Scholar]
  67. Tang, Z.; Li, Y.; Zhao, Z.; Xu, L.; Li, H. Test and analysis of wheat entrainment loss of tangential-longitudinal-axial combine harvester. Trans. Chin. Soc. Agric. Eng. 2012, 28, 11–16. [Google Scholar]
  68. Ueka, Y.; Matsui, M.; Inoue, E.; Mori, K. Turbulent flow characteristics of the cleaning wind in combine harvester. Eng. Agric. Environ. Food. 2012, 5, 102–106. [Google Scholar] [CrossRef]
  69. Berner, D.; Grobler, H. Gesteuerte adaptive regelung einer mahdrescherreinigungs anlage. Grundl. Landtech. 1986, 36, 73–78. [Google Scholar]
  70. Craessaerts, G.; Baerdemaeker, J.; Missotten, B.; Saeys, W. Fuzzy control of the cleaning process on a combine harvester. Biosyst. Eng. 2010, 106, 103–111. [Google Scholar] [CrossRef]
  71. Craessaerts, G.; Saeys, W.; Missotten, B.; Baerdemaeker, J. Identification of the cleaning process on combine harvesters. Part I: A fuzzy model for prediction of the material other than grain (MOG) content in the grain bin. Biosyst. Eng. 2008, 101, 103–111. [Google Scholar] [CrossRef]
  72. Craessaerts, G.; Saeys, W.; Missotten, B.; Baerdemaeker, J. Identification of the cleaning process on combine harvesters, Part II: A fuzzy model for prediction of the sieve losses. Biosyst. Eng. 2010, 101, 97–102. [Google Scholar] [CrossRef]
  73. Li, Q.; Song, Y.; Yao, C.; Li, W.; Yue, Y. Intelligent design and optimization system for cleaning device of rice and wheat combine harvester. Trans. Chin. Soc. Agric. Mach. 2021, 52, 92–101. [Google Scholar]
  74. Wu, Y.; Li, X.; Mao, E.; Du, Y.; Yang, F. Design and development of monitoring device for corn grain cleaning loss based on piezoelectric effect. Comput. Electron. Agric. 2020, 179, 105793. [Google Scholar] [CrossRef]
  75. Gao, J.; Zhang, G.; Yu, L.; Li, Y. Chaos detection of grain impact at combine cleaning loss sensor. Trans. Chin. Soc. Agric. Eng. 2011, 27, 22–27. [Google Scholar]
  76. Li, D.; Wang, Z.; Liang, Z.; Zhu, F.; Xu, T.; Cui, X.; Zhao, P. Analyzing Rice Grain Collision Behavior and Monitoring Mathematical Model Development for Grain Loss Sensors. Agriculture 2022, 12, 839. [Google Scholar] [CrossRef]
  77. Tang, H.; Xu, C.; Guo, F.; Yao, Z.; Jiang, Y.; Guan, R.; Sun, X.; Wang, J. Analysis and Experiment on the Seed Metering Mechanism of Multi-Grain Cluster Air Suction Type Rice (Oryza sativa L.) Hill Direct Seed Metering Device. Agriculture 2022, 12, 1094. [Google Scholar] [CrossRef]
  78. Tang, H.; Xu, C.; Qi, X.; Wang, Z.; Wang, J.; Zhou, W.; Wang, Q.; Wang, J. Study on Periodic Pulsation Characteristics of Corn Grain in a Grain Cylinder during the Unloading Stage. Foods 2021, 10, 2314. [Google Scholar] [CrossRef]
  79. Jarolmasjed, S.; Gundoshmian, T.; Ghazvini, M. Mathematical Modeling of Combine Harvester Header Loss using Dimensional Analysis. In Proceedings of the EFITA—WCCA—CIGR 2013 Conference, Turin, Italy, 24–27 June 2013. [Google Scholar]
  80. Zareei, S.; Abdollahpour, S. Modeling the optimal factors affecting combine harvester header losses. Agric. Eng. Int. CIGR J. 2016, 18, 60–65. [Google Scholar]
  81. Fu, J.; Chen, Z.; Han, L.J.; Ren, L.Q. Review of grain threshing theory and technology. Int. J. Agric. Biol. Eng. 2018, 11, 12–20. [Google Scholar] [CrossRef]
  82. Paulsen, M.; De Sena, D.; Zandonadi, R.; Ruffato, S.; Costa, A.; Ragagnin, V. Measurement of combine losses for corn and soybeans in brazil. Appl. Eng. Agric. 2014, 30, 841–855. [Google Scholar]
  83. Al-Sammarraie, M.; Alhadithi, S. Determination of Grain Losses on Combine Harvester. J. Sci. Eng. Res. 2021, 8, 196–202. [Google Scholar]
  84. Liang, Z.; Li, Y.; Zhao, Z.; Xu, L. Structure optimization of a grain impact piezoelectric sensor and its application for monitoring separation losses on tangential-axial combine harvesters. Sensors 2015, 15, 1496–1517. [Google Scholar] [CrossRef]
  85. Zhan, Z.; Jing, Z. Combine Harvester; IEEE Xplore: Piscataway, NJ, USA, 2011; pp. 109–112. [Google Scholar]
  86. Li, Y.; Su, Z.; Liang, Z.; Li, Y. Variable-Diameter Drum with Concentric Threshing Gap and Performance Comparison Experiment. Appl. Sci. 2020, 10, 5386. [Google Scholar] [CrossRef]
  87. Li, Y.; Liang, Z.; Zhao, Z.; Chen, Y. Real-time monitoring system of grain loss in combine harvester. Trans. Chin. Soc. Agric. Mach. 2011, 42, 99–102. [Google Scholar]
  88. Zhao, Z.; Li, Y.; Chen, Y.; Liang, Z. Dynamic analysis on vibration absorber of PVDF grain detecting sensor. J. Vib. Meas. Diagn. 2013, 33, 127–131+170. [Google Scholar]
  89. Wu, Y.; Li, X.; Mao, E.; Du, Y.; Yang, F. Sensor for monitoring rice grain sieve losses in combine harvesters. Comput. Electron. Agric. 2020, 179, 105–793. [Google Scholar]
  90. Zhao, Z.; Li, Y.; Chen, J.; Xu, J. Grain separation loss monitoring system in combine harvester. Comput. Electron. Agric. 2011, 76, 183–188. [Google Scholar] [CrossRef]
  91. Liang, Z.; Li, Y.; Xu, L.; Zhao, Z. Sensor for monitoring rice grain sieve losses in combine harvesters. Biosyst. Eng. 2016, 147, 51–66. [Google Scholar] [CrossRef]
  92. Mao, H.; Liu, W.; Han, Q.; Zhang, X. Design of intelligent monitoring system for grain cleaning losses based on symmetry sensors. Trans. Chin. Soc. Agric. Eng. 2012, 28, 34–39. [Google Scholar]
  93. Li, X.; Li, Y.; Liu, J. Symmetrical closed-loop Hall current sensor reseach and design. J. Electron. Meas. Instrum. 2022, 36, 69–76. [Google Scholar]
  94. Ni, J.; Mao, H.; Pang, F.; Zhu, Y.; Yao, X.; Tian, Y. Design and Experimentation of Piezoelectric Crystal Sensor Array for Grain Cleaning Loss. Int. J. Distrib. Sens. Netw. 2015, 11, 754278. [Google Scholar] [CrossRef][Green Version]
  95. Yilmaz, D.; Caner, H. Development of measurement system for grain loss of some chickpea varieties. Measurement 2015, 66, 73–79. [Google Scholar] [CrossRef]
  96. Strelioff, W.; Elliott, W.; Johnson, D. Grain Loss Monitor. US Patent US1036065A, 19 July 1977. [Google Scholar]
  97. He, X.; Chen, X.; Qu, Z.; Lan, M.; Wang, W. Review on application research and development of intelligent technology in the process of wheat harvest. J. Henan Agric. Univ. 2022, 56, 341–354. [Google Scholar]
  98. Li, Z.; Li, Y.; Zhao, Z.; Chen, Y. Monitoring method of separation loss in tangential-axial combine harvester. Trans. Chin. Soc. Agric. Eng. 2012, 28, 179–183. [Google Scholar]
  99. Ni, J.; Mao, H.; Li, P. Design of intelligent grain cleaning losses monitor based on array piezocrystals. Trans. Chin. Soc. Agric. Mach. 2010, 41, 175–177. [Google Scholar]
  100. Liang, Z. Selecting the proper material for a grain loss sensor based on DEM simulation and structure optimization to improve monitoring ability. Precis. Agric. 2021, 22, 1120–1133. [Google Scholar] [CrossRef]
Figure 1. Working principle of a combine harvester, highlighting where losses typically occur.
Figure 1. Working principle of a combine harvester, highlighting where losses typically occur.
Agriculture 12 01935 g001
Figure 2. Schematic diagram of the position of reel action.
Figure 2. Schematic diagram of the position of reel action.
Agriculture 12 01935 g002
Figure 3. Structure diagrams of the threshing cylinder: (a) tangential flow type; (b) transverse axial flow type; (c) tangential flow + transverse axial flow type; (d) longitudinal axial flow type; (e) tangential flow + longitudinal axial flow type.
Figure 3. Structure diagrams of the threshing cylinder: (a) tangential flow type; (b) transverse axial flow type; (c) tangential flow + transverse axial flow type; (d) longitudinal axial flow type; (e) tangential flow + longitudinal axial flow type.
Agriculture 12 01935 g003
Figure 4. Structure diagrams of the cleaning device: (a) air flow type; (b) windscreen type. 1—suction fan; 2—conveyor pipe; 3—sedimentation interceptor; 4—barrier plate; 5—windshield; 6—cleaning drum; 7—thrower; 8—strut; 9—jitter plate; 10—boom; 11—upper screen; 12—rear screen; 13—lower screen; 14—fan.
Figure 4. Structure diagrams of the cleaning device: (a) air flow type; (b) windscreen type. 1—suction fan; 2—conveyor pipe; 3—sedimentation interceptor; 4—barrier plate; 5—windshield; 6—cleaning drum; 7—thrower; 8—strut; 9—jitter plate; 10—boom; 11—upper screen; 12—rear screen; 13—lower screen; 14—fan.
Agriculture 12 01935 g004
Figure 5. PVDF piezoelectric film sensor. (a) Sensor structure composition; (b) grain loss monitoring process.
Figure 5. PVDF piezoelectric film sensor. (a) Sensor structure composition; (b) grain loss monitoring process.
Agriculture 12 01935 g005
Figure 6. Different installation positions of sensors on a combine.
Figure 6. Different installation positions of sensors on a combine.
Agriculture 12 01935 g006
Figure 7. Piezoelectric ceramic sensor structure composition.
Figure 7. Piezoelectric ceramic sensor structure composition.
Agriculture 12 01935 g007
Figure 8. Intelligent technologies of a combine harvester. 1—intelligent fault diagnosis; 2—unmanned driving and navigation system; 3—intelligent production measurement; 4—intelligent threshing separation and cleaning control; 5—online monitoring of loss rate; 6—header intelligent control; 7—feeding amount detection.
Figure 8. Intelligent technologies of a combine harvester. 1—intelligent fault diagnosis; 2—unmanned driving and navigation system; 3—intelligent production measurement; 4—intelligent threshing separation and cleaning control; 5—online monitoring of loss rate; 6—header intelligent control; 7—feeding amount detection.
Agriculture 12 01935 g008
Figure 9. Schematic diagram and physical diagram of profiling mechanism.
Figure 9. Schematic diagram and physical diagram of profiling mechanism.
Agriculture 12 01935 g009
Figure 10. Measurement and control sensor in a combine harvester. 1—entrainment loss detection sensor; 2—cleaning loss detection sensor; 3—detection sensor of grain ear rethreshing; 4—threshing and separation detection sensor.
Figure 10. Measurement and control sensor in a combine harvester. 1—entrainment loss detection sensor; 2—cleaning loss detection sensor; 3—detection sensor of grain ear rethreshing; 4—threshing and separation detection sensor.
Agriculture 12 01935 g010
Figure 11. Schematic diagram of slope operation of the TUCANO 550 combine harvester.
Figure 11. Schematic diagram of slope operation of the TUCANO 550 combine harvester.
Agriculture 12 01935 g011
Figure 12. The workflow of the grain loss monitoring sensor system.
Figure 12. The workflow of the grain loss monitoring sensor system.
Agriculture 12 01935 g012
Table 1. Sources of grain harvest loss.
Table 1. Sources of grain harvest loss.
SourcesRelevant Parameters That Affect LossReferences
Header LossesCutter impact, reel height and speed, operating speed,
cutting height
[10,11,12,79,80]
Threshing LossesRotation speed of threshing cylinder, concave clearance,
crop feeding amount, crop moisture
[13,14,15,81,82]
Separation LossesCylinder speed, type of concave sieve, crop moisture[83,84]
Cleaning LossesCrop feeding amount, fan speed[18,19,20,85,86]
Table 2. Comparison of several sensors for monitoring grain loss.
Table 2. Comparison of several sensors for monitoring grain loss.
Type of SensorCharacteristicsPhotoReferences
PVDF piezoelectric film sensorThe sensor surface sensitivity is evenly distributed but the signal output sensitivity is not high;
the reliability is poor, and it is vulnerable to
vibration and noise interference.
Agriculture 12 01935 i001[23,24,25,87,88,89,90]
Piezoelectric ceramic
sensor
The metal plate has a good vibration transmission ability and easily collects the grain impact signals; the influence of mechanical vibration cannot be eliminated; the sensitivity distribution of the sensor surface is uneven; the measurement accuracy is unstable, and the spatial distribution characteristics of grain loss cannot be obtained.Agriculture 12 01935 i002[26,27,28,29,91]
Symmetrical structure
sensor
Strong anti-interference ability; high reliability; strong grain signal recognition ability; the required machining accuracy is high, and the upper and lower elastic elements and structure must be
symmetrical.
Agriculture 12 01935 i003[92,93]
Piezoelectric crystal sensorThis sensor not only increases the signal of the grain cleaning loss but also provides consistent
sensitivity for the stable performance of the sensor, and the high signal-to-noise ratio is the key feature of the sensor.
Agriculture 12 01935 i004[94]
Pressure sensorSmall size, light weight, high accuracy and good temperature characteristics.Agriculture 12 01935 i005[95]
Acoustic electric sensorThe monitoring accuracy of the sensor is greatly affected by mechanical vibration and strong noise.Agriculture 12 01935 i006[96]
Table 3. Grain loss monitoring sensors and measurement errors.
Table 3. Grain loss monitoring sensors and measurement errors.
Type of LossesSensor UsedSensor PositionMeasurement
Error (%)
References
Cleaning lossPiezoelectric ceramicUnder the cleaning sieve3.57[28]
Separation lossPVDF film sensorUnder the threshing sieve3.4[98]
Cleaning lossPiezoelectric crystal sensorUnder the cleaning sieve3.3[99]
Separation/cleaningPiezoelectric ceramicUnder the sieve≤ 3.46[100]
Cleaning lossSymmetrical structure sensorUnder the cleaning sieve≤ 2.81[92]
Publisher’s Note: MDPI stays neutral with regard to jurisdictional claims in published maps and institutional affiliations.

Share and Cite

MDPI and ACS Style

Chen, X.; He, X.; Wang, W.; Qu, Z.; Liu, Y. Study on the Technologies of Loss Reduction in Wheat Mechanization Harvesting: A Review. Agriculture 2022, 12, 1935. https://doi.org/10.3390/agriculture12111935

AMA Style

Chen X, He X, Wang W, Qu Z, Liu Y. Study on the Technologies of Loss Reduction in Wheat Mechanization Harvesting: A Review. Agriculture. 2022; 12(11):1935. https://doi.org/10.3390/agriculture12111935

Chicago/Turabian Style

Chen, Xu, Xun He, Wanzhang Wang, Zhe Qu, and Yuan Liu. 2022. "Study on the Technologies of Loss Reduction in Wheat Mechanization Harvesting: A Review" Agriculture 12, no. 11: 1935. https://doi.org/10.3390/agriculture12111935

APA Style

Chen, X., He, X., Wang, W., Qu, Z., & Liu, Y. (2022). Study on the Technologies of Loss Reduction in Wheat Mechanization Harvesting: A Review. Agriculture, 12(11), 1935. https://doi.org/10.3390/agriculture12111935

Note that from the first issue of 2016, this journal uses article numbers instead of page numbers. See further details here.

Article Metrics

Back to TopTop