Distal Adding-On as a Natural Shoulder Rebalancing Mechanism in Lenke Type 2A AIS with Right Sacral Slanting
Abstract
1. Introduction
2. Materials and Methods
2.1. Study Design and Patient Population
2.2. Demographic and Radiographic Measurements
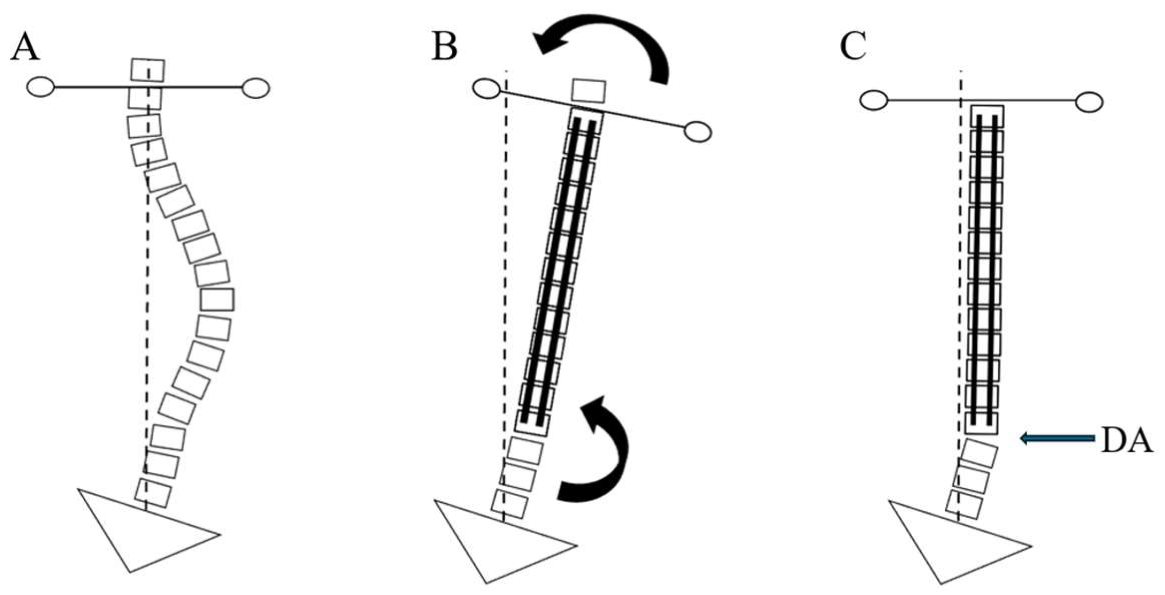
2.3. Surgical Technique
2.4. Statistical Analysis
3. Results
3.1. Baseline Demographics and Radiographic Characteristics
3.2. Distal Adding-On and Postoperative Shoulder Balance over Time
3.3. Regression Analyses
4. Discussion
5. Conclusions
Author Contributions
Funding
Institutional Review Board Statement
Informed Consent Statement
Data Availability Statement
Conflicts of Interest
Abbreviations
| AIS | Adolescent Idiopathic Scoliosis |
| DA | Distal Adding-on |
| DWA | Distal Wedge Angle |
| PSI | Postoperative Shoulder Imbalance |
| RSS | Right Sacral Slanting |
| RSH | Radiologic Shoulder Height |
| LSS | Left Sacral Slanting |
| NS | None (No Sacral Slanting) |
| PTC | Proximal Thoracic Curve |
| MTC | Main Thoracic Curve |
| UIV | Upper Instrumented Vertebra |
| LIV | Lowest Instrumented Vertebra |
| CSVL | Central Sacral Vertical Line |
| ICC | Intraclass Correlation Coefficients |
| IRB | Institutional Review Board |
| BMD | Bone Mineral Density |
| BMI | Body Mass Index |
References
- Roye, B.D.; Matsumoto, H.; Fano, A.N.; Marciano, G.F.; Iyer, R.R.; Boby, A.; Bainton, N.; Lenke, L.G.; Newton, P.O.; Vitale, M.G. Distal adding-on in adolescent idiopathic scoliosis results in diminished health-related quality of life at 10 years following posterior spinal fusion. Spine Deform. 2022, 10, 515–526. [Google Scholar] [CrossRef]
- Suk, S.-I.; Lee, S.-M.; Chung, E.-R.; Kim, J.-H.; Kim, W.-J.; Sohn, H.-M. Determination of Distal Fusion Level With Segmental Pedicle Screw Fixation in Single Thoracic Idiopathic Scoliosis. Spine 2003, 28, 484–491. [Google Scholar] [CrossRef]
- Li, Y.; Li, J.; Luk, K.D.K.; Zhang, C.; Sun, J.; Wang, G. Relationship between Fusion Mass Shift and Postoperative Distal Adding-on in Lenke 1 Adolescent Idiopathic Scoliosis after Selective Thoracic Fusion. Asian Spine J. 2023, 17, 1117–1124. [Google Scholar] [CrossRef] [PubMed]
- Kim, H.; Chang, B.S.; Chang, S.Y. Current issues in the treatment of adolescent idiopathic scoliosis: A comprehensive narrative review. Asian Spine J. 2024, 18, 731–742. [Google Scholar] [CrossRef] [PubMed]
- Cao, K.; Watanabe, K.; Kawakami, N.; Tsuji, T.; Hosogane, N.; Yonezawa, I.; Machida, M.; Yagi, M.; Kaneko, S.; Toyama, Y.; et al. Selection of Lower Instrumented Vertebra in Treating Lenke Type 2A Adolescent Idiopathic Scoliosis. Spine 2014, 39, E253–E261. [Google Scholar] [CrossRef]
- Wang, Y.; Bünger, C.E.; Zhang, Y.; Wu, C.; Li, H.; Hansen, E.S. Distal Adding on in Lenke 1A Scoliosis: What Causes It? How Can It Be Prevented? Spine Deform. 2014, 2, 301–307. [Google Scholar] [CrossRef]
- Lenke, L.G. The Lenke Classification System of Operative Adolescent Idiopathic Scoliosis. Neurosurg. Clin. N. Am. 2007, 18, 199–206. [Google Scholar] [CrossRef]
- Cho, J.H.; Lee, C.S.; Joo, Y.S.; Park, J.; Hwang, C.J.; Lee, D.H. Association between Sacral Slanting and Adjacent Structures in Patients with Adolescent Idiopathic Scoliosis. Clin. Orthop. Surg. 2017, 9, 57–62. [Google Scholar] [CrossRef]
- Cao, K.; Watanabe, K.; Hosogane, N.; Toyama, Y.; Yonezawa, I.; Machida, M.; Yagi, M.; Kaneko, S.; Kawakami, N.; Tsuji, T.; et al. Association of Postoperative Shoulder Balance With Adding-on in Lenke Type II Adolescent Idiopathic Scoliosis. Spine 2014, 39, E705–E712. [Google Scholar] [CrossRef] [PubMed]
- Hwang, C.J.; Lee, H.R.; Lee, S.K.; Seok, S.Y.; Cho, J.H.; Lee, D.-H.; Lee, C.S. Does Sacral Slanting Affect Postoperative Shoulder Balance in Patients With Lenke Type 2A Adolescent Idiopathic Scoliosis? Neurospine 2024, 21, 286–292. [Google Scholar] [CrossRef]
- Isogai, N.; Yagi, M.; Otomo, N.; Maeda, Y.; Suzuki, S.; Nori, S.; Tsuji, O.; Nagoshi, N.; Okada, E.; Fujita, N.; et al. Upper End Vertebra of Proximal Thoracic Curve At T1 is a Novel Risk Factor of Postoperative Shoulder Imbalance in Lenke Type 2 Adolescent Idiopathic Scoliosis. Glob. Spine J. 2023, 13, 1223–1229. [Google Scholar] [CrossRef]
- Yamauchi, I.; Nakashima, H.; Ito, S.; Segi, N.; Ouchida, J.; Tauchi, R.; Ohara, T.; Kawakami, N.; Imagama, S. Wedge-Shaped Deformity of the First Sacral Vertebra Associated with Adolescent Idiopathic Scoliosis: A Comparison of Cases with and without Scoliosis. Spine Surg. Relat. Res. 2023, 7, 540–546. [Google Scholar] [CrossRef]
- Hadgaonkar, S.; Shah, S.; Bhilare, P.; Kothari, A.; Shyam, A.; Sancheti, P.; Aiyer, S.N. Clinical and radiological factors associated with postoperative shoulder imbalance and correlation with patient-reported outcomes following scoliosis surgery. J. Orthop. 2020, 21, 465–472. [Google Scholar] [CrossRef]
- Shu, S.; Bao, H.; Zhang, Y.; Gu, Q.; Zhang, T.; Jing, W.; Liu, Z.; Qiu, Y.; Zhu, Z. Selection of Distal Fusion Level for Lenke 5 Curve: Does the Rotation of the Presumed Lower Instrumented Vertebra Matter? Spine 2020, 45, E688–E693. [Google Scholar] [CrossRef]
- Cho, R.H.; Yaszay, B.; Bartley, C.E.; Bastrom, T.P.; Newton, P.O. Which Lenke 1A Curves Are at the Greatest Risk for Adding-On... and Why? Spine 2012, 37, 1384–1390. [Google Scholar] [CrossRef]
- Moorthy, V.; Goh, G.S.; Guo, C.M.; Tan, S.B.; Chen, J.L.; Soh, R.C.C. Shoulder Balance Following Correction Surgery for Adolescent Idiopathic Scoliosis: When Is It Achieved and Does the Type of Construct Matter? Clin. Spine Surg. 2022, 35, E175–E180. [Google Scholar] [CrossRef]
- Okubo, T.; Konomi, T.; Yanai, Y.; Kobayashi, Y.; Furukawa, M.; Fujiyoshi, K.; Asazuma, T.; Yato, Y. Incidence and predictive factors of shoulder imbalance after selective anterior spinal fusion surgery in Lenke type 5C adolescent idiopathic scoliosis. N. Am. Spine Soc. J. 2023, 14, 100203. [Google Scholar] [CrossRef] [PubMed]
- Li, M.; Gu, S.; Ni, J.; Fang, X.; Zhu, X.; Zhang, Z. Shoulder balance after surgery in patients with Lenke Type 2 scoliosis corrected with the segmental pedicle screw technique. J. Neurosurg. Spine 2009, 10, 214–219. [Google Scholar] [CrossRef] [PubMed]
- Qin, X.; Xia, C.; Xu, L.; Sheng, F.; Yan, H.; Qiu, Y.; Zhu, Z. Natural History of Postoperative Adding-On in Adolescent Idiopathic Scoliosis: What Are the Risk Factors for Progressive Adding-On? BioMed Res. Int. 2018, 2018, 3247010. [Google Scholar] [CrossRef] [PubMed]
- Nikouei, F.; Ghandhari, H.; Ameri, E.; Mokarami, F. Shoulder Imbalance in Adolescent Idiopathic Scoliosis: A Systematic Review of the Current State of the Art. Arch. Bone Jt. Surg. 2022, 10, 992–1003. [Google Scholar] [CrossRef]
- Lee, H.R.; Hwang, C.J.; Seok, S.Y.; Kim, G.J.; Cho, J.H.; Lee, D.-H.; Lee, C.S. Shoulder balance in Lenke type 2 adolescent idiopathic scoliosis: Correlations among radiological indices, cosmetic indices, and patient-reported outcomes. J. Neurosurg. Spine 2024, 40, 700–707. [Google Scholar] [CrossRef]
- Qiu, X.S.; Ma, W.W.; Li, W.G.; Wang, B.; Yu, Y.; Zhu, Z.Z.; Qian, B.P.; Zhu, F.; Sun, X.; Ng, B.K.; et al. Discrepancy between radiographic shoulder balance and cosmetic shoulder balance in adolescent idiopathic scoliosis patients with double thoracic curve. Eur. Spine J. 2009, 18, 45–51. [Google Scholar] [CrossRef]
- Yang, Y.; Yang, M.; Zhao, J.; Zhao, Y.; Yang, C.; Li, M. Postoperative shoulder imbalance in adolescent idiopathic scoliosis: Risk factors and predictive index. Eur. Spine J. 2019, 28, 1331–1341. [Google Scholar] [CrossRef]
- Lee, C.S.; Hwang, C.J.; Lee, D.H.; Cho, J.H. Does fusion to T2 compared with T3/T4 lead to improved shoulder balance in adolescent idiopathic scoliosis with a double thoracic curve? J. Pediatr. Orthop. B 2019, 28, 32–39. [Google Scholar] [CrossRef]
- Eun, I.S.; Goh, T.S.; Kim, D.S.; Choi, M.; Lee, J.S. Comparison of Korean Body Image Questionnaires in Adolescent Idiopathic Scoliosis. Asian Spine J. 2023, 17, 47–60. [Google Scholar] [CrossRef]
- Kinoshita, Y.; Matsumura, A.; Namikawa, T.; Hoshino, M.; Hori, Y.; Nakamura, H. Analyzing Factors Associated with Postoperative Shoulder Imbalance in Lenke2 Adolescent Idiopathic Scoliosis (Retrospective Cohort Study). World Neurosurg. 2024, 190, e8–e16. [Google Scholar] [CrossRef] [PubMed]
- Mimura, T.; Ikegami, S.; Banno, T.; Seki, S.; Ohba, T.; Oba, H.; Kuraishi, S.; Uehara, M.; Munakata, R.; Takizawa, T.; et al. Usefulness of modified S-line for upper instrumented vertebra selection in adolescent idiopathic scoliosis Lenke type 2 curves. Sci. Rep. 2022, 12, 16996. [Google Scholar] [CrossRef] [PubMed]
- Bjerke, B.T.; Cheung, Z.B.; Shifflett, G.D.; Iyer, S.; Derman, P.B.; Cunningham, M.E. Do Current Recommendations for Upper Instrumented Vertebra Predict Shoulder Imbalance? An Attempted Validation of Level Selection for Adolescent Idiopathic Scoliosis. HSS J. 2015, 11, 216–222. [Google Scholar] [CrossRef] [PubMed]





| RSS (N = 42) | NS (N = 45) | LSS (N = 33) | p | |
|---|---|---|---|---|
| Age (year) | 15.3 ± 3.2 | 15.1 ± 3.5 | 15.2 ± 3.1 | 0.93 |
| Sex (M:F) | 35:7 | 32:13 | 24:9 | 0.28 |
| Height (cm) | 161.0 ± 7.6 | 160.2 ± 7.9 | 159.3 ± 8.0 | 0.68 |
| Weight (kg) | 49.9 ± 9.7 | 48.7 ± 8.6 | 47.8 ± 8.5 | 0.53 |
| BMI (kg/m2) | 19.8 ± 0.4 | 20.4 ± 0.2 | 19.8 ± 0.3 | 0.14 |
| BMD, T-score | 0.5 ± 0.1 | 0.4 ± 0.8 | 0.3 ± 0.1 | 0.33 |
| Follow-up (month) | 52.8 ± 25.1 | 54.2 ± 23.4 | 49.7 ± 26.8 | 0.66 |
| PTC (°) | 40.6 ± 11.6 | 39.1 ± 9.8 | 42.3 ± 10.1 | 0.59 |
| MTC (°) | 63.8 ± 11.2 | 62.5 ± 10.9 | 61.7 ± 12.4 | 0.76 |
| PTC/MTC ratio | 68.8 ± 10.9 | 64.6 ± 11.5 | 66.1 ± 12.2 | 0.32 |
| RSH (mm) | −8.1 ± 7.5 | −9.2 ± 9.0 | −10.3 ± 8.7 | 0.49 |
| Clavicle angle (°) | −1.4 ± 1.8 | −1.6 ± 2.1 | −1.5 ± 2.0 | 0.85 |
| T1 tilt (°) | 3.9 ± 5.1 | 3.7 ± 4.8 | 4.3 ± 5.5 | 0.80 |
| Risser grade, ≤2 : ≥3 | 12:30 | 15:30 | 6:27 | 0.69 |
| Sacral slanting (°) | 1.0 ± 1.4 | 0.4 ± 2.1 | 0.2 ± 2.4 | 0.47 |
| RSS (N = 42) | NS (N = 45) | LSS (N = 33) | p | |
|---|---|---|---|---|
| DWA (°) | ||||
| Postop immediate | 1.7 ± 0.6 | 1.1 ± 0.4 | −0.1 ± 0.5 | <0.01 * |
| Postop 1 M | 1.8 ± 0.7 | 1.2 ± 0.5 | 0.3 ± 0.5 | 0.01 * |
| Postop 3 M | 2.0 ± 0.7 | 1.7 ± 0.6 | 0.4 ± 0.6 | <0.01 * |
| Postop 6 M | 2.2 ± 0.8 | 1.8 ± 0.7 | 0.9 ± 0.6 | <0.01 * |
| Postop 1 Y | 2.3 ± 0.9 | 2.0 ± 0.7 | 1.1 ± 0.6 | <0.01 * |
| Postop 2 Y | 2.5 ± 0.9 | 2.1 ± 0.8 | 1.3 ± 0.7 | <0.01 * |
| DA Occurrence | 20 (47.6%) | 13 (28.9%) | 6 (18.2%) | 0.02 * |
| RSH (mm) | ||||
| Postop immediate | 22.4 ± 2.5 | 21.2 ± 3.1 | 20.6 ± 2.8 | 0.03 * |
| Postop 1 M | 12.9 ± 2.0 | 14.6 ± 2.3 | 15.1 ± 2.4 | 0.04 * |
| Postop 3 M | 10.8 ± 1.8 | 13.2 ± 2.1 | 14.3 ± 2.2 | 0.02 * |
| Postop 6 M | 9.2 ± 2.3 | 11.7 ± 2.5 | 12.9 ± 2.6 | <0.01 * |
| Postop 1 Y | 8.7 ± 2.4 | 10.5 ± 2.6 | 11.4 ± 2.8 | <0.01 * |
| Postop 2 Y | 8.0 ± 2.6 | 9.4 ± 2.9 | 10.2 ± 3.0 | <0.01 * |
| Variables | Beta | SE | t-Value | 95% CI | p-Value |
|---|---|---|---|---|---|
| Univariate Analysis | |||||
| Age | −0.01 | 0.01 | −1.33 | −0.02–0.00 | 0.19 |
| Pre MTC | 0 | 0.02 | 0.20 | −0.04–0.05 | 0.84 |
| Flexibility passive | 0 | 0.02 | 0.25 | −0.03–0.04 | 0.80 |
| Pre PTC | −0.02 | 0.03 | −0.54 | −0.08–0.04 | 0.59 |
| Pre T1tilt | −0.06 | 0.05 | −1.20 | −0.16–0.04 | 0.23 |
| Pre CSVL | 0 | 0.02 | −0.13 | −0.05–0.04 | 0.90 |
| Pre RSH | 0.03 | 0.03 | 1.31 | −0.02–0.08 | 0.19 |
| Post CSVL | 0.01 | 0.02 | 0.45 | −0.03–0.05 | 0.66 |
| Post RSH | 0.04 | 0.02 | 2.18 | 0.00–0.07 | 0.03 * |
| Sacral slanting | 0.29 | 0.14 | 2.10 | 0.02–0.57 | 0.04 * |
| Finally Selected Model | |||||
| (Intercept) | 0.26 | 0.42 | 0.61 | −0.57–1.09 | 0.54 |
| Post RSH | 0.03 | 0.02 | 1.97 | −0.00–0.07 | 0.05 |
| Sacral slanting | 0.26 | 0.14 | 1.87 | −0.02–0.54 | 0.06 |
Disclaimer/Publisher’s Note: The statements, opinions and data contained in all publications are solely those of the individual author(s) and contributor(s) and not of MDPI and/or the editor(s). MDPI and/or the editor(s) disclaim responsibility for any injury to people or property resulting from any ideas, methods, instructions or products referred to in the content. |
© 2025 by the authors. Licensee MDPI, Basel, Switzerland. This article is an open access article distributed under the terms and conditions of the Creative Commons Attribution (CC BY) license (https://creativecommons.org/licenses/by/4.0/).
Share and Cite
Yang, J.-H.; Park, J.M.; Seong, H.; Hwang, C.J.; Lee, H.R. Distal Adding-On as a Natural Shoulder Rebalancing Mechanism in Lenke Type 2A AIS with Right Sacral Slanting. J. Clin. Med. 2025, 14, 6850. https://doi.org/10.3390/jcm14196850
Yang J-H, Park JM, Seong H, Hwang CJ, Lee HR. Distal Adding-On as a Natural Shoulder Rebalancing Mechanism in Lenke Type 2A AIS with Right Sacral Slanting. Journal of Clinical Medicine. 2025; 14(19):6850. https://doi.org/10.3390/jcm14196850
Chicago/Turabian StyleYang, Jae-Hyuk, Jae Min Park, Hyukjune Seong, Chang Ju Hwang, and Hyung Rae Lee. 2025. "Distal Adding-On as a Natural Shoulder Rebalancing Mechanism in Lenke Type 2A AIS with Right Sacral Slanting" Journal of Clinical Medicine 14, no. 19: 6850. https://doi.org/10.3390/jcm14196850
APA StyleYang, J.-H., Park, J. M., Seong, H., Hwang, C. J., & Lee, H. R. (2025). Distal Adding-On as a Natural Shoulder Rebalancing Mechanism in Lenke Type 2A AIS with Right Sacral Slanting. Journal of Clinical Medicine, 14(19), 6850. https://doi.org/10.3390/jcm14196850

