Polymeric Inclusion Membranes Based on Ionic Liquids for Selective Separation of Metal Ions
Abstract
:1. Introduction
2. Methods
2.1. Chemicals
2.2. Polymer Ionic Liquid Inclusion Membranes Preparation
2.3. Analysis of Membrane Stability
2.4. Membrane Transport Studies
2.5. Analytical Method
3. Results
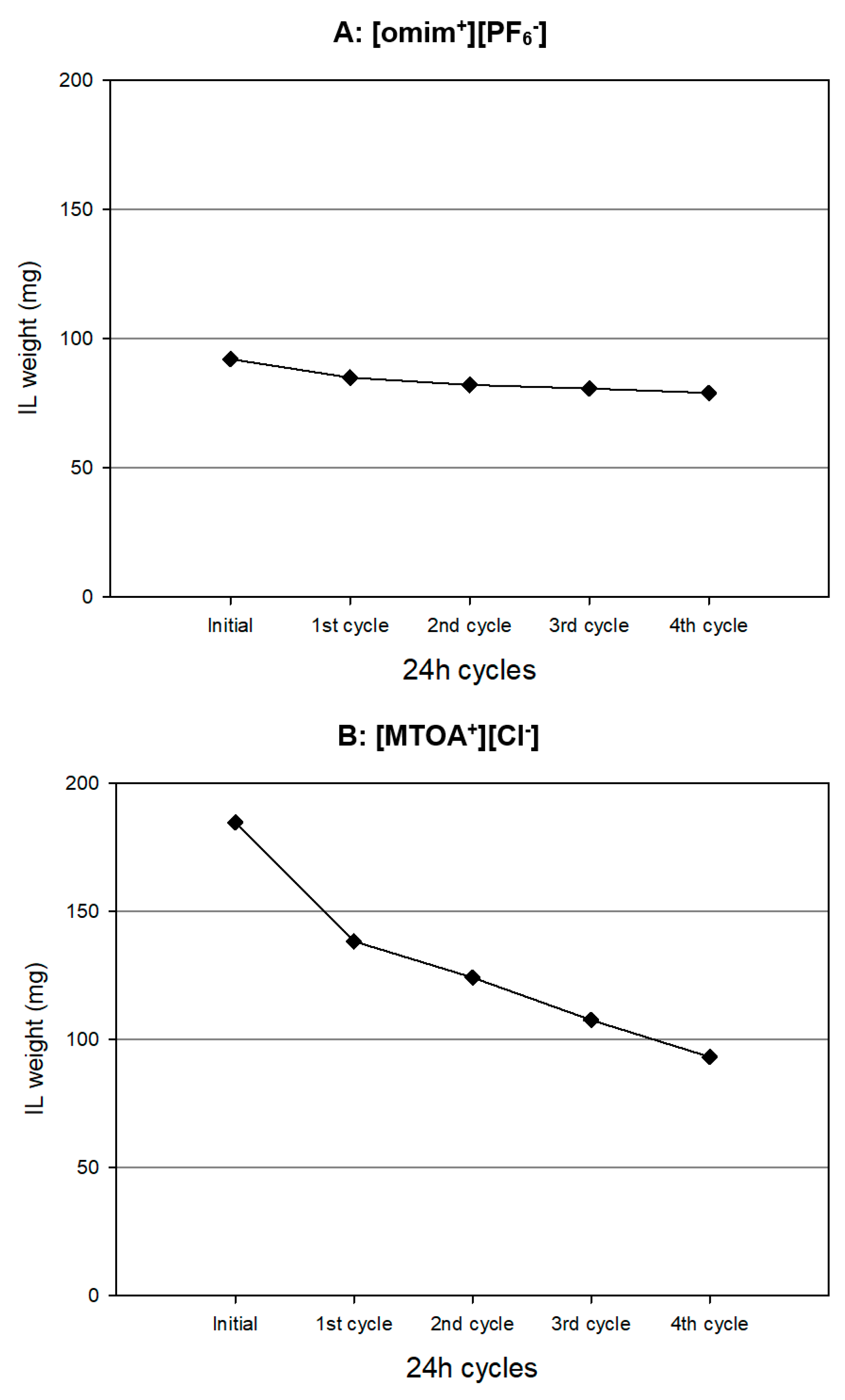
3.1. Stability of Polymer Ionic Liquid Inclusion Membranes Based on [omim+][PF6−] and [MTOA+][Cl−] to Aqueous Medium/Hydrochloride Solutions
3.2. Selective Separation of Fe(III), Zn(II), Cd(II) and Cu(II) HCl 1 M Aqueous Solution trough PILIMs Based on [omim+][PF6−] and [MTOA+][Cl−] Using Mili-Q Water as Receiving Phase
3.2.1. Selective Separation through Polymer Inclusion Membrane Based on 1-Octyl-3-methylimidazolium Hexafluorophosphate, [omim+][PF6−]
3.2.2. Selective Separation through Polymer Inclusion Membrane Based on Methyl Trioctylammonium Chloride, [MTOA+][Cl−]
4. Conclusions
Author Contributions
Funding
Data Availability Statement
Conflicts of Interest
References
- Häder, D.P.; Banaszak, A.T.; Villafañe, V.E.; Narvarte, M.A.; González, R.A.; Helbling, E.W. Anthropogenic pollution of aquatic ecosystems: Emerging problems with global implications. Sci. Total Environ. 2020, 713, 136586. [Google Scholar] [CrossRef] [PubMed]
- Kumara, S.; Prasada, S.; Yadav, K.K.; Shrivastava, M.; Gupta, N.; Nagar, S.; Bach, Q.-V.; Kamya, H.; Khana, S.A.; Yadava, S.; et al. Hazardous heavy metals contamination of vegetables and food chain: Role of sustainable remediation approaches—A review. Environ. Res. 2019, 179, 108792. [Google Scholar] [CrossRef] [PubMed]
- Demarco, C.F.; Quadro, M.S.; Carlos, F.S.; Pieniz, S.; Morselli, L.B.G.A.; Andreazza, R. Bioremediation of Aquatic Environments Contaminated with Heavy Metals: A Review of Mechanisms, Solutions and Perspectives. Sustainability 2023, 15, 1411. [Google Scholar] [CrossRef]
- Malik, L.A.; Bashir, A.; Qureashi, A.; Pandith, A.H. Detection and removal of heavy metal ions: A review. Environ. Chem. Lett. 2019, 17, 1495–1521. [Google Scholar] [CrossRef]
- Pollmanna, K.; Kutschkea, S.; Matysa, S.; Raff, J.; Hlawacekc, G.; Lederer, F.L. Bio-recycling of metals: Recycling of technical products using biological applications. Biotechnol. Adv. 2018, 36, 1048–1062. [Google Scholar] [CrossRef] [PubMed]
- Arguillarena, A.; Margallo, M.; Arruti-Fernández, A.; Pinedo, J.; Gómez, P.; Ortiz, I.; Urtiaga, A. Circular economy in hot-dip galvanizing with zinc and iron recovery from spent pickling acids. RSC Adv. 2023, 13, 6481–6489. [Google Scholar] [CrossRef]
- Wang, R.; Zhang, Y.; Sun, K.; Qian, C.; Bao, W. Emerging green technologies for recovery and reuse of spent lithium-ion batteries—A review. J. Mater. Chem. A 2022, 10, 17053. [Google Scholar] [CrossRef]
- Kaya, M. Recovery of metals and nonmetals from electronic waste by physical and chemical recycling processes. Waste Manag. 2016, 57, 64–90. [Google Scholar] [CrossRef]
- Robinson, B.H. E-waste: An assessment of global production and environmental impacts. Sci. Total Environ. 2009, 408, 183–191. [Google Scholar] [CrossRef]
- Baldé, C.P.; Forti, V.; Gray, V.; Kuehr, R.; Stegmann, P. The Global E-Waste Monitor; United Nations University (UNU): Bonn, Germany; International Telecommunication Union (ITU): Geneva, Switzerland; International Solid Waste Association (ISWA): Vienna, Austria, 2017. [Google Scholar]
- Ortiz, I.; Bringas, E.; Samaniego, H.; Román, M.F.S.; Urtiaga, A. Membrane processes for the efficient recovery of anionic pollutants. Desalination 2006, 193, 375–380. [Google Scholar] [CrossRef]
- Qasem, N.A.A.; Mohammed, R.H.; Lawal, D.U. Removal of heavy metal ions from wastewater: A comprehensive and critical review. Npj Clean Water 2021, 4, 36. [Google Scholar] [CrossRef]
- Yana, X.; Anguille, S.; Bendahan, M.; Moulin, P. Ionic liquids combined with membrane. Sep. Process. Sep. Purif. Technol. 2019, 222, 230–253. [Google Scholar] [CrossRef]
- Mousavi, S.M.; Raveshiyan, S.; Amini, Y.; Zadhoush, A. A critical review with emphasis on the rheological behavior and properties of polymer solutions and their role in membrane formation, morphology, and performance. Adv. Colloid Interface Sci. 2023, 319, 102986. [Google Scholar] [CrossRef] [PubMed]
- Ren, Y.; Liang, X.; Dou, H.; Ye, C.; Guo, Z.; Wang, J.; Pan, Y.; Wu, H.; Guiver, M.D.; Jiang, Z. Membrane-Based Olefin/Paraffin Separations. Adv. Sci. 2020, 7, 200139. [Google Scholar] [CrossRef]
- Dzygiel, P.; Wieczorek, P. Supported Liquid Membranes and Their Modifications: Definition, Classification, Theory, Stability, Application and Perspectives, Chapter 3. Liquid Membranes; Elsevier: New York, NY, USA, 2010; pp. 73–140. [Google Scholar] [CrossRef]
- Hernández-Fernández, F.J.; de los Ríos, A.P.; Tomás-Alonso, F.; Palacios, J.M.; Víllora, G. Understanding the influence of the ionic liquid composition and the surrounding phase nature on the stability of supported ionic liquid membranes. AIChE J. 2012, 58, 583–590. [Google Scholar] [CrossRef]
- Branco, L.C.; Crespo, J.G.; Afonso, C.A.M. Studies on the selective transport of organic compounds by using ionic liquids as novel supported liquid membranes. Chem. Eur. J. 2002, 8, 3865–3871. [Google Scholar] [CrossRef]
- de los Ríos, A.P.; Hernández-Fernández, F.J.; Lozano, L.J.; Sánchez-Segado, S.; Ginestá-Anzola, A.; Godínez, C.; Tomás-Alonso, F.; Quesada-Medina, J. On the selective separation of metal ions from hydrochloride aqueous solution by pertraction through supported ionic liquid membranes. J. Memb. Sci. 2013, 444, 469–481. [Google Scholar] [CrossRef]
- Zante, G.; Boltoeva, M.; Masmoudi, A.; Barillon, R.; Trébouet, D. Lithium extraction from complex aqueous solutions using supported ionic liquid membranes. J. Membr. Sci. 2019, 580, 62–76. [Google Scholar] [CrossRef]
- Zheng, D.; Hua, D.; Hong, Y.; Ibrahim, A.-R.; Ya, A.; Pan, J.; Zhan, G. Functions of Ionic Liquids in Preparing Membranes for Liquid Separations: A Review. Membranes 2020, 10, 395. [Google Scholar] [CrossRef]
- Guglielmero, L.; Mero, A.; Mezzetta, A.; Tofani, G.; D’Andrea, F.; Pomelli, C.S.; Guazzelli, L. Novel access to ionic liquids based on trivalent metal–EDTA complexes and their thermal and electrochemical characterization. J. Mol. Liq. 2021, 340, 117210. [Google Scholar] [CrossRef]
- de los Ríos, A.P.; Hernández-Fernández, F.J.; Alguacil, F.J.; Lozano, L.J.; Ginestá, A.; García-Díaz, I.; Sánchez-Segado, S.; López, F.A.; Godínez, C. On the use of imidazolium and ammonium-based ionic liquids as green solvents for the selective recovery of Zn(II), Cd(II), Cu(II) and Fe(III) from hydrochloride aqueous solutions. Sep. Purif. Technol. 2012, 93, 50–157. [Google Scholar] [CrossRef]
- Marsousi, S.; Karimi-Sabet, J.; Moosavian, M.A.; Amini, Y. Liquid-liquid extraction of calcium using ionic liquids in spiral microfluidics. J. Chem. Eng. 2019, 356, 492–505. [Google Scholar] [CrossRef]
- Rynkowska, E.; Fatyeyeva, K.; Kujawski, W. Application of polymer-based membranes containing ionic liquids in membrane separation processes: A critical review. Rev. Chem. Eng. 2018, 34, 341–363. [Google Scholar] [CrossRef]
- Baicha, Z.; Salar-García, M.J.; Ortiz-Martínez, V.M.; Hernández-Fernández, F.J.; de los Ríos, A.P.; Marín, D.P.M.; Collado, J.A.; Tomás-Alonso, F.; El Mahi, M. On the selective transport of nutrients through polymer inclusion membranes based on ionic liquids. Processes 2019, 7, 544. [Google Scholar] [CrossRef]
- Kaczorowska, M.A. The use of polymer inclusion membranes for the removal of metal ions from aqueous solutions—The latest achievements and potential industrial applications: A Review. Membranes 2022, 12, 1135. [Google Scholar] [CrossRef]
- Tomás-Alonso, F.; Rubio, A.M.; Álvarez, R.; Ortuño, J.A. Dynamic Potential Response and SEM-EDX Studies of Polymeric Inclusion Membranes Based on Ionic Liquids. Int. J. Electrochem. Sci. 2013, 8, 4955–4969. [Google Scholar] [CrossRef]
- Tomás-Alonso, F.; Rubio, A.M.; Giménez, A.; de los Ríos, A.P.; Salar-García, M.J.; Ortiz-Martínez, V.M.; Hernández-Fernández, F.J. Influence of Ionic Liquid Composition on the Stability of Polyvinyl Chloride-Based Ionic Liquid Inclusion Membranes in Aqueous Solution. AIChE J. 2017, 63, 770–780. [Google Scholar] [CrossRef]
- Dalali, N.; Yavarizadeh, H.; Agrawal, Y.K. Separation of zinc and cadmium from nickel and cobalt by facilitated transport through bulk liquid membrane using trioctyl methyl ammonium chloride as carrier. J. Ind. Eng. Chem. 2012, 18, 1001–1005. [Google Scholar] [CrossRef]
- Nosrati, S.; Jayakumar, N.S.; Hashim, M.A. Performance evaluation of supported ionic liquid membrane for removal of phenol. J. Hazard. Mater. 2011, 192, 1283–1290. [Google Scholar] [CrossRef]
- Sigma-Aldrich. Safety Data Sheet Methyltrioctylammonium Chloride; Sigma-Aldrich: St. Louis, MO, USA, 2006. [Google Scholar]
- Pospiech, B. Application of Phosphonium Ionic Liquids as Ion Carriers in Polymer Inclusion Membranes (PIMs) for Separation of Cadmium(II) and Copper(II) from Aqueous Solutions. J. Solut. Chem. 2015, 44, 2431–2447. [Google Scholar] [CrossRef]
- Baczynska, M.; Słomka, Z.; Rzelewska, M.; Waszak, M.; Nowicki, M.; Regel-Rosocka, M. Characterization of polymer inclusion membranes (PIM) containing phosphonium ionic liquids and their application for separation of Zn(II) from Fe(III). J. Chem. Technol. Biotechnol. 2018, 93, 1767–1777. [Google Scholar] [CrossRef]
- Fajar, A.T.N.; Hanada, T.; Firmansyah, M.L.; Kubota, F.; Goto, M. Selective separation of platinum group metals via sequential transport through polymer inclusion membranes containing an ionic liquid Carrier. ACS Sustain. Chem. Eng. 2020, 8, 11283–11291. [Google Scholar] [CrossRef]
- Szczepanski, P.; Guo, H.; Dzieszkowski, K.; Rafinski, Z.; Wolan, A.; Fatyeyeva, K.; Kujawa, J.; Kujawski, W. New reactive ionic liquids as carriers in polymer inclusion membranes for transport and separation of Cd(II), Cu(II), Pb(II), and Zn(II) ions from chloride aqueous solutions. J. Membr. Sci. 2021, 638, 119674. [Google Scholar] [CrossRef]
- Juang, R.S.; Kao, H.C.; Wu, W.H. Analysis of liquid membrane extraction of binary Zn(II) and Cd(II) from chloride media with Aliquat 336 based on thermodynamic equilibrium models. J. Membr. Sci. 2004, 228, 169–177. [Google Scholar] [CrossRef]
- Wang, Y.; He, Y.; Yin, S.; Long, H.; Li, S. Research on extraction of zinc from spent pickling solution using Aliquat 336. Hydrometallurgy 2020, 193, 105322. [Google Scholar] [CrossRef]








| Fe(III) | Zn(II) | Cd(II) | Cu(II) | |
|---|---|---|---|---|
| Maximum pertraction factor | 4.89 | 391 | 21.65 | 0.49 | 
| Initial flux (×103) (g m−2 h−1) | 7.5 | 21.2 | 24.9 | 1.7 | 
| Disclaimer/Publisher’s Note: The statements, opinions and data contained in all publications are solely those of the individual author(s) and contributor(s) and not of MDPI and/or the editor(s). MDPI and/or the editor(s) disclaim responsibility for any injury to people or property resulting from any ideas, methods, instructions or products referred to in the content. | 
© 2023 by the authors. Licensee MDPI, Basel, Switzerland. This article is an open access article distributed under the terms and conditions of the Creative Commons Attribution (CC BY) license (https://creativecommons.org/licenses/by/4.0/).
Share and Cite
Hernández-Fernández, A.; Iniesta-López, E.; Ginestá-Anzola, A.; Garrido, Y.; Pérez de los Ríos, A.; Quesada-Medina, J.; Hernández-Fernández, F.J. Polymeric Inclusion Membranes Based on Ionic Liquids for Selective Separation of Metal Ions. Membranes 2023, 13, 795. https://doi.org/10.3390/membranes13090795
Hernández-Fernández A, Iniesta-López E, Ginestá-Anzola A, Garrido Y, Pérez de los Ríos A, Quesada-Medina J, Hernández-Fernández FJ. Polymeric Inclusion Membranes Based on Ionic Liquids for Selective Separation of Metal Ions. Membranes. 2023; 13(9):795. https://doi.org/10.3390/membranes13090795
Chicago/Turabian StyleHernández-Fernández, Adrián, Eduardo Iniesta-López, Anahí Ginestá-Anzola, Yolanda Garrido, Antonia Pérez de los Ríos, Joaquín Quesada-Medina, and Francisco José Hernández-Fernández. 2023. "Polymeric Inclusion Membranes Based on Ionic Liquids for Selective Separation of Metal Ions" Membranes 13, no. 9: 795. https://doi.org/10.3390/membranes13090795
APA StyleHernández-Fernández, A., Iniesta-López, E., Ginestá-Anzola, A., Garrido, Y., Pérez de los Ríos, A., Quesada-Medina, J., & Hernández-Fernández, F. J. (2023). Polymeric Inclusion Membranes Based on Ionic Liquids for Selective Separation of Metal Ions. Membranes, 13(9), 795. https://doi.org/10.3390/membranes13090795
 
        






 
       