Interdependence of Contributing Factors Governing Dead-End Fouling of Nanofiltration Membranes
Abstract
1. Introduction
2. Materials and Methods
2.1. Foulants: Selection and Characterization
2.2. Membrane Selection and Characterization
2.3. Fouling Experiments
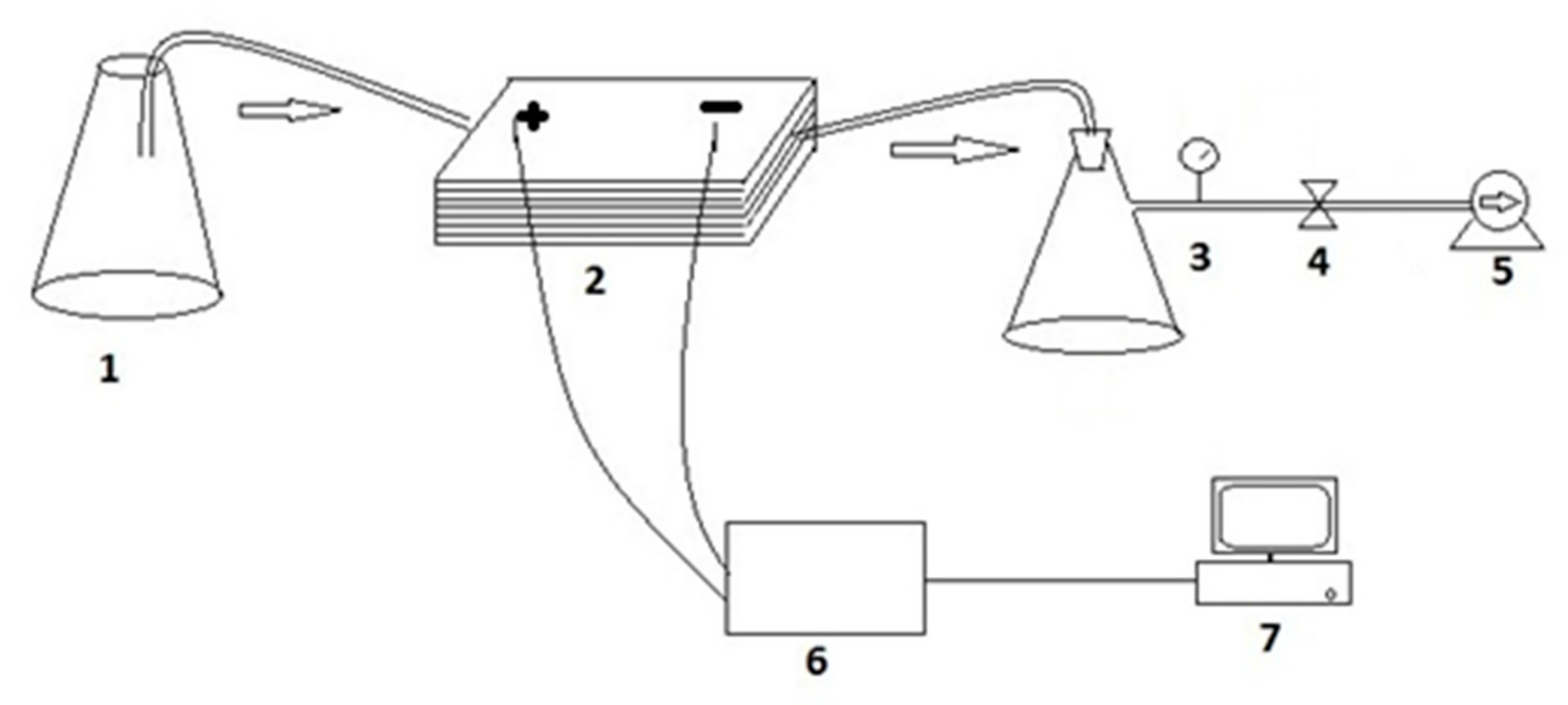
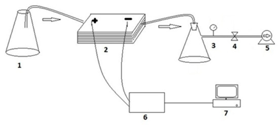
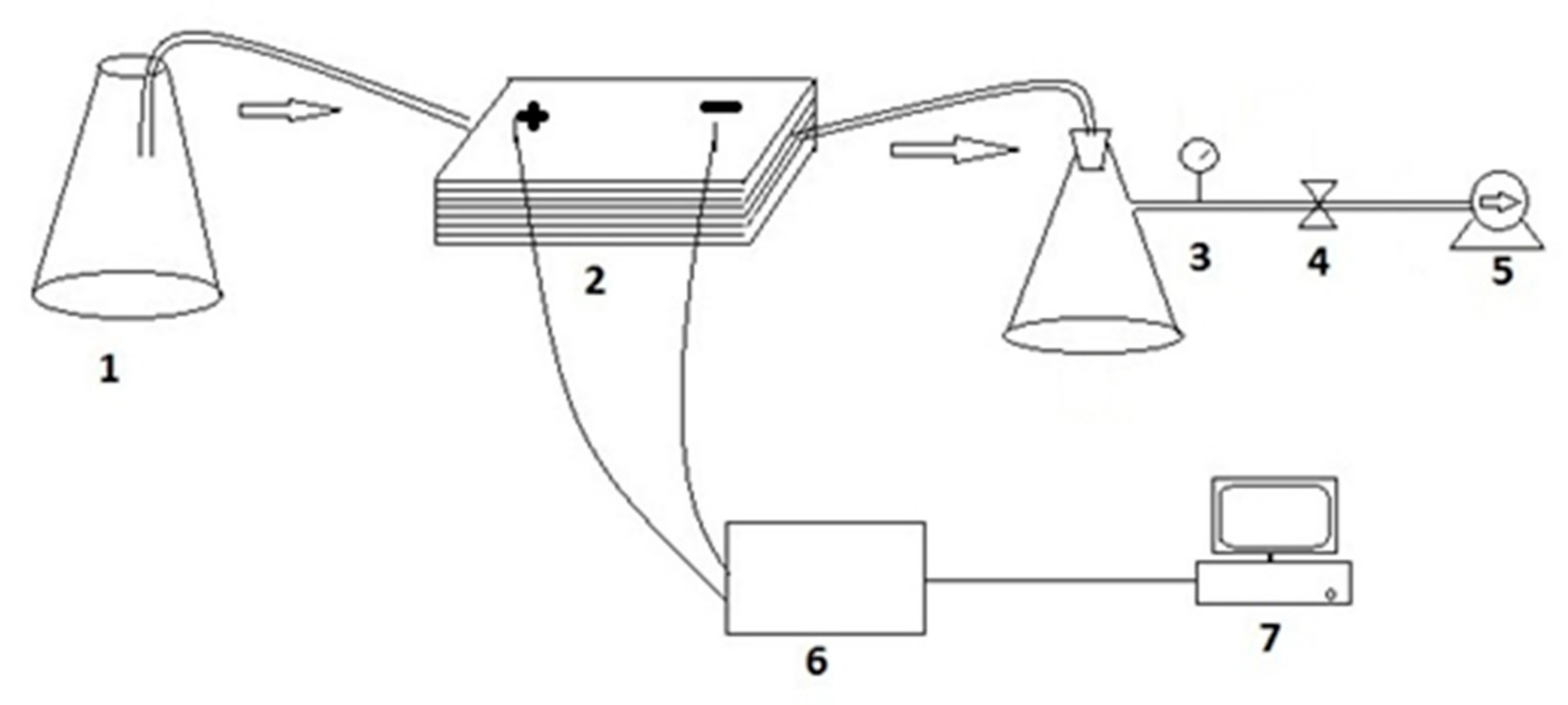
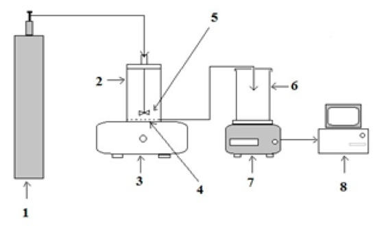
2.3.1. Filtration Protocol
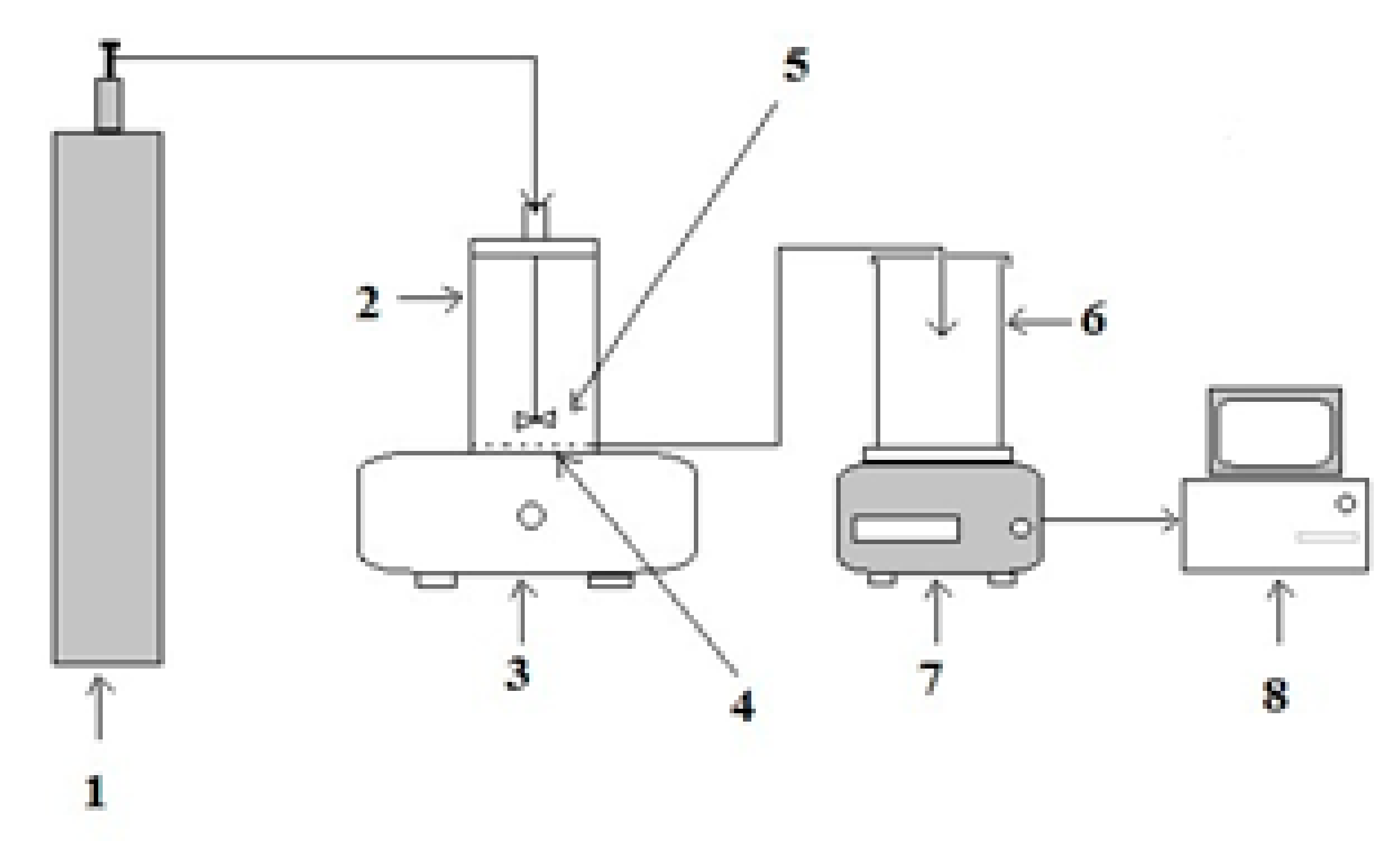
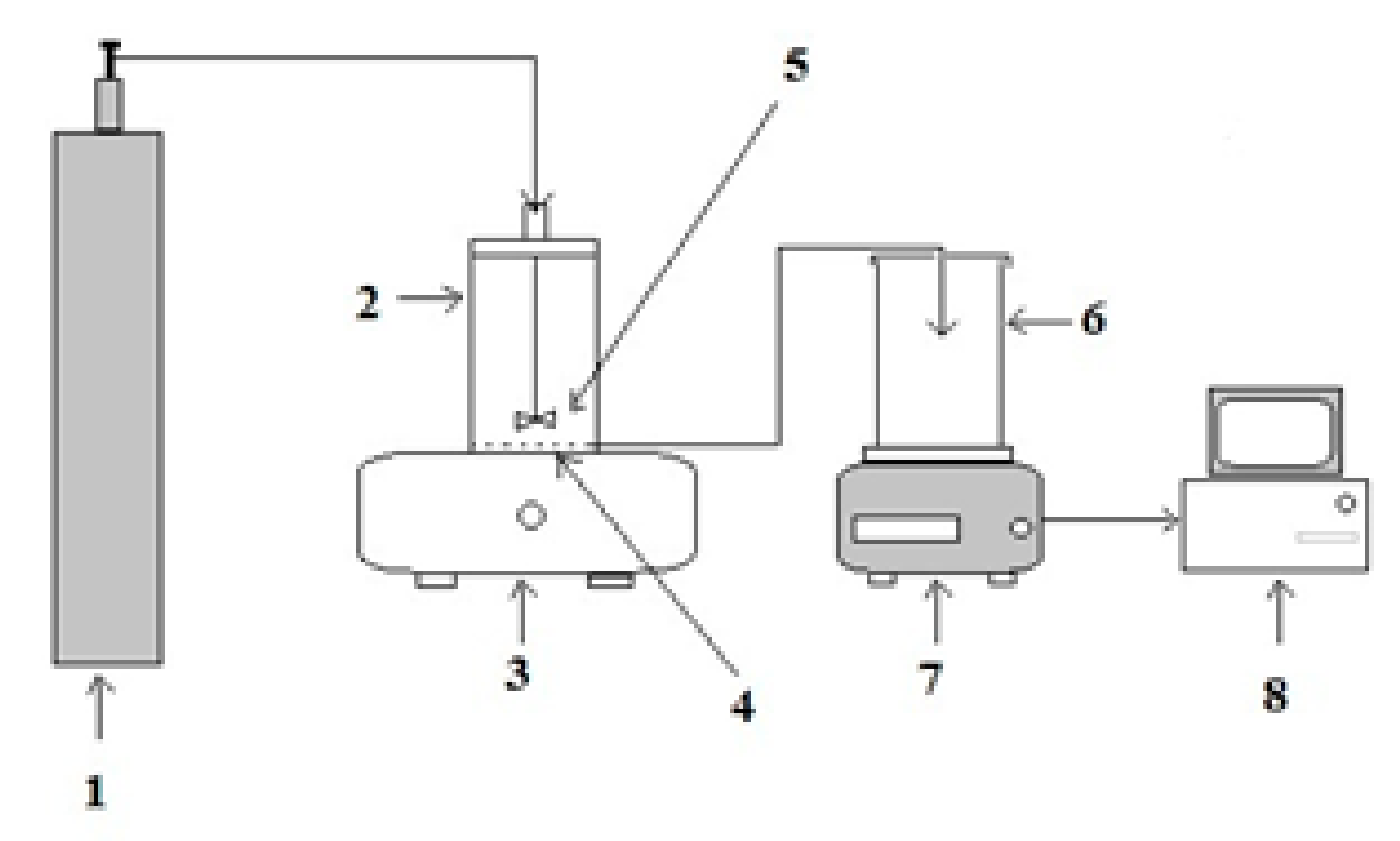
2.3.2. Investigating the Influence of Cake-Enhanced Concentration Polarization (CECP)
2.4. Resistance Analysis
2.4.1. Determination of Resistance Due to Adsorption (Ra)
2.4.2. Determination of Total Resistance (Rt)
2.4.3. Determination of Resistance Due to Pore Blocking (Rp)
2.4.4. Determination of Cake Resistance (Rc)
3. Results and Discussion
3.1. Foulant Characteristics
3.2. Membrane Characteristics
3.3. Influence of Membrane Fouling on Permeate Flux
3.4. Factors Governing Flux Decline and Their Interdependence
3.4.1. Cake-Enhanced Concentration Polarization Effects
3.4.2. Resistance Parameters
3.5. Verification of Foulant Layer Composition
4. Conclusions
Supplementary Materials
Author Contributions
Funding
Acknowledgments
Conflicts of Interest
References
- Listiarini, K.; Chun, W.; Sun, D.D.; Leckie, J.O. Fouling mechanism and resistance analyses of systems containing sodium alginate, calcium, alum and their combination in dead-end fouling of nanofiltration membranes. J. Membr. Sci. 2009, 344, 244–251. [Google Scholar] [CrossRef]
- Blankert, B.; Kattenbelt, C.; Betlem, B.H.L.; Roffel, B. Dynamic optimization of a dead-end filtration trajectory: Non-ideal cake filtration. J. Membr. Sci. 2007, 290, 114–124. [Google Scholar] [CrossRef][Green Version]
- Koonani, H.; Amirinejad, M. Combined Three Mechanisms Models for Membrane Fouling during Microfiltration. J. Membr. Sci. Res. 2019, 5, 274–282. [Google Scholar] [CrossRef]
- Mahlangu, T.O.; Thwala, J.M.; Mamba, B.B.; D’Haese, A.; Verliefde, A.R.D. Factors governing combined fouling by organic and colloidal foulants in cross-flow nanofiltration. J. Membr. Sci. 2015, 491, 53–62. [Google Scholar] [CrossRef]
- Zhao, D.; Song, J.; Xu, J.; Yu, S.; Liu, J.; Zhu, Y.; Gu, Z.; Liu, G. Behaviours and mechanisms of nanofiltration membrane fouling by anionic polyacrylamide with different molecular weights in brackish wastewater desalination. Desalination 2019, 468, 114058. [Google Scholar] [CrossRef]
- Zhu, H.; Nyström, M. Cleaning results characterized by flux, streaming potential and FTIR measurements. Colloids Surf. A Physicochem. Eng. Asp. 1998, 138, 309–321. [Google Scholar] [CrossRef]
- Chen, K.L.; Mylon, S.E.; Elimelech, M. Enhanced aggregation of alginate-coated iron oxide (Hematite) nanoparticles in the presence of calcium, strontium, and barium cations. Langmuir 2007, 23, 5920–5928. [Google Scholar] [CrossRef] [PubMed]
- Grant, G.T.; Morris, E.R.; Rees, D.A.; Smith, P.J.C.; Thom, D. Biological interactions between polysaccharides and divalent cations: The egg-box model. FEBS Lett. 1973, 32, 195–198. [Google Scholar] [CrossRef]
- Mahlangu, T.O.; Hoek, E.M.V.; Mamba, B.B.; Verliefde, A.R.D. Influence of organic, colloidal and combined fouling on NF rejection of NaCl and carbamazepine: Role of solute-foulant-membrane interactions and cake-enhanced concentration polarisation. J. Membr. Sci. 2014, 471, 35–46. [Google Scholar] [CrossRef]
- Mo, Y.; Xiao, K.; Shen, Y.; Huang, X. A new perspective on the effect of complexation between calcium and alginate on fouling during nanofiltration. Sep. Purif. Technol. 2011, 82, 121–127. [Google Scholar] [CrossRef]
- Harwot, P.; van de Ven, T.G.M. Effects of sodium oleate and calcium chloride on the deposition of latex particles on an air/water interface. Colloids Surf. A Physicochem. Eng. Asp. 1997, 121, 229–237. [Google Scholar] [CrossRef]
- Van de Ven, W.J.C.; Sant, K.V.; Pünt, I.G.M.; Zwijnenburg, A.; Kemperman, A.J.B.; van der Meer, W.G.J.; Wessling, M. Hollow fiber dead-end ultrafiltration: Influence of ionic environment on filtration of alginates. J. Membr. Sci. 2008, 308, 218–229. [Google Scholar] [CrossRef]
- Zhao, J.; Brown, W. Surface characteristics of polystyrene latex particles and comparison with styrene-butadiene copolymer latex particles using dynamic light scattering and electrophoretic light scattering measurements. J. Colloid Interface Sci. 1996, 179, 255–260. [Google Scholar] [CrossRef]
- Kummert, R.; Stumm, W. The surface complexation of organic acids on hydrous γ-Al2O3. J. Colloid Interface Sci. 1980, 75, 373–385. [Google Scholar] [CrossRef]
- Li, Q.; Elimelech, M. Organic fouling and chemical cleaning of nanofiltration membranes: Measurements and mechanisms. Environ. Sci. Technol. 2004, 38, 4683–4693. [Google Scholar] [CrossRef] [PubMed]
- Kim, S.; Hoek, E.M.V. Interactions controlling biopolymer fouling of reverse osmosis membranes. Desalination 2007, 202, 333–342. [Google Scholar] [CrossRef]
- Hong, S.; Elimelech, M. Chemical and physical aspects of natural organic matter (NOM) fouling of nanofiltration membranes. J. Membr. Sci. 1997, 132, 159–181. [Google Scholar] [CrossRef]
- Gésan-Guiziou, G.; Wakeman, R.; Daufin, G. Stability of latex crossflow filtration: Cake properties and critical conditions of deposition. Chem. Eng. J. 2002, 85, 27–34. [Google Scholar] [CrossRef]
- Asatekin, A.; Olivetti, E.A.; Mayes, A.M. Fouling resistant, high flux nanofiltration membranes from polyacrylonitrile-graft-poly(ethylene oxide). J. Membr. Sci. 2009, 332, 6–12. [Google Scholar] [CrossRef]
- Nyström, M.; Pihlajamäki, A.; Ehsani, N. Characterization of ultrafiltration membranes by simultaneous streaming potential and flux measurements. J. Membr. Sci. 1994, 87, 245–256. [Google Scholar] [CrossRef]
- Nghiem, L.D.; Manis, A.; Soldenhoff, K.; Schäfer, A.I. Estrogenic hormone removal from wastewater using NF/RO membranes. J. Membr. Sci. 2004, 242, 37–45. [Google Scholar] [CrossRef]
- Huang, W.; Qin, X.; Dong, B.; Zhou, W.; Lv, W. Investigation of the mechanisms of membrane fouling by intracellular organic matter under different iron treatments during ultrafiltration. Chemosphere 2018, 208, 586–594. [Google Scholar] [CrossRef]
- Jin, X.; Huang, X.; Hoek, E.M.V. Role of specific ion interactions in seawater RO membrane fouling by alginic acid. Environ. Sci. Technol. 2009, 43, 3580–3587. [Google Scholar] [CrossRef]
- Yu, H.; Xie, Y.; Hu, M.; Wang, J.; Wang, S.; Xu, Z. Surface modification of polypropylene microporous membrane to improve its antifouling property in MBR: CO plasma treatment. J. Membr. Sci. 2005, 254, 219–227. [Google Scholar] [CrossRef]
- Schippers, J.C.; Verdouw, J. The modified fouling index, a method of determining the fouling characteristics of water. Desalination 1980, 32, 137–148. [Google Scholar] [CrossRef]
- Bellona, C.; Drewes, J.E. The role of membrane surface charge and solute physico-chemical properties in the rejection of organic acids by NF membranes. J. Membr. Sci. 2005, 249, 227–234. [Google Scholar] [CrossRef]
- Nghiem, L.D.; Hawkes, S. Effects of membrane fouling on the nanofiltration of pharmaceutically active compounds (PhACs): Mechanisms and role of membrane pore size. Sep. Purif. Technol. 2007, 57, 176–184. [Google Scholar] [CrossRef]
- Seidel, A.; Elimelech, M. Coupling between chemical and physical interactions in natural organic matter (NOM) fouling of nanofiltration membranes: Implications for fouling control. J. Membr. Sci. 2002, 203, 245–255. [Google Scholar] [CrossRef]
- Zhu, B.X.; Elimelech, M.; Member, A. Fouling of reverse osmosis membranes by aluminium oxide colloids. Environ. Eng. 1995, 121, 884–892. [Google Scholar] [CrossRef]
- Zhang, H.; Fan, X.; Wang, B.; Song, L. Calcium ion on membrane fouling reduction and bioflocculation promotion in membrane bioreactor at high salt shock. Bioresour. Technol. 2016, 200, 535–540. [Google Scholar] [CrossRef]
- Listiarini, K.; Sun, D.D.; Leckie, J.O. Organic fouling of nanofiltration membranes: Evaluating the effects of humic acid, calcium, alum coagulant and their combinations on the specific cake resistance. J. Membr. Sci. 2009, 332, 56–62. [Google Scholar] [CrossRef]
- Van Der Bruggen, B.; Vandecasteele, C. Flux decline during nanofiltration of organic components in aqueous solution. Environ. Sci. Technol. 2001, 35, 3535–3540. [Google Scholar] [CrossRef]
- Kim, Y.M.; Kim, S.J.; Kim, Y.S.; Lee, S.; Kim, I.S.; Kim, J.H. Overview of systems engineering approaches for a large-scale seawater desalination plant with a reverse osmosis network. Desalination 2009, 238, 312–332. [Google Scholar] [CrossRef]
- Verliefde, A.R.; Van der Meeren, P.; Van der Bruggen, B. Solution-diffusion processes in membrane. In Encyclopedia of Membrane Science and Technology; Hoek, E.M.V., Tarabara, V.V., Eds.; Wiley and Sons: Hoboken, NJ, USA; New York, NY, USA, 2013. [Google Scholar]
- Wang, J.; Dlamini, D.S.; Mishra, A.K.; Pendergast, M.T.M.; Wong, M.C.Y.; Mamba, B.B.; Freger, V.; Verliefde, A.R.D.; Hoek, E.M.V. A critical review of transport through osmotic membranes. J. Membr. Sci. 2014, 454, 516–537. [Google Scholar] [CrossRef]
- Yaroshchuk, A.; Martínez-Lladó, X.; Llenas, L.; Rovira, M.; de Pablo, J. Solution-diffusion-film model for the description of pressure-driven trans-membrane transfer of electrolyte mixtures: One dominant salt and trace ions. J. Membr. Sci. 2011, 368, 192–201. [Google Scholar] [CrossRef]
- Chellam, S.; Taylor, J.S. Simplified analysis of contaminant rejection during ground- and surface water nanofiltration under the information collection rule. Water Res. 2001, 35, 2460–2474. [Google Scholar] [CrossRef]
- Peeva, L.G.; Gibbins, E.; Luthra, S.S.; White, L.S.; Stateva, R.P.; Livingston, A.G. Effect of concentration polarisation and osmotic pressure on flux in organic solvent nanofiltration. J. Membr. Sci. 2004, 236, 121–136. [Google Scholar] [CrossRef]
- Mukherjee, P.; SenGupta, A.K. Some observations about electrolyte permeation mechanism through reverse osmosis and nanofiltration membranes. J. Membr. Sci. 2006, 278, 301–307. [Google Scholar] [CrossRef]
- Stops, F.; Fell, J.T.; Collett, J.H.; Martini, L.G. Floating dosage forms to prolong gastro-retention-The characterisation of calcium alginate beads. Int. J. Pharm. 2008, 350, 301–311. [Google Scholar] [CrossRef]
- Ribeiro, C.C.; Barrias, C.C.; Barbosa, M.A. Calcium phosphate-alginate microspheres as enzyme delivery matrices. Biomaterials 2004, 25, 4363–4373. [Google Scholar] [CrossRef]
- Van Hoogmoed, C.G.; Busscher, H.J.; De Vos, P. Fourier transform infrared spectroscopy studies of alginate-PLL capsules with varying compositions. J. Biomed. Mater. Res. Part A 2003, 67, 172–178. [Google Scholar] [CrossRef] [PubMed]
- Van Damme, H.; Crespin, M.; Cruz, M.I.; Fripiat, J.J. Adsorption of safranine by Na+, Ni2+ and Fe3+ montmorillonites. Clays Clay Miner. 1977, 25, 19–25. [Google Scholar] [CrossRef]
- Ibrahim, M.; Nada, A.; Kamal, D.E. Density functional theory and FTIR spectroscopic study of carboxyl group. Indian J. Pure Appl. Phys. 2005, 43, 911–917. [Google Scholar]
- Kenttä, E.; Juvonen, K.; Halttunen, M.; Vyörykkä, J. Spectroscopic methods for determination of latex content of coating layers. Nord. Pulp Pap. Res. J. 2000, 15, 579–585. [Google Scholar] [CrossRef]
- Ryczkowski, J. IR spectroscopy in catalysis. Catal. Today 2001, 68, 263–381. [Google Scholar] [CrossRef]











| Membrane Type | Foulant Concentration (mg L−1) | Calcium (mg L−1) | ||
|---|---|---|---|---|
| Alginate | Latex | Al2O3 | ||
| Alginate | 266 | 0.0 | 0.0 | 0.0 |
| Alginate + Calcium | 266 | 0.0 | 0.0 | 55.5 |
| Latex | 0.0 | 400 | 0.0 | 0.0 |
| Latex + Calcium | 0.0 | 400 | 0.0 | 55.5 |
| Latex + Alginate | 266 | 400 | 0.0 | 0.0 |
| Latex + Alginate + Calcium | 266 | 400 | 0.0 | 55.5 |
| Al2O3 | 0.0 | 0.0 | 400 | 0.0 |
| Al2O3 + Alginate | 266 | 0.0 | 400 | 0.0 |
| Al2O3 + Alginate + Calcium | 266 | 0.0 | 400 | 55.5 |
| J′ (Lm−2 h−1) | ∆J′ (%) | R′ (%) | ∆R′ (%) | ∆R′/∆J′ | |
|---|---|---|---|---|---|
| Alginate | 8.4 ± 0.4 | 86 ± 0.3 | 1.1 ± 0.1 | 97 ± 0.2 | 1.1 ± 0.2 |
| Alginate + Calcium | 7.8 ± 0.2 | 87 ± 0.2 | 1.1 ± 0.1 | 97 ± 0.1 | 1.1 ± 0.1 |
| Latex | 24.6 ± 0.3 | 59 ± 0.2 | 14.4 ± 0.2 | 59 ± 0.2 | 1.0 ± 0.2 |
| Latex + Calcium | 31.0 ± 0.2 | 48 ± 0.3 | 21.7 ± 0.3 | 38 ± 0.2 | 0.8 ± 0.2 |
| Latex + Alginate | 5.5 ± 0.2 | 91 ± 0.3 | 3.2 ± 0.2 | 91 ± 0.2 | 1.0 ± 0.2 |
| Latex + Alginate + Calcium | 6.6 ± 0.3 | 89 ± 0.2 | 3.9 ± 0.1 | 89 ± 0.2 | 1.0 ± 0.2 |
| Al2O3 | 52.2 ± 0.4 | 13 ± 0.3 | 30.5 ± 0.3 | 13 ± 0.3 | 1.0 ± 0.3 |
| Al2O3 + Alginate | 10.2 ± 0.3 | 83 ± 0.2 | 6.0 ± 0.3 | 82 ± 0.3 | 1.0 ± 0.3 |
| Al2O3 + Alginate + Calcium | 12.6 ± 0.4 | 79 ± 0.3 | 7.4 ± 0.3 | 79 ± 0.3 | 1.0 ± 0.3 |
| α × 1010 (mk g−1) | Ra × 108 (m−1) | Rp × 108 (m−1) | Rc × 1010 (m−1) | |
|---|---|---|---|---|
| Alginate | 4.07 ± 0.3 | 8.17 ± 0.2 | 1.59 ± 0.2 | 4.80 ± 0.2 |
| Alginate + Calcium | 3.55 ± 0.2 | 4.73 ± 0.4 | 5.76 ± 0.4 | 8.51 ± 0.4 |
| Latex | 3.32 ± 0.2 | 2.32 ± 0.2 | 5.81 ± 0.4 | 10.4 ± 0.5 |
| Latex + Calcium | 3.25 ± 0.3 | 1.34 ± 0.1 | 7.07 ± 0.3 | 6.62 ± 0.3 |
| Latex + Alginate | 1.84 ± 0.1 | 7.44 ± 0.4 | 2.71 ± 0.2 | 9.48 ± 0.3 |
| Latex + Alginate + Calcium | 1.81 ± 0.1 | 5.37 ± 0.3 | 3.78 ± 0.3 | 4.71 ± 0.4 |
| Al2O3 | 3.02 ± 0.3 | 0.36 ± 0.1 | 2.68 ± 0.2 | 0.71 ± 0.1 |
| Al2O3 + Alginate | 1.44 ± 0.2 | 5.73 ± 0.4 | 3.05 ± 0.3 | 1.98 ± 0.3 |
| Al2O3 + Alginate + Calcium | 1.02 ± 0.1 | 5.12 ± 0.3 | 4.39 ± 0.3 | 2.68 ± 0.3 |
| Md (mg) | Lp (Lm−2 h−1 kPa−1) | FI (%) | |
|---|---|---|---|
| Clean | 0.0 | 0.205 ± 0.01 | 0.0 |
| Alginate | 53.2 | 0.028 ± .001 | 86 ± 0.2 |
| Alginate + Calcium | 53.2 | 0.027 ± 0.01 | 87 ± 0.3 |
| Latex | 80.0 | 0.084 ± 0.01 | 59 ± 0.2 |
| Latex + Calcium | 80.0 | 0.127 ± 0.01 | 38 ± 0.4 |
| Latex + Alginate | 133.2 | 0.018 ± 0.01 | 91 ± 0.6 |
| Latex + Alginate + Calcium | 133.2 | 0.023 ± 0.01 | 89 ± 0.5 |
| Al2O3 | 80.0 | 0.179 ± 0.01 | 13 ± 0.2 |
| Al2O3 + Alginate | 133.2 | 0.035 ± 0.01 | 83 ± 0.6 |
| Al2O3 + Alginate + Calcium | 133.2 | 0.043 ± 0.01 | 79 ± 0.7 |
Publisher’s Note: MDPI stays neutral with regard to jurisdictional claims in published maps and institutional affiliations. |
© 2021 by the authors. Licensee MDPI, Basel, Switzerland. This article is an open access article distributed under the terms and conditions of the Creative Commons Attribution (CC BY) license (http://creativecommons.org/licenses/by/4.0/).
Share and Cite
Mahlangu, O.T.; Mamba, B.B. Interdependence of Contributing Factors Governing Dead-End Fouling of Nanofiltration Membranes. Membranes 2021, 11, 47. https://doi.org/10.3390/membranes11010047
Mahlangu OT, Mamba BB. Interdependence of Contributing Factors Governing Dead-End Fouling of Nanofiltration Membranes. Membranes. 2021; 11(1):47. https://doi.org/10.3390/membranes11010047
Chicago/Turabian StyleMahlangu, Oranso Themba, and Bhekie Brilliance Mamba. 2021. "Interdependence of Contributing Factors Governing Dead-End Fouling of Nanofiltration Membranes" Membranes 11, no. 1: 47. https://doi.org/10.3390/membranes11010047
APA StyleMahlangu, O. T., & Mamba, B. B. (2021). Interdependence of Contributing Factors Governing Dead-End Fouling of Nanofiltration Membranes. Membranes, 11(1), 47. https://doi.org/10.3390/membranes11010047
